Title: The art of decorating dry goods windows and interiors
A complete manual of window trimming, designed as an educator in all the details of the art, according to the best accepted methods, and treating fully every important subject
Author: L. Frank Baum
Release date: May 11, 2024 [eBook #73606]
Language: English
Original publication: Chicago: The Show Window Publishing Company, 1900
Credits: Richard Tonsing, Mary Glenn Krause, Beinecke Rare Book and Manuscript Library at Yale University, and the Online Distributed Proofreading Team at https://www.pgdp.net
Transcriber’s Note:
New original cover art included with this eBook is granted to the public domain.
The peddlars, or packmen, of ancient days, who were the first recognized merchants, realized fully the advantage of displaying their wares before prospective customers. Gaining entry to a castle, a palace, or a mansion, the packman spread his goods upon the floor to best advantage and then awaited patiently while the assembled bevy of women gazed enraptured upon the treasures at their feet. If he could not obtain permission to open his pack his visit was fruitless of result.
In old Bagdad arose the custom of open booths built before the entrances of houses, wherein was attractively displayed the merchandise offered for sale. This custom is still extensively followed in Eastern countries.
At Cheapside, in London, the method was to hang upon iron hooks along the front of the building such articles as might induce the observer to buy, or entice him to enter the shop.
The same custom was prevalent in the Colonial days in America, and is not yet fully obsolete.
Thus from the earliest days merchants well knew the value of display, and the modern show window is the logical outcome or development of that knowledge.
Careful research fails to determine where the show window was first utilized as an adjunct to merchandizing. It is probably a gradual development from the small, many-paned front window of the merchant shop, following the natural transformation of shops into stores and of crude green-glass panes into clear plate-glass fronts.
However it came about, the modern mercantile establishment, whether located in a retired village or upon the main street of a thriving city, is to-day deemed incomplete without a front of the clearest and best plate-glass. These windows are not intended to light the interior of a store, although indirectly they may serve such purpose. Their prime object is to sell goods.
Without advertising the modern merchant sinks into oblivion. The busy world forgets him, and he is left to himself—to rust, to vegetate, or to fail ignominiously.
Merchants of olden times stood in front of their shops and cried “buy!—buy!” in imploring tones. Modern merchants still cry “buy!—buy!” but they do it in a different way. They advertise in newspapers and display their wares in their show windows.
These are the three grades—the three developments in advertising. The street crier, the newspapers, the show window. The last mode of inducing trade is the modern one, and therefore the best. More goods are sold through window display than through newspaper advertising. It is more direct. The newspaper advertisement says: “We have goods to sell.” The show window says: “Here they are!”
But the judicious use of advertising through newspapers must not be discouraged. Every man, woman and child in town does not pass your windows. Those who do not may read in the newspaper of your attractive display of goods, and so be induced to pass your way.
The most successful of modern merchants use the newspapers to announce their window displays. This combination of the two greatest forces in advertising has been found to succeed beyond any other method.
To make a display of goods in your window that is most attractive, that will sell readily the articles exhibited, is to-day acknowledged an art.
Many things are to be considered. There are the technicalities to be learned, judgment and good taste to be exercised, color harmony to be secured; and, above all, there must be positive knowledge as to what constitutes an attractive exhibit, and what will arouse in the observer cupidity and a longing to possess the goods you offer for sale.
It has been said that a window decorator is born, and not made. Yet we find that those “born” decorators must acquire knowledge of technicalities and detail work before they can succeed. Who shall determine which are “born,” and which are “made” decorators? The “born musician” must, unfortunately, learn to play the fiddle, and the “born blacksmith” must be taught to shoe a horse. And the worldly cynic will tell you that under proper instruction and with a desire to learn, any son of Adam can play the fiddle or shoe a horse.
I have never known a man who desired to learn the art of decorating fail to attain skill and subsequent success. Perhaps it is only those “born” ones who desire to learn.
It is true that a clumsy man, a man without judgment or taste, a man destitute of knowledge of the requirements of modern merchandizing, might prove a lamentable failure as a store decorator. But I have never known such a man desire to learn the art.
The object of this book is to place before the novice the instructions necessary to fit him for successful work. The author believes that this volume contains all information necessary to enable a student to acquire proficiency in the Art of Decorating Dry Goods Windows and Interiors. The field of merchandizing is so broad that this work is confined to dry goods decorating, although many of the chapters will be of service in decorating windows with other lines of goods.
Much of the information offered has been gained by personal experience, yet I am greatly indebted to many brother decorators, and especially to prominent members of The National Association of Window Trimmers of America, for assistance in my attempt to place clearly before my readers the many details of the art.
Practical methods have in every instance been preferred to theoretical. The simplest and easiest way of accomplishing any work is always the best.
I am hopeful that those desiring to attain skill in decorating will find much useful information in these pages, and if this book proves of real assistance to its readers my object in writing it will have been accomplished.
![[Fleuron]](images/i_005a.jpg) 
In building a store on modern principles the front is more important than any other detail. For, a store being intended for the sale of merchandise, the front is the first thing that meets the public eye, and by its appearance the entire establishment is judged.
The size and shape of the windows depends, of course, upon the size and location of the store, but the principle consideration is to obtain as large an expanse of window as possible, and convenient entrances.
In single store fronts, which we shall use as examples, the ordinary arrangement is similar to that in diagram A, having the entrance, with double doors, in the center. This gives two good sized windows, if the front is of fair breadth, and admits the customer to the central aisle.
 
To avoid dividing the expanse of window, and to render the display more impressive, a popular arrangement is that in diagram B, having the entrance at one side. Which side to place the entrance is determined by the trend of traffic, the entrance being placed nearest to the busy portion of the street, as more convenient to the customer. Exception.—It is argued by some merchants that it is better to place the entrance furthest from the crowded portion of the street, as in this case the people must first pass before the window.
 
It will be noted that people intending to enter the store will not be influenced by the window display, in which case the location of the entrance is immaterial.
Diagram B shows the bevelled entrance, slanting diagonally from the front window to the door, and thus giving the public a glance at the small side window in passing or entering. In diagram D we show the curved front, in which the side window is a curved or semi-circular pane. This style is very attractive, but more expensive, and is more liable to be broken than the flat pane.
 
 
 
 
Diagram C shows one of the most popular arrangements of store fronts. This allows for a double entrance, with a broad expanse of window between. In wide fronts these entrances are double doors, in narrower fronts a single door is sufficient. Variations of this front which has bevelled entrances, are shown in diagrams E and F. The first has the semi-circular end panes, which are recommended as especially imposing, and the latter shows a square perfectly rectangular turn for the side panes. The advantage claimed for this method is that it attracts the attention of those approaching the window more quickly 10than will the slant or curve, but this does not appear likely unless the front projects beyond the line of the building.
The large central pane, with double or single side entrances, is a very successful style of front, and is strongly endorsed by those who have used them.
It sometimes happens that thick pillars of masonry obstruct the front, as shown in diagram G. In this case the window panes should be set at the outer edge of the pillars, rather than against the inner edge, as much of the effect of the front would be lost by the projecting pillars. The entrance, however, should be set at the inner edges of the pillars, as indicated.
 
Posts are always to be avoided in window spaces, and there is seldom an occasion where they are really necessary. But where a front is rebuilt or altered and posts cannot be avoided, they should invariably be set directly back of the window frames, as shown in diagram H. When they are placed in this manner each window has a clear space back of the pane, and the decorator has an opportunity of putting one distinct trim in each window. But if the posts occupy the center, or even the sides of the window, no decorator on earth can trim the space properly or effectively.
 
Diagram H also illustrates the continuous front, where many windows are placed side by side. Any of the fronts previously described can be so extended indefinitely.
There are many other styles of store fronts, but most of them come under the head of “freak fronts,” and are only appropriate for the special buildings for which they were designed.
The main points to consider in building a front, are, (a) to get as large an expanse of glass as possible; (b) to use iron framework, occupying the least space where the panes join; (c) to avoid the use of posts back of the panes, but where they are necessary to place each post behind the point where two large plate-glass panes are joined together.
A new idea in show window fronts is to allow the two sheets of glass to come together at the corners, where they are held by brass braces and set screws so that there is no corner space at all. This arrangement looks well and has several advantages. The glass is less liable to break than when set against a post or frame; and all shadows in the window are avoided.
Last, if you have an old-fashioned front, get your landlord to take it out and replace it with a modern, plate-glass front. If he refuses, move elsewhere. You cannot afford to be in the mercantile business without good windows to back up your enterprise.
In attempting to explain the fundamental principles of successful store decoration, the window is the first thing to be considered, and there are all kinds of windows, little and big, upright and oblong, cramped and spacious. Some are hard to get at; some have big, awkward posts in them; but no matter what they are or how undesirable they seem, remember that anything with a pane of glass before it may be made a show window.
Build a window floor on a level with the lower edge of the glass; build it strongly and make it as deep as you are able. Three feet is a fair depth; six feet is not too deep.
In order to produce a good window there must be a proper foundation to work upon. An open-backed window is an impossibility as considered from a window trimmer’s standpoint, save in very few cases where articles are small and only require a window shelf to display them.
11All windows should have a substantial board backing and sides extending about one-half the height of the window itself. A door should be made in this at one side, to permit the trimmer easy entrance and enable you to reach any goods you may wish to withdraw from the window. Above this backing it is desirable to have a sash reaching to the ceiling, which will serve to admit light and prevent dust reaching the trim.
The distance of the backing from the glass is a matter of choice. Some prefer very deep window embrasures, and for furniture, carpets, stoves and like bulky articles, they are undoubtedly best. For displays of light, small articles, a shallow window is very desirable, and furnishings, notions, etc., may be effectively arranged in thirty inches space. For the general window, however, where various classes of merchandise are required to be exhibited, a depth of from four to five feet is best; and even six feet, especially for a clothing or cloak trim, is not considered too deep for good effects.
The floor of the window embrasure should be made perfectly level, as this will admit of more substantial framework than an incline. A removable, sloping floor may be provided for use when desired.
Against the solid backing brackets and shelves may be secured, their arrangement being altered as occasion demands. It also admits of tacking the draperies in a substantial manner, and there is a satisfaction in knowing your window is solid and that any fragile articles displayed are perfectly safe.
A clean window pane is a necessity in a show window. Nothing destroys the attractiveness of a really good display so readily and effectively as a streaked, flyspecked glass in front of it.
Many merchants dread window washing day. It shouldn’t be a bugbear when a simple method like the following is understood. Wait until the sun is off the window, for if the sun is shining on the glass it will look streaked after drying, irrespective of the amount of muscle expended in the rubbing. Dust the window thoroughly, inside and out, and don’t touch the glass until after the inside woodwork has been cleansed. Use nothing but warm water, mixed with sufficient ammonia in washing the glass. Steer clear of soap. Dry the windows with the rubber cleaner or soft cotton cloth. Linen leaves lint on the glass. Polish with paper; that’s all that’s necessary.
One of the merchant’s greatest trials is the sweating and frosting of windows in cold weather, rendering them useless for display purposes at the very season when they are most valuable.
Much has been written concerning methods of prevention of frost, but most of them are theoretical, and, while they work well in some instances, are absolute failures in others.
Scientists will tell you that the reason a window sweats is because there is an uneven temperature on the opposite sides of the window pane. The cold air outside chills the pane, which condenses the moisture in the warm air inside as it strikes the glass, and the moisture is deposited in the form of “sweat” upon the inner surface of the glass. It then freezes, producing “frost.” Occasionally, when there is moisture in the outer air, a deposit is also made upon the outer surface of the glass, but in either case the frost arises from the uneven temperature of the air inside and outside the window glass.
The foregoing cause of the evil being understood, it is also plain that any arrangement which will render the temperature of the air the same on both sides 12of the pane will remedy the difficulty. Any other method is obviously imperfect and ineffectual. If the temperature within and without the window is the same the glass cannot sweat or frost.
To obtain an even temperature it is absolutely necessary to box the window. It must be cut off entirely from the other part of the store.
 
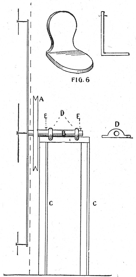
FIG. 1.
The space under modern show windows is used largely for ventilating cellars. Our sketch shows half of this space used for ventilating cellar, and other half as a cold air passage to allow the outside air to pass through the double perforated window floor, thereby keeping the air within the window enclosure approximately the same temperature as the outside, and thereby preventing the sweating and freezing, so annoying to the trimmer.
 
FIG. 2.
A A, open space between double perforated bottom, to be filled with loose cotton to permit the air to pass, but dense enough to keep back the dust from the street.
The floor of the window should be made of boards, perforated and made to fit in snugly without fastening down, so they can be taken up occasionally to clean out the dust that will accumulate in time.
 
FIG. 3.
Fig. 3 shows how boards may be used without being perforated. Small pieces of wood are nailed on one edge of each board, say about one-eighth inch thick, so as to keep the boards about that distance apart.
C is a small door that opens into the 13store room to reach the cold air space, for cleaning occasionally.
B, opening for lighting and ventilating the cellar. A trap door may be arranged to fit over the opening B, but a better arrangement is to have two sashes of glass to fit the front of the openings immediately back of the wire screens shown in Fig. 2. If hinged at the top, they can be opened by pulling back with a cord or chain from the inside of the room.
Fig. 2 shows a wire screen now much used instead of the more expensive iron grille work formerly in vogue.
When possible, a glass roof should be used to inclose the window, in which case the lights may be arranged above the glass. This prevents heating the window. In using floor drapings, employ only cheesecloth, or some light material that will allow air to pass through.
All this may seem to require considerable trouble and alteration of your windows, but wherever this method has been used it has been found thoroughly practical and an absolute prevention of frost.
(1) An electric fan kept constantly in motion in a corner of the window is said to avoid frosting by keeping the atmosphere in circulation, and thus preventing condensation upon the surface of the glass. In a large window there should be two fans, in opposite corners, and these may be easily concealed from view.
(2) Electric Heaters.—As almost every store is now provided with electric light service, and electric heaters can be purchased in all sizes on the open market, the interest in this new application of electric heating is universal. All that is necessary is to place a small electric heater in the window in any concealed position, and to connect it with the lighting mains.
(3) Several washes for the window glass have been recommended, but our observation has been that these usually fail to prevent frosting.
It is true that one method will succeed with a merchant, and fail when utilized by his next door neighbor. It is hard to explain this fact, save for the different atmospheric conditions of the two rooms. It is not unusual to see one window as opaque as a sheet of felt and another loom up as transparent as a crystal, when both are apparently under the same conditions. One sees a window free from frost where it is entirely enclosed, and that seems to explain the reason. But a few doors further on another window similarly enclosed is covered with ice. Some windows that have a half-length enclosure inside are clear and others are frosty, and some that are entirely open to receive the heat of the store room are clear while others are not.
Among the various washes are pure glycerine, in which a flannel cloth is dipped, ammonia and salt, and alcohol and water. As said before, these are seldom effective in preventing frosting. The safest and best remedy will be found in ventilation, as above described.
Those who are inexperienced in window decoration will need a few general instructions before attempting to trim in a practical and successful manner. Experience has taught us several things which apply so forcibly to the art of decoration that they may be considered in the nature of rules, and must be studied carefully and thoroughly by the novice.
The trouble with most window trimmers and beginners is that they ignore all suggestions offered, from the fact that they are window trimmers, and are supposed to know it all, which is a grave mistake (for no man knows it all). From experience, you will find that by listening to any and all suggestions offered, there will 14be a time when you will be glad to accept them. If you do not take to the suggestion, pass it up, but in all cases it pays to listen and act accordingly.
There is nothing more “fetching” in a window than the simple artistic arrangement of a few attractive goods. Simplicity has been urged by almost every writer upon window trimming, yet it is generally disregarded. More err in crowding a window than in displaying insufficient goods.
A good background, throwing out a few articles that are good values or distinct novelties, may be relied upon to arrest the attention of the passing shopper. It is poor policy to display expensive and inexpensive merchandise in the same window, or to exhibit what is called a “mixed” window. A crowded window bewilders the beholder, and while he may admire the general arrangement and wealth of color, no one item will sufficiently attract him to induce him to enter the store, or will impress his mind so far that he will recollect it when occasion arises to purchase. The most successful show windows are those where a few goods are well displayed.
It is bad advertising to display too many lines in one window. The most effective window usually contains but one line of goods. Dress goods never show to advantage when mixed with other articles, and silks and calicos, in the same window, each detract from the other.
Special windows always win more attention, and are more easily trimmed and more quickly changed when they have served their purpose.
I will here say a few words upon the subject of detail work in window trimming. I have always found that anything which was worth doing at all was worth doing well. It may take a little more time and cost a little more money, but you will obtain the desired results in the end, and your window will be the means of increased sales of the goods displayed.
I have had a great deal of experience with window trimmers, and have found that the great majority of them do not pay that strict attention to detail which is so necessary in a perfectly dressed window. They will say, “Oh, that is good enough,” “No one will notice that,” etc., when they detect some omission in the detail of the work. But they are wrong, for a great many of those whose attention is attracted to the display will as quickly note the defect as the skilled window trimmer himself.
One of the greatest troubles the window trimmer has to contend with is the lack of time necessary to do complete and perfect work. The house wants the window changed, and wants it immediately, ignoring the fact that it requires time, both to take out the old and put in the new display, and on that account it is absolutely necessary that a great deal of the work should be done in the workshop before going into the window at all. You may find a picture or model that would make a good subject for a novelty window of certain kinds of goods, and it could be worked out in fine style if only sufficient time were given for detail work, that is, making all of the different parts of the subject in their proper place, and leaving out of the work not the slightest detail necessary to make the finished work identically like the picture or model. This would, necessarily, require considerable time and labor, but when the trimmer gets advanced in the work he will become so interested that he will not be satisfied until he has it complete in detail.
The special efforts of the most successful window trimmers are directed toward the carrying out of the small details, without which there can be no perfect specimen of the window trimmer’s art, and for lack of which so many windows present a crude and unfinished appearance.
The mission of the show window is not to display unsaleable goods, but to sell goods. If you can’t make a pretty picture and sell goods at the same time let the picture go, but make a display that will sell the goods. But don’t forget that if you can make the window attractive enough to arrest the gaze of the passerby your goods are half sold. This may appear to you ambiguous at first, but a little thought will teach you never to lose sight of the fact that goods must be sold, and that an attractive window will help sell them. But a “picture window,” in which the value or utility of the goods is sacrificed to make the picture, is not art, but foolishness.
In the selection of goods for your window two classes are best. First, new goods, of which there is ample stock; for, being new and seasonable, they are in demand and can be sold with profit and the money reinvested. Second, old goods which must be disposed of, probably at a sacrifice, in order that the money tied up in them may be used to better advantage. These last are “bargain” windows and each article must bear its price ticket. Cut the price sufficiently to interest people. Bear in mind that these goods might lie on your shelves years without moving if there was no show window to dispose of them. Properly displayed and properly priced, the show window will sell them like hot cakes, even though they are old enough to have gray whiskers. People dearly love bargains.
Don’t make the mistake of selecting a variety of goods for your display. Confine it to one line as much as possible, and when that is impossible confine it to kindred lines. You don’t need so very many goods if you know how to display them. Some of the best windows I ever saw contained very few goods; but, bear in mind, every piece stood out as distinctly as a wart on a man’s nose. At the same time a well-filled, or “stocky” window, as it is called, frequently is quite as effective as any, and a reputation for carrying a full stock is a desirable thing for any merchant. Unto them that have goods shall be given trade. You can’t sell what you haven’t got.
Frequently a merchant finds his stock so reduced that the only size, color or style of a certain article remaining is that displayed in his window trim. When you have a call for such an article do not rob your window display, but take the customer’s name and address and agree to send the article C. O. D. when you change your window.
This method has been adopted by all the large stores, and has proven very satisfactory. The effectiveness of your window remains unimpaired, and usually a customer is willing to wait in order to secure the desired article. In rare instances, when there is danger of a good sale being lost, this rule may be abrogated, and the article taken from the display; but if it is understood by your patrons that no goods will be removed from your windows until the trim is changed, they will readily see the advisability of such action, and be willing, in most cases, to wait a reasonable length of time.
Every window trimmer should have a fair sized room for the sole purpose of keeping his fixtures, wax figures, a work bench, etc. It should have plenty of light, with one portion set aside for ticket writing; a place with a door to keep out the dust, in which to keep his cardboard, cut in the desired sizes for his use; a place to keep wax figures when they are not in the windows (dust proof stalls, large enough for each figure, are best); a sign in the room to read, “A place for everything and everything in its place.” Keep your room locked and carry the key in your pocket.
A proper outfit or kit of tools is a necessity. For carpenter work, such as building your own framework, you will require cross-cut and rip saws, chisels, screwdrivers, awls and a hammer. Don’t attempt to make very fine joints; it is unnecessary, since the frame will all be covered. But be sure your work is substantial and will not pull apart. In order to preserve your lumber for future use and to obtain strength in your structure, use screws wherever possible, first boring a hole with a small bit, or, if the material is thin, using an awl to make the holes for your screws. In your tool box have partitions for all sizes of screws, nails and tacks, and keep each size separate.
For upholstery work, such as pleating, puffing, draping and covering the frame with cloth, you will need a large pair of shears and an upholsterer’s hammer, which has a long, extended head. Also provide yourself with a small pincushion, 3 or 4 inches square, and put a loop of tape on opposite corners. These loops can be placed over two buttons of your vest, to hold it firmly in place, or you can pin the cushion by the loops to any part of your person. Don’t loan your tools to anyone. Keep them locked up in your tool box. Carry the box into the window with you, for then you have everything at hand you will be likely to need. Keep a supply of screw eyes and hooks, wire and cord in your box, for you will often need them. Tools for electrical work will be explained in the chapter on electrical designs.
Professional window trimmers prefer usually to work during the night or early morning, when they are uninterrupted by either employes, customers or curious groups who delight in watching them from without.
It is, however, often necessary to work during the day, and in this case a screen of muslin or cambric is stretched across the window to insure privacy. This screen is almost a necessity to the merchants in smaller cities, where all work is done in daytime, and may be utilized to good advantage in attracting the curiosity of passers-by.
One merchant we know of has painted across his screen in big, black letters, “Watch This Window!” Another uses the following: “We are Getting Ready to Surprise You.” And still another: “This Window is Dead To-day, but will be Alive To-morrow!” Many texts may be selected, but a sign of some sort upon the window screen is certainly a good advertisement.
Many decorators of late have found a distinct advantage in leaving shades up and dispensing with screens. They work in plain view of the crowds that congregate to watch them. This would be embarrassing to the beginner or the modest man, but its advantage lies in being an added attraction for the store. People are often curious to know how a window display is built up and arranged, and enjoy watching the workman. Often the people attracted are the loafers of a town, and those who, having no business of their own, would not be likely to bring business to the store. But in cities where the streets are crowded, the open window may be considered a distinct attraction to the casual observer and the general public.
The last three chapters are preparatory to the real work of decorating, and should be read with care by the student of the art.
The beginning of any work is always its most important period. Begin right and you may succeed; begin wrong and you are certain to fail.
When a window display is conceived in 17the fertile brain of the artist, his first work is to erect the framework for his creation. He must have something to build upon. Many trimmers—even some experienced ones who ought to know better—go to the wood pile when they wish to erect a framework. I advise every one to carry on hand a stock of standard pieces for frames. Almost any one who can handle a saw can make them himself, but a carpenter may be employed where necessary. Not a great variety of pieces are required, and the number of them depends on how many windows you have to trim. But with a supply of the regulation standard pieces you may construct an endless array of arches, pillars, shelving, centerpieces, pedestals, etc.
The trimmer who is driven to attack the wood pile when he starts to make a display is not only to be pitied, but is badly handicapped in his work. The amount of time consumed in building each special fixture in your window is detrimental to profitable trimming, and annoying to yourself and your employer. A well equipped fixture room is a money maker, as well as a time and labor saver.
The first system of standard pieces I will explain is that adapted and invented by the veteran decorator, Charles W. Morton. It is very simple. In many cases these fixtures for framework may be covered and trimmed in your room, in sections, and afterwards taken to the window, where they are easily put together. This is a wonderful assistance in making a rapid change.
These standard pieces are mostly made of half inch wood, and are covered with black cambric or painted. They are light in weight, strong and durable.
Each piece represents a useful stand in itself, and there is no limit to the variety of designs obtainable. The following is a brief description of the pieces:
Nos. 1, 2 and 3 on the first illustration are pedestals (or boxes). The size of smallest is one foot square (or a cube). The second size is one foot square and two feet high. The largest size is one foot square and three feet high.
No. 4 is a circle, two feet six inches in diameter, and made of 1-inch board.
No. 5 is a half circular stand, three feet high and one foot six inches in diameter, and covered with heavy paper.
No. 6 is what I call a cap. It measures one foot square at small end, three feet square at large end, and one foot six inches deep. It is a good fixture for laces, embroideries or notions.
No. 7 is a 1-inch pine board, one foot wide and eight feet long, or any length suitable for the window to be trimmed.
No. 8 is a round pillar, eight inches in diameter, and three feet six inches high.
No. 9 is a cap, eight inches in diameter at bottom, twelve inches at top, and ten inches high.
No. 10 is three half circles, each made one foot square, and boxed in, the small one measuring three feet six inches in diameter (outside measurement). The second one is five feet six inches in diameter, and the largest half circle seven feet six inches in diameter.
No. 11 is a half circle box, one foot high and two feet in diameter. The pyramid is one foot square at the base, and two feet high.
The second illustration shows a few devices, made of ½-inch wood, and measure about three feet high, and will suggest themselves for showing many lines, such as notions, jewelry, cutlery, hardware, etc.
The other illustrations give you a few examples of the many designs obtainable from this modern combination fixture.
Another set of standard pieces which has been quite largely used and is recommended by many decorators, is illustrated below.
The first illustration shows how to make pillars, stands, etc. They will need little explanation, but I will mention, for example, that A is made from two circular pieces of wood, 1, joined together by strips of wood, or lath. These circular pieces are very useful. The cone, C, is made by connecting the pieces 5 and 3 by strips or lath. D is a standard having 3 for its top. F is a useful stand employing the pieces 1 to 5 connected by short standards.
 
STANDARD PIECES FOR FRAMEWORK—FIRST ILLUSTRATION.
 
STANDARD PIECES FOR FRAMEWORK—SECOND ILLUSTRATION.
 
STANDARD PIECES FOR FRAMEWORK—THIRD ILLUSTRATION.
 
One thing is important. Do not use nails larger than is necessary to hold the structure together. Many novices spike their pieces together as firmly as if they were to endure to the end of time, and the consequence is that many pieces are broken and destroyed in taking the framework apart. Temporary security is all that is required, and by the exercise of a little care the frames will last for years.
 
The second illustration shows the use of circles for arches, domes, etc., which may be built into a bewildering variety of effects. The stock pieces required are the full circle, A, the half circle, B, and the quarter circle, C. These should be sawed from 1-inch lumber, in a variety of sizes, and in connection with the uprights, for pillars, will enable you to make any sort of arch or dome you may desire.
 
The third illustration depicts the most useful centerpieces and fixtures known in window trimming. The stairs, or shelves, may be taken down and used in a variety of windows, and the same will apply to the other fixtures shown.
 
 
All the frames described are best made of pine, as soft wood is easier to tack or pin to. Provided they are perfect in form, they need not be well finished, as they will 22be covered with puffings, pleatings and draperies.
These pieces may be added to by the preparation of smaller ones to be used as shown in the fourth and fifth illustrations. These can be used in almost endless variety and occasions will often arise when a corner or section of your window will appear bare, and may be furnished with some small, attractive design made from your stock pieces.
However, the first set of fixtures described is recommended as the most perfect and therefore the best for general use.
After erecting the framework the decorator proceeds to cover it, in order to complete his background. But before doing this the harmony of color must be considered, as the real success of his window will depend upon the good taste and arrangement of the colors employed.
No man need be frightened at facing this frequent bugbear to the novice:—color harmony. Any one will readily understand it after reading this chapter.
“What is color?” you ask.
Nothing but common daylight deprived of some of its wonderful properties.
When this is understood the subject is robbed of its terrors, for we know we are facing a natural effect, and nature is simplicity itself.
When light strikes any object, such as a blade of grass or leaf, the rays of white light are separated or decomposed; part are absorbed by the grass or leaf and the others reflected to the eye, causing the sensation of color; in this case green, the grass or leaf having reflected the blue and yellow rays and absorbed the red. To understand this thoroughly a little scientific experiment will demonstrate clearly. Go into a dark room, shutters, doors, etc., closed tight. Now make a very small hole through a shutter to the outer daylight, when a fine pencil of light will penetrate the darkness. Into this ray of light place a prism of glass, when the ray, after passing through the prism, will be diverged and separated, showing the solar spectrum in all its beauty.
The colors thus shown are the elementary colors of white light, commonly called the “primary” colors. The red, blue, and yellow are the most dominant in the spectrum, and in consequence always understood when we speak of “primary” colors; the intermediate rays shade into the various colors of the spectrum and are called “complimentary colors.” They show all the tints of the rainbow, which is in fact a gigantic solar spectrum.
The blade of grass has appropriated the red rays of the spectrum (or light) and leaves us only the blue and yellow, which, being reflected and blended, give us the sensation of green instead of white.
Every color affects the eye (or optic nerve) with a different vibration, which enables the optic nerve to inform the brain of the color. In this way we get the sensation of color. Black is the absence of all color; that is to say, it absorbs all the rays and returns none. White is the reflection of all the rays, none being absorbed.
The “primary colors,” red, blue, and yellow, have their “secondary colors,” which is the combination of any two primaries; as a mixture of blue and red make purple, the complementary (or contrast) of yellow, blue and yellow make green, which makes red the complementary or contrast. Yellow and red make orange, the complementary of blue. The secondary colors are therefore purple, green and orange.
The tertiary colors are those obtained by a mixture of all the primary colors (one proportion of which produces black), making what are called “broken tones.”
The “secondary colors,” produced as above, make the perfect contrast or complementary colors of the primary set, and the “tertiary colors,” or “broken tones,” 23produced as above, enable us to carry out harmony effects.
No harmony of color is perfect unless it contains all three primaries in some proportion or other. Thus, green (blue and yellow) and red are correct, having the three primaries in the composition. For simplicity I will not go into shades, which are simply lighter tints of the primary colors; but I may add that in harmony of color the color value or intensity of the shades must be carefully noted, to be effective; that is, a brilliant orange (red and yellow) will not be complementary to light blue, but would be correct with blue of same intensity. All the innumerable shades or tones are produced from the three primary colors, by reducing the strength of tint; that is, making it lighter, and the tones are produced by admixture of black, etc., or, rather, the admixture of the three primary colors, in different proportions, lowering the tone, and making lighter. Thus all the shades are made, each having its proper complementary color or contrast.
All colors, when brought into close proximity, affect each other by reflection or absorption, and the nearer they are in tone the more they will suffer. The difference in tone should be considerable, or a neutral line of black, white or gray placed between them; otherwise you have reds in proximity to blue appearing yellow, the complementary of red and blue. Red in proximity to green (its complementary) is purer and brighter. Red in proximity to black becomes duller. Red in proximity to white appears lighter (pink). Red in proximity to gray becomes brighter; so that the same red will appear of different shades according to its arrangement with regard to other colors adjacent. The same law governs the arrangement of all colors. If red and white are placed in contact, the white becomes tinged with the complementary of red (green), and the red appears deeper and brighter. White placed beside a color strengthens its tone. Black dulls it. Black surfaces appear faintly tinted with the complementary of the adjacent color, because of its low reflective power.
Black and white are commonly said to be complementary to each other, and to harmonize with all the other colors.
Our first consideration is the background. White is too harsh for general work, but is good when the window is so dark that it makes much glare and reflection. In this case it will heighten the light, render the display more distinct, and assist in avoiding reflections. Black (flat or gloss) painting of the interior, or a black cloth background, is objectionable because it makes the window a veritable “camera obscura” and reflects everything. It also renders the colors of the goods dull or broken. Something between white and black will therefore be found better, such as a warm French gray (if painted, flat of course), not light enough to appear nearly white, but as nearly “neutral” as possible. A background like this will brighten up most colors to some extent, and will not interfere with any adjacent color. It also assists in avoiding reflections and glare.
In the arrangement of your window there are two points to keep in mind, the “near view,” which takes in only one window, or part of it, and the “further view,” which will embrace the entire trim, making all the windows as one. In the front part of the window take care of the harmony, or contrast, and only use such colors as are not a light shade of compound color, such as lavender, etc., which are easily faded. For the second row arrange it so that when viewed over or between it and the first row, you get a proper contrast, harmony or broken tone, that will act as a “neutral” and avoid “killing” the three colors at once. The arrangement by contrast is usually the best and easiest.
The “further view” should not have any startling color effect at one end, and nothing 24to balance it at the other, but should have a similar effect of harmony or color. When the center is of lower or broken tones, usually esteemed neutral, or if there be three color effects, make them one of harmony and two of contrast, or vice versa. Relieve them with neutral colors, and add a touch of ribbon, flowers, etc., of the complementary neutral, to arrest the eye a moment.
To decide the color of a fabric, study what colors it is composed of. Then it becomes easy to find the complementary. For instance, a fabric of dull green (broken tone) with an allover pattern of black, covering 25 per cent of the surface will amount to very dull green; but if the black covers 75 per cent of the surface, it will be a greenish black, although the green will appear more prominent than it really is, the black being non-luminous, or a poor reflector.
In light shades care must be taken to define the color, as pink, yellow or rose cast, light blue, green or purple cast. Inattention to this will mar the color effect, as the complementary selected will most likely be incorrect.
It is well always to remember that there are but three primary or elementary colors (red, yellow and blue-green), and that there cannot be harmony of color arrangement if either one is wanting. Also that the distinction of harmony depends on the predominance of one, and the subordination of the other two.
In order to be sure that your color combinations are harmonious, the accompanying diagram of a “color scheme” will be a safe guide. Color combinations are governed by set laws, and, as is the case with all other natural laws, it is both foolish and disastrous to ignore them. The center of the chart is white, for white harmonizes with any color. The most distinct combinations are found by consulting the extremities of each straight line, whether dotted or plain. But every dotted line will harmonize with every other dotted line as well, and these are the combinations of strong colors. The triangle connects the three basic colors, blue, red and yellow, which are distinct contrasts. The other plain lines show the tints which harmonize together, but not with strong colors. If ever in doubt as to a suitable combination, consult the chart. By following the directions of its lines you cannot fail to be right.
 
The following color chart is used by some trimmers for matching colors. As already explained, the modern window calls for a variety of colorings, and it is in the matching of these colors, such as the compound shades, drabs, buffs, sages, with their different hues, that considerable work and patience is called for. With such colors as these a number of points are to be considered before a definite conclusion can be obtained. Some of the shades, for example, are very sensitive to the various qualities of daylight. A dark, cloudy day, a sunny, bright day, a hazy day, etc., all have their effect upon the colorings in the window design. There are other conditions which 25come in to interfere with the proposed color adjustment of the window trimmer.
Colors may appear so and so to the eye when placed in the design with certain other colors. A blue setting, for instance, may match each other if the combination includes several shades of blue. When the design is placed in its place in the window, alongside of a yellow, for example, the yellow offsets certain of the blue shades, producing tints of a yellowish green of some of the blues, while blueish greens are developed in others. This, of course, disorders the proposed color plan and the result is discouraging unless it is known how to overcome or avoid such troubles. Furthermore, certain colors which match by daylight are made quite the reverse as soon as the electric light or the gas light is turned on in the window. All this is perplexing to the window artist, but there are remedies. Use charts 1, 2 and 3. In the first are the standard color chart line, A, B, C, D, E, F, G and H. These represent the color lines of the solar spectrum. Along the side of the chart are figures 1, 2 and 3. The first indicates the absorption spectrum of yellow color. By following the chart lines it will be seen that this yellow absorbs violet and blue, while it transmits red, green and yellow. In 2 we can see that the blue which this division represents absorbs orange red, yellow green and yellow, and transmits blue, violet and part of the green. Division 3 represents green, which results as a combination of the two former divisions.
In Fig. 2 is a chart for representing the absorption of ruby glass and a single green shade. In this it can be seen that division 1 involves transmission of the red in A to the orange red in C, and the remaining colors are absorbed. In 2 is an absorption of all the colors except green, yellow green, blue and blue violet. In 3 is the result of combining the colors, in which case this setting permits no rays to pass, resulting in full black or darkness. In chart 3 is another plan for color setting in which 1 indicates the absorption spectrum of yellow, 2 in which violet shows the absorption in yellow and yellow green, 3 the compound of green rays with the absorption of the remainder of the spectrum.
 
A window trimmer who has an eye for color is usually able to group colors quite satisfactorily without the assistance of 26charts and regulations, but there are very few who possess the qualification, although perhaps many think they do. The reason that many suppose this is because the color plan of their window is pleasing to their own eyes, though it may be distasteful to others. Hence the necessity of applying to color charts, etc., to avoid discords to the eye of the practiced colorist. If you seek to produce white light from any of the color rays, add thereto the complementary ray. If yellow be absorbed the resultant color will be violet. If blue and yellow rays are absorbed the reflected ray will be red. If red is absorbed then we get green. If yellow and red be absorbed the result will be a blue. In window trimming two colors of striped goods placed in juxtaposition will always heighten each other’s color effect. Suppose that two stripes of a certain color fabric are arranged parallel with two stripes of another color it will be seen that the color of the four stripes differ if we look at them from a certain distance. This is because the coloring of the two inside stripes serve as terms of comparison to judge the modifications of these two interior stripes in their juxtaposition. For example, it will be found that red will be modified, inclining to violet, and orange is modified inclining to yellow, when the stripes are made up of red and orange. If we use a combination of blue and violet in a window design we will find that the blue will be modified to a greenish blue, and the violet to a reddish color. It is a good idea to cut out some four-inch wide strips of fabric and experiment, before going ahead with your color scheme.
Not less important than the framework is the background and the decoration of your framework. Indeed, many trimmers regard the subject of backgrounds as the most important in window trimming. There is a distinction between framework and background, although the frame often constitutes the backing of a portion of your window. Thus, a step, a table, or anything that supports the goods, is a part of the framework. An arch, puffed and pleated to make up your picture, is part of your background.
A background may be upholstered in any fabric from cheesecloth to velvet, or it may be a painted scene, or an imitation of nature, or simply covered with wall paper, or panelled to represent a room. It is the frame to your picture, and all pictures cannot be framed alike.
Of fabrics, cheesecloth is most in vogue. It is pretty, easily worked, and cheap. Whatever color or combination is selected, you must use to cover your floor, your framework, and the backing wherever it is visible from the front. It may be simply spread over your woodwork, or pleated, or puffed; and the same material may be used for draperies where they are required. The best effect is obtained by using light color or even plain white, and edging with a darker color that is harmonious, or a darker shade of the same color. White goods require a dark backing as a foil; dark goods of all kinds require a light backing. Of course there are exceptions. Pure white goods are effectively shown on a backing of cream or any other delicate tint.
Some people have said that cheesecloth is not appropriate for backgrounds, and recommended richer fabrics. A few trimmers for large and wealthy concerns have obtained permission to use expensive drapery in the place of cheesecloth, and are covering their backgrounds with plushes, raw silks, satins and upholstery goods. These make the windows appear rich, but not especially attractive. They are stiff and unpliable and must hang loosely in draping. The risk of loss in soiling will not allow of using light colors, and the dark shades and figured goods soon become tame to the spectators. They are not nearly so effective a foil to merchandise as cheesecloth. 27Only the richest goods can be used with such backgrounds, for ordinary goods would look very cheap by comparison.
It is true cheesecloth is a flimsy, cheap material, looking very coarse upon close inspection, but it is an ideal cloth for decorations. It lends itself to puffing, pleating and all modes of draping with great pliability. It is made in every tint and color. It has a way of rendering itself unobtrusive while serving as a capital foil for almost any grade of merchandise. And it is cheap. Find any other material which has these qualifications, and trimmers will readily adopt it. Many houses cannot afford more expensive material. Cheesecloth has figured prominently in the evolution of show windows. Had merchants been forced to adopt a more expensive material for backgrounds and floor coverings, it is probable that many of them would not be decorating their windows even to-day.
Then, its bright and varied colorings allow of many combinations and perfect harmony. It makes a window attractive enough to stop pedestrians, who, glancing at the display, unconsciously note that the goods on exhibition are thrown prominently into the foreground, while the coloring that made them pause has modestly retired, and serves only as a foil for the articles of merchandise.
Jewelry, bric-a-brac and silverware assuredly need a richer background to display them harmoniously; but cheesecloth is appropriate for nine-tenths of the window trims throughout the country, and there is absolutely nothing to take its place.
Not infrequently we hear of a bad fire occasioned by draperies or decorations catching from a lighted match or other similar cause, the inflammable nature of the material used causing a rapid spread of flames and consequent damage to property. Whether this occasions great loss of life, as was the case at the great bazaar in Paris, or is a minor blaze, such as often occurs in a window when a lighted gas jet approaches too near the trimmings, such accidents are desirable to avoid.
Quite recently a method has been discovered of treating material used to decorate halls, booths and windows, which absolutely precludes the possibility of a blaze. The material is simply dipped into a solution of tungstate of soda and allowed to dry. Bunting, cheesecloth and other material so treated are slow burning when ignited, and never blaze up. Therefore they are easily extinguished and cannot readily set fire to woodwork or other substances. No hall or booth where people congregate should be decorated without using this simple and effective precaution against fire, and all loss in a show window may be avoided in like manner. The solution does not injure the fabric.
There are two ways to plan a window. One is to draw on paper a diagram of your framework and lay out your plan as carefully as an architect will design a house. Another is to plan as you build, and gradually add to your window until it is completely trimmed. Both ways are practiced by the best trimmers, and each method has been defended by its votaries as the best.
At first thought it would seem best to make a plan of your window, but sometimes it will not look as well when completed as the plan would seem to indicate. And, again, if you build up a window without any forethought, it is just as liable to be a disappointment as a success. Perhaps it is best to have some plan formulated if only in your mind, and then work as closely to it as your window and your material will allow. If you see a chance to improve it as you work, you may easily do so. Often I have carefully thought out a window, and, after fairly starting, changed its plan by 28degrees until it was totally different from what I had first intended.
For a symmetrical window a centerpiece is always necessary. It may be an arch, a pair of steps, a circular recess, or whatever you choose, but the center is always the most important point of your trim. Good windows are sometimes made by building out the sides uniformly and drawing them toward the center, but it requires much skill to do this successfully, and even then you cannot ignore the center, where the eye of the observer rests first and most frequently. This is the reason a small window is often as effective as a large one. A large window can, of course, show more goods and more detail, but all this is accessory to the centerpiece, and the main idea of any big window can always be reproduced in a smaller one by leaving out some of the details and accessories, and, perhaps, reducing the size of the centerpiece. Circles or sections of circles are best for frameworks, as nothing is so graceful as a circle. Squares, triangles, etc., are stiff as compared to circles, and are difficult to trim. Even steps, or series of shelving, are best made in circular form. Pillars are useful in many ways. They support arches or platforms, and may be used independently for many lines of goods.
Aim to have the heaviest part of your trim in the center. The extreme sides, or ends, of your window may be next heaviest or fullest. Between the center and the ends the trim should be lightest; but this depends considerably on the shape of your window and the character of the trim. If you have no judgment don’t attempt to trim windows. Aside from an artistic eye and deft workmanship the only other requisite of a successful trimmer is common sense.
Do not place your trim too near the window pane, as it destroys the effect of the best display. Unless goods are very small indeed they will look better the farther they are removed from the pane. The floor space in front of the main trim may always be utilized to good advantage.
And, speaking of floors, I am not in favor of what are called “floor trims” in any line of merchandise. They do not attract one unless he deliberately stops to gaze into a window, and few people do that in this busy age. Raise your trim to the center of the window, even if it is composed of small wares, and then it will arrest the gaze of the passerby.
The suggestions I have offered are of necessity general in their scope, and I advise you to study all the good windows you may see. Don’t be content to copy them, however, but improve upon them. Some other man’s idea will frequently give you an idea of your own that is vastly better. Originality alone does not always win. It is better to copy a good window than to originate a poor one. And to originate a good window is better yet.
Where the window dresser is required as a salesman during the day, the decorating is done late in the evening, when a screen is not at all necessary.
Unless a window dresser is thoroughly conversant with the art of draping he will not be recognized as accomplished. Yet there are many professional trimmers who, it must be admitted, create wonders in their line while unable to put up an effective drape. This statement may be denied by many trimmers, and it surely sounds rather strange. However, I wish to argue on this subject and shall at the same time endeavor to give those not fully posted on the knack of draping some practical hints and suggestions.
If a man in a smaller town who takes care of the show windows is not acquainted with this branch of trimming, you need not feel surprised, as he has little or no chance 29to see and learn. It is naturally easier for him to learn pleating, puffing, and to make his wooden fixtures, than to put up an artistic drape, simply because he can acquire great ability and skill in these lines of work without being instructed, while many men will never learn how to drape until they are shown how to do it.
Draping is the foundation of the art of window trimming.
There is no window in which some kind of a drape could not be applied to good advantage. It gives the window an artistic and pleasing effect and is always appropriate. Draping is as old as the history of decorating itself, and it will never become old fashioned.
While the prettiest and most artistic effects are produced by draping, it is simple in itself, and, as in some tricks, “easy if you know how.”
One edge of the fabric is first pinned along the line to be draped, the distance being spaced equally, and it is an advantage to have little wooden spindles projecting a few inches, where each rosette would come, so that the material hangs clear of the wall instead of flat against it. Whatever the distance is between the pins, two or three times the same length of cloth should be allowed to make the festoon. About eight or ten inches below the pin the material is tied together tightly with a piece of string, the surplus material thus gathered together being for the purpose of forming the rosette. Removing the pin, the cloth is lifted up and the pin inserted at the same place again, but in such a way as to hold the fabric just where the knot was tied. Tacks may be more easily managed than pins. The rosette finally almost forms itself, as the bunch of surplus fabric is simply turned inside out, and pulled or patted into shape. The process is quite simple, and should be clearly understood by an inspection of the drawing, which shows at one end the fabric pinned up; the next loop has the string tied around it, and the third is finished with a neat rosette, the folds of the fabric hanging in a graceful cascade.
 
Quite recently a drapery hook has been invented which forms the rosettes automatically, thus simplifying the above process.
The drape shown in the first illustration consists of cheesecloth and is constructed in the following way: Take a thin bendable strip of wood, perhaps ¼ to ⅛ by 1½ inch, fix the lengths according to the size of your window, puff it with cheesecloth, bend it into the shape of a semi-circle, and place it in the center of your window. You may place it horizontally, vertically or slanting, to suit your fancy. If your window measures 3 yards, take from 9 to 12 yards of cheesecloth and allow 1 to 2 yards extra on each side to hang down. The festoons as shown in the sketch require about 3½ times as much cloth as the distance from one rosette to the next one. If you desire to drape deeper, allow about four times as much cloth instead of 3 or 3½ times as much for the festoons. Take the piece of cloth, divide it in two equal parts and pin it up at the middle by the edge, on the center of the semi-circle. After this form the festoons one after the other, one to right and one to left. The rosettes are made in this manner: After the cloth is pinned up and divided as indicated, take hold of it at about one foot below the pins, fold it into many pleats, each about 1½ inch wide, lift the cloth up to the pin and drive a second 30pin through the pleats, thus pinning it against the background. This leaves a bunch of cloth for the rosette, which you turn inside out, pull it apart and form it into the shape of a rose. After you have made the second rosette the festoon has formed itself almost to perfection, and if not your fingers must help out and complete the process by pulling and pushing the folds into proper shape, which is then easily done. The other part of the drape in our first sketch is like the one No. 3, and will be treated later. The sections No. 1a and No. 1b are made of separate pieces of cloth thrown over a short piece of curtain pole, which is projected about a foot from the background. These sections are more adaptable to silk drapery and require a square piece of very wide cloth, not narrower than 36 inches. To construct No. 1a this piece of cloth is laid upon the counter in diamond shape—like a napkin—and the cloth turned over from either end into wide pleats to and fro until the extreme points are thus folded. No. 1b is the same with the only difference that the diamond shaped piece of cloth is folded or cut into triangle shape and folded only from one side. These pieces, thus prepared, are folded again in the middle and thrown over the fixture, showing only one-half of their entire length. If you wish to have them reach down lower take a longer piece of cloth, cut the ends into diamond or triangle shape and proceed the same way. The effect of this style of draping is greatly increased by trimming the edges with tassels or fringes.
 
Drape No. 2 is one of the most effective, and consists of two pieces of cheesecloth, silkaline or light silk. Two contrasting but harmonizing colors are very desirable. It is the plain festoon and rosette drape projected from the wall by heavy knitting needles. These you drive in first and start with pinning up your cloth at one end (right end first) and continue with it until the left end is reached. When commencing with the second bolt of cloth do not unroll any more of it at the time than necessary to push the bolt alternately through the loops of the first piece. After you have thus covered your background, proceed to form the rosettes; pull, push and pat the folds of the drape into proper shape and you have produced a pretty and artistic effect.
Drape No. 3 can only be constructed with heavy plush-velour or rich drapery silk or any goods with two right sides—as both sides are shown—unless you cut the goods. It consists, like No. 2, of two pieces, and an 31endless variety of different designs may be formed with this style of drapery. The sections No. 1a and No. 1b are very appropriate with this drape, and separate rosettes, heavy silk cords, tassels and fringes will greatly enrich it. To put up this drape requires more skill and taste than the former two, as, unless it is executed to perfection it is unattractive. Throw your goods over a curtain pole projected from the background and let the first end drop down to the floor. Then fold the goods carefully into about 4 to 7 folds and form the loops as shown in illustration without ever letting the folds become uneven or irregular, something which is more difficult to avoid than the sketch exposes.
All in all, draping is easily learned, and no ambitious amateur will rest until he has acquired full ability to put up an artistic drape.
It will take about four times the length and width of cloth to puff any given space. If your background is 12 feet long and 3 feet wide it will require four strips each a yard wide and 48 feet long. Very coarse puffing may be made by using as little as three times the amount of cloth that will cover the space, but for puffing such as is shown in our illustration four times the amount is required.
 
There are two ways to puff. For large spaces it is quicker and cheaper to cover the backing with bookbinder’s paste, and puff upon that. Always begin at the left-hand upper corner. Turn the edge of your cloth, to start with for, raw edges always look badly. Support the cloth with your right hand, and with the left spread out your thumb and fingers and claw the cloth together into an irregular puffed effect. Do not be too particular about each handful—the total effect will be all right. Work quickly and your puffing will be more uniform than when done cautiously and slowly.
 
If you are not covering a very large space it is best to pin your puffing. Start the same as directed for pasted puffing. Fasten a small pincushion, well covered with pins, to your vest, and use a small upholsterer’s hammer to tack with. Keep the hammer in your right hand. Push up the cloth and pin it, driving the pin in lightly with your hammer. Be sure to puff close enough to hide the pins.
First take cloth or bunting, fold into 9-inch strips, fasten end to wall or counter by small wire nail (with head filed off and pointed), take other end, pull tight and fasten at first; next take sharp knife or scissors (knife preferable) and cut along folds to end. (This will give you a straight, clean edge.) Take 9-inch strips, pleat into small pleats and fasten as in beginning, step back eight or ten feet, place pin into pleats, then start at beginning or end and pin every five or six inches apart and so on full length of cloth.
32This may be made day previous to using in window. Now to apply it to design, start at right hand corner and tack pins every three inches apart, or according to size of puffs desired, continue until all is on, then start at beginning and pull out puffs. When completed you will find that your puffs are even and of a uniform size, and the time taken will be a great deal less than anticipated.
This puffing can be used on every shaped design imaginable and with very best of results.
This wonderfully popular and useful puffing is named after its inventor, Leonard Shogran.
 
I feel confident the usefulness and labor saving qualities of this idea, together with the neat and artistic effect which can be obtained by its use, will be appreciated by all my readers. In connection herewith I wish to state, that the value and usefulness of this decorating device is becoming so pronounced that many decorators have begun to use it almost exclusively to give a finished effect to their decorations, where cheesecloth is used. The reason of this popularity is no doubt due to the fact that with it a display can be beautifully finished in one-tenth the time consumed in puffing the old way.
This puffing is the result of a great deal of scheming as to how to lessen the time and labor in finishing up a job of cheesecloth work. It is generally done by taking the cheesecloth loosely in the hand and pinning or tacking it in position, representing small rosettes, the tiresome and tedious operation of which every window trimmer will admit.
 
I have used this puffing with telling effect in building booths and floats and decorating halls, etc. In short, it has become an indispensable article with me, as well as all who have learned to use it.
In preparing this puffing, tear a length of ten-cent cheesecloth into eight strips or, if wider puffing is desired, tear it into six strips, according to width wanted. Sew them into tubes, or what I would call long sleeves, and turn them on a thin stick or rod, so the ragged edges will be on the inside. Then full them over a strip of muslin about one and one-half inches wide, and thus the article is made.
 
33If you wish to use it in covering the ragged edge of some pleated work, where tacks and pins are usually in plain view, fasten one end of the muslin strip at a point where you intend to begin, then draw the puffing back about two feet from where you fastened the muslin; then we draw the puffing over it nicely, not too full, and fasten the puffed part in place; next, draw the surplus puffing back another two feet, and repeat the operation; and so on until finished. An illustration of this will be found in the accompanying sketches. Should the strip of muslin prove too short, pin another to it, and draw the puffing over. The sketches will give an idea of how easily it can be draped and festooned, or worked into any artistic scroll or design the inventive mind of a decorator may dictate.
 
Decorators who try this idea will be surprised to see how quickly the goods can be made and applied. The seam is sewn very rapidly on a sewing machine, and it is a pleasure to work with this ever ready and very pliable material.
Pleated backgrounds with puffed edges are very popular. To puff an edge use about one-third or one-half the width of your material, and puff and pin as before directed, taking care to turn under all the raw edges, or better yet, use the Shogran puffing.
There is upon the market a prepared puffing of colored and white cheesecloth, sewn upon strips of heavy paper. It is sold at a small advance over the cost of raw material. When you wish to put in a window in a hurry this prepared puffing is valuable; but I advise everyone to learn the art of puffing, for only by being able to do all the detail work yourself can you become a successful trimmer, and wholly independent of the supply houses.
A “Sunburst” is the effect created by a form of pleating radiating in all directions from a central point.
Sunbursts, while they look difficult to make, are comparatively easy. It matters not what shape you wish to construct, whether round or square, the system is always the same. First measure your outside edge of frame, then cut off your strips of cheesecloth the different lengths required, pleat in center of them all and tie firmly with string, nailing them to the center of the frame. Then stretch them to the outer edge of the frame.
One of the prettiest effects in backgrounds is made by “smocking,” or catching the material into little squares, as is shown in the illustration. I have used this method in many windows, and always with good success. For paneling, pillars, etc., it will be found very desirable and attractive.
First cut your goods one-fifth larger than the space you wish to cover, sewing breadths neatly together. Then lay the cloth in even folds, and on each fold make dots with colored chalk or pencil, to show where the squares are to be caught up. These squares show plainly in the picture. They should be caught together with a needle and thread of a color to match the cloth. If the work is neatly done it will more than repay you for your trouble; and, indeed, once you have caught the knack of doing it, you will find 34it easy and quick work. So little material is used that it is the least expensive of any fancy background. I generally use bleached muslin, but the light shades of bunting or surah silk are equally adaptable.
 
Pleating is more of a trick than it appears to the uninitiated. Good pleating is very beautiful, but poor pleating is worse than none at all. The secret of good pleating is uniformity.
I will acknowledge that pleating was one of the most difficult things for me to learn; but I finally invented a little scheme that assisted me wonderfully.
It was nothing more or less than a clothespin, but it accomplished the work accurately. Start at the left-hand upper corner, first turning under the raw edge. Then place the slot of the clothespin over the edge and turn it half around to the right. Place your finger against the fold thus made, pull out your clothespin and tack or pin in place. Move your clothespin a given distance to the right, turn again and pin as before. The pleating will be absolutely uniform. In single pleating the folds are all one way; box pleating is made by turning first to the right, then to the left, as in illustration.
 
 
SINGLE PLEATING.
If you have a good eye for distances you won’t need the clothespin, but beginners may use it to good advantage.
Where you have a pleated background 35the edges of your framework may also be pleated closely, and then, say every six inches, pull out the pleating into the form of a rosette. The effect is very pretty.
 
BOX PLEATING.
A good background is a necessity. It is the frame of your picture. Many goods, desirable in themselves, need a color effect to throw them out properly. Practical window trimmers devote much study to designing their backgrounds, frequently relying upon them to arrest the eye of the passing throng and so direct attention to the goods themselves.
No matter how artistic a window display may be, it loses more than half its attraction if not suitably backed. The background affords relief to the trim, and is as necessary as the scenery to a stage setting or the sky line to a landscape. It completes your picture, and, frequently, attracts the eye sooner than the goods.
Therefore too much attention cannot be given backgrounds, and were there a school of window trimming, the proper use of the background would be one of the first things taught.
Many trimmers construct their backgrounds in the windows, which takes considerable time, and when completed, they hurry in the goods to be shown, not giving themselves time to show them properly, feeling they have spent too much time on the background. Consequently, the window is not what it should be. To obviate this I would advise the using of portable stock backgrounds. They are not expensive, and are easily constructed. The time saved in trimming a window is a very important factor. A few frames made of light strips, covered with cheap muslin, forms an excellent groundwork. They can be decorated with cheesecloth in sunbursts, pleating—or, in fact, there is no limit to the variety of ways to treat them. The frames can be made in convenient sizes to fit your windows, so that they can be easily handled and put together quickly in the window. Both sides of the frames should be decorated, so that after you have used one you can turn your frame, showing a different style and color entirely.
These backgrounds are also to be commended as examples of good taste and elegance of design without being elaborately ornate. A very great mistake is not infrequently made in trying to gain a great effect by using an overdone and complicated background which results in distracting the eye from the rest of the display, just as an extremely simple and beautiful picture is often killed because it has been put into a huge gilded Rococo frame.
There are almost countless materials which may be used in making backgrounds, which will give just the finishing touch needed to complete a harmonious window; for instance, Japanese Grass Cloth, which can be procured from most of the large wall paper houses. This is a combination of thread and fine straw, woven together, and backed with tough paper. It comes in just the colors which will harmonize with any other color without predomination,—rich olive green and golden browns, or even beautiful dull reds.
The Oriental mattings and cloths of unique weave and pattern may also be used.
The accompanying plates illustrate how quickly these backgrounds can be put together.
 
STANDARD BACKGROUNDS—PLATES 1 AND 2.
 
STANDARD BACKGROUNDS—PLATE 3.
37Plate No. 1.—The pleated frames explain themselves. Palms add much to the finish of almost any background.
Plate No. 2.—Shows some excellent sunburst effects.
Plate No. 3.—Gives an excellent idea of the utility of frames, with the addition of a few palms. This represents an Easter egg, made of strips covered with heavy paper; the outside in white cheesecloth, the inside with lavender China silk, with baby dressed in white. There are dozens of other ideas that will suggest themselves to you, suitable to the season. The egg is only one suggestion.
 
STANDARD BACKGROUNDS—PLATE 4.
Plate No. 4.—The lattice work can be made with white tape, ribbon or strips of wood painted. A hoop nailed to the outer strips will make a good frame. Any style of ornament can be cut out of heavy cardboard, or wood ornaments obtained from almost any saw mill at a little cost. A plain box with blocks nailed top and bottom, covered with cloth in any color desired, with a panel of gilt picture moldings, makes a good pedestal.
Plate No. 5.—Shows how one frame can be used in front of another to an advantage, and good effects obtained.
Plate No. 6—Suggests an excellent background for windows. The bottom of the pillars is covered with a strip of lincrusta, painted white and touched up with bronze. A plain cap can be used instead of the fancy ones, either square or round, with a band of lincrusta to match the bottom.
These backgrounds can be produced at little cost, and are a great help to the trimmer who has many windows. With a little ingenuity and adaptation one can form an endless variety of artistic backgrounds.
The backgrounds shown were designed by Charles W. Morton.
 
STANDARD BACKGROUNDS—PLATE 5.
 
STANDARD BACKGROUNDS—PLATE 6.
39Where it is desirable to admit light to the store, the window may be draped in a style that is called “an open background.” At the back of the window tack a width or double width of cheesecloth or other material to the top and bottom of the window; not too tightly, but with slack enough to allow for gathering at the middle, as is shown in the illustration. It is not necessary to pleat the material at the top and bottom, as the gathering gives an effect of fullness, but if a single width is used it gives a fuller appearance when pleated. Tie the centers together with bows of bright ribbon. Hanging baskets of flowers and vines suspended in the center of the spaces add to the effect. This style of backing is very neat, and much better than no background at all for drug and jewelry displays.
 
 
For lattice work erect a light framework, wind with cloth, and use strips of curtain cloth, white tape or ribbon for lattice. Run all the strips one way before you put in the cross strips, and these should run back of the first, before the next, and so alternating until you have reached the end. The next strip should reverse the order, running before the first.
Having erected a proper framework and covered it in an artistic manner, the background is complete, and the decorator next turns to the subject of proper fixtures on which to display his goods.
The writer is a firm believer in good window fixtures, for they assist greatly in making a handsome display, and thus selling goods. Therefore an adequate supply of substantial brass and nickel fixtures is not an extravagance, but a necessity. I said an adequate supply. The big city store needs a great variety of fixtures, for there are many windows to trim. The small store cannot afford more than enough to be used to good advantage.
Side brackets, or arms, must be provided amply, and enough uprights and rods to make whatever racks or trees may be required for small goods. Special display require special fixtures, and where the fixture cannot be entirely covered, a homemade erection would be out of place. When a need arises for a good fixture the expense should not be considered.
From a town of 50,000 inhabitants a merchant writes: “I can no more expect my trimmer to create a good window without proper fixtures than a carpenter to make a good piece of cabinet work without tools. Windows that will attract attention to our goods are necessary; therefore 40we buy every fixture that is required.” A firm in a town one-half the size of the above, states: “If we were forced to choose between inside fixtures and window fixtures the window fixtures would get them every time. We could sell goods off a dry goods box when once we had brought the people into our store; but without a good window display we fear we could induce very few to enter.”
A general merchant in a town of 5,000 writes: “I never paid any attention to my windows until a year ago, when I instructed one of my clerks who was going to the city, to buy whatever fixtures we might need to trim a window properly. To my horror he purchased nearly $200 worth of fixtures, including a jointed form. I felt like sending the goods back, but, at the clerk’s earnest solicitation, decided to keep them. To-day I would not part with them for double the amount they cost. My windows are talked of all over the country, and my competitors are making frantic efforts to imitate my style of trimming windows.”
Another merchant writes: “I never bought a window fixture that did not prove a good investment.”
The decorator more frequently finds a lack of fixtures to be his stumbling block than any other detail of window trimming. Dearth of proper fixtures is more fruitful of complaint, contention and ill feeling between the trimmer and his employer than all other causes combined; and, while there are many unreasonable and “stingy” employers, on the other hand, it may be observed that in very many cases the more indolent and incompetent the trimmer the louder are his complaints; and to such a degree does he sometimes carry this that his colleagues become wearied of his “hobby,” he becomes persona non grata with his employer, resulting finally in being driven out to make room for one with more tact, better temper and a larger store of latent resources, enabling him to make the best of the, perhaps, meager supply of materials at hand.
Did any one ever know of an incompetent and unsuccessful trimmer who did not lay all his troubles and failures to the lack of fixtures; or a capable and successful one who did not climb to the top in spite of his handicaps of this kind? Again, there are many ambitious young men who do make an effort to surmount these difficulties, regarding this as the “make-shift period,” sighing the while for the time when they can take their place in the great establishment, that “promised land” where their troubles will have ended, where there are fixtures galore for every wrinkle, and where they must but say, “presto, change,” and the marvelous creations they dream about will be complete. It is no secret with experienced men that this state of things exists only in dreams, for, if the great store is replete with all the modern appliances, so, also, are the requirements multitudinous in proportion, and the trimmer who has failed to cultivate to the utmost his inventive faculties while occupying his humbler sphere cannot hope to succeed in the greater one; and, yet again, it has been proven that the average store, doing a business of $100,000 a year, is as fully equipped in the fixture line, in proportion to volume of business done, as is the great metropolitan establishment whose sales run into the millions.
It is well to agitate the fixture question in every proper way with the employer, and to try to obtain those that are necessary; and it is well, also, to keep an eye on the lumber pile, for with saw and hammer one can rig up fixtures with which he can make a creditable display of any class of merchandise, and at the same time train himself to become a man of resources; for, far and away ahead of all other gifts the successful trimmer is always resourceful, and the ability to hastily construct necessary fixtures is twin brother to the gift that enables a man to handle every kind of goods given 41him in all the ways it is capable of being displayed at short notice which is the characteristic stamp of the true artist, and determines his value to his employer as well as his standing in the profession.
Here are one or two illustrations:
 
IDEAS FOR HOMEMADE FIXTURES.
If you have been asked to show underwear, for instance, and metal fixtures are not obtainable, don’t entertain a trimmer get some curtain poles, saw into required lengths, procure some three-pronged metal towel racks from house furnishing department, screw them on pole, as seen in cut, and you have a fixture that the goods will sufficiently cover, so that no one will guess it was not originally manufactured for the purpose.
To make a very effective centerpiece for a linen or handkerchief window, cut from any old boards the shape of a vase, say thirty-six inches high. Pad one side of this to the shape of a vase with old papers, excelsior or any old rubbish; cover with muslin, then puff all over with cheesecloth; now two feet from your dark background stretch from floor to ceiling coarse, black tarletan; place the flat side of vase against this and pin your handkerchiefs or napkins on in vine and flower effect. The tarletan is entirely invisible and the goods have the appearance of “growing” right out of the vase.
To make an effective and artistic arch quickly, nail your uprights to the floor, cover with carpet padding; over this puff, pleat or stretch plain cheesecloth or whatever you wish to cover it with. Now get some flour-pail lids for caps, procure some barrel hoops, cut out about one-third and nail either end to the side of post caps. The space can be filled in by puffing or pleating.
These methods are shown in outline in the above diagram.
 
Another, more elaborate arch is made as follows: Go to the lumber room, where old boxes and barrels are kept, and there are usually a saw and hammer about the store. That’s enough. Remove the wooden hoops carefully from your barrels, and save the heads. If you have not enough pieces among the boxes to serve for uprights purchase a few 2 × 4s, and also a bundle of lath. If you wish to make an arch, use the 2 × 4s for uprights, run a board across the top, and nail blocks in such a position that by bending lath or light strips, and nailing them to the blocks, the circle of the arch will be formed. See illustration. Puff cheesecloth upon cardboard or the thin wood used for backing pictures, and fasten it to the circle of the arch, allowing it to run down as far as the pillow. Allow the top board to project a trifle beyond the 42face of the arch, and cover or puff this edge. For the pillars take heavy carpet paper, or roofing paper, and cut it the length you wish the height of the pillar to be. Cover the surface of this paper with cloth or velvet. Then bend the paper in cylindrical form, around the upright, fastening at the back with brass paper fasteners. It will have the appearance of a solid and substantial pillar. Twine smilax or ivy about this and you will be surprised at the effect.
Barrel heads may be fastened together with light strips and then nailed to the top of an upright to form a pedestal on which any class of goods may be displayed. The top and standards may be closely covered with cloth, or draped from the edge of the top to the floor. Another way is to put a barrel head at the top and bottom and drape in hour-glass shape, drawing the cloth together at the center and tying with a bow of bright ribbon, or other material.
 
 
 
By winding hoops with cheesecloth you can use them in a variety of ways. In an illustration is shown a suspended hoop fixture which makes a good centerpiece. The pins in the center, which are to hold merchandise of various kinds—hats, bonnets, shoes, etc.,—are pieces of broom handle nailed to the flat of the hoop. Another good homemade fixture is in easel form, one-third of each hoop being cut away, as shown in the picture. A standard with half-hoops fastened to the sides makes a 43good fixture for showing laces, furnishing goods, etc. These are all outline drawings and do not show the fixtures covered, but when they are wound with cloth they present a very neat appearance, and are certainly useful.
 
Knitting needles driven into an upright standard, make neat and serviceable bars for displaying furnishing goods.
 
The country trimmer is frequently at a loss to make a good corset window. Boxes of goods may be piled up, to be sure, but that requires a great deal of stock, and never looks very well, either. A dozen corsets, properly placed, will make an excellent display, and will sell more goods than a mass of rolled and boxed corsets. Have a dozen oval pieces of 1-inch board sawed, of a size that just fits the bust of the corset. A corresponding number of pieces should be made to fit the waist measurement. Connect these two pieces by means of a standard, and lace the corsets lightly over this improvised form. By extending some of the standards you can have the real corsets of your display set up, so that all may be plainly seen. Allow the top of the corset to project several inches above the bust piece, and upon the shelf thus formed put a puffing of bright colored stuff, or place a potted palm. For a narrow window such a display is especially desirable, and it may also be adapted to any shaped window to advantage.
Perhaps the above suggestions will give the reader ideas of utilizing the lumber room to good advantage. In another chapter a variety of suggestions is offered, many of which will require more or less ingenuity on the part of the decorator to prepare properly.
There is a paper with surface printed in close imitation of onyx, which is being utilized by many window trimmers to manufacture onyx standards upon which to display goods. Take a round pole, three feet long and about three inches in diameter, and nail upon either end a 12 × 12 square of 1-inch boarding. Cover all surfaces with the onyx paper, and set several of these stands in the window. Over them lay suits of clothing, pieces of dress goods, or place upon the tops pairs of shoes or other articles. A pretty effect is created by twining smilax around the standards. Onyx columns to support backgrounds may be made in a similar way. The paper may be obtained from any first-class stationer, and when viewed from the sidewalk closely resembles real onyx.
When showing small articles in a window effective accessories may be employed by using draped stands of irregular heights scattered about the window, upon each of 44which is placed a palm plant. If the stands are draped in red or yellow they show off the green palms to good advantage. Smilax may be twined about the bases.
Have strips of single or double thick window glass cut to the size you desire. Place two 1-inch screw eyes in your frame or window side, and rest the edge of the glass upon them. Fasten the ends of two pieces of picture cord, or chain, to the screw eyes, draw them over the outer edge of the glass and fasten them about a foot or eighteen inches above the shelf. This fastening is easily made and removed, and the shelves will be found very substantial.
 
There are almost as many ways to drape dress goods as there are varieties of the goods themselves, and many of them are good ways, too. Ask any window trimmer, no matter what experience he has had, if he can drape dress goods, and he will answer “certainly!” and be surprised at the question. But how well he can drape is another question. Whether his drapings are modern and up-to-date is also worth investigating. An experienced trimmer finds himself inventing new drapings almost daily, and these are more or less serviceable. It is a good plan to use those methods that commend themselves to you and that you find you are able to reproduce easily.
 
The stands have much to do with your success. In fact, there can be no real success without proper fixtures. We show a diagram of an excellent dress goods stand, which is suitable as well for silks or almost any class of dry goods. The frame work is light and made of soft pine and covered with heavy roofing paper. The measurements are shown in the drawing. By referring to Plate No. 1, accompanying this article, you will find that draping No. 4 is made on this stand. In Plate No. 2 drapings Nos. 10, 11 and 12 are also made on the dress goods stand. Plate No. 3 shows six styles of drapes made over this same stand. The illustrations are from photographs and are so distinct that even the novice will find little difficulty in understanding the folds. For an “all-round” stand I recommend this highly. It should be made in three heights, 3 feet, 4 feet and 5 feet, and is then suitable for blankets, comfortables, muslin underwear, tablecloths, and many other lines. At the right of the dress goods stand is a diagram of my silk stand, which will be found useful where many silks are shown. Its size renders it especially appropriate for silk widths and by referring to drapes Nos. 5 and 6 in Plate No. 1, and drapes Nos. 7, 8 and 9 in Plate No. 2, you will find examples of drapings over this stand. The dimensions are plainly given in the drawing.
 
DRESS GOODS DRAPINGS—PLATE 1.
  
  Examples 1, 2 and 3 are made over the Skirt Stand.
  
  Example 4 is made over the Dress Goods Stand.
  
  Examples 5 and 6 are made over the Silk Stand.
 
DRESS GOODS DRAPINGS—PLATE 2.
  
  Drapings 7, 8 and 9 are made over the Silk Stand.
  
  Drapings 10, 11 and 12 are made over the Dress Goods Stand.
 
DRESS GOODS DRAPINGS—PLATE 3.
  
  Six Modern Drapes, all made over the Dress Goods Stand and suitable for displaying almost any material for Dress Goods.
48In all large stores a skirt stand is an important factor in displaying goods. The one I use is easily made, is light and durable, and answers the purpose admirably. The illustration shows it perfectly and gives the dimensions. Drapings Nos. 1, 2 and 3, in Plate 1 are examples of the use of this stand.
For the convenience of decorators I give herewith a number of illustrations of drapings in common use. These need not be described in detail, for it would be a task well-nigh impossible. Each man must, by practice and study, work out the various details of draping for himself, for the graceful folds we so often see and admire cannot really be taught. If you ask a trimmer what his method is for making a certain effective draping, he will stare at you in bewilderment and say, “Why—why, I just give it a push here, and a twist there, and a yank sideways—and it’s done.” As a matter of fact, he don’t know how he does it, any more than a painter can tell you what particular sweep of the brush created his masterpiece. A delicate touch—an artistic eye; that’s about all there is to it. I show herewith many pretty styles of drapings, but beyond describing the materials you must work with and giving you the pictures to study, I can assist you no further. But do not be discouraged; try them. A little practice will no doubt enable you to duplicate any of them, and then I suggest you invent new drapings of your own, that fit your peculiar style and taste, for dress goods are susceptible to innumerable methods of display.
 
FIG. 4.
 
FIG. 4.
Given the proper stands, as before illustrated, draping is not so difficult as at first appears. In Fig. 4 I show a cylinder stand, with an upright attached that is used for many of the drapings that have a raised heading. The cylinder is made from papier 49mache or heavy straw board. Some forms are made to spread at the bottom, in the style a woman’s dress is hung. And sometimes a flat board, or a cross-bar is required, as will be explained further on. For fastening the material to the cardboard form use artist’s tacks, as they are convenient and do not injure the cloth. Fig. 4 (a) shows the cylinder with an upright stick tacked upon it to hold the puffed heading; (b) shows the first process in draping, (c) the second, and (d) the method of gathering the puffing at the head. In Fig. 4 (e) is shown the completed drape, which is both new and highly artistic. Fig. 5 is also very effective, and its construction may be followed in (a) and (b), and in the full draping (c). Fig. 6 is certainly an odd effect, and one that is just now growing popular. The method of gathering the fold is shown in (a), and the result in Fig. 6 (b). Fig. 7 recently originated in Germany, and is very graceful and pleasing. The method may be followed in (a) and (b) to the full draping in (c). In Fig. 8 the pansy, fans and butterflies are made from fancy silks arranged at the top of draped dress goods. Of course the colors must all harmonize. Simpler forms of draping are those in Figs. 9, 10, 11, 12, 13 and 14, and these are all made over cylinder form, and only skillful manipulation is needed to enable you to duplicate them. Figs. 15, 16, 17 and 18 are made over a cross-bar and the folds held in place by pins. This cross-bar may be fastened to a simple upright standard, or you may use a flat board, which is somewhat better. Fig. 19 shows a neat method of stacking piece goods, the top piece being used for the puffing. Fig. 20 is called a floor draping, and is made up over an upright standard.
 
FIG. 5. (a)
 
FIG. 5. (b)
 
FIG. 5. (c)
 
FIG. 6. (a)
To describe in detail every fold in the above drapings would be tedious, even were it possible to make myself understood. Any trimmer will readily catch the ideas from the pictures and be able to utilize them in his own way. Some of the drapings 50shown have been in use for some time, but the majority are this fall’s productions, and all of them are graceful and pretty and will bear reproduction.
 
FIG. 6. (b)
 
FIG. 7. (a)
 
FIG. 7. (b)
 
FIG. 7. (c)
 
FIG. 8.
 
FIG. 9.
 
FIG. 10.
 
FIG. 7. (b)
 
FIG. 13.
 
FIG. 14.
 
FIG. 15.
 
FIG. 16.
 
FIG. 17.
 
FIG. 18.
 
FIG. 19.
 
FIG. 20.
1. In making this unique pattern, called the Fleur-de-Lis, a common millinery stand 25½ inches high is used, as seen in Fig. 1.
 
2. Nine inches from the top is fastened a piece of silk of 8 folds, containing 1¼ yards to the fold. When this is fastened it must be the center of the fold as seen in Fig. 2.
 
 
523. Then each fold is brought down and made to form a loop fold, at the base of the stand, as seen in Fig. 4.
4. Figure 3 shows the pattern after the hidden end of the silk is brought over the top of the stand and is securely fastened, and also is made to form a girdle, so as to cover the meeting place of top folds.
 
5. This girdle must be 4 inches across the center, and 10 inches in diameter.
6. From tip to tip of the farthest point of the bottom fold is 32 inches. The width of top fold is 13 inches.
7. Any height stand and any length silk may be used.
A pretty decoration may be made to accompany a window display of linens as follows:
Take insulated copper wire and use as a base for stems in making flowers, thistles, etc. The thistle being entirely new and very attractive, I will describe the process of making it: Cut strips of coarse linen 1¼ inches wide and unravel each edge until a fringe is formed ⅜ of an inch on either side. Wind this strip about the wire for the stems, as shown in C of the illustration, where a part of the strip is left unwound. For the thistles, cut strips 15 inches long and 1¾ inches wide, and unravel one edge until a fringe 1¼ inches deep is formed. (See A.) Fasten one end to the stem where the thistle is to be formed, and then roll the cloth tightly, allowing the fringe to remain loose, as in B. Now take white linen thread and wind tightly around the cloth at the head of the fringe, as shown in the completed thistle flower. D and E show the strips of cloth before winding.
In making a fence of linens, the rails should be wound with strips 2 inches wide, unravelled to a depth of 1¼ inches, leaving ¾ of an inch of the plain cloth. (See F.) The pickets are wound with another 2-inch strip which is unraveled on either side, leaving only ¾ of an inch in the center of the cloth, as shown in G.
 
THE THISTLE LINEN DECORATION.
These strips may be utilized in many different ways, and many beautiful effects can be obtained by their use. These designs add attraction to any display of linens.
Show cards, to a business man, are a necessity. Everything depends upon the way he advertises, and he cannot advertise judiciously without the aid of signs. Some one must make his signs. If his business is on a small scale, and he cannot afford a regular sign writer, perhaps he would like to do it himself; or, if he hasn’t sufficient time, why not employ a window trimmer who can do both?
A window trimmer who can make his own tickets increases his value to his employer and can demand more money than one who does not; at any rate, sign writing, as a side issue, will do no one any harm, and very often it can be used to great advantage.
The art of show card making can be acquired by any one with very little teaching, a reasonable amount of patience, and plenty of practice.
Do not become discouraged at your first attempt. Your card will look badly, of course, but that is to be expected. You cannot do good work at the first attempt—it is impossible. Improvements will be gradual. Each card will prove better than the last, and with a little practice you will be surprised at the results.
Were it not for the interesting variations and numerous opportunities to display artistic ability, card-writing would be very monotonous; as it is, a person with the least bit of artistic taste will find it a pleasant occupation as well as a convenient and profitable one.
A sign maker must find where the sign is to be used and the sizes of his lettering must be varied according to the distance it is to be placed from the eye of the public.
Don’t attempt over originality in signs. The majority are not familiar with signs. They have seen only a few designs. That which may be conventional to you, because you study signs, will be original to the majority of people.
Inaugurate a system of uniformity in your card-writing, by which all your work (styles of lettering, etc.), have a certain amount of similarity.
If at any time you wish to change your styles of cards or lettering, let the new styles appear all over the store at the same time. It does not look well to use a mixture of types or color; it has a tendency to confuse the public—whereas, a system will teach them to know your particular style of work at a glance, and it will not only be more readable, but will establish for you a personality.
The first requirement is a place to work; then you must be equipped. It is impossible to do justice to your work unless you are properly fitted out. Walk around the store until you find a suitable window, and anchor there, provided you will be allowed, for you will find sunlight much better than artificial light, both for the eyes and coloring.
Next get a table. Tilt it forward slightly, as in this position you will find that work can be done better than if a level surface were used.
 
For those who will go to the small expense of building a table, I show it in Figure 2.
You can use a Tee Square much more rapidly and accurately than an ordinary rule. The inches can be marked off on your tee in order to center the card.
Soft charcoal is the best on coated cardboard. Should your cardboard be a little rough, a delicate lead pencil mark will be better. Charcoal marks on coated boards can be easily erased with a soft piece of cloth; or, better still, a piece of chamois.
Use a palette knife with a flexible blade, about ½ × 3½ inches. Find a square piece of glass, or, not having a square piece, use any shape you have handy. I will explain later to what use the glass is to be put.
Mixing forms an important part of sign work, which, however, is considerably lessened of late, by reason of several manufacturers having placed on the market prepared colors which meet the requirements satisfactorily. I would advise their use if it is possible to obtain them.
One very important thing is, do not use oil paint on cardboard. It does not work well and will cause much trouble. No experienced marker uses oil paints, unless it is black asphaltum to fill in and outline letters; such as several large department stores are using at the present time. The glossy effect of this class of work is considered by many to be very attractive.
The drawback to this method is, the cards require a double handling and consequently the work is very slow.
Drop black, in distemper, is the cleanest and most handy preparation for card work. It is sold in most cities in jars containing one pound. All that is required for making it ready is a little dissolved gum arabic and water.
Take your palette knife and mix these thoroughly on the piece of glass, to about the consistency of a thick paste; it will then be ready for use.
All colors can be purchased in this form. To those who would prefer to mix their own paint here are given a few hints on mixing.
Lamp-black, ground thoroughly with water and gum arabic, a few drops of alcohol added, will make a fairly good black. All dry colors can be mixed in this way.
Fill a tin cup about ¼ full of whiting, thin it with water, add ½ ounce of pulverized glue—boil slowly, continually stirring until the glue is thoroughly dissolved; this, when cool, will make an excellent paint for dark boards.
At another using, should you find it has become stiff, a little heating will thin it to the proper consistency.
The following tints can be formed by mixing the colors as below. The shades can be made to suit any taste by the exercise of a little judgment in proportioning the colors.
Cream—White, yellow and red.
Drab—White, Prussian blue and vermillion.
Flesh—Lake, white and vermillion.
Fawn—White, stone ochre and vermillion.
Grey—White, Prussian blue, and very little black.
Light green—White, mixed with verdigris.
Grass green—Yellow, pink, mixed with verdigris.
Pea green—White and Paris green.
Dark green—Black and chrome green.
Olive green—Prussian blue and yellow.
Jonquil—Yellow, pink and white.
Lead—Prussian blue and white.
Olive—Red, green, or black and yellow.
Pearl—Dark red mixed with violet.
Purple—White, Prussian blue and vermillion.
Stone—White with a little spruce ochre.
Straw—White and yellow.
55Snuff—Yellow, sienna and red.
Slate—White, black, red and blue.
Steel—Cerise, Prussian blue and vermillion.
Salmon—White, yellow and red.
Light yellow—French yellow and white.
Dark yellow—French yellow and red.
Lemon yellow—Yellow pink, with Naples yellow.
Nine-tenths of the inexperienced markers are using camels’ hair brushes, which do not have the required elasticity for good work.
Much depends upon your brush. A good sign writer cannot turn out a respectable sign with a poor brush; therefore, a beginner cannot expect to acquire efficiency unless he uses the proper kinds of tools.
The proper kinds of brushes can be obtained of any brush dealer. For ordinary work, a ¾ long No. 5 brush will answer, the cost being about 20 cents. Purchase a set of about six assorted sizes, which will answer for all work.
 
Use great care in selecting your brushes. See that the hairs are of an equal length and that the ends are even when the brush is flattened.
Train your brushes flat by always using the same two sides. Rinse them in a glass of clean water after each using, and give them a thorough cleansing—with soap and water about twice a week. This will keep them in good condition.
Figure 3 shows the exact sizes of a set of brushes, which will answer for all purposes.
Your own judgment should be sufficient to know good cardboard. The more you pay the better goods you get, that is, if you deal with a reputable house.
Use a pure white, heavy coated board from 6 to 10 ply, according to the size of the sign you are making. See that your board is of sufficient thickness to prevent warping. If you use frames, of course your board need not be so heavy.
Colored card-boards are well enough, occasionally, but as a rule use plain white; people do not tire of it so easily.
The laying out of a sign requires almost as much study as the making. It is impossible to make a good sign if your layout is bad. Always allow plenty of margin to your card and do not crowd or spread your wording.
Measure off an equal distance all around your card from the margin, and keep your lettering within these lines.
The following illustrations show two views of how to hold the brush. It is held very similar to the ordinary position of holding a pen or pencil, except that the brush must be held more upright.
After the brush is well rubbed in paint (on your glass) practice holding it as shown in the illustration. Rest your hand on your little finger. The flat side of the brush should be horizontal to the line. In making the Devinne series of lettering, your horizontal lines are always fine, while the down strokes are heavy. To make this letter it is unnecessary to move the brush in your fingers, hold it firmly, and as you become accustomed to handling it you will find that a very little pressure while making the heavy line will produce the desired effect.
56In making solid letters of the same thickness throughout, a little practice will enable you to revolve the brush in your fingers (as in making an O) so that you can produce the curved portion of a letter the thickness of your brush without removing it from your card. To do this requires considerable practice and “if at first you don’t succeed” try several times; don’t give it up—you may do it correctly the next attempt.
 
In making the rapid brush letters, hold the flat side of the brush at the same angle as your letter; the down strokes must be fine, the upper and lower ones heavy. To a beginner this style will come very easy.
Treats of the arrangement of letters and words at the proper distances. Good taste requires that the letters and words should look about the same distance apart; the space on the line which the words occupies should be evenly filled. If this is neglected the lettering will look “patchy”—crowded in one place, scattered in another.
If, in making your sign, you find that you have “run out,” do not attempt to crowd the word or words into a limited space, but separate them, and begin a new line. Have all your wordings to begin and end so that perpendicular marks can be drawn through the first and last letters of each line. This will give your sign a symmetrical appearance and add greatly to the neatness of the layout.
To look well, and to add to the beauty of your work, shading must be carefully executed in both lining and coloring.
Do not use a dark color for shading, as it will give the letter an appearance of bulkiness.
Always use a delicate tint for shade lines, such as light grey, which gives a very pretty tone to a sign. This shade can be made by mixing black, white and Prussian blue.
Shade on two sides only; the left side of your perpendicular stroke and underneath the horizontal one; or, vice versa.
Do not crowd the shade lines into your letter. Leave a space between them about the thickness of the line in the letter itself.
 
The panel cards, as shown above, can be made very artistic and appropriate for any article you may wish to show.
For the illustration, should you possess the ability to execute a water color or pen drawing of sufficient merit to place before the public, well and good; otherwise, do not attempt it; a poor drawing will not improve your card.
Among the monthly trade journals can be found any number of very artistic designs, which may be cut out, pasted on a card and placed in position back of the 57small opening. If this is done with proper care, it will be almost impossible to detect the deception through the window, and the drawing will have the appearance of being made expressly for that card.
In the larger opening, place your wording in small, neat letters.
The panels can be made any desired size—the ones shown here are 12 × 15 outside, the large opening is 6 × 8 inches, the small one 4 × 8 inches.
Before going further into technical instructions, it may be well to explain the various styles of letters, and the uses for which they are required. It is always best to use one general style of lettering for all your cards, as the cards thus become identified with your establishment and form a sort of trade mark which people quickly recognize. What style of letter you adopt depends much upon your own taste and the skill and facility you acquire in making any certain letters. While each of the styles shown in this article has its special use, any one of them may be adapted for your work.
The letters and sample cards have all been drawn by William Lee Jukes, who is acknowledged one of the leading card writers of America. He has given us every useful style of letter known to the craft.
 
DE VINNE STYLE OF LETTERING.
But bear in mind that a plain, stylish, characteristic letter is the best—something that people will read without noting the letter itself, that will enable them to understand what the card says, without stopping to realize whether the letter itself is well or poorly executed. That is the acme of perfection in card writing. An illegible card loses all its intended effect. A poorly executed card makes people notice that it is not well done. A fancy card calls attention to the card itself and induces the reader to forget what the card says. You don’t want to show what a fancy card you are able to execute—at least the business firm that employs you doesn’t care a rap for your skill. 58But you do want to impress a fact concerning your goods upon the minds of a possible customer. Therefore, strive to make a neat card, a modest card, and at the same time one attractive enough to arrest the attention and induce people to read what it says.
This may appear a hard task to the novice, but by exercising good judgment and experimenting in various styles of lettering you will be able to get very close to the ideal you are seeking.
The requisites of a good card are simply these:
1. It must be sufficiently attractive to be noticed, to draw the eye of the prospective customer.
2. It must be worded briefly and concisely, so that every word counts, and you do not say too little or too much.
3. It must be so neatly and modestly lettered that the words are impressed upon the mind of the reader without his realizing just how the letters are formed.
Having impressed this upon you I will now describe the different styles of lettering.
De Vinne letters are shown on the preceding page. This style of letter makes a very neat and stylish card, and is used extensively by department stores as a fixed style. Although it has the appearance of simplicity it is a very difficult letter to make correctly, and I would advise beginners to use a more simple style.
The capitals and small letters of a rapid brush lettering are also illustrated in the engraving upon this page. It it is a very neat letter, easily made, and much used where rapid work is necessary.
 
RAPID BRUSH LETTERING.
Modern Roman is a comparatively new face, and has lately been extensively used for out-door advertising. The unfinished, outlined letters will give an idea as to the manner in which this style of letter is made. It is well to draw the outlines first and fill the letter in solid afterwards.
 
MODERN ROMAN STYLE OF LETTERING.
Modern Egyptian—A bold letter is naturally a useful letter. The one here shown is easily made and easily read. I recommend it as especially suitable for show cards announcing a sale, or for like purposes. The letters must be made a trifle irregular in order to be fully effective.
Script—This is one of many familiar styles of script. While this class of lettering is fast losing its popularity, it is still preferred by many for show cards. One who is a good penman may become very efficient in this style of lettering with very little practice.
 
MODERN EGYPTIAN STYLE OF LETTERING.
 
AN ALPHABET OF SCRIPT LETTERS.
Unique Letters—The novice will, at first glance, consider this a very difficult letter to make, but, on the contrary, it will be found very easy of execution. The vertical lines must be heavy; the perpendicular ones light. This face has no established regularity. The ribbons can be run through the letters promiscuously to suit the taste of the writer. The centers may be filled in, as in the word “cards,” or the letters outlined and shaded, as in the word “signs.”
 
UNIQUE RIBBON LETTERING.
If you will practice on these letters you will acquire more or less of proficiency in their use.
 
THE BLOCK LETTER.
 
OLD ENGLISH TEXT.
Block Letter—The block letter is scarcely appropriate for show cards, although there are some occasions when you may use it. A large window ticket or interior sign may be made with this letter, which is so severe and regular that it will show distinctly a long distance. It is the most popular of all letters for outside sign work. By spacing off a number of squares, according to the size of the sign you wish to make (using a lead pencil so that the lines may be afterwards erased), and following 62out the idea as shown in our illustration, you will be surprised to find how easily block letters may be made.
 
MEDIAEVAL LETTERS.
Old English Text—This style of letter is always popular, and always has been and always will be. It is especially suitable for writing testimonials, diplomas, charts, etc., or for initials or monograms—in fact, it is useful for a hundred and one purposes. Most people know the letter and read it easily, thus giving it a decided advantage over many complex fancy letters.
The mediaeval style of lettering, of which I show an illustration, is a new face with an old-style appearance. You will find it a very neat letter for show cards, and often used in connection with cards bearing illustration. Its chief merit lies in the fact that it is black and legible, while at the same time it presents an antique, stylish appearance. I shall show next month some illustrations of fancy show card work in which this face is used to advantage.
 
ANTIQUE ROMAN LETTERS.
The Speech Makers—These silhouette forms are now very popular and are appropriate for show cards with suggestive headings, such as “Behold our Fall Garments!” or “Allow me to introduce you to ——,” or “Here they are!” and similar catch 63phrases. It does not require an artist to draw them. A little practice will enable you to copy the outlines and then they are simply filled in with the brush.
 
THE SPEECH MAKERS.
 
FIGURES FOR THE DIFFERENT LETTERS.
In the illustration of figures shown, I have presented five distinct faces, which may be used in connection with any style of lettering. The top row of figures is Roman; the second Roman outlined; and here attention should be paid to the method of shading, that the figures may stand out 64boldly. The third line of figures is Egyptian, the fourth antique Roman and the fifth De Vinne. This last is the best all-round figure you can adopt, as the De Vinne is the best all-round letter. It is not an easy face to make, but once mastered will prove of inestimable benefit to the card writer.
 
INDEX INITIALS.
 
RIGHT AND LEFT INDEXES.
 
SPECIMEN OF ORNAMENTAL CARD.
 
EXAMPLES OF PANELS AND FANCY CARDS.
66These indexes, which may be used in connection with any style letter, will be found valuable. The hand should be outlined before the letter is made. There is a general similarity in all the letters, and once you have mastered drawing the hand you can easily apply it to any shaped letter. It is intended to be used as an initial letter, an example being its connection with the words, “We point with pride,” etc., at the end of the series. In the same illustration is an example of a simply made but very attractive border.
 
 
In this cut may be seen plain index fingers, pointing to right and left. Also several small ornaments that will be useful for decorations and are not too difficult for the beginner to master.
The making of a fancy card is not as difficult as one would think.
The difficulty lies in the layout. If you can lay out and color a card artistically, the lettering (no matter how poorly executed) will be offset by the artistic arrangement. On the contrary, if these good and bad qualities should be reversed, the good effect would be entirely lost. You will note a reproduction of the card reading, “Early Spring Blossoms,” from which a fair copy can be made. Of course in print the card loses half its artistic value, from the fact that the colors cannot be shown. Spring puts one in mind of dainty blossoms, consequently let your colorings be in harmony, and the wording breezy and new.
 
EXAMPLE OF AN ARTISTIC LAYOUT.
The illustration represents a card 14 × 18 inches (a good window size). The body is lilac, on which is pasted a sheet of cream water color paper, torn around the edge, leaving a margin of two inches. After tearing the paper so as to leave a raw edge, touch the edge lightly with gold; then lay out your work with light lead pencil marks. Copy the layout shown in the illustration as closely as possible, changing the wording to suit. Next make a series of graceful scrolls, taking care not to get them stiff, using a pale lilac. Next daub on a cluster of blossoms, using several shades of purple; that is, mix white with the purple, until it becomes very delicate. The wreath is of a delicate lilac. Make letters and figures purple, shaded with lilac.
Paste paper on card, leaving space on same so that the right hand upper corner may be slightly curled. Tip letters slightly on top with gold, and you will have an artistic card.
The card reading “Japanese Garden,” will be seen ornamented entirely with Japanese characters. It is a point to be remembered that the decorations of a fancy card should always be in harmony with the wording. It is a bad art and bad policy to have your ornaments foreign to the tone of the 68card. Another illustration, “Signs,” shows an example of an artistic layout. The same design may be used for other purposes, such as to advertise jewelry, laces, wall paper or any decorative goods. But you will see at a glance it would be inappropriate for teas, soaps or flatirons.
 
The alphabet illustrated is called an antique Roman face. It is an excellent show card style, rather irregular, neat and easily made.
You will notice that I illustrate some examples of artistic layouts. These will form the basis for fancy show cards, and serve to attract attention. When designs of so elaborate a character are used the letters themselves should be especially plain and distinct.
 
A “sign shop” is an important requisite of a department store, and to establish one in the proper way requires no little skill and judgment. Difficulties and disputes are continually arising between the painter and the heads of departments, which render it necessary to run the sign shop on a strictly systematic basis, in order that the signwriter may do justice to his work.
Mr. Jukes writes as follows concerning department store sign shops:
 
“I will point out a few of the difficulties I have found, and the way they may be overcome. For instance, one morning I arrived at the store during the busy season and found, to my surprise, no less than six individuals (from cash boys up), each of whom possessed a scrap of paper, which they forthwith fluttered in my face. I will not attempt to write the orders, instructions, threats, etc., that I underwent. Suffice to say, that each one insisted on his signs being made immediately, and all had been instructed to wait for them.”
 
“Now, roughly figuring on the six orders, I found that it would take at least four hours to get the work out. This is but one example of the many little worries which tend to make up the everyday troubles of a department store sign writer. I therefore 69believe that it is absolutely necessary to run the shop under rules, an outline of which follows.”
Write up an order form and have printed and tableted, as our illustration shows.
 
Scraps of paper are very easily mislaid or lost, and you will find an order blank of the below description a very necessary acquisition to your shop. Charging the cards to their respective departments will teach your customers to be caretaking, hence your work will be considerably lessened. The cause is obvious.
It is well to make it a standing rule that no one should wait while signs are being made. This rule may be easily enforced by a promise of their prompt delivery when completed.
Signs should be made according to the order in which they are received; that is, every one should wait his or her turn. This rule need not apply to window tickets.
Make a sign for your shop to be read as below and after having signed by some one in authority, hang it in a conspicuous place and conform rigidly to its rules.
All orders must be written on the order blank provided for that purpose and approved by the head of the department.
Sale sign orders must be in the sign shop at least four hours in advance of sale.
No one allowed to wait for signs or loaf in sign shop.
All work must be done in the order in which it is received. This rule does not apply to window tickets.
The up-to-date card writer has adopted the pen to do a great deal of his work, and, indeed, it is often used to excellent advantage. A card written with the pen is decidedly neat and novel, and is very effective. Perhaps it is not so bold in appearance as a card written with a brush, but for a change (and to be up-to-date) it may serve you to give the pen a trial.
 
 
It requires but little practice to obtain the mastery of this style of show card writing. 70Buy a bottle of Sanford’s gloss black ink, and a few of Soennecke’s round-writing pens, which may be procured from any stationer, and see what you can accomplish. You will find it easy and pleasant work, and soon be able to do very effective lettering. Learn to make the simple strokes first, and then follow the style of lettering shown you in the illustrations, as this letter lends itself easily and gracefully to pen formation. Embellishments may be added to the letters to suit the fancy of the artist.
 
Fig. 1 is a section of a color mining stone bowl, which can be purchased at paint goods stores. Fig. 2 is a piece of smooth marble, eight by ten inches in size, on which to mix colors. The color mixing knife is also shown. Fig. 3 includes a set of camel’s hair brushes, assorted sizes. Fine brush A, is for outlines; broad ones, B and C, for filling in. The color pots, 4, should be provided with brush supports, D, so as to keep the brushes from the paint when not in use. A triangle, 5, a square, 6, flat rule, 7, and a compass, 8, are also required.
 
As accessories to window trimming, stencils have come to perform a useful part in that art of decoration. Where a number of show cards are to be lettered in the same manner, no more effective or expeditious way of getting them out is to be found than by stenciling the same, unless it is to have the cards printed, a much more expensive process. Furthermore, aside from the mere lettering on the card, the trimmer may add and reproduce any ornament or device he choose, and there again avoid the expense of having a cut engraved. The experienced window trimmer finds many uses for his stenciling, and this process is especially valuable in decorating the background of a trim, where plain white papers, colored cartridge papers, cheap white cloth, burlaps and numerous other materials may be patterned or lettered at very little expense and in such a manner as to add to the attractiveness of the trim.
To begin with, the window trimmer needs but few things for cutting and applying his stencils: a very sharp knife, any kind of extra thick paper (this must be coated with shellac varnish or oiled to prevent the paint from soaking into it), some paint brushes, oil and water color paints of the desired colors, and a bottle of turpentine. After the pattern or lettering chosen or designed is traced or drawn upon the paper, care being taken that the design introduces cross strips to hold all together, it is cut away. Then the varnish is applied. When dry it is taken up and the edges of the stencil carefully cut here and there where the varnish may have run over, as it is necessary to keep them clear and sharp. Next the desired colors are gotten out; a large plate will serve for a palette, though separate 71saucers for each color are preferable. The colors, if oil, are mixed with a great deal of turpentine, but water colors should be applied “stiff.” Next the stencil is held firmly against the fabric to be lettered or decorated, and quickly but neatly painted over, care being taken that the stencil pattern does not slip and rub the design, and that part of the fabric appearing through the stencil each time is thus stamped. The design can be repeated on the fabric at will and in any arrangement the window trimmer sees fit. On cards and thin papers it is better to use thickly mixed water colors in place of oil colors, as these latter are liable to spread. In the cities one can get stencils already cut, but there is no reason why the window trimmer should not design and cut his own, as very little practice in this art makes perfect, and one’s own designs are, for many purposes, generally more applicable. Stencil, alphabets of various sizes can be bought, costing all the way from fifty cents to $1.50 a set, according to their size. These the window trimmer will find very valuable aids in lettering his show and price cards.
 
THE USE OF STENCILS IN WINDOW TRIMMING
 
THE STENCIL PLATE.
An exceedingly pretty effect was noticed in a down town New York shoe dealer’s window, gotten by giving the trim for a background a screen of light olive burlaps, upon which the monogram of the firm was placed in stenciled pattern in metallic colors. A little ingenuity along this line cannot fail to produce equally valuable effects. If the spaces left by a stenciled letter are objected to, these spaces may be easily filled in with a brush, as is shown in the letter “R” in the illustration. By the use of stencils many pretty backgrounds may be made. Paper the sides and back of your window with common white print paper, and then stencil a pretty border around them, with ornaments to suit your fancy. Stenciled ornaments may also be used to decorate your card work. If you have a neat monogram of the firm’s initials cut, you can use it in the corner of all your show cards.
 
A STENCILED BORDER.
 
THE STENCILED LETTER.
The month of January is generally considered “Linen Month,” and special pains are taken by wide awake merchants to interest buyers by means of attractive displays of these goods. We show with this several modes of folding napkins. Fig. 1 shows a method of wrapping a fringed napkin or doyly closely about a stiff wire rod. This may be used in many forms of arches and grille work.
 
FIG. 1.
 
FIG. 2.
 
FIG. 3.
The regular fan-shaped fold is well known to everyone. Our illustration shows methods of varying the simple fan by producing the single and double circles. What is called the “bishop’s mitre” is next illustrated, the three folds being very simple and easily executed.
 
SAMPLES OF ARTISTIC TOWEL DRAPING.
We also show some samples of artistic towel draping, suitable for both interior and window displays.
The following is a description of the handkerchief folds, the numbers corresponding with these in the illustration “A”:
No. 1:—Pleat the handkerchief from corner to corner, and pin it in the center. This will form a double leaf.
No. 2.—Fold the handkerchief once, forming a triangle; then pleat on the straight edge, forming a single leaf.
No. 3.—First fold the handkerchief into a small square, turn the corner over, forming a small triangle, then pleat as in No. 2. This will form a small leaf.
Nos. 4 and 5.—Fold each corner to the center of handkerchief, turn the handkerchief over and fold the corners again to the center, then pull out the corners to the outside edge, forming a puff.
No. 6.—Pleat in some pleats across the handkerchief, as indicated in the drawing, pin about two inches from each end, and draw the corners to the center, forming a double circle.
 
HANDKERCHIEF DISPLAY, SHOWING VARIOUS FOLDS.—Morton.
 
THE HANDKERCHIEF FOLDS, NUMBERED.—A.
Nos. 7 and 13.—Fold the handkerchief twice, making a small square; then turn the sides to the center, as shown in drawing.
No. 8.—Fold as in No. 6. Draw both the ends over, and pin so as to form a double half circle.
No. 9.—Pleat from corner to corner, leaving one end a little short, and pin. This will form a double leaf.
Nos. 10 and 20.—Take a small nickel rod or smooth stick the thickness you wish, commence from the corner of the handkerchief and roll, then pin and slide off the rod.
No. 11.—Fold the handkerchief twice, making a small square—then turn one of the corners over, showing the complete border.
No. 12.—Pleat the handkerchief in small pleats, as shown in drawing No. 8. Then bend in the center, which will form a small circle.
 
DESIGNS IN FOLDED HANDKERCHIEFS.—B.
 
DESIGNS IN FOLDED HANDKERCHIEFS.—C.
Nos. 14 and 19.—Pleat as in No. 8, and draw both ends together. This will form a large half circle—two pinned together form No. 14.
Nos. 15, 16 and 17.—Fold the corners to the center of handkerchief, then turn the handkerchief over and fold again, the corners to the center. Turn it over again and fold corners to the center. Now draw out the edges of the handkerchief. This will form a cross. No. 16 shows the back, No. 17 the front and No. 15 the center, with the corners turned back.
No. 18.—Pleat handkerchief as in No. 8, pin in center, and open both ends.
No. 21.—Shows two double leaves, like drawing No. 1, one laid over the other.
The illustrations “B” and “C” will give the reader an idea of the numerous combinations that may be made from the different 77folds. With a little ingenuity you can produce designs without limit. I also show several windows in which examples of handkerchief folding are prominent, thus affording the reader an opportunity of selecting a number of designs for his own use.
 
DIAGRAM EXPLAINING HANDKERCHIEF FOLDS.
If you have a big window to decorate with fancy handkerchief folds it will be a good plan to get two or three salesgirls to assist in the folding. Show them how to fold the designs you require and their work will save you much valuable time. The pinning together on the frames is quick work.
 
FOLDED HANDKERCHIEF DISPLAY.—Morton.
 
FOLDED HANDKERCHIEF DISPLAY.—Mohukern.
79The diagram will give you a better idea of the folds than the other pictures, which are reproductions of direct photographs from the goods themselves.
To produce the figure of “The Greek Cross,” proceed as follows: After the handkerchief is spread out full size turn down all four corners exactly to the center, producing No. 1. Then turn face downward and again fold the corners to the center, along the dotted lines A, B, C, D. This makes No. 2, which is also turned face down and the corners turned to the center along the lines A, B, C, D, and secured with bent pins. The pattern is now turned with the face upwards and the final figure is easily completed, as shown in No. 3. Four loose laps appear, and by placing the forefinger of each hand within these laps at point AA, and lifting the same the flaps straighten out and form B (No. 3). When all the flaps are raised and straightened the cross is formed and the figure completed.
 
Having formed this figure you may proceed to the more intricate folds derived from this foundation. While making these first folds a couple of sheets of stiff paper will be of assistance in keeping them in place while turning them over. Another thing is to have the handkerchiefs ironed smooth, and if they are stiff from starch all the better.
 
 
Fold A.—Starting with No. 5 as a base, turn it over, then turn corners E, F, G, H, to center. Allow it to remain with same face upward. Turn new corner to the center and secure it. Now turn the handkerchief face upward and center points will turn themselves outward. The inner points are turned back from the center, making the complete figure as shown.
 
GRAND ARCH, COVERED WITH FOLDED HANDKERCHIEFS.—Morton.
 
FRONTAL ARCH OF FOLDED HANDKERCHIEFS.—Shogran.
82Fold B.—This is the same as the center portion of fold A. It is made in precisely the same manner, but with the addition that the loose outer points of A are turned to the back and secured.
Fold C.—This is an effect produced by the use of two handkerchiefs folded one within the other. Except as regards the use of the inner handkerchief the pattern is nearly the same as fold B, differing from it only in the first and last folds, by which the inside handkerchief is arranged spread outside the handkerchief as in No. 1, and placed upon the other as shown in No. 6. Fold the outer handkerchief as in No. 5, turn over, turn corners E, F, G, H to center and secure them; turn face up, shake out outer points, and turn back points A, B, C, D as shown in No. 7. Grasp points E, F, G, H, roll them under, as shown in cut of fold C, and secure with pins.
Fold D.—Use two handkerchiefs laid evenly together corner to corner. Make No. 2. Turn corners E, F, G, H to center; repeat and fasten. Turn face up and turn back center points. When these points are turned back the under one is drawn a little further out than the upper, thus showing the borders of both. It is well to have the borders of prettily contrasting colors.
Fold E.—Make No. 2. Turn corners E, F, G, H to center; turn over and turn corners A, B, C, D to center and fasten. Turn face upwards. Take the projecting points in the center and turn them outward; draw them a little toward the corner, and the figure is complete.
 
One of the best modes of attraction for window displays is the “illusion” centerpiece. It originated with dime museums and side shows, but is none the less sure to arouse the curiosity of the observer. The illusion consists of a beautiful young lady, the lower half of whose body is invisible to the spectator, the upper portion so resting on a pedestal as to appear to have an independent existence. The effect of the illusion is very striking. It is produced in a very simple manner: A pedestal of wood is arranged as shown in the accompanying sketch, the upper portion being a hollow bowl resting on a solid pillar or post, a sufficient portion of the bowl being cut away to allow room for the young lady who is to take part in the illusion to stand immediately behind the pillar and within the upper portion of the pedestal. Extending at right angles from the pillar at either side are mirrors imbedded in the pedestal and having the edges A B and G H concealed by sprays of artificial flowers or other ornament extending from top of pedestal to platform on which it rests. Similar sprays are placed at front. The lower portion of the mirror is concealed by the drapery which constitutes a part of the window display or of the background. The drapery at either side of the window corresponds to that of the background. Its reflection in the mirrors deceives the spectator into the belief that he sees the drapery of the background beneath and around the pedestal.
83This attraction could be used to advantage for the display of millinery, fans, parasols, etc. The best effect is obtained by having the figure quite a distance above the spectator.
 
“THE VANISHING LADY.”
 
An amplification of the foregoing illusion is called “The Vanishing Lady,” and we reproduce a picture of a window in which this effect was a recent attraction. It occupied but a small space in the center of the display, showing the bust and head of a pretty young woman, supported on a thin pedestal with a large bowl top. From the waist down the young woman was invisible; at the same time one could see all around the pedestal, which produced a startling illusion. At short intervals this young woman would disappear right into the pedestal (or so it would seem), and presently would reappear with new hat, waist, gloves, etc. This would continue, showing every ten minutes or so a complete change of hat, etc. The following diagram with description will explain the workings. A platform 2 feet 6 inches high is built in the window, with three frames around, 7 feet high, draped in green plush. Erect a thin pedestal, with two large wooden meat chopping 84bowls, one on top, one on bottom, neatly enameled. One-quarter of the bowls at back are cut away, two grooves cut in pedestal and two mirrors set in, as in diagram. The mirrors reflect the sides of frame, which gives the appearance of seeing all around. A trap door in the floor allows the girl to disappear down a simply constructed elevator into the basement, where she changes her hat, neckwear, etc., to again reappear. The elevator is balanced by two bags of sand. When the girl gets off, a bolt is put in the beam to keep the platform from flying up. This window was a great success. The second day the firm using it was compelled to put up an iron rail in front of plate glass for fear it would be broken by the crowds. The young woman was very pretty, and every hat was becoming; and her changes were many during the day.
Fig. 1 shows an original method for a novel window attraction. It consists in having a plush covered box on a table in the center of the show window, and arranged in the rear as shown in Fig. 2.
 
The box should be about the right size to accommodate the head and shoulders of a person. A hole is cut in the cover, through which the person’s head projects. The entire bottom of the box is removed and a corresponding opening is cut in the top of the table. By looking at the arrangement from the front, the head, flags, box and table are seen, and every one wonders where is the rest of the person. The box is of course much too small to hold a person, and as the space beneath the table appears perfectly clear, the mystery is increased. This illusion is easily performed. Fig. 2 shows a side and rear view.
The whole plan is effected by means of two pieces of plate mirror, A and B. These pieces should be high enough to reach from the floor to the lower side of the table top, and wide enough to extend at an angle with each, of about 45 degrees, the angle forming C, where the sides join, and ending far enough back to cover the person. The angular formation of the mirrors will reflect the floor in front, and if the edges of the mirror are draped so as not to show from the front, the appearance from the street is that the space below the table top is open, and that the person of the individual whose head projects from the box is in some mysterious way confined in the very limited room which the box affords. The plate mirror is the only costly article, and as this is not injured by use for a few weeks, it can be resold, or perhaps rented in the beginning.
 
The effect shown in figure 1 never fails to attract a great deal of notice. It is easily performed by two persons as illustrated in figure 1. The former is a front view, and from the street the people see a person sitting comfortably in a chair in the center of 85the show window. The remarkable feature is the very long neck of the person, on which is a collar two or three feet high. The trick is done with mirrors as in figure 2. First, quite a tall man is required to stand upright like the figure at the back. The upper part of the high collar circles this man’s neck. The collar is cut open at the back so that the shoulders are on the outside. The collar extends down and over the head of the second man. The latter is of small size, generally a boy. He is placed on chair G, facing to the front. Plate mirrors C and D are now set up at an angle with each other of about 65 degrees. The edges of the mirrors join at F, completely obscuring the body of the man at the rear from the front view. It is necessary that the mirrors be cut out at E for the shoulders and correctly matched at B, so that from the front or the street, only the man’s head and the collar show. If rightly adjusted, persons looking in from the front will see only the man in the chair, the high collar and the head. Of course the effect is startling and novel, but it always interests. The edges of the mirrors should be trimmed with any goods which it is desired to advertise. The reflection in the mirrors make it appear as if the space back of the chair were vacant.
Fig. 1 is a section through the basement, ground floor and second floor of a store in which an arrangement of reflecting mirrors makes it possible for a person who is looking into the show window from G to see what is displayed on the floors above and below. First the window floor is cut out at A and the top at B. Mirrors, C and D, are adjusted on the back of the openings, inclined twenty to thirty degrees. Each mirror is the width of the opening, which would be about two-thirds the width of the window. The mirrors must be pivoted on adjustable frames so as to permit a proper setting for a good effect. The height of each mirror would be about five and one-half feet, and swung so that about three feet is inside the floor and ceiling line of the window. The large mirrors, E and F, are arranged as shown. That in the basement should reach nearly to the ceiling, and should be wide enough to take in the floor. The upper mirror is arranged similarly. The next move consists in so placing the goods in the ground floor show window that the edges of the small mirrors are covered, also the edges of the openings to the basement and top floor. The spectator standing on the sidewalk at G sees not only the goods in the ground show window, but his sight line is reflected from H to I and he sees all that is displayed in the basement. By glancing upward, his sight line is reflected to J, thence to K, and he sees the second floor display.
 
The best motor for all general purposes is without doubt an electric motor. These can be procured at a moderate cost as small as ¼-horse power, which is sufficient for an ordinary mechanical effect.
May be attached to the regular supply wire, and is so little trouble to the trimmer that 86it is preferable to all other motors whenever it can be used. It is frequently necessary
Of an electric or fan motor, and the simplest method is to attach incandescent lights to it. For a fan motor two 32-candle power incandescents will materially reduce the speed, as they cut off just the amount of power required to run them.
In towns where there is no electricity one of the following simple motors will be found serviceable and easily constructed:
The water motor is made of tin, in the same form as an ordinary overshot water wheel, is 30 inches in diameter by 3 inches wide, with a ½-inch rod through the center. A 2-inch pulley is fastened to one end of the rod, for the belt. Any tinner will make one of these motors and incase it in tin for $5 or $6.
There is usually plenty of water available in stores, and it does not require much pressure to get from two to five horse power from a little motor of so simple design that almost any one can construct one with a few tools and at small cost. The accompanying description is for making a motor from which to obtain air for a sand blast, wind power for window devices, etc. The wheel consists of a cylinder on a shaft, having nearly semi-circular buckets on its periphery. The water is directed by the nozzle nearly tangential to the upper side of the bucket, and after traversing around the wall of the bucket it leaves in a nearly horizontal line in the opposite direction to that from which it entered. As the water leaves the bucket it drops slightly below the level of the wheel and falls into the basin, from which it passes off through a drain pipe. The water power is direct from a hose. The motor will be very useful for operating mechanical window devices. The wheel is sixteen inches diameter, and the buckets are one and one-eighth inches square and two inches apart, and they are made of galvanized iron, soldered together, while the wheel is one off from an old ordinary bicycle.
 
A SIMPLE WATER MOTOR FOR RUNNING WINDOW DEVICES.
The axle is a piece of old water pipe. An empty box will do for the case for the wheel. A wheel of these proportions, run with about sixty-five pounds pressure per square inch at the nozzle the latter having ⅞-inch jet, should revolve the wheel at a speed sufficient to develop two-horse power. The water pressure is taken in at the nozzle, and the outlet is at the bottom. If possible, take the water from the main pipe coming from the street main and reduced to one and a half inches, just before reaching the motor. With a head of water of forty feet, a power amounting to about 1½ horse power is obtained, using one nozzle. This is sufficient to run an 8 or 10-inch fan, a small dynamo or other light machinery in the store.
For slowly moving mechanical displays the following motor is reliable and satisfactory:
A frame of wood (a) is first made, in which is placed a shaft (c) and a wooden 87pulley (b). The pulley should be tightly secured to the shaft, the end of the latter resting in a step (d) secured to the bottom of the frame. Upon the top of the shaft place a circular board, which holds your display. A cord is run once around your pulley, and then over a small wheel (e) at either side, from whence both ends drop through a hole in the window floor. One end of the cord is weighted, the other connected with a flat weight resting upon the sand, which is your motive power. Make an upright box, as shown in the illustration, with a partition in the middle. In the center of the partition make a small hole for the sand to filter through. The size of the hole regulates the speed of your motor. The box should have a cover for each end. As the sand falls through the hole in the partition the weight which rests upon the sand falls also, your pulley wheel being revolved at the same time. When the sand has run through, which may be in an hour or six hours, as you will arrange, cover the top of the box, reverse it, and place the weight upon the sand again. It is the same principle as the hour glass, and is easily made and operated.
 
This is not very strong, but is capable of running simple and evenly balanced mechanical displays.
Procure a common wooden weight clock, such as is called a “Columbus Clock.” Any jeweler can purchase it for you at a small price, if he has not one in stock. Run a wire through the highest geared wheel, sharp on one end, to run on a pivot acting below. Connect your fixture to this pivot wheel. Pull up the weight, and the mechanism will run very easily. It needs to be rewound every three hours. To increase speed, add to the weight. If your mechanism is nicely adjusted, it will require no more power to run it than may be obtained from one of these clock motors.
Mechanical window dressing has made great strides during the past few years, and has become an important factor in successful displays. When you hear a decorator sneer at mechanical features you may be sure he has himself no mechanical genius or he would not endeavor to belittle so genuine an attraction. Not that mechanical displays are suitable for all occasions, but there are times in every decorator’s experience when a “motion window” is really a necessity, and many other times when mechanism is a desirable adjunct to a display that otherwise would be commonplace. People are naturally curious. They will always stop to examine anything that moves, and will enjoy studying out the mechanism or wondering how the effect has been obtained. Any decorator is capable of figuring out for himself diverse attractive mechanical displays, but for the benefit of those who may require preliminary instructions, or need on occasion a device already planned, I shall describe several effects that have been used by prominent decorators during the past few months, as well as the staple mechanical appliances. One of the simplest centerpieces is the
To make this fixture use four solid wheels five and one-half, four and one-half, three 88and one-half and two and one-half feet in diameter. Fasten them three feet apart to a 3 × 3 in. post extending from the floor to the ceiling; the post to have bearings at each end. The largest wheel to be attached at the bottom 6 in. from the floor. Under this wheel, and fastened to the post, a large pulley is used.
 
Make the turn in the belt by the use of small pulleys attached to the motor. Regulate the speed to about one revolution a minute, and you have a window that no man need be ashamed of.
The following mechanical fixture will serve to display almost any class of merchandise:
Make four boxes, ten inches square and seven and one-half feet long, by using 1-in. boards 10 in. square for the ends and 1-inch strips for the corners. Cover all four sides with pasteboard, it being puffed with cheesecloth. Then make a hexagonal box the same length, ten inches on a side. Treat this the same as the others. Now fasten across the window, eight feet from the floor, three two-inch strips. Place the first one 18 inches from the glass, making them as far apart as the window will admit of, the distance being equal, and the last one being at least ten inches from the back of the window. On the underside of the two end strips fasten a curtain fixture 12 inches from each end, and one of the same kind in the center of middle strip; on one end of each box fasten a curtain fixture to fit those on the strips. On the other end of each box fasten a 10-inch wood pulley; the pulley to be 2 inches from the end of the box and 3 inches from the floor. Make the connection from the floor to the end of the box with a 2-inch square post; fit curtain fixtures in the floor and to the end of the posts; then place the belt around the pulleys and attach to the motor; then trim the posts. Place a false bottom in the window just above the pulleys, cover with cloth, and the window is ready. Start your motor and the entire display is in motion.
 
In the picture is shown a mechanical window which was very simple, very attractive and which sold a great many goods. The center star, which revolved slowly, was ten feet across, or from tip to pit, and had a green incandescent light placed in the center, which flashed three times to each revolution. 89The half-stars on the sides each contained a red incandescent light which burned continuously. This display, while very simple, was one of the most attractive windows I have seen, it being almost impossible for a person to pass on either side of the street without it attracting their attention. The goods shown were French ginghams arranged in regard to their respective colors. The power used to move the star was a small fan motor geared to gain power at the expense of speed.
 
 
 
Here is a very pretty idea of a skirt sale, which the designer has transposed to a “skirt sail.” The illustration will give you a fair idea of the window. The background and floor were of pink colored material, the boat being covered with white crepe paper and trimmed with red, white and blue ribbon. The sail itself was a handsome skirt of illuminated silk, thrown into stronger relief by having all the other skirts black. Water, of course, was represented by light blue goods, and ladder effects with rope covered with 3-inch strips of fringed crepe paper. The boat was given a rocking motion by means of a simple device which we 90illustrate, attached to a ⅛-horse power electric motor, geared down to a 5-inch crank. A rope is run through a small pulley on the floor to another pulley under the boat, and then attached to the end of the boat. A roller shade spring is fastened to the other end, the boat being hinged in the middle.
 
 
Another method of imitating a ship riding the waves is shown herewith. The hull, A, is a plain piece of board, and the masts are strips of wood nailed to this. Purchase a common bed spring and attach it to the center of the keel, as at B, and attach the lower part of the spring to a piece of wood on the window floor. If the balance is right it will be simply necessary to tip the ship a little to set it rocking to and fro in imitation of riding the waves. A little wheel can be set at C, and a cord put under it and connected with the hull. The cord can run to a point inside the store, where it can be pulled occasionally by hand, thus setting the ship to rocking. Or this cord can be connected to a door or to an electric motor. Next, the ship is trimmed. The hull, railing, mast, etc., are covered or wound with white or colored stuff, and the sails are made of lace or any desired fabric. The surface of the sea is represented with appropriate cloth. A slit should be cut, into which to put the hull, and the edges are tacked to the wood several inches below the ship’s rail. The cloth will then follow the motion of the ship, and closely represent waves.
 
A cheap windmill frame and wheel can be made as in the accompanying drawing. The stand is wood, and the two upright pieces are bored out at the top for the broom handle shaft A. A hub of wood, B, is attached to one end, and four blades cut from thin wood are inserted. A large spool, C, is put on the other end of the shaft, and a cord run over this to a wheel, D, below. 91The frame, shaft and wheel should be trimmed with appropriate material, and a pasteboard front put up in representation of the old-fashioned grinding mill. The pasteboard should be painted in imitation of stone work.
Another style of windmill can be made in this way: Place on the floor in the middle of the window a box 24 in. square, 4 ft. high. On top of this box fasten a wheel 5 ft. in diameter. On top of this wheel fasten an octagonal box 3½ ft. across at the bottom and 2 ft. at the top, 3 ft. high. On the top of this box fasten bearings for a shaft 3 ft. long. On the end of this shaft fasten four arms to measure 24 in. from shaft; also fasten a large pulley to this shaft in the center of the box. Over this pulley the belt is run to the motor below. Over the top of the box construct a roof; then at the back of the box that rests on the floor build a frame as wide as the box and 3 ft. high, this to extend to back of the window. Over this make a roof so that the apex is just a little above the large wheel. Cover all the wood with cloth, then with any kind of goods you may desire. Start your motor and you will have an old-fashioned windmill in operation.
 
 
I show herewith drawings for the construction of a wheel upon which skirts may be displayed. The face of the wheel concaves, or slopes in toward the center. White skirts, under which colored paper has been placed, may be fastened around the outside, either in the form of a circle or a hexagon, the bottoms of the skirts being at the side of the wheel. Then, almost at the center, arrange four more skirts the same as the others. Then cover the tops of the last skirts with a large, round ticket, fastened to the wheel with a hat pin, and weighted, so that the ticket will remain stationary while the wheel revolves. The wheel may be of any size, to suit your window, and should be constructed of pine or other light material. It is extremely simple, and may be constructed by any one, while, as may be seen at a glance, it is sure to be a very attractive display.
The design is a background, to be used in connection with any line of goods. When the star is closed all that fronts the spectator is a mass of white puffing. It slowly opens and reveals a recess in which is a display of goods strongly lighted by hidden incandescents. The effect is beautiful and is sure to attract attention. The back of the points, which form the star when it is opened, are puffed in yellow or some other 92color harmonizing with your display. Upon each point, the framework of which is shown here, is fastened a spring hinge, such as is used on screen doors. These hinges operate to close the points. Strong picture wire is used to draw back the points, and this must be fastened as near the hinges as possible in order that it may be concealed by the puffing, as it is on the face of the display, pulling the points out. By covering the hinges and wire with stiff paper, and puffing over that, a space will be left for the wire to run in and render it invisible. The pulleys at the three corners of the framework, as shown in the drawing, should be double, the wires running over them being spliced a few inches beyond the pulleys. The large drive wheel shown in the basement should be set up with one standard to allow the wires to make a complete revolution.
 
 
 
If you have mirrors, and can set them on each side of the star at an angle of about 45 degrees, they will by reflection give your display the effect of three stars.
Where this idea is used for a millinery window the face of the display could be covered by white flowers instead of puffing, and the points of the stars with bunches of violets.
First build a large star, six, eight or ten points, according to number of articles to be displayed, which can be twice as many as the number of points on large star. To the center of this star fasten a round shaft 93or axle, allowing it to extend on back of star only, and be flush with front of star (see B, fig. 2). On this shaft, and about 3 inches from the star fasten a wheel with a groove in edge to receive a round belt (A, fig. 2). Then build upright (C, figs. 2 and 3). On top of this upright fasten two bearings (D, figs. 2 and 3). Through these bearings pass the shaft (B) and fasten in place with pins (E, E, fig. 2), these to prevent shaft pan coming out when in motion.
 
Next make twice as many small 5-pointed stars as points on large star. On back, and exactly in center of these, glue some small pieces of heavy cardboard, about the size of a penny, and in center of back of same star, at bottom, fasten some lead or other weights. See fig. 1.
 
Next decorate face of large star by pleating the points in cheesecloth, or any other way desired, and after having lettered the face of each of the small stars pass a large pin through the re-enforcement in center of them and fasten one to each of the points of the large star, as shown in fig. 1. The large star, shown in center of fig. 1 should be treated the same as the small ones. If you take hold of the grooved wheel or shaft and turn it now, it should cause the large star to revolve carrying the small ones with it; but the small weights on back of small stars will cause them to remain right side up, as will also the star in center, and if not run too fast will produce a very pretty effect.
 
Figure 3 shows rear view and fig. 2 side view.
94The dotted line shown in fig. 2 shows the background of window, which should pass immediately in back of large star, and front of grooved wheel, thereby concealing all other mechanism.
This design may be varied by removing the small stars and in their place substituting small swinging shelves.
Should these shelves be used instead of stars, almost any kind of articles (not too heavy or large) can be displayed, as could also slippers or shoes hung in the same manner. In fact, this contrivance can be used in many ways.
Now that the effect is all ready it becomes necessary to cause it to revolve and it is imperative to in some way reduce the speed of the motor.
A practical speed reducer is shown in fig. 4. It is made as follows:
 
Two cast iron side frames, between which I run a worm gear. Against this gear is run a worm. On the end of the worm shaft I have a pulley with two different sized grooves in the edge. To this pulley I run my motor belt, on the shaft which runs through the worm gear and is allowed to extend outside of frames. I fasten another pulley wheel with different size grooves in edge and by running my power belt from this wheel to my display I get whatever speed I desire, depending on which groove I run the belt from. I do not expect many window dressers will be able to construct these gears themselves, but any good machinist can make it and once secured it will always be ready for use, take up very little room in window and pay for itself many times over.
 
Figs. 2 to 4 illustrate how to make a revolving wheel for showing goods. The stand is made of four pieces of 1 × 1½ pine, A, three feet high, and the top joined with cross pieces, B, of the same stock. Bore an inch hole for the wheel shaft on each side. The wheel is three and a half feet in diameter. Hooping will do for the rims, C, and these are nailed to wood spokes and the latter wired to a hub made from a block of wood, and bored out for the inch shaft on which the wheel is to turn. The wheel is strengthened by nailing on a second hoop at D. The whole affair should be covered with cloth, and swinging boxes attached to the rims, in which to put goods. The view 3 shows the width of the wheel and a wood grooved pulley fastened to the wheel shaft at F. Fig. 4 shows how to make the wheel turn about four times per minute. After the wheel and frame are set up in the window, make a stand of wood pieces, C C, and put a 2-inch diameter round piece of wood, H, in holes cut for same and arrange for turning by means of the crank, J. Put up a grooved wood pulley at L, and run a cord over this. One end of the cord is 95weighted with a few bricks, M. The pulley, K, is the same as pulley, F, in fig. 3. Another cord encircles this and also the round piece, H. The crank, J, is turned, and thirty or forty turns of the cord taken on the round piece H. Then the device is left alone, and the weight of the bricks steadily pulls on the cord, gradually unwinding it, causing the round piece, H, to turn and slowly revolve the big wheel. After an hour or so the cord is unwound and is rewound by turning the crank again.
 
For a millinery display, or any other attraction of a like character, two bust forms may be made to turn half way around, in opposite directions, then pause, and turn back to their original positions. This is accomplished by means of a large wheel to which two eccentrics are attached, each eccentric being connected with a standard holding a bust. Our diagram shows the floor plan of the mechanism, the large 18-inch wheel, which is run by means of an electric motor, turning the eccentrics as indicated. The standards supporting the wax figures run through the centers of the side pillars. The bowls at the top remain stationary, while the busts turn.
 
A novel mechanical display of straw hats is arranged as follows:
 
Make a box 4½ ft. high and 18 in. wide; open two sides 15 in. from the top; set this box on end, the open side to the top. The open side also to face the glass and to be about half way back and to one side of the window. Make a little platform 12 × 18, about 6 in. below the opening in front; a like platform, only to be longer and even with the opening in the back. Now bore a hole in each side of the box about the center of the opening and insert a shaft. On this shaft inside the box nail four light boards, 6 in. wide and 15 in. long; then fasten a 4-in. pulley to the end of the shaft and connect with the motor. Now fill the back of the window up 3 or 4 ft. with straw, letting it slope down toward the glass. Cover the entire floor with straw, and also the platform in the back. Then place hats on stands on the floor and suspend hats from rods above them. Place three or four hats on the stand in front, and make a sign which reads, “Straw hats while you wait.” Start your motor and you have a window that will sell hats.
 
EXAMPLE OF DISPLAY WITH HALF REVOLVING BUSTS.—McFaddin.
The designer describes this effect as follows:
“In describing the window as seen through the plate glass, one can easily imagine he is looking at a bit of nature, only in a miniature form. In the foreground, moored to a dock, is seen a gondola, majestically rising and falling upon an effect that looks precisely like a deep, clear body of water, with a slow, even motion so perfect that it is impossible to determine when it begins or stops. In the distance old Vesuvius is belching fire and lava, which looks so real it is hard to believe it is only an illusion.”
 
The drawing will at a glance give a fair idea of the mechanical contrivance used to obtain these effects.
 
DIAGRAM SHOWING MECHANISM OF THE VOLCANO AND MOON EFFECTS’.
The rising and falling motion to the water effect was made on the plan of scale beams, as can be seen in drawing. Cords were fastened to ends of levers marked ‘B’ and passing them under rollers ‘E’ and hooking 98the other ends to crank-wheel ‘C.’ As wheel ‘C’ would revolve it pulled levers down, causing center, containing water effect, on which was placed the gondola, to rise, and in turn the weight of the gondola would cause the center to fall when levers were released by wheel. I used window weights to balance it, allowing center to be heavy enough to sink of its own weight.
 
 
DESIGN SHOWING THE “ERUPTION OF VESUVIUS.”—Shogran.
100The water effect was obtained by placing a piece of double strength window glass, 3 ft. × 3 ft. 6 in. on the frame, the detail of which you will find illustrated. Underneath it I placed a canvas frame painted near the same shade as the water in the foreground of my canvas representing Vesuvius. On the top of said frame I puffed loosely very fine veiling. I also puffed the veiling on top glass. The painted canvas frame gave me the water color, the glass, the realistic reflection, and the veiling mystified the whole. Hence a perfect water illusion, well worth trying. The fire and lava belching from the crater of mountain I obtained in the following manner: I first covered the entire canvas on back with heavy paper, making it perfectly opaque, then I tore a hole, beginning at the top or crater of mountain, about 5 inches wide, widening gradually as I went upwards, and to one side. Then I cut several openings large enough to admit little streaks of light on the left slope of mountain to represent lava running down the side, above which I cut a round hole for the moon; all which can be plainly seen in the picture. Back of opening representing lava I pasted different shades of red paper (tissue paper) and back of moon yellow. Back of the large opening at the top of mountain I placed a large wheel made of two layers of red tissue paper with little tufts of grey wadding between. Back of this wheel, exactly opposite the opening representing the crater, I placed a lamp. When set in motion I had the most beautiful representation of real, burning fire. As the different thicknesses of the wheel would pass the lamp they were illuminated, and as they passed on up they would cool off and finally die, disappearing in the smoke and steam, which was represented by carefully tufted white and grey cotton on the front of canvas. Two lamps higher up illuminated the smoke and steam in the sky; another to light up streaks of lava seen on the left slope; and the fifth lamp for the moon, which threw its yellow glow in beautiful contrast to the ever raging, burning flames from the crater of Vesuvius. In conclusion, I wish to say that I know my attempt at describing these effects is a failure, compared to seeing them in reality.
Mr. Shogran won a gold medal for inventing this fine effect.
One of the most remarkable mechanical displays yet conceived is that designed by M. M. Mohnkern, called “A Study in Astronomy.” It is not theoretical, but has been made and exhibited by Mr. Mohnkern and has attracted and delighted thousands. It is, to be sure, rather complicated in construction, and requires a mechanic to build it, so that it will work smoothly; but it is thoroughly practical, and so very novel and beautiful when completed that it will repay the labor expended to produce it.
The device is intended as a background for any display of goods, and may be utilized by any merchant who has a show window, the expense being very little aside from labor.
In his description Mr. Mohnkern says: “In looking at this display through the show window one can easily imagine he has been transferred to some other planet and is looking at the solar system, where old mother earth revolves slowly around the sun. In the distance the moon is changing, first in the dark of the moon to the first quarter, then to the half, the third quarter and the full moon, decreasing again in the same way. The stars twinkle as naturally as they do in the heavens; the whole display is grand and awe inspiring.” We can well believe this.
Fig. 1 is the front view of the window, showing the sun, moon, earth and stars, and the orbit of the earth where it revolves around the sun. A strip of lumber was bent into a large circle, almost the full size of the window. Black cambric was stretched from this to the four sides of the window, and openings cut in the corners for the stars and moon, as represented, C C C being the stars, and D the moon. Back of each of the three stars in each corner small wheels were placed (see F F F, Fig. 2). These wheels were twice as large as the stars, and placed so that the center of each wheel was directly opposite a point of a star. Then half of each wheel was covered with black cambric and the other half with bright red. As the wheels revolved very fast, it made them twinkle like real stars. The moon 101was a large round hole cut in the cambric with yellow tissue paper pasted back of it, and an electric light suspended behind the opening. A disk is made, a little larger than the opening, as shown in Figs. 5 and 6. A, Fig. 5, is the opening of the cambric; B is the disk; C is where the disk is connected with the axle. This disk is covered with black cambric and placed between the cambric background and the window pane. Thus it will be seen that as the disk slowly swung around, the changes of the moon would occur.
 
102Two more strips of lumber were now bent into circles, about eighteen to twenty inches smaller in diameter than the first circle. One of these was placed flush with the first circle and held in position by means of braces I I. This circle was then covered by stretching black cambric snugly over it, and an opening was cut in the center to represent the sun (B, Fig. 1). Yellow tissue paper was pasted over this, and an electric light suspended directly back of it.
Star-shaped openings were now cut in this cambric, as shown by the stars in the central portion of Fig. 1.
The second circle was placed about six inches back of this (see Fig. 3, A 1 and A 2). It was held in position by braces F F, Fig. 3. These two circles formed a track on which the earth slowly revolved. Another circle was next formed, similar to the first one, except that this had four spokes, I I I and J, Fig. 2. The spoke marked J was long enough to reach the center of the globe and connect to an axle, as seen in Fig. 3. This circle was also covered with black cambric, and irregular holes cut in it (H H H, Fig. 2), over which pieces of red tissue paper were pasted. These are represented by the irregular patches in Fig. 2. This rear disk was fastened to a pivot (Fig. 3) and placed three inches back of the front disk in which the stars and sun were cut. As it slowly revolved it carried the globe around with it, and the irregular tissue paper opening coming opposite each star caused the stars to twinkle like those in the corners.
The earth was constructed as follows: Two bushel baskets were procured, the handles cut off, and a brace nailed across the center of each. Holes were bored in the middle of these braces, and an axle inserted (B, Fig. 4) and made fast to the bottom of the basket. Then the spoke J, Fig. 4, which has a hole in the end, is slipped over the axle and the other basket placed in position and fastened opposite the first. The baskets were left far enough apart to allow them to revolve. In Fig. 4, A A, are the baskets, B is the axle, c c c c braces, J the spoke, corresponding with J in Figs. 2 and 3.
The profile drawing in Fig. 3 will enable you to see the mechanism at a glance. A1 and A2 are the circles on which the globe representing the earth revolves; B is the disk with the long spoke, J, placed between these two circles; C is the pivot which causes disk B to revolve. D D are the braces holding disk B in position. F F and I I are the braces holding A1 and A2 in position; G is the pulley on pivot C that run the different parts; K is the main belt leading from the basement; L L L are belts running to pivots H H H. All framework liable to show should be made black; also have the cords you use for belts black.
This is a simple but very effective mechanical contrivance, and may be constructed by any amateur:
Make three circular pieces from one-inch planed boards, A A A. Through the exact centers of these run a rod, EE. Nail two-inch strips, c c c, placed a little distance apart, over the discs, one of which is placed at either end, and the third in the center. This forms the barrel, AAA, with the rod, EE, as pivot. This pivot rests on crotches, DD, allowing the barrel to revolve when the motive power below (at G) causes the fly-wheel, which is securely fastened to E, to turn by means of the circular band, B. The crotches, DD, should be high enough to bring the barrel to the center and middle of the window.
 
THE READING CYLINDER.
104Cover the barrel with cloth—a dark material is best—and upon this pin or tack the articles to be displayed. Almost any articles, not too large, may be shown, and they should be so arranged as to present variety as the wheel revolves. Suspend a screen in your window that will cover the mechanical apparatus, only allowing the front section of the barrel to show. Thus, as the barrel slowly revolves, a panorama of merchandise is shown the observer, and the constant change will undoubtedly attract much attention. You may letter the screen in any manner that suits your fancy, and this arrangement will not prevent your placing other goods in the window before your screen, as the revolving barrel will be high enough not to interfere with anything shown on the window floor.
One good use to which the wind force obtained from a fan motor can be put is shown in Figs. 1 and 2. In Fig. 1 is a section of a water tank, which tank should sit in the show window, filled with water.
 
A toy ship is on the water and is guided in a track, A, which track is attached to bottom of tank. Guide wires, B, B, extend from the ship to grooves in the track. Fans, C, C, are set up at each end and are covered with window trimmings in front so that they are not in view. The fans are run by means of cords from the motor. The arrangement of the fans is as shown in the top view of the tank in Fig. 2. The fan at the left is at D, and the wind it produces sends the ship across the tank at opposite side, on line with the arrow. The grooved track holds the guide wires B, B, of the ship, and steers the ship around G, and the momentum carries the ship to H, where the blast of air from the fan at E sends the ship along course I to J, and thence opposite D again, where the course is commenced over again.
A perpetual motion wheel never fails to attract attention in a show window. There is one form of perpetual wheel device which can be made very easily, as it consists of a simple mechanism such as is shown here.
 
The wheel is three feet in diameter, of light wood and crude construction, provided with eight arms disposed radially so as to be separated by angles of 45 degrees, as shown. The axle is supported in bearings of wood. Each arm is provided with a movable weight of five pounds, being movable on a pivot or hinge on the arms so as to transfer the weight from the axis to the periphery, whereby, as it appears to the eye, the wheel is continually overweighted on one side, and revolves slowly. Attached to the base, A, is an upright piece of wood, B, and a spring hooked wire, G, extends from 105the top of this to the point D. Here the hook part tips up the weights as they come around in turn, causing each to drop over on its arm, thus placing the weight further from the center, and making the wheel turn. The center of gravity of the wheel varies from a point on the left of the center to a point at an equal distance on the right, according to the location of the arms at the particular point in the rotation of the wheel. The wheel can be draped with light goods and made attractive. The notice “Perpetual Motion” should be attached on a card.
We show a picture of a mechanical handkerchief display in which the central figure is a girl in a canoe, who works the paddle by a simple device.
 
A stiff wire attached to one side of center of paddle, passing through bottom of canoe, fixed on a wooden wheel under the fixture. A rubber band is fixed on one side of paddle to canoe. As the wheel revolves it sets the paddle in motion. It is worked by a small motor. The entire display is made outside in sections and is rapidly fixed together in the window. The canoe is of heavy paper.
To make a double mechanical panel, that will open and close alternately, follow the device shown in the below diagram.
Cover the faces of the panels, or “doors” with cloth or puffing, and arrange them so as to cover two alcoves on opposite sides of the window. One cord is wound around the barrel and the other is unwound. When the barrel is turned, either by hand or by a motor, one door is raised while the other drops of its own weight, the doors being balanced by each other. The motion is reversed by reversing the barrel, or cylinder.
 
The mechanical device called “A Scene in Venice” consists of a reproduction of the Trocadero palace, before which constantly passes a procession of floats or gondolas. The following diagram shows a ground plan of the framework of this window.
 
A procession of floats bearing dolls dressed as gondoliers, etc., passes constantly around the palace. The interior of the building was lit by colored electric lights. Six thousand handkerchiefs were used in this display, but the palace may be trimmed with linens or other goods.
 
DESIGN SHOWING MECHANICAL BOAT.—Morton.
 
A SCENE IN VENICE.—Morton.
108This display was arranged with a high grille at top, supported by columns resting upon a pedestal or base. Upon this an enormous fan opened and closed every fifty seconds. When opened out, only the fan was visible; when folded, the fan seemed suspended at one side, revealing a 5-foot circle, studded with lights and covered with roses, in the center of which was a bust figure. On each side of the circle was a 2-foot wreath tied with white satin ribbon. The color scheme was white, top blue and ivory, with narrow moldings. Grille, fan and cornice at base were covered with dark blue velvelette. The photograph shows fan partly open and also decorations behind fan.
The ribs were fastened together with straps under the base, and also on the back of the fan, above base. Ribs were of light framework, and extended below base, as in the drawing. Front or first rib extended down three feet and had a slot through which a screw was fastened to drive wheel, which propelled it backward and forward, or, rather, from side to side; an evenly balanced weight assisted motor to open fan.
The sketch will explain mechanical apparatus.
 
Fig. 1 shows fan, spread open, looking from back of window. A is drive wheel on a pivot, smooth side facing slot of first or front rib, and to which screw in slot is attached. B is an upright supporting rack (C) through which lower ends of all but first and last rib work to avoid wobbling. Dotted lines D are heavy rubber bands fastened to ends of second and third rib, and to end of rack, as indicated. D D are similar bands fastened to end of fourth, fifth and sixth ribs, and to floor, as in the drawing. These bands prevent sudden jerking in opening and closing. E is small weight on cord, run over pulley to basement, to assist in spreading fan. This relieves the strain on drive wheel when screw in slot is at the top. EE are straps that hold fan together, and must be proper length to allow each rib to overlap the next, in order that decorations behind fan are concealed when fan is open.
Frame of fan was covered with cambric ovals, shown in photo, which were decorated in water colors, and body was of velvelette. Rack was made of thin wood strips the proper distance apart to hold ribs in proper position. Lower portions of ribs were thicker than the upper, to prevent top from catching when closing. Iron washers were put on axle between each two ribs to reduce friction; drive wheel or one at back, was stationary, the others revolved in direction of arrow, last rib moving to and fro.
This is a very novel and easily constructed device.
 
DESIGN SHOWING “THE MECHANICAL FAN.”—Walker.
 
DESIGN SHOWING THE MECHANICAL BUTTERFLY.—Lundy.
111The window was put in to show a line of black ostrich tips, and the butterfly was mechanical, opening and closing its wings in a natural manner. The background is figured cotton crepe, put on plain. The groundwork is crepe, a rich cream base with figures of heliotrope and green. In the center is placed the butterfly. It has eyes of bright green and a body of black and green. The long feelers were made of large black plumes, the ends being tipped with white plumes. The wings were made of black tips, the marking in the upper wings being of yellow, while in the lower wings are two marks, one of white and one of red. To the right is a pillar with black velvet base and a green column, and to the left a pillar with black velvet base and blue column, both pillars supporting palms. The festoon drapery is of black velvet. In front of the butterfly is a square pedestal, covered with red with a line of black velvet “lovers knots” down the center of each side. Palms and trimmed hats make up the floor decorations. We show a drawing of the mechanism used to open and close the butterfly’s wings. As the butterfly was tipped forward at the top the wings closed of their own weight. The motor is connected with a reduction gear and then with a pulley with a cam, instead of connecting direct.
The butterfly itself is 9 feet wide at the extremes and 6 feet high and is raised about two feet from the floor.
 
The wings of the butterfly are but the thickness of heavy pasteboard at the edge and ¾ inch towards where the wings join the body. The two one-inch rods which open the wings run through the floor to basement and are covered with same goods as background and are barely visible. On the ends of these two rods (see cut) are two levers at right angles with rod and are placed in opposition to each other. On the end of each lever is attached a cord running to a common point about 3 feet back of levers. They then go through two pulleys and combine in a single cord which is attached to a cam placed 7 inches from center of pulley. The levers being shorter than the width of a single wing, this gives the outer edge of wing a stroke of about three feet.
 
I show an illustration of a mechanical Easter window, in which the Folding Star, previously described, was used as a centerpiece. In this case, however, the points are fitted with shade rollers, making the pull from behind and out of sight. The roller springs pull it out, and the wires in.
 
The above sketch explains the working. There was a sleeping wax infant in an egg, surrounded by light blue China silk; the other decorations were purple and white, with flowers of same shades. The points were made from wire and then covered with cloth.
The star closed every twenty-five seconds—the egg wire, being attached to the center of the two levers, had a longer pull and would begin to close before the star, and would also take a few seconds longer to open.
 
DESIGN SHOWING THE MECHANICAL EGG.—Lorch.
113The description of the egg diagram is as follows:
 
A, heavy wire axle in wood bearings; C is wire attached to back of E, top part of egg; B is some wire running to the levers; D is weight which pulls E open; when the lever pulls down it closes egg.
The egg frame was made of wire in two parts, and made of tissue paper and carpenter’s glue, painted with white zinc, and sprinkled with white flickers or diamond dust. This was made separate and then placed between star and back of window.
The mechanical feature attached to this dress goods display consists of a frame in the center of which appears a panorama of bright pictures, portraits of prominent men, etc. The frame is made of ordinary boards and puffed in two colors. In the picture shown there was an electric light in each corner of the frame. Within the frame the panorama moved constantly from top to bottom.
The panorama consists of pictures fastened together endwise upon a belt of ticking and forming an endless band about two 7-inch rollers, which are placed at the top and bottom of the background. As the rolls revolve by means of an electric motor, the pictures pass across the frame.
Electric power, as applied to the show window, may be divided into two sections: (a) Electric lighting, and (b) electric mechanism. We will consider these sections separately.
The most approved method of stationary electric lights for windows are those placed at the top, next to the window pane, and so arranged as to throw their light downward and backward from the observer. Thus the entire window space is fully illuminated and the incandescents are themselves hidden from view. Separate reflectors or a long reflecting trough of tin should be placed back of the lights. Special lighting effects are explained in detail further on, but the regular lighting is best arranged as above.
Where colored effects are desired the incandescent lamp globes may be tinted to throw distinct or combined colorings over the entire display.
There are several preparations that answer the purpose, and indeed are best at times. Pikron for glass is excellent, or a lacquer will answer. However, they sometimes become spotted from the heat.
Another and better method is by using white shellac, thinned down with wood alcohol, and by dipping the globe this produces a splendid imitation of ground glass when a white light is needed.
If you wish to use purple, green, blue, etc., or any of the more delicate tints, such as violet, buy five cents’ worth of aniline dye of the color you wish; dissolve it in wood alcohol and pour it into the shellac, taking care the shellac is quite thin, as otherwise it will not cover evenly.
 
DESIGN SHOWING PANORAMIC EFFECTS.—Sawyer.
115By using these or any other transparent coloring a vast number of beautiful tints can be made that will blend perfectly with your color scheme. Another excellent coloring is egg dye, treated in the same way.
Now I will explain how to go about it. After preparing your shellac pour it into a vessel deep enough to immerse your lamp.
Take a piece of wire, and fasten it around the socket end of lamp; then bring one end of the wire back over the end, and fasten to opposite side to form a loop to hang it up to drip and dry.
This done, dip lamp in the coloring and hang it up, so it will dry evenly, when it will be found to be beautifully frosted.
When mixing your color, bear in mind the more dye and the less shellac the deeper your tint will be, and vice versa.
This method will apply to all colors except a deep red or deep yellow, when I recommend the other colorings I have mentioned, any of which can be removed with wood alcohol.
Before proceeding with explanations of designs requiring special wiring, it is well for the amateur to become acquainted with the primary principles of electricity, without which he is helpless. The following notes we culled from writings of experienced electricians.
This (commonly E. M. F.) is the term used for electrical energy or power of doing work, and is used in the same manner as “pressure” is applied to steam; in other words, it is the term used to express the force which tends to move electricity from one place to another, and is proportional to the difference of potential at the two places.
The earth’s surface is called “Zero Potential,” and is a reference point to measure the relative condition of other bodies. A positively electrified body is said to have a higher potential than the earth, which in turn has a higher potential than a negatively electrified body.
When two dissimilar metals touch each other, there is a difference of potential at point of contact. If zinc is in contact with copper it is of higher potential. In a series of disks of copper, zinc and wet cloths, arranged one over the other in above order, the wet cloth is the conductor, and current will flow on joining last copper and zinc by wire, etc.
This arrangement is called a voltaic pile (after its inventor, Volta), and the difference of potential produced is proportionate to the number of pairs of disks.
A difference of potential between two points connected will cause current to flow till the potentials of both points are the same.
Resistance is offered by all substances to the electric current, and varies with the nature of the substance.
Most metals are good conductors; wood and stone offer considerable resistance, and silk, glass and ebonite are practical non-conductors; but remember if a non-conductor is wet or even damp it becomes a good conductor, moisture or water being a first-class conductor. On the other hand, conductivity is diminished by an increase of temperature—otherwise dryness. The following table will give a good idea of the conductivity of metals:
| That of silver being | 100 | 
| That of copper is | 97 | 
| That of gold is | 74 | 
| That of platinum is | 17 | 
| That of iron is | 16 | 
| That of lead is | 8 | 
| That of German silver is | 7.5 | 
| That of mercury is | 1.6 | 
Therefore, generally, good conductors are all the metals, carbon, water, aqueous 116solutions, moist bodies besides wood, cotton, hemp, etc. Good insulators or non-conductors are paraffine, solid or liquid, turpentine, silk, sealing wax, india rubber, dry glass or porcelain. The best electrical conductors are the best thermal conductors, and a “red hot” temperature converts insulators into fairly good conductors.
Electricity being invisible and imponderable (i. e., not having sensible weight, such as light, heat or electricity), it is impossible to apply ordinary standards of measure. Electricians have devised special units of measure of two kinds, called absolute units and practical units, the ratio between the two being always some power of 10.
It has been decided in these measurements, length, mass and time shall be expressed respectively in centimeters, grams and seconds—called C. G. S., or centimeter gram-second method.
A gram equals 15.432 grains, a centimeter 0.3937 of an inch. The weight of a body must not be confused with its mass; the mass is the amount of matter contained, while the weight is its specific gravity, which may be expressed by multiplying mass by accelerating effect of gravity, which varies at different parts of the earth’s surface, and may be averaged at 32.2 feet (or 981 centimeters) per second.
The above absolute units are too large or too small for practical use, but the following examples are given:
The dyne (absolute unit of force) is that force which, acting for one second on a mass of one gram, imparts a velocity of one centimeter per second.
The weight of one gram, as above shown, is equal to a force of 1 × 981 = 981 dynes.
The erg, or absolute unit of work is the work requisite to move a body of one centimeter against a force of one dyne.
The weight of one gram is equal to 981 dynes, the work of raising one gram one centimeter, against the force of 981 ergs.
An erg is about equal to 1/13,560,000 of a foot-pound. A foot-pound represents the work required to raise one pound one foot high.
The practical units of most frequent occurrence are: The volt, the ohm and the ampere.
The volt, or measure of E. M. F., or difference of potential, is equal approximately to the E. M. F. possessed by one “Daniell” cell; accurately it is 0.95 of the E. M. F. of a cell.
The ohm, or measure of resistance (sometimes called the British Association or B. A. unit), is approximately equal to the resistance of 129 yards of copper wire ¹⁄₁₆ inch in diameter, or to 106 centimeters of mercury, one square millimeter in section.
The ampere (formerly called the “Weber”) is the measure of strength of current. If an E. M. F. of one volt be applied to send a current through a resistance of one ohm, the strength of current will be one ampere. That is to say, the strength of a current in amperes varies directly as the E. M. F. applied to produce it, and inversely as the resistance of the circuit.
The watt or practical unit of work (or rather, the rate of doing work) is equal to 10,000,000 ergs per second, or to the work produced in one second by one ampere of current of an E. M. F. of one volt, acting through the resistance of one ohm.
The practical electrical units are called after the eminent scientific investigators whose names they bear.
The portion of the copper plate (or carbon) from which the current flows through the wire is called the positive pole (sometimes anode), and the zinc plate the negative pole (sometimes cathode).
Elements, or the parts that produce current, are usually understood as the lower portion of the cell contents, in which the plates are immersed. When the term 117“pole” is reversed, the zinc being the positive element, and the copper or carbon the negative element, it will be noted current flows from positive pole (copper or carbon) and returns by the negative (or zinc) pole.
The bubbles of hydrogen gas liberated at the negative element (copper or carbon) resist the passage of the current, and being readily oxidizable, will set up an opposing E. M. F.
A battery in this condition is polarized—that is, neutralized—and must be renewed.
The E. M. F. of a cell is equivalent to the difference of potential between its electrode when unconnected, and is independent of the size of the elements, and is determined solely by the materials of which it is constructed.
The difference of potential between zinc and carbon being greater than that between zinc and copper, a cell of greater E. M. F. will result from zinc and carbon.
The cells commonly used for annunciators, bells, etc., are the “Laclede” and “Laclanche,” and are generally taken to have an E. M. F. of one and one-half volts; the “Danniell,” one volt; others vary from one to two volts when in good order.
To renew these cells fill the jar two-thirds full of clean water, add six ounces sal ammoniac, let it dissolve; then put in the zinc and carbon; be sure they are perfectly clean; and that the zinc is not worn out or eaten away. There are two ways to connect up these cells; the first is “in series” for E. M. F., the second “in parallel” for quantity. The first method “in series” is as shown. This way the E. M. F. is in proportion to the number of cells, three cells having three times the E. M. F. of one volt.
 
The second method, “in parallel” for quantity, is as shown; all the negatives (zinc) are connected, and all the positives (carbon) connected, making the current obtained of much greater volume, but only of the E. M. F. or intensity of one cell.
 
The strength of a current given by a battery varies with the resistance, as well as with the E. M. F., and can be increased not only by adding more cells “in series,” but also by lessening the internal resistance, viz., by increasing the size of battery plates, or more simply by coupling all the + (positive) poles together, and all the - (negative) poles together. The E. M. F. of cells coupled in this way is only equal to that of a single cell, but the current will be greater because the internal resistance will be only one-third that of a single cell. This plan is called coupling up for quantity, or “in parallel,” to distinguish it from the plan of “in series,” or for intensity.
The E. M. F. of a large and small cell are both the same (using same size elements). To increase E. M. F. multiply the cells “in series.”
The ordinary battery carbon is a mixture of carbon and peroxide of manganese—“Oh, Mr. Window Trimmer, please see if you can make this bell ring.” Bell No. 7 is dead, and there is no end of trouble; this is something met with occasionally. Examine the battery, see that it has not become crystallized (polarized), and if so, disconnect one cell at a time. Clean it well, without wetting the outside of jar, recharge with new zinc (if required) and six ounces powdered sal ammoniac, jar being first filled two-thirds full of warm water, or enough to avoid overflow; replace cell, connect up and take out another. Be sure to reconnect the cells left in battery, so as 118to keep it working while you are cleaning each one. A good way, if you don’t think the cells need changing, is to take a small call bell or buzzer, with short wires, disconnect both ends of battery, then test every cell by placing a wire on each pole of the cell at same time. If cell is all right, bell will ring. Suppose you find cells all right, proceed to bell No. 7, the dead one, examine the push button, and trace the wires from bell to battery, being sure they are not grounded by lying on some steam or gas pipe with the insulation worn off. (If it should be a case of continual ringing, the wires are crossed.) You may expect a “ground” if the battery has run down suddenly or too quick. If the trouble is found in the annunciator, don’t bother with it, unless you are expert or want trouble. Send for an electrician; it will save time—in other words, money.
Many houses have ample facilities for electrical work, but as they do not employ a house electrician many beautiful and attractive effects are barred in their windows. Even when an attempt is made to introduce electrical effects into displays the results are tame and insignificant, because of a lack of special wiring. Yet we know that the success of many windows depends largely upon their illumination.
In some mercantile establishments the trimmer has an electrician at his beck and call, and when a design is ready he simply pushes the button and Mr. Electrician does the rest. But I know that these are exceptional cases, and that in the majority of establishments the trimmer is thrown upon his own resources, and has no one to help him out of his difficulties. And if he is not posted on electrical appliances, his designs are not properly illuminated—a deficiency that annoys the conscientious trimmer as much as it does his employer.
Electricity, properly applied, is an important factor in selling goods through the show window. Therefore the window trimmer who understands wiring his own windows is a more valuable man to his employer than one without this knowledge. I shall endeavor to be plain and avoid the use of unnecessary technical terms.
No doubt your windows have permanent lights. The first thing to do is to have a switch or “cut-out” run in for special work. Any electrician will do this for you in an hour or so, and it saves you from tapping your permanent wires, which should never be done.
Be sure to ascertain the voltage and amperes; or, to be plainer, find out how many lights your “cut-out” will carry.
Before you begin work you must have proper tools to work with, and sufficient supplies to meet any case of emergency.
The following is a list of tools required:
That is not a formidable list, nor difficult to procure; but each item is necessary.
The list of supplies you should keep on hand is as follows:
This last item you can get prepared with resin, and it needs no acid to make it adhere.
No quantities are specified in the list. Your judgment will enable you to determine 119how much you will need or can use to advantage.
Perhaps I would better explain here the difference between arc and incandescent wiring. If we had a row of arc lights to put up we could run our wires as in Fig. 1. The current going to the first light passes through to the next, and so on until it reaches the last light, when it returns to the dynamo.
 
With incandescents we run two wires parallel, and make our connections as in Fig. 2. This is called “multiple arc.” Each lamp is independent of the others, and if one “dies” the current passes through the others uninterrupted.
Suppose you have a “cut-out” of 110 volts, carrying sixteen or twenty lamps, and wish to run six lamps on a strip. (This is figurative, and only used to demonstrate, for you can use any number up to the capacity of your switch.) You proceed as follows: Lay out the place for each lamp. Bore two holes the size of bushings, and between each two lamps place two knobs, as in Fig. 3. Cut two pieces of wire, long enough for all the lights, allowing enough extra to knot each knob and for the last lamp, and also leaving enough to reach the switch. Fasten the wire to the knobs nearest the last lamp, as in Fig. 4. Stretch tightly to the next knob, and repeat until the wire is all laid. For each lamp remove about one and one-half inches of insulation on each wire. Take pieces of wire five inches long for connections, and remove one and one-half inches of insulation from the ends of each. Twist these ends tightly around your lead wires, as in Fig. 5, and solder them. The simplest way to solder is to heat your exposed wires until they are hot enough to melt the solder when it is held against them.
Let me say here that when I have laid out my wires, and marked my connections, I then unloose the wires, make my cross-connections and replace them. It takes time, but it is easier, and is the proper way to work.
When the soldering is finished take your tape and carefully wrap each exposed wire. Then through each hole put a piece of bushing, and run your connections through the bushings. Run the two ends through for the last lamp. No short wires are attached for these, and your work should now appear as in Fig. 6.
 
Then you are ready for your lamps. Turn the strip over and fasten the sockets in place, positive sides all on the same edge of your strip. Cut the connecting wires the required length and remove one-half inch of insulation from the ends. Loosen the brass screws, place the ends of the wires 120under them, and fasten down. Fig. 7 shows one side of socket connected. Attach brass hoops and rubber rings, and you are all ready for placing and connecting. It is probably unnecessary to state that the same principles above explained will enable one to place lights in circles, horseshoes or any other designs that may be required. Once you know how to wire a window, a great field of operations is open to you.
The next important step in show window wiring is the proper fusing of circuits. The fuse is to the lighting wire what the safety valve is to the steam boiler. A fuse is composed of a fusible metal, which contains lead, zinc, etc., and becomes fusible at a certain degree of temperature. The fuse is supposed to be “the watch dog” of safety. Ninety-five per cent of the electrical fires are caused by improper fusing.
My advice to the amateur is to apply to the nearest office of the National Board of Fire Underwriters for a copy of the rules on incandescent wiring. They may be obtained for the asking.
Usually the electric fluid (?) is conveyed into the building from the alley, where the high tension wires are strung, carrying a pressure of 2,500 to 3,500 volts from this line. By the aid of a “transformer” the current is reduced to a pressure of 110, 105 or 50 volts, as required, entering the building, when it is conveyed to a double-pole switch; that is, a switch which cuts off both positive and negative wires at the same instant.
 
The “transformer” is a device for reducing the current from one potential or tension to another, and consists of a ring of many turns of insulated wire; the high tension wire is then wound around and through this ring several turns, and the low tension wire carrying the current into the building is wound around the opposite side of the ring in like manner. The difference in pressure is controlled by the number of turns around the ring on either side, as shown.
All the wires being insulated, the reduction is made by “induction” only. The size of the wire makes no difference in the voltage or pressure, but it makes all the difference in the “amperes” or quantity used to supply the building.
The electric light company will supply a sufficiently large wire from transformer to switch; the firm does the remainder of the wiring.
From this large double-pole switch (which is the main cut-off) radiate “feeder” wires to the various parts of the building, to supply the lamp circuits. These feeders have to be carefully gauged according to the number of lamps, or rather, amperes, they are required to carry, in order to avoid resistance in the wire; or in other words, must not crowd the carrying capacity of the wire, or the resistance will make the wire hot and might cause fire.
A “feeder” to the circuits for fifty incandescent 16-candle power lamps should be of somewhat higher capacity, say a No. 10 Brown & Thorp Gauge (B. & S. G.) which has a safe carrying capacity of thirty-two amperes or sixty-four 16-candle power lamps, allowing one-half ampere to each lamp; a No. 12 B. & S. G. wire is allowed to carry twenty-three amperes, or about forty-five 16-candle power lamps; No. 13 B. & S. G. wire is allowed to carry sixteen amperes, or about thirty 16-candle power amps.
The “feeder” should have considerably more carrying capacity than is required in order to permit the addition of extra lights, 121as occasion may require, and to provide for the addition of extra window lights, if there be not a special feeder for the purpose.
The feeder wires are tapped for lamp circuits by a branch block carrying a fuse for the protection of the circuit. The construction and operation of the branch block, or cut-out, will be understood at once on inspection. The fuse here is the important part; it must be of smaller carrying capacity than the wire it is to protect, and not depend upon the amount of current in the feeder; thus, a No. 10 B. & S. G. might be protected with a 20-ampere fuse (forty lamps, sixteen candle power), or with a 25-ampere fuse, leaving a margin of seven amperes, the wire being allowed to carry thirty-two amperes. It will be understood that “open work” is meant in every case, and wires that are concealed are not allowed to carry so much. The No. 12 wire B. & S. G. is allowed twenty-three amperes, and would be protected by fuse of fifteen to twenty amperes capacity.
The lamp circuits from feeders are in many cities restricted to a certain number of amperes, usually six to ten, or say from ten to twenty lamps (sixteen candle power). Each of these circuits must be protected by its own fuse and have an independent switch. All fuse boxes must have their porcelain cover kept on, and no inflammable material allowed near them. “Twin wires,” or two wires encased, are objectionable.
Drop cords are not allowed except for drop lamps, and must be protected by one-ampere fuse in rosette or cut-out. All wires where joined must be soldered—to prevent an arc forming by making the path of the current continuous or tight.
It is well for the beginner to know that a current of 110 volts does not kill, though it might make the recipient seriously ill. Therefore, be careful not to get yourself in the path of the current. Never touch both naked ends or openings in wires at the same time, nor stand upon the ground while working live wires. Always stand on some non-conductor, a dry board, for instance. The inexpert can always protect himself by disconnecting a fuse behind him both sides; or, better, open the “main cut-off” or first switch.
When your design is wired and set up in your window, your next step is to connect it to your “cut-out.” You will find two wires leading from it; to these you connect the two wires leading from your design.
It is not necessary to solder this connection; simply remove sufficient insulation and twist the wires together tightly.
 
There is a way to do this that every one should know, and I will tell you how to make a
After removing the insulation from the 122wires at the ends to be connected, bend the wires as in Fig. 1, lay them together as in Fig. 2, then with a pair of pliers hold one side, and with another pair twist the end around the lead wire tightly and closely, as in Fig. 3. When this is done hold the twisted wires with pliers and repeat the twisting process on the other side. This is a perfectly safe connection, and does not waste electricity as does a loose joint.
Sometimes it happens that your electric system is of higher voltage than you need use in special work; for instance, you may have a 220-volt circuit, whereas 110-volt lamps are amply strong for your work; or again, you have a 110-volt circuit, and want to use a number of small lamps, 1-candle power, for example.
These are usually of lower voltage, fifty-five or thereabouts.
In these instances we resort to a method known as wiring in series, which is done as in Fig. 4.
Of course the number of lamps to a series is to be governed entirely by the voltage, and the trimmer must resort to his own judgment in determining this.
You will see by the diagram in Fig. 4 that you have two lights for each connection with your lead wires, therefore, if using a 220-volt circuit and 110-volt lamps you have each connection using the full 220 volts, otherwise your lamps would soon burn out, as every connection must consume as many volts as your circuit carries.
Special Designs.—These few instructions answer for a single string of lights, such as a circle, arch, cornice, etc., where your leads run uninterruptedly from first to last lamp; but “how about a design that is impossible to wire that way?” you ask. It is simple, and I have made a few diagrams to illustrate the method employed.
You may have a cornice about your windows, and must bring your wires from the corner. Fig. 5 will show how to do it. A cross, or such designs as have two breaks, are wired as in Fig. 6.
 
Again, you may wish to use more than one design in a window; for example, you may have three circles, one at back and one at either side. Fig. 7 shows the easiest method.
These principles apply to many varieties of designs, and it is only the principles I am endeavoring to make plain.
And now I will give a few hints or, better yet, some don’ts which will be valuable for amateurs.
Don’t be negligent in handling your connections. Insulate every joint, and don’t leave loose joints; they consume too much current.
Don’t cross wires that are insulated without bushing the overlying wires, and never cross uncovered wires.
123Don’t bring a wire through the floor or back of window without using clay bushings; that’s what they are for.
Don’t run wires (as in Fig. 8) without using a lamp, or cutting wires where X is marked; it saves a short circuit.
Don’t let the wires to your lamps touch brass, except under the screw.
Don’t attempt to connect your design to your “cut-out” until you are sure your switch is open. You may short circuit yourself. It is not necessarily fatal, but is decidedly unpleasant.
Don’t handle live wires; 110 volts won’t kill you, but through carelessness you may some day touch a stronger circuit. Practice caution.
Don’t leave an uncovered wire to show in your window. If you suspend a design, wrap the wires with the same color as your background.
Don’t imagine you are an electrician because you can run a string of lights. Keep digging away; you’ll learn something every day.
Don’t try to do all kinds of joint soldering by heating the wires merely. When you become a little more accustomed to the work, get a larger tool kit, and among the first things get a soldering iron. In many places it is necessary.
In the following illustrations are shown plans of a sign to be electrically illuminated. The electrical work is necessarily done in the electric working shops, but as many illuminated signs are being used nowadays, the description may be useful to decorators who contemplate putting in something of the kind. In the first figure the letter is on a casing, A, having a back or support carrying incandescent lamps in channels. The form of the letter is sheet metal and is set-screwed to the base piece at the places marked C. The disks B are plate glass colored to conform to the requirements. The commutator is shown in the other figures. In the first, E is a wood cylinder, which turns in bearings, D. F F are spring contractors, and G G wire connections which join those of the lights. Another view is in the next drawing, in which the cylinder is B, bearings D and spring contractors C. The cylinder is driven by a small electric motor, G, through a reduction gear, consisting of a train of wheels or worm gearing, as at F and E. The spring contacts are electrically joined to the terminals of the lights. The terminals are joined by a combined return to one pole of the source of electric supply, and the other pole is connected to the contact pieces. The rotation of the cylinder consequently breaks and joins the circuit as desired, producing alternate changing of the lights and colors, resulting in attractive effects.
 
 
FIG. 1.
Fig. 1 is end view. H is a wooden cylinder six inches in diameter and twelve inches long (length is optional according to number 124of lights), this, as well as all other bearings, run on bearings of curtain fixtures. G is pulley wheel connected with reducer in Fig. 3, D are projections of soft rubber ¼ inch thick placed on cylinder H, and work as follows:
When D reaches E it forces E to the left and forms a contact at F F, thus closing the line and causing lamp or lamps to burn. The position of D on cylinder, and length of same, must be determined by the length of time the lamp or lamps continue to burn and when they shall burn.
The distance from A B to B is 5¾ inches, from A C to C is 7¼ inches.
F F are made of spring copper cut in strips ⅜ of an inch wide and bent to shape, then fastened in base with screws and washer.
 
FIG. 2.
Fig. 2 shows front view of commutator and needs no explanation. The above can be operated with water, motor or electricity; but where electricity is used it becomes necessary to reduce speed of motor (which is 2,200 revolutions) to about 40 or 50 revolutions; this is done by building the reducer as shown in Fig. 3.
Fig. 3 shows machine made at an outlay of labor only. Procure six tobacco pail lids, join them face to face with screws and you have three grooved wheels. Make axles of curtain poles twelve inches long, then make frame, again using curtain fixtures as bearings.
 
FIG. 3.
Attach motor to No. 1, then from axle of No. 1 run belt to No. 2, from axle of No. 2 run belt to No. 3, then attach axle of No. 3 to pulley G on cylinder and you have a machine on which you can operate from 1 to 100 incandescent lamps alternately.
The Weber commutator is very inexpensive, and has been made by a decorator with an outlay of only fifty cents for the three parts.
The most reliable machine we now have is one manufactured by a Chicago firm, which is perfect in its construction and operation and will not break down or cause danger from sparks. The expense is about fifteen dollars and the adjustment is so easy that any one can operate it.
No doubt every one has seen revolving wheels, stars, pyramids, spiral stairs, etc., strung with lights, and many have envied the man who had the facilities for this work; but by following these instructions they can make an appliance that will do the work perfectly.
First make a pulley wheel twelve inches in diameter; then make two circles of one-inch wood six inches in diameter; nail together and fasten in exact center of pulley; insulate the 6-inch circles perfectly.
Next take two strips of spring copper three-eighths inch wide, and make two hoops to fit snugly over the insulation and to each hoop fasten a wire eighteen inches long; then put your hoops on your 6-inch 125circles about one inch apart, taking care to have them even and tight.
Bore a hole through pulley wheel, and run wire from hoop nearest it through hole; then bore a hole through 6-inch circles and pulley, and run the other wire through it. Use bushings in holes, and insulate uncovered wires. Next take two pieces of copper three-eighths inch wide, six inches long, bend in half circles, attach wire to end of each, fasten to a piece of 1×2, so they will form contacts with copper bands on circles.
 
Fig. 1 shows band of copper, two half circles on 1 × 2, and pulley when finished.
Now suppose you want to use revolving wheel on pivot. Fasten your appliance in center of wheel, run wires from lamps to wires running through pulley and connect them; then when your wheel is in position, fasten piece of wood with two half circles so each presses tightly on one of the copper bands; connect the wires from half circles to wires from switch, and as your wheel revolves you have a steady contact.
Fig. 2 shows front of wheel, and 3 shows wheel from rear with half circles in position.
For a pyramid or such fixtures simply fasten your appliance to bottom or top as serves your purpose best.
Make your work as near perfect as possible, so the half circles never leave the bands, and exercise great care in insulating, for, while neglect does not always result disastrously it is well to be on the safe side.
 
The idea is novel and simple. The construction of this machine is inexpensive. Go to any machine shop and have them bore out a piece of shafting so that one will fit into the other snugly. The contact plates are made of copper, lined with asbestos, mounted on wooden circles. In fact, the entire machine can be built for $12. There is no limit to designs that can be made for this arrangement. The novelty of two large pieces revolving in opposite directions, apparently from the point of a single shaft, is in itself a worthy attraction in any window. You will observe in photo that there are two pulleys on main shaft, also a countershaft below. One belt is up straight, the other belt is twisted so as to reverse either shaft. The large pulley on the countershaft is the main driver. The belt attached to this pulley leads to your motor or whatever power you wish to employ. 126This device is safe as well as simple, as you have ample room for cut-outs.
 
 
A is a wooden cylinder, twelve inches long and six inches in diameter. B is brush made of three layers of copper, and is screwed down at lower end, No. 1, so as to work as a spring. C is piece of copper one-half inch wide fastened around cylinder, and comes in contact with B, so as to make one feed wire run to switch. D is piece of copper running one-third of the way around, and comes in contact with another brush, E. Then fasten a small piece of wire from C to D that carries the current to No. 2, while E is on copper. The other feed wire is direct from main circuit to window. F is pulley wheel running to reducer. No. 3 is fuse blocks, which can be used and are much safer than without. This switch cost me twenty-five cents. Of course, I am my own electrician. It will cost no more to any one, as it is very simple.
This would appear to the uninitiated as a hard one to build, yet it is one of the simplest electrical devices to construct.
First ascertain size of flag you want to make, as there is no limit to size. Build the body of your flag of thin boards, say half 127an inch thick. The next important thing is to outline on your woodwork an exact flag. Be sure you get the requisite number of stars and stripes. You are now ready to proceed to fasten on your sockets. I may further add here, the flag should not be square. Have a wave running through your stripes; saw out your edges (see cut) accordingly. You now have the general outline, as far as the flag is concerned.
 
 
FRONT VIEW OF THE WAVING FLAG.
 
REAR VIEW OF THE WAVING FLAG.
Now, then, for the mechanical part of it: Saw out two wooden disks, twelve inches in diameter, with a ⅞-in hole in the center. Next you procure a piece of slate, fourteen inches square. Take a compass and strike a 12-inch circle. By drawing your compass around several times, you will find it will cut a fairly deep line. You can then take a hammer and by a few light taps break the square edges of your slate, leaving a perfectly round disk of slate. Next, you want a ⅞-inch hole in the center of the slate. Now mount this on the wooden disk; next, cut the copper contacts and shape them the same as a keystone. It will require fifteen of them for 128that number of circuits. To each one of them solder a piece of No. 14 wire, as shown in cut G. Then bore the holes in the slate so that the wires will go through the back of the disks, as each wire must run from the disk to the flag; that is the negative side, and the positive side runs right straight from your feeder to the flag. For your second wooden disk cut out a copper ring, two inches wide, and fasten it securely to the wood, and solder your wire on the back of this, say a No. 8 wire. This will need contacts, as shown in cut E.
You next make a brush holder. This is a very simple arrangement. The holder is made of wood. Fasten brushes on securely, as shown in F of cut. When automatic switch is set up, it will appear as shown in cut E. Now fasten belt to pulley J, and then to motor, as shown in cut. This switch should make 300 revolutions per minute. As the brushes strike each section on the contact plate, it causes a wave of light to pass through that section of stripes or stars, as the case may be.
This may seem complicated and difficult, but I will venture to say, if you will study this ten or fifteen minutes you can without much difficulty or expense proceed to duplicate it.
Remember, each wire running from the disk must run into cut-out and from cut-out to the flag (see cut B). Also note how wire is soldered on in G. You can bunch and group all wires from A, and form them into a cable, as shown in cut I, as they are all of one polarity.
This description is for flag 4½ × 6 feet, to contain about 450 lamps. There are a number of different ways of producing this effect, but I have tried this one as described, and found it very satisfactory, likewise inexpensive to construct.
A really beautiful center feature, with the addition of a few potted plants, a little moss and some pebbles.
How to construct it: First, have a tinsmith make the center bowl A out of tin, any size you wish, according to your window. This resembles a large cake tin, hollow in the center. Have it enameled white (it will not cost very much). Then cut a hole in the center of your window; place this tin over the hole; secure a circular glass shelf, B, from any ordinary notion or perfumery counter stand; put a large rubber band around the center tin cone and rest the glass shelf B upon it. Have a fancy stem, C, made of tin and enameled white and soldered to water pipe, which passes through the hole in center of glass shelf B, and is attached to main pipe in the basement. A rubber washer on the glass shelf makes it water tight. Fine holes are punched into the stem, C, at top and bottom. The water flow is regulated by water stop. The surplus is carried off through waste pipe. The skeleton pulley D is arranged so that half of it is in center of the fountain. In the four openings of pulley are four pieces of colored glass, red, green, yellow and blue, held in position by tacks.
A strong electric light with reflector, F, sends its rays through the colored glass upward and through the center cone on to the water, giving a very beautiful effect. The changing of the colors can be reduced in speed by means of the reducer E. Three electric bulbs, colored green, with wires made waterproof, are well insulated and enameled white and laid in the lower bowl. A few pond lilies and gold fish, together with other accessories suggested, makes a magnificent center feature.
The combination of electrical effects with mechanical devices adds to the complication of work but produces the most attractive displays yet known to the art. Such designs 129range from very simple effects to the most bewildering productions, and are only limited by the skill and genius of the decorator.
We explain in this chapter examples of the different grades of this work.
 
ELECTRIC ILLUMINATED FOUNTAIN.
First the outlines of the trees are painted on heavy board and cut out, as are the “wings” in a scene at the theater. A village, with a pretty scene, houses and churches in the distance, etc., is then painted, and the profile of the steeples, chimneys, gables, etc., also cut out. About two inches back of this is set a frame in which is puffed a sunburst of white china silk. Behind this, again at a distance of two inches, is set another frame covered with tissue paper, as is shown in the next diagram.
 
A short distance back of this tissue frame is placed a window glass, as a protection to the paper from the electric lights, twenty-four of which were hung in circular forms back of all, the lights following the form of the sunburst. The effect is simply gorgeous, the silk sunburst taking all the tintings of the tissue paper screen and the colors blending in perfect harmony, from the rosy tints of the rising sun to the deep purple tones of the sky. It puzzles observers to know how this brilliant effect is created; but you know how to do it now, and can try it yourself. It will be sure to attract attention and excite admiration. This is the invention of Leonard Shogran.
 
DESIGN SHOWING ELECTRIC SCENIC BACKGROUND.—Shogran.
 
THE ELECTRIC SCENIC BACKGROUND.
This consists in cutting the form of the octopus from dark fabric, and stitching it to a white cloth. The scales can be made on the octopus with black paint. The eyes should be cut out, and pink cloth or paper pasted over the openings on the back of the cloth. Then a number of cards should be obtained from white board, and the letters of various inscriptions cut out with a sharp knife. A few suggestive cards are shown in the sketch.
The top card is simply pinned above the form of the octopus, and the several little cards are entwined in the arms. Colored paper, or cloth, is glued to the back of each card, so that, like the eyes of the octopus, a striking effect is obtained when the rear lights are put on and allowed to shine through.
The lighting arrangement is shown next.
The wood frame, to which the cloth that holds the form of the octopus is tacked, is marked a. (The view is a sectional one.) This frame is secured to a stand, d, and the latter to the floor of the window. A tinner can make the tin reflector b, which reflector serves to support brackets for the lights e. The reflector is placed just back of the frame and is supported by stand c. Electric wires, f, carry the current to the lights, and the light shining through the white cloth shows the form of the octopus, while the eyes and the lettering are most vivid. If electric lights are not available 132gas or oil lighting can be arranged on same. plan.
 
 
SHOWING BACK OF OCTOPUS DISPLAY.
The design here submitted is one that will attract attention as far as it can be seen, and requires nothing practically of a special order, and is applicable to almost any kind of stock. The first proceeding naturally will be the frame for the mill house (see Fig. 2). For a design, say five and one-half feet high, let this be four feet high to top, eighteen inches square at the gables, two feet square at the base, made of stock say 1 × 3 inches, and strong enough to stand the weight and vibrations of the revolving wheel. About three feet from the floor put in two cross pieces for the bearings for the wheel. The frame can either be covered with painted canvas or filled in with boxes of shoes or corsets, bolts of ribbon, etc., or covered with white cloth pinned full of bunches of flowers or other millinery goods. The wheel (see Fig. 1) is made of two pieces of 1 × 3 wood, five feet long, crossed at right angles in the center, and be careful to have it securely fastened to a substantial hub, in case you cannot get the flange described further on.
 
The wings for the wheel can be made of lath frames, say eight inches wide at the top, six inches at the bottom, and twenty-two inches long, covered the same as you decide to cover the mill house, and provision made for the lamps projecting through when the lamp sockets are screwed to the 1331 × 3-inch pieces behind. Next is the shaft, as shown in Fig. 3. Get a piece of gas pipe eight inches longer than your frame is square at the bearings, screw it securely into a 3-inch flange, which in turn is screwed to the center of the wheel and acts as a hub. Parallel with the shaft, in its center, fasten two strips of ¼-inch wood, opposite each other (see Fig. 4), and about one foot long. Next make nine rings of ¹⁄₁₆ × ½-inch brass, whose inside diameter will be such as to cause them to fit snugly over the wooden strips on the shaft, about one-quarter inch apart. Thus you will see the duty of the strips is to hold the rings away from the shaft, and allow the intervening space under the rings for drawing in the wires. To ring No. 9 connect a wire running to one side of each circuit on the wheel, and known as the return wire. (See Fig. 6.) Connect ring No. 8 to circuit No. 8 on the wheel, No. 7 ring to No. 7 circuit, etc. These wires must all be run under the rings, so as to leave their face unobstructed, and at the point of the shaft bearing they must run inside the shaft and out again at the flange. Attach a 5-inch pulley anywhere, put on a collar to prevent lateral motion, and the shaft is completed.
 
 
 
Next nail a 1 × 2-inch strip, covered with asbestos, across the frame (see Fig. 5), parallel with the shaft and one-half inch clearance from the rings. This is for a bridge to support the brushes, which project up and press on the rings to form a contact. Make the brushes of thin brass, three inches long, and set one opposite and in line with each ring, and screw to the bridge. Each brush will be known by the same number 134as its corresponding ring. Shaft brush No. 9 connects to the service main direct; shaft brush No. 8 connects to flasher brush No. 8; shaft brush No. 7 connects to flasher brush No. 7, and so on. Place your flasher in such position that you can belt direct from a 1¼-inch pulley on the countershaft of your flasher to the 5-inch pulley on the shaft of the windmill with a quarter-inch leather belt. Divide the flasher circumference into twelve parts. Arrange the lugs as shown in Fig. 7. Connect and start the motor, and the following will be produced:
 
It is possible, with the above, to make 1,620 combinations, but I wouldn’t advise you to try it just yet. It is also possible to use fewer circuits if you wish, and get good results; but I have chosen the above as giving the best results for the labor expended. I have previously told how lamps can be colored for this kind of work.
This is an excellent window feature for the holidays, or it would make a beautiful interior display for the toy department.
Instead of trimming the tree with the old style glass bells, use colored electric lights and have the tree revolving.
The cost is very small, and can be quickly constructed, and when artistically trimmed with toys, etc., makes a very beautiful feature.
How to go about it: First, secure a good shaped tree, the size you wish to use, A. Then trim off the limbs at the bottom; cut a hole through the floor in the center of window; put the bottom of tree through this hole, resting the end upon a revolving counter stool D. See that it is well oiled. If you have no stool, use any suitable pivot. Smooth around the tree below the limbs; put plenty of graphite on and nail a collar to the window floor. This will make a good bearing. Next get a split pulley B, and fix around the tree. This connects with motor. If you wish to reduce the speed, make a reducer, as shown in electric fountain drawing in last chapter. The wiring is of the simplest kind, and has already been thoroughly explained. Be careful to insulate well all connections. C shows block of wood with brushes attached. The strips of copper nailed on pulley B show the contact and cut-off. You can use as many or as few lights as you wish. To color the bulbs, use Pikron for glass, which comes in all colors.
135This is so simple in construction that any amateur will grasp the idea readily. It is an excellent Christmas attraction.
 
ELECTRICAL REVOLVING CHRISTMAS TREE.
This was a prize design of Leonard Shogran’s invention, and depicts in the foreground a well-rigged ship with the name “Monarch” painted on her bow and stern was nobly laboring in the heavy seas, with a motion so accurately perfect that many interested spectators stepped on the window sash in hopes to see actual waves.
Every five or six seconds a vivid flash of lightning burst forth from the sullen, stormy clouds, with such surprising reality one would invariably wait to hear the crashing thunder.
The mechanical contrivance used to obtain the above described effect is very simple and inexpensive. A painted scene on canvas represents a storm on the water, about 5 × 7 feet in size, covered on back with cardboard, making it perfectly opaque. Then cut out streaks representing lightning, and also openings in the edges of the clouds bending them forward enough to admit the light from behind. Then paste white tissue paper back of openings representing lightning, and yellow and orange back of clouds. Then place an incandescent lamp behind, which is turned on and off every few seconds by an automatic switch.
To produce the flickering effect, wherein the real novelty consists, place a large wheel, made of cardboard and thin strips of wood, divided into eight equal open and closed spaces, between the canvas and lamp, which, when set in motion, throws a rapid string of shadows, caused by the closed space. This wheel, as will be understood, was always in motion; so that the moment the lamp was lit the effect was there; and when it went out everything seemed dead and quiet, as no trace of the revolving wheel could then be seen.
 
DESIGN SHOWING SHIP IN A STORM.—Shogran.
137The effective motion of the ship was obtained by an equally simple device, as can be seen in the drawing. The ship was first painted on cardboard, and cut out and fastened on a rod operated by a wheel below. The different speeds necessary for these effects was obtained by a series of pulleys, the arrangement of which you will find illustrated in the drawing.
 
MECHANISM OF SHIP IN A STORM.
This novel effect, as shown in the picture, is a pleasing centerpiece to any class of displayed goods. The background was a scene, painted in oil colors on a 7 × 9 canvas, of a rough, “choppy” sea, the water in natural colors, the sky nearly black, except where the edges of the clouds are lit up by the rising moon. At the horizon a hole is cut for moon, and beneath that, and all the way down to bottom of the canvas, little slits were cut in the crests of the waves, the width of space in which slits were cut widening while going downward. White celluloid was glued to back of moon and also all the slits, and back of celluloid yellow tissue paper was glued. On front of canvas edges of slits were tipped with gilt and silver metal flitters sprinkled liberally between. Divide the canvas into two parts by cutting through where the sky line and water meet. Each part was mounted on a frame, the water part put on very loosely, allowing three or four inches play. When set up the water canvas laps over the sky a trifle, and is set one-half inch forward to allow sail to pass through, which is a piece of cardboard painted gray, and fastened on an endless band. An incandescent light is placed back of moon, also one lower down, back of slits, and an electric fan stood back of water canvas. When set in motion the sail projects through and passes across the canvas between the two frames at the horizon, and the canvas on water frame being loose, the fan gives it a pitching, rolling motion. When seen from sidewalk no division of canvas is detected, and the illusion of the moving sail and rolling waters, reflecting the moon’s light, is perfect. This arrangement is so simple and easy that any one can do it, and it is bound to be an overwhelming attraction anywhere. This display was the invention of Oscar M. Condit.
 
DESIGN SHOWING A MOONLIGHT SCENE.—Condit.
 
 
In giving a description of this allegorical effect you will at once see that it is on the “theatrical” order. A great many of our merchants have ideas of their own in regard to the value of decorations of this kind—in fact, we know of a merchant who will not allow a wax figure in his windows, another who considers a landscape effect abominable, another who will not allow contrasting backgrounds, and so on without end. The fact remains, nevertheless, that the writer believes show windows were made for the purpose of showing goods, that the people may see what you have and patronize you accordingly. It is with the intention of giving you a show window distinctively attractive in itself, that can be gotten up at a trifling expense and possess sufficient animation to attract the attention of the public, that the accompanying design is presented. It is suitable for almost any line of goods, and requires no materials outside of the average property room, unless it be the flasher; but as these are now so much used we assume you have one either of your own make, such as has been previously described, or one of the many for sale on the market. Outside of this you will require fourteen red, fourteen white and seven green lamps for the figure and border, and the necessary amount of stationary lights to show off the goods displayed properly, but not strong enough to dim the colors of the figure. Next select a suitable life-size figure, mount it on a pedestal about one foot high, and drape in any filmy white material you may have. Set the figure somewhat back on the pedestal, so as to leave room for three footlights of different colors in front, which can be screened from the outside by a piece of new tin set at such angle as to reflect the colored rays upon the white figure, and properly covered up on the side toward the street. The sword may be made of a piece of lath covered with silver paper or white cloth. For the girdle use a modern stock article, and a limited amount of tinsel properly distributed will improve the looks of the entire window. For the wings take two thin sticks extending from the bottom of the wings below the hips to the extreme tip. Draw it into the shape of a bow, with a string attached to each end, the same as a small boy would make a bow. About two-thirds of the way down, at a point just behind 140the shoulders nail a piece of board about 6 × 12 inches. Now take a number of lath, saw them in two parts lengthwise and nail to this board, diverging in the direction shown in the cut forming the frame for the wings. They are to be covered with a transparent white material for two reasons: The lights on the wings are behind the cloth, showing through (not in front), and it must be white because there are colored lamps to be shown through it. The covering on the wings should be properly gathered and pleated to give the appearance of feathers, in the same direction as the diverging ribs. A very thin shellac (almost watery with alcohol) colored with aniline makes a very good dip for coloring lamps for temporary inside work. Use very little aniline, as deep colors do not give the desired effect. The background can be made of panels about one foot wide and eight long, all converging to the center. In this case, however, it will be found better to put the lamps studding the panels on the front side. The panels can be made of all white or alternate white and delicate pink, with lights therein to correspond. Behind the whole about two feet put a purple background perfectly plain—at least from the level of the hips up, if not entirely.
 
The wiring is done according to Fig. 2. Circuit No. 1 connects to each alternate light in the border which are to be red; No. 2 goes to each alternate light in the border which will be white; No. 3 to one red footlight and three red lights in each wing; No. 4 to one white footlight and three white in each wing. No. 5 to one green footlight and three green lights in each wing. While but one line is shown in the cut, it will be understood that two wires are required. Now take the left hand wire of each of the five circuits and connect them to the left hand service main, using a fuse in each. Take the right hand wire of circuit No. 1 and connect to the left hand brush of flasher, the right hand wire of No. 2 to the next brush, and so on. Connect the right hand service to the standard of the flasher.
 
Next divide the circumference of your flasher into six equal parts, and arrange the lugs as shown in Fig. 3. Set the speed of the flasher at about one revolution per minute, and the following effect will be produced:
First.—Red and white border, with green wings and footlight.
Second.—Red border, with red and white wings and footlight.
Third.—All white.
Fourth.—All red.
Fifth.—White border, green wings and footlight.
Sixth.—All lamps at once.
The above movements will be repeated 141every minute, and the current consumed is about 55 per cent of the capacity of the lamps burning steadily.
The following designs for electrical emblems may be used for exterior, window or interior decorations. The special method of wiring for letters, as previously described may be applied to any wording.
 
The design for Washington’s Birthday will do likewise for July 4th, and shows Washington’s portrait surrounded by incandescents. A circle of lights is also placed around the name of each of the thirteen original states.
 
The Knight of Pythias emblem is an example of an illuminated device for secret societies and is made of papier mache and fitted with incandescents. A rather more elaborate design for the Odd Fellows is shown, partly painted upon a flat board and partly composed of incandescents.
 
The Easter Emblem is composed of close puffing through which are projected the incandescent globes. The bells are covered with artificial flowers, the tongues being incandescent lights.
An effect showing revolving busts and millinery stands, with lightning effects, as may be seen in the illustration. The mechanism is plainly numbered in the picture of the apparatus, and is described as follows:
No. 1. A fan motor, two 32 candle power lamps used to cut down speed.
No. 2. Gear wheels, three large wheels twelve inches in diameter, small wheels three and one-half inches.
No. 3. Switch to change lights, power operates it.
 
 
ELECTRICAL EASTER EMBLEM.
 
MECHANISM OF ELECTRIC MILLINERY DISPLAY.
Nos. 4, 5, 6, 7 and 8. Stands for hat stands to revolve, twist the belt line thus: One long belt does the business. Shoe strings make the best belting—won’t stretch nor slip. Use shade poles one inch in diameter, bore hole in center of wheel one inch, make a tight fit. Use shade ends for bearings. They are cheap and give good service. To make ball bearings and have very little friction, take a steel ball such as is used in bicycles, imbed it in the wood, place the socket over it, screw it down, put in your shade end and you have a perfect bearing, especially so when you wish to make a heavy wax figure revolve.
 
DESIGN SHOWING ELECTRICAL MILLINERY DISPLAY.—Softley.
144The idea of having so many wheels enables a trimmer to get any desired speed, high or low. It can be used for any purpose. Having the wheels arranged up and down economizes room, and can be arranged in a very small space. The design above explained is a creation of E. W. Softley.
It is natural that all trimmers should be interested in the proper reproduction of their displays. The photograph is an imperishable evidence of the trimmer’s skill and genius. It counts more with employers than any other one thing. If you wish a position the merchant at once asks, “What kind of work can you do?” Your photograph answers the question. He cannot dispute its evidence. Besides, photographs taken at various times in your career afford a record of your progress. You can see how far you have advanced, and profit by the comparison.
There are a few points that it is well to know and remember concerning the process of photographing show windows:
If there is a broad street before your window, or an open space, it will be almost impossible to take a picture by day; for, plant your camera where you will, it is always darker in your window than it is outside, and the opposite condition should prevail. But you can get it at night. See that your electric lights, while flooding the window, are themselves hidden from the street. If you have a good lens from twenty to thirty seconds’ exposure will be enough. A lens not especially rapid will require more time. The size of the diaphragm also counts. The smaller the diaphragm, the more time is required; but the small diaphragm also gives an additional sharpness to your picture. And then, people can walk between the camera and the window without injuring the picture—provided they don’t stop short. The time required is also influenced by the rapidity and make of the plate. Therefore you have three things to consider in timing your picture—lens, plate and diaphragm.
A good time to photograph a window is early morning, on a clear day, just before sunrise. The light is strong and penetrating, and a good picture will usually result. Remember that the interior of your window must be light. If your window is darker than the street the glass acts as a mirror, reflecting everything on the opposite side of the street. If the sun shines on your window, and the opposite side of the street is dark, there will be no reflections of foreign objects in your picture.
By keeping these important items of information in mind any country photographer can get a good picture of a show window. If the photographer doesn’t know them, it would be well to call his attention to these facts. He may not have had experience in “shooting” show windows.
A method often adopted with good success is as follows: Make a cloth screen of black cambric, sufficiently large to shut off all reflections when raised before the window. Fasten the two upper corners to poles, and when about to take the picture have two men or boys raise the screen just back of the camera. All reflections will be avoided, and a clear picture result. As it is not probable many photographers will prepare such a screen, we advise trimmers to have one made, and keep in readiness for occasions when they want their windows photographed. Flashlight pictures will not avoid reflections.
You must not attempt to use the screen on windy days, however, for the wind will render it unmanageable.
145A prominent decorator describes his experience in photographing windows in the following words:
“Under ordinary circumstances it is extremely difficult to photograph a window display, owing to reflections caused by dark objects in the display. These, acting in a similar manner to mercury on the back of a mirror, make the plate glass a strong reflector of objects outside the window. Frequently a photograph contains not only the window display, but trees, buildings, people, and even the camera itself, often to the total exclusion of important portions of the trim. If the glass is extra thick the reflections may be caused by a light colored display as well. Having suffered many severe disappointments in photographing my windows, I have been driven to resort to almost every known method in photography to endeavor to eliminate this very objectionable feature from my pictures. But I always met with failure until I accidentally noticed, while looking at a window one evening, that while the windows across the street were dark, and the arc lights opposite were extinguished, there was absolutely no reflection on the glass. This was, of course, a very natural circumstance, but one a person might easily overlook. As an experiment I planted my camera before the window, and made a flash light exposure of the display, only to find that in the center of the picture I had a great white blotch caused by the flash—it being reflected by the glass. Again I tried. The incandescent lights are placed in a strip running along the inside front of the window, just above the sash, and fitted with cone-shaped reflectors, which is the best system of window illumination ever used, and one that is being universally adopted. The display was a millinery window, done chiefly in white. I allowed an exposure before the camera of twenty minutes under the light ordinarily used in the window, and I got a beautiful picture entirely free from reflection.”
The length of exposure depends entirely upon the nature of the goods displayed, darker goods requiring a longer exposure. An oriental rug display I give thirty minutes, and a white window does not really require more than fifteen minutes. Passing street cars, all having their lights in about the same place, will cause a streak in the plate if the lens is not covered while they go by. This can be easily done, without danger of moving the camera, by simply holding the cover of your plate holder before the lens. The same thing may be done when a person stops before the window. You must make allowances for the time the plate is thus covered, so that your total exposure will be from fifteen to thirty minutes, as your judgment dictates is the time required.
I have found this method of photographing at night, by the electric light of the window itself, by far the most satisfactory of any I have attempted, as the results are uniformly good.
Now I wish to say just a few words regarding the care of wax figures. I think there is nothing that looks so bad, or ruins the effect of the window so much, as to see handsomely dressed wax figures with faded, dirty or shiny faces; and too often we do see this. With a very little practice and time a trimmer can recolor his figures as well as an expert can do it for him. First take coal oil and a piece of cheesecloth and wash the face; but do not allow the oil to remain on the face more than a few moments, as it will soften the wax. When wiped dry and cleaned, take powdered pumice, mixed with a very little carmine; mix until all the red streaks have been thoroughly worked in. This will give you a 146very light pink shade. Then get a large sable brush, dip it in the preparation and commence at the point of the cheek, using a circular motion of the brush, and so continue until the face has been covered. Give the cheeks more time than the rest of the face. It will give them more color. For the lips, corners of the eyes and nostrils, mix the carmine and pumice half and half, and use a very small sable brush. With a little care and practice any trimmer can recolor his figures with slight trouble.
During the month of January certain lines of goods are pushed to the front and “sales” inaugurated to induce customers to purchase liberally. The holidays being over, and the demand for fancy goods and notions comparatively small, staples and necessary articles are alone capable of interesting the public.
White goods, linens, cottons and muslin underwear are in natural demand during the month of January. Perhaps, were the choice left to the housewife, she might prefer to purchase these lines a little later in the season. But when she notes the “special sales” inaugurated by all prominent houses, she wisely decides to take advantage of the opportunity and lay in a stock of goods for the coming months.
Linen sales are always expected in January, and when the holiday windows come out the linen windows usually go in. In smaller towns the sales do not commence until about January 15, and are continued for two or three weeks.
If ever a window trimmer is useful to his house it is when “clearing up” sales are in order and it is necessary to reduce stock before inventory.
There are many goods left over from the holiday stocks that should not be carried another year, and the house prefers to make a reduction in price in order to close them out promptly.
Now is the trimmer’s opportunity to be useful. He is given a lot of odds and ends, at attractive prices, and told to “sell them.” His cards should be carefully and vigorously worded, his displays especially attractive. For he isn’t catering now to a public in search of goods to purchase, but a public that must be coaxed and “jollied” into buying what it really doesn’t need—and that, too, at a time when pocketbooks are especially shrunken and debilitated. Therefore the man who makes a catchy trim is rendering himself especially valuable to his employers, and trimmers should use every endeavor to make their trims count, and try to do conscientious work.
It has lately become the fashion to discourage mechanical displays, as well as “picture” windows and elaborate trims of all sorts, under the plea that they are not “business windows.”
“Give me a plain, business window,” says the merchant; and the trimmer does not argue the question very fiercely, for it saves him a lot of thought and a lot of hard work.
What is a “business” window? What is usually meant by the term is a window that will sell goods—the final aim of all window trimming. How can a window sell goods? By placing them before the public in such a manner that the observer has a desire for them, and enters the store to make the purchase. Once in, the customer may see other things she wants, and no matter how much she purchases under these conditions the credit of the sale belongs to the window.
Now, mark one point in this statement. I said “observer.” All goods placed in a show window are not observed. Since the street is lined with windows, all filled with merchandise, few people stop to notice any of them unless there is something in the window that especially catches the eye. A “business window” that has no attractive quality is not really a business window. It 147is a fool window. The attractive window is the business window. To make an attractive window requires all the brain power and craft and taste and handiwork of the most expert trimmer. The inexpert trimmer is the man who decorated that window which is not attractive and which the passing throng does not see at all.
In order to make a window stand out from its fellows something more than a plain arrangement of merchandise is needed. It must be unusual and distinctive to the extent of arresting the attention of busy people as they hurry along the street.
Shrewd and observant trimmers have found that the secret of successful windows is to have a background or mechanical device that will command attention, and then to place the goods in so ingenious a manner that in looking at the display people note the excellence of the goods and desire to purchase them. It’s the old idea of first catching your hare and then cooking it. But you must catch your hare. You must have an attraction that induces the pedestrian to stop and look, or your window is a flat failure. That is why beautiful, artistic and mechanical displays are to be encouraged rather than discouraged. These are the real “business windows.”
If you wish to get the best results from the window and window trimmer, give him a chance and lay out the goods you desire in the window. Lay them all out, as nearly as possible, then call the window trimmer and let him look over them; tell him the story; let him know all about them from your point of view, when without doubt you will find the window more to your idea than otherwise. Do not take it for granted the trimmer knows all you know about these particular goods. No matter how much experience he may have, tell him what you desire. If you simply hand out a lot of stuff, just about as it comes, it will appear in the window in pretty much the same shape. Do not forget that the trimmer’s first thought is, How will they drape or set best? How will the colors harmonize? What kinds of stands or pictures can I get or use? These and other considerations are usually the way it strikes him; he does not think of your point of view, or what you want to say. Hence, as a matter of course, the window tickets do not express your idea at all, nor has the most been made of the position of “leaders,” etc. The window doesn’t draw as it should; there is but little return; the buyer and every one else concerned are out of temper, and feel like finding fault with everybody but themselves.
If you have struck any particular arrangement in which you desire to have your window trimmed, say so. No doubt the trimmer will have seen it, being always on the lookout, and be happy to please.
Should the goods be yard goods of various colors, patterns and prices, then particularly is it necessary for the trimmer to see the major portion of the goods to go in, that he may be able to make the best color arrangement possible. Giving him two, three or four pieces at a time as he goes along quite precludes the possibility of any kind of color harmony. The trimmer can only set the four pieces, one after the other, and then go for four more, to be set up in like manner. This is the way not to do it. Give all the goods at once—near as possible—so he can select as he thinks best. That is his particular business, has been his particular study, and most likely he knows more of color harmony than you do, and can make a better window selection. The same idea of course refers to all goods of divers colors and patterns. This point is important, as being conducive to good window display, and profitable results therefrom.
These little points may seem of but small account to those of our buying confreres who have not studied the matter. It is not for me to tell them that every great business 148is made up of just such little things; or in other words, to arrange every detail so as to avoid loss of time (money), and to get the best results (money) with the least possible expenditure—system and discipline count every time.
Every business man who has studied the matter will recognize the fact that modern and judicious window displays are of greater drawing power than any other advertising medium extant, and are becoming more so every day, with enormous strides. Therefore when you deal with a modern window trimmer give him the courtesy due one who has attained an indispensable position, by long study, thought and diligence.
Suggestions for making monograms for window displays are shown in the accompanying illustration. The letters may be cut from thick pasteboard or from thin wood, using a sharp knife for the purpose. Often the letters are made several feet high, and when covered with white cloth or wound with decorative material make novel and attractive exhibits. The monogram can be supported in the center of a window by means of cords from the ceiling or on a wood rack.
 
As the window trimmer is frequently required to gild articles for display, the process may be described. The material to be gilded is first covered with a solution of gelatine in hot water, to which an equal quantity of alcohol is added, and the leaf gold put on while wet. Then take a sheet of soft paper and press and smooth it over the leaf gold until the gelatine below is evenly distributed. By this spots in the gilding are prevented. Do not use too much gelatine, as otherwise the gold becomes spotted; nor too little, for in this case the binding is too weak to enable the gold to withstand subsequent polishing. The surfaces should be cleaned before gilding. After having the leaf gold put on, the whole is allowed to dry for ten or twenty minutes, when the gold is rubbed with cotton, whereby the luster is produced. Then another layer of gelatine is spread on with one stroke of a full, soft and large brush, and if especially good work be required, a second layer of leaf gold is put on and covered with gelatine as before. In this case, however, the gelatine is best used hot. The same process can be employed for silvering, but more gelatine should be taken, as leaf silver is thicker than leaf gold.
Chiffon.—The utility of chiffon in window decoration is proved every day. The material is so soft, fleecy and pliable that it makes an admirable floor covering or background, and is also adapted for shelves.
An Illumination.—Procure a number of hanging fish globes, of about 4-quart size. Cover them with colored tissue or crepe paper, smooth on the surface, with a puffing or shirr at the top. Suspend in various positions in your window, and drop an incandescent globe into each, or light with small hand lamps. If the colors are harmonious the illumination will be beautiful enough to attract unusual attention to your display.
Prisms for Decorating.—Suddenly a fad has sprung up for decorating trims with prisms, such as used on hanging lamps. 149They are sold by the hundred by any crockery house, and are very reasonable in price. To edge shelving in windows or for trimming more profusely they are very bright and pretty. In one recent trim 5,000 prisms were used on the background, and when the display was lighted at evening the bright crystals looked like so many scintillating diamonds.
Side Hoops.—The sides of windows are always more or less difficult to trim properly, but by using small hoops, about twelve or fifteen inches in diameter, nailed in various positions against the side walls, you can suspend within them many goods that will show advantageously, and serve to balance your trim. The hoops should be wound with cheesecloth, thus making a frame for the article you display.
Post Shelves.—Posts in windows frequently annoy and puzzle trimmers, who find them awkward to contend with. Post brackets are easily made, and are serviceable, while they obviate the disadvantage of the post. Make shelves fitting halfway around the post and fronting the window glass. Place them equal distances apart, and then tack pleats of cheesecloth to the edges, allowing the pleats to run down to the next shelf, where they are bunched and tacked. Make the shelves of such width as will accommodate the goods you wish to display.
Suspended Stands.—Cut a square board large enough for the form to stand upon, cover it neatly, and suspend from the ceiling by ribbons running from each corner. One beauty about these is they do not interfere with the trim below them.
Framed Forms.—Secure a large gilt frame, set it in the center of your window and build behind it an alcove lined with dark drapery. Set a form, costumed as desired, in this alcove, and light with electric lights placed inside the frame and out of view. The effect is similar to that of a lifesized picture, and is very attractive.
Umbrellas and Neckwear.—Make stands of threes of umbrellas, and lay neckwear over the crossed handles. Or, fasten canes or umbrellas to the sides and back of your trim, the ferrules sticking into the bored holes of a proper size to hold them firmly; and over these improvised fixtures drape four-in-hands, hosiery, etc. The crooked handles may be used for suspending made ties.
Ribbon Decoration.—Where the trim occupies only the floor of the window, the display may be balanced by running broad ribbons from the four corners, crossing in the center and placed about midway between the trim and the ceiling. Make a large bow for each corner and one in the center where the ribbons cross. This idea may often be utilized in millinery trims.
Wash Day.—For a wash goods window put a form representing a laundress bending over a wash tub and engaged in washing a piece of goods of the class the window is draped with. A sign should read, “Yes, these will wash.”
Easter Panorama.—A panorama of Easter flowers may easily be made by placing bunches of various flowers on an endless belt, which, when attached to a motor, carries the flowers across the window in one continual stream.
Live Canary Birds.—Here is a novel suggestion that will make a capital background for any window: About three feet from the back of your window put a screen of illusion or some open material, the color being cream or some light tint that will render the netting as invisible as possible. In the space behind the netting place some wires at various distances, so that the birds may perch upon them. A few canaries in this backing, flying here and there, as they will, will prove a great attraction. A painted background of a summer scene will greatly improve the effect.
Human Forms.—The fad just now is to 150use human forms to show goods. A handsomely fitted room is shown in the window, and a lady, dressed in style costume, sits or walks about, showing off her gown to advantage. At times she displays cards reading, “This lace costs —— a yard,” or “This dress goods is only —— a yard,” thus calling attention practically to the goods. The ladies criticise the make and “hang” and appearance of the fabrics, and the men—well, if the display figure is pretty the men are also attracted. Bicycle suits for ladies were recently shown in this manner in Chicago, the display figure, or model, appearing in a different dress every hour.
Kaleidoscope.—An ingenious display consists of two rapidly revolving electric fans, throwing about with their strong air currents particles of red, white and blue paper, forming a scene of kaleidoscopic beauty.
Shamrocks.—Cut a large shamrock, say two feet high, from thin boards or cardboard, and cover the surface thickly with the artificial green rose leaves sold by millinery houses. The effect is very beautiful and it may be used in the center of your window on St. Patrick’s day.
To Show Ribbons.—A pretty effect is created by pushing out the center of a bolt of ribbon and extending the coils to as great a length as the width of the bolt will admit.
Icicles.—Icicles in summer have a cooling tendency. To make a cool looking window, take strings (hempen cord is best) and dip them in a solution of glue. While wet scatter cotton along them until they are from a quarter to a half inch thick. Let them dry. Dissolve gelatine, making a solution about as thick as ordinary syrup. Dip your cords into this solution and hang them up again to dry. Result—icicles as long and thick as you want them; guaranteed not to melt in the sun. Suspend them from the top of your windows. Fill in the spaces between them, on the ceiling, with vines of smilax, artificial flowers and green leaves.
 
House of Linens.—Build a light frame of a small house of any design to suit your fancy, and cover it with strawboard, except the spaces for windows and doors. Over the board arrange toweling for the roof, folded napkins for the sides, with solid colored handkerchiefs for the windows. Light from within.
Shirt Waists.—Very attractive displays may be made with shirt waists, which will soon be in season. Make pads of excelsior, wrapped with thin, flexible paper, and of a size to fill out the waists, and insert one into the bosom of each waist shown. Smaller pads for sleeves may be used to advantage. Waists should be fitted with collars, ties and cuffs.
Winter Scene.—A good window for winter may be made by cutting down an old tree (or part of one) and placing it in the center of your window. Run cotton over the tops of the bare branches to represent snow, and sprinkle it with flitters. Two or three stuffed robins or sparrows may be placed upon the branches, which will also hold many articles of merchandise.
Twist Crepe Backgrounds.—Trimmers are using crepe paper for backgrounds with good effect. One mode is to cut the crepe paper into three-inch strips, paste together, end to end, until long enough to reach the height of the window. One end is tacked flat to the floor, and the strip is slightly twisted until the curls that are formed are about as close as those in a corkscrew. The 151strip is then drawn fairly taut and tacked to the ceiling. A few inches away a strip of contrasting color is fastened in the same way, and, continuing, a straight or circular backing is thus formed which is bright and attractive. Sometimes the tops of the twisted columns are centered, and in a few instances the ends are gathered together at the bottom and spread, fan-like, from that point.
Handkerchief Racks.—These racks consist of ¼-inch rods fastened under the back edge of the counter top, running perpendicularly to a height of eighteen inches above the counter, and then forward horizontally eighteen inches. The front end is flattened and pierced with a small hole in which to stick the standard of a price ticket. The bars are placed a foot apart, and run the length of the counter. Handkerchiefs are fastened to the horizontal section by means of clasps or cord, and the effect produced by the display is remarkable, a few dozen handkerchiefs presenting the appearance of a large stock. The bars are common iron, made by any blacksmith, and gilded.
Use of Wall Paper.—Occasionally one tires of the continuous use of cheesecloth for backgrounds, and for variety a window lined with wall paper is effective. Care must be exercised in selecting a small, dainty pattern, and the entire window space—sides, back, ceiling and floor—should be covered with the same pattern, as well as any stands used in the trim. Dark backgrounds, with small white figures, are most desirable.
Holly.—Windows trimmed with sprigs of holly, having the red berries peeping from among the dark green leaves, inspire shoppers with the thought that Christmas is not far off, and thus stimulate trade.
A Snow Storm.—Cover the bottom of your window with cotton batting (sides and top may also be covered if you wish). Dust well with powdered mica or white frosting. Place several incandescent lights, wire guarded, so that they are hidden from view by the cotton. Some of the lights may have red bulbs. Secrete several electric fans in various parts of the window, and, lastly, throw three or four pounds of goose-down into the window and start up the fans. You will not only have a regular snow storm, but a blizzard, and any central figure will be seen as having a fight with the elements.
Rainbow.—A very pretty window is where the background is a huge rainbow, consisting of a broad arch the full width of the window. This arch is covered with tinted cheesecloth, one tint blending with another, and all the hues of the rainbow being used. The effect is exceedingly striking. A show card in front reads: “Don’t Chase Rainbows. We Have the Goods and the Prices. Trade with Us.”
A Blanket Window.—Make an arch, extending across the window, covered with rolled blankets. Under the arch build a small hill of irregular shape, covered with some green material. Place toy sheep in different positions upon the hill. Use draped blankets for background. Natural wool may also be effectively used to trim with.
Autumn Leaves.—Natural or artificial leaves, in the exquisite autumnal colorings, may be effectively employed in decorating windows. They are seasonable and attractive, and easily procured.
Outfit Displays.—Where a merchant carries all lines of goods, a capital idea is to make a window of outfit displays. Lay over a form an attractive piece of dress goods, and upon or around this group articles of ladies’ wear to match the shade of the cloth, such as gloves, ribbons, neckwear, umbrella, shoes and a trimmed hat. Half a dozen such outfits, contrasting well in colors, make a window very attractive to the fair sex.
Fireplaces.—The soft glow of a fireplace in the center or at the side of a window brightens any trim, and in cold weather 152looks very cozy to the shivering crowds that pass by.
A Good Idea.—Silks and dress Goods may be attractively draped over short poles suspended from the ceiling of the window by means of chains. The poles should be about two feet in length. Bows of bright ribbon fastened to the chains midway between the pole and ceiling add to the charm of the display.
Illusion.—A very pretty window trim may be made by stretching illusion, of the quality that hats are lined with, across the center of the window, and upon its surface pinning fancy handkerchiefs, etc., in artistic, flower shaped effects. If the illusion is stretched tightly it will be almost invisible, and the goods will seem to the observer to be suspended in mid-air.
Box Models.—Much attention may be attracted by making from cardboard a model of some well known building in your town, such as the court house, public library, college or a church, following the form of its architecture and painting it to resemble the original structure. Cut out the windows and cover the openings with colored tissue paper. By putting a light inside you get a very pretty effect and one that will be appreciated by your townspeople.
A Prismatic Display.—Take two large panes of common window glass, and set them in a frame about six inches apart. Have them perfectly clean, and then fill the space between them with cracked ice of clean and clear quality. Place the frame in the window, and behind the exact center of it hang an electric light or place a lamp with a reflector. From the sidewalk the cracked ice will show the most beautiful prismatic effects, in all the colors of the rainbow. In cold weather the ice will last throughout a day easily, and perhaps for a longer time.
A Pretty Trim recently shown consisted of an open well, built up of rough stones and covered with moss, with an old oaken bucket attached to a pole, which a boy is just raising from the well. Autumn leaves strew the ground, and at the back of the scene is a fence consisting of two rough rails and pickets of umbrellas and canes alternating. A cabin built of underwear is at one side, and a forest scene fills in the back.
An Easter Bouquet.—An appropriate centerpiece for an Easter window is a large bouquet of artificial flowers, among which are scattered handkerchiefs, ties, gloves or other small articles, which project from the bouquet and bear neat price cards. Bouquets may also be made in which handkerchiefs are folded to represent Calla lilies. Use a jeweled hat pin for the center of the lily, and green cloth for a stem.
A Waterfall.—One of the department stores in Minneapolis, wishing to call attention to a ribbon sale, had an attractive window display constructed as follows: It consisted of a painted representation of Minnehaha Falls. In place of a picture of the water fall itself, many continuous bands of various colors of ribbons passed from top to bottom, being rapidly revolved by rollers, one above and one below, turned by electric motive power.
The street fair is the most popular form of modern local enterprise, and has been growing in popularity for several years.
 
STREET FAIR BOOTH.—Brooks.
154The street fair consists of a series of temporary booths erected on both sides of the main street of a town, or around a central square or park, if the town is laid out that way. These booths are built at the outer edge of the sidewalk, upon the roadway, leaving the passageway of the sidewalk at one side and the middle of the street at the other side. Most booths face the street, although often they are arranged to face both the street and the sidewalk. Each merchant builds his booth before his own store, making a display of merchandise in the booth, but selling goods only from his regular stock. Confectionery, notions, etc., are also sold from booths. At the street corners or interspersed among the booths of the merchants, are raised platforms on which free entertainments, such as juggling, acrobatic acts, legerdemain, etc., are given at stated intervals for the amusement of the people. In connection with the street fair, various special attractions are arranged, a balloon ascension one day, a parade of floats on another, and so on, according to the fancy or enterprise of the committee.
 
STREET FAIR BOOTH.—Wietlispach.
The free street fair is intended not only to attract temporary crowds to a town, but to make the town popular to the farming and outlying community tributary to it. Many farmers live within reach of two or, perhaps, three towns; but the enterprising town—the one that entertains the farmers with free street fairs, is supposed to be thereafter favored with the largest share of trade.
 
STREET FAIR BOOTH.—Siemon.
156Moreover, the street fair gives merchants an excellent opportunity to make the acquaintance of the neighboring farmers and residents of smaller, near by towns. This acquaintance ripens into a friendship and mutual respect that not only wins trade, but holds it for all time.
How successful the scheme of free street fairs has been is evinced by the fact that towns which have once held this sort of entertainment are always eager to continue them the next year, and the next—and are still holding street fairs. Seldom has the committee been called upon to collect a dollar of the original subscription—for the fairs pay their own way, and only cost each merchant the expense of his individual display. It is stated that no street fair has ever been a failure since the idea was first conceived, although of course the measure of their success depends greatly upon the ability of the committee and the enterprise of the merchants in making attractive displays.
 
STREET FAIR BOOTH.—Landers.
 
STREET FAIR BOOTH.—Walthes.
158The street fair has proved itself much superior to the old style county or state fair. The people are held day and night at the door of the merchants instead of spending their time two or three miles away from town. The old-style fair leaves a town deserted, dull and forlorn. Trade is at a standstill, and merchants agree it is almost as well to close their doors during fair week. The street fair is a period of excitement, hustling and constant sales for every merchant. The people are forced to remain where there is a constant temptation to spend their spare cash—and of course they spend it.
 
STREET FAIR BOOTH.—Wietlispach.
The season of street fairs is from May to October, although some are being held in this month of April in the warmer states. They usually open on Tuesday morning and end Friday night, although in some cases the entire week, including Monday and Saturday, is not considered too long a period for the festivities.
First you must have a guaranteed fund. This is procured as follows: (a) Subscriptions from merchants; (b) sale of booths and privileges; (c) sale of advertising space on the daily souvenir programme.
The cost of a street fair is from $2,500 upward, depending on size of your town, the amount of advertising you do, etc.
 
STREET FAIR BOOTH.—Hastings.
160You will need a large number of committees to properly handle your street fair. One object of having a great many committees is to give every business man in town something to do in connection with the fair, so that those who are inclined to grow lukewarm will, of necessity, be compelled to take continued interest in the forthcoming fair. Furthermore, there are too many details connected with the work of preparing for the fair and conducting it, to be placed on the shoulders of one small committee. Accordingly, there must be separate committees for each department of street fair work. The finance committee must look after raising the money. The amusement committee must see that proper attractions and amusements are provided. The committee on premiums will get up the premium list, appoint judges in the various departments and see that the awarded premiums are paid. The committee on parades and special days will look after the work indicated by its title. You will need also a committee on contests, such as cake walking, baby shows, old violin players, fat men’s race, greased pole climbing, greased pig catching and such other diversions as may be introduced for local talent in addition to the attractions engaged from abroad. Your committee on privileges and booths will be able to render great service to the association by using proper judgment and enterprise. A large revenue can be realized from the sale of booths and spaces for merry-go-rounds, Ferris wheels, side shows, etc. Your committee on railroads will have to look after the important work of securing special reduced rates from all points in territory tributary to your city during the continuance of the fair. By appointing influential men on this committee and having them go direct to the main offices of the railroad company you will be able to secure liberal concessions in the way of reduced excursion rates that will greatly swell your attendance during the week. Your committee on advertising will have plenty of work to do. It is a good plan to appoint the local newspaper men on this committee. They will keep booming the street fair from the time that the date is fixed upon, and will see that the field is thoroughly and constantly covered, so far as the advertising is concerned. You will also need an executive committee. This committee may include all the members of the above committees, these being only sub-committees of the executive committee, or it may be limited, as you think best. In some cities a regular street fair company is incorporated under the laws of the state, with a president, board of directors, etc. This is a very good plan. It gives an air of permanence to the organization and makes all the transactions of the association more business-like in character.
Good attractions must be secured for the free entertainments. Do not make the mistake of hiring cheap performers, as they will disgust your people rather than entertain them. There are now a number of expert conductors, or general managers of street fairs, who hire their services to committees and advise the townsmen in all details. These men, having had ample experience, are very useful to committees and often insure the success of the fair. When there is no resident of your town available who has a genius for carrying out such enterprises, the employment of an expert director is advised. In this case it is better to secure your man in the beginning, as he can then assist in organizing the entire festival.
R. J. McDonald, who is an authority on street fairs, gives the following excellent advice as to details:
 
STREET FAIR BOOTH.—Boyer.
 
STATE FAIR BOOTH.—Anthter.
 
STREET FAIR ARCH.
 
GENERAL VIEW OF THE BELVILLE, ILL., STREET FAIR.
 
GENERAL VIEW OF THE STAUNTON, VA., STREET FAIR.
166The first step is to interest the city authorities, the manufacturing dealers of all lines, and the citizens in general. Then, in order, follow the securing of the necessary subscriptions, concessions from all lines of transportation and many other sources, advertising, newspaper work, billing the country for at least 200 miles in all directions, daily souvenir programme, the formation of the different committees, arranging street parades daily, securing the use of vacant grounds for the erection of booths for the merchants and manufacturing displays, for a Midway inclosure, space for lease to venders of all kinds. Then comes the famous Midway, which, without doubt, will be the most attractive feature of the street fair. Who can forget Chicago in 1893, and the people of all nations? For this feature some large traveling street fair combination should be secured—one which will have all the features which go to make up a successful Midway.
You would also need tents for the press and visitors, one large tent for dining hall—would advise that this be in charge of, and under the management of some congregation—German and Irish villages, with the native dance and the Irish piper to warm the hearts of their countrymen, also two or three free exhibitions, which should be the best in America.
Now, to make the fair a success, the writer would advise making concessions to some charitable institution or some good cause; then you get the ladies, clergy and press with you, and if you can do this, it is sure to be a grand success. The fair must be advertised largely, like a circus, special rates on all lines of transportation. Every day must be a special day. A different parade, finishing at the entrance to the fair, should be held every afternoon—never in the morning. There should be a military day for the entertainment of the soldiers of the civil war, both union and confederate, the soldiers of the Spanish-Philippine war, also a school children’s day. This being campaign year, would advise a democratic and republican day, and invite some of the most prominent speakers of the country, candidates for office, etc. I would also advise a public marriage on one of the days, and each afternoon or evening a genuine old-fashioned cake walk, combined with fireworks and an abundance of good music. A floral parade, properly handled, with a popular lady citizen as queen, would be the strongest feature of the week, and would draw thousands of strangers to any city. This part of the entertainment will require some one with experience to handle, if it is to be a success.
During street fairs, as well as the ordinary country fairs, industrial parades are frequent, and often the decorator is puzzled how to construct an effective float.
We show several pictures of floats in the late Milwaukee industrial parade. The booth was built upon a large wagon truck and had a latticed roof. The lower sides of the booth hung over the wheels and were elaborately pleated and puffed. Fancy groceries were shown in the float, and maidens, dressed to represent the southern climes from whence the goods came, were seated on each of the sides.
 
 
 
PARADE FLOAT—“THE SEASONS.”—Goldsman.
168Eight horses, caparisoned in white, with large plumes on their heads, were attached to the float, and each horse was led by a groom in fancy dress. This float was one of the most successful in the parade.
One of the most novel floats ever constructed was that of Mr. Mahana, shown herewith. It was shaped like a large slipper, and completely covered the wagon truck on which it was placed. Silver foil covered the entire surface, and around the edge, or sole, was an ornamental border in white and gold. Underneath the big umbrella sat a bevy of pretty girls.
 
In our first picture is shown a clothing float, the star and crescent being adopted as the design. Although somewhat crudely carried out, the idea is a good one. While only one coat was shown on each side of the star, the float attracted much attention.
The Mercantile Co.’s float, was part of a floral parade. Float and horses were decorated in pure white, and five young girls, seated under the canopy, wore flowing white draperies. The relief to this was given by the mass of greenery in the interior of the float, and by the signs, which were lettered in emerald green.
This float showed on the four sides the allegorical presentations of Spring, Summer, Autumn and Winter.
“No. 1.—Spring.—Front Section of Float.—Arbor and arch trimmed with artificial marguerites and morning glories, intertwined with foliage. Glass prisms hang suspended to represent dew drops.
“‘Spring,’ draped in pure white gauze; wings at shoulders. Butterflies and aigrette in the hair. She is represented seated on a large mushroom (made of a 24-inch chopping bowl). Before her are seated four large rabbits on their hind legs. On the spreading limb of the tree that fronts her are perched two big crows, a blue jay, an oriole and two small birds, all posed in the act of singing (beaks high and open). Spring is clasping in one hand a baton and in the other a piece of music. She is giving the birds and rabbits their first spring lesson. This section was called ‘An Ode to Spring.’
“No. 2.—Summer.—Right Side Section of float.—‘Summer,’ draped in light blue cheesecloth and silver tinsel. On head a wreath of pink and white roses, and on one shoulder butterflies, on the other roses. In her left hand she carries basket of roses. Arbor and archway are trimmed entirely with pink and white roses, three gross being used (artificial). Plums and peaches hang pendent from the top. At her feet (on the right) crouches a large white swan. At each corner of this section are two full size cranes, three feet high.
“No. 3.—Autumn.—Left Side of Float, Ceres (Wheat).—‘Autumn’ is represented by a brunette draped in corn-colored cheesecloth. Her long wreath is of corn flowers, poppies and wheat. On her head a wreath of poppies and wheat. In her right hand she carries a sickle. Under her left arm she carries a loosely bound sheaf of wheat. Arbor and archway trimmed with poppies and wheat. A dozen bunches of artificial, full size grapes hang from top of the arbor. In the growing wheat, at each side of this section, are two quail and two hares.
 
PARADE FLOAT—“CLEOPATRA’S BARGE.”—Lorch.
170“No. 4.—Winter.—Rear of Float.—Represented by a young lady draped in dark green. In one hand she carries a bow, in her belt she has an arrow. Her wreath for the hair is of holly berries and ivy. Her bower and arch are trimmed with ivy and dahlias. Her corsage wreath is of dahlias. At her left crouches a Texan puma, life size; at her right stands a full sized deer.
The combination was green and pink. The figurehead was relief papier mache work done in gold on bronze green ground. The large leaf (sail) is also papier mache work. Close scrutiny is necessary to see the best work.
The framework is light, but substantial, the canopy being supported by iron bars on which sleeve puffing is used. These bars are turned at top and bottom, flattened, and furnished with screw holes. The umbrella holders at the corners are made in the same way, four handsome girls standing beneath the umbrellas. Quite a few goods were shown in the spaces, and the entire effect was excellent.
 
PATRIOTIC FLOAT.—Olson.
It has always been my theory—and I have yet to hear it successfully disputed—that it is better to have an attractive advertisement costing $1 than a poor one costing twenty-five cents; and on this hypothesis the above booth will be described. The street fair is one of the best chances for advertising you will ever get. Your audience is not going to be the same that critically and leisurely inspected your show windows and the goods and taste displayed therein the week before. It is going to be a rushing, pushing, good natured and sight seeing crowd. It will not be one that will be critically inclined, nor have time for minute details. Knowing this to be a fact, it is “up to you” to get in your advertising and do it with a booth that will arrest the eye, whether in a hurry or not. Here is where you can use all the loud, flashy and contrasting colors you want.
 
BICYCLE PARADE FLOAT.—Softley.
 
First you must see if your electric light company has the “strings” of lights (see Fig. 1), shown running from the center to corners, on hand. There are companies who keep these on hand, with weatherproof sockets, to be rented out for just such purposes. The lights shown around the edges can be put in by any electrician at a small cost on one circuit. Both these and the “strings” are supposed to burn steadily, and not connected to the flasher. The carpenter contractor will undoubtedly put in an appearance in due time. These contractors usually put up the booths for a stipulated price, rent you the lumber and remove it when the fair is over.
Next is the ball frame (see Fig. 2). This is intended to be six feet in diameter, made of strips of wood or moulding ¼ × 3 inches, soaked in hot water and bent to form. The 3-inch width is to give you a base for the lamp sockets. Between the six ribs shown run hogshead hoops to give fullness between the ribs shown. The frame can be covered with two contrasting colors in six equal sized pieces for daylight effect, and the colored lights will take care of this part in the evening. The shaft should be of 1-inch gas pipe. Having had a platform built inside the booth flush with the gables, it will be a length equal from the floor of the platform to the peak of the roof, plus the height of the ball and six inches for clearance. Have the bottom drawn to a point or filled with a pointed plug shown at C (Fig. 2), and provide a socket bearing. This bearing is intended to support the entire ball and not offer undue friction to its rotation. It will also be necessary to provide an extra shield near the bottom to prevent a heavy wind forcing it out of the socket sideways. At a point just under the peak of the roof, which is also the upper bearing for the shaft, drill two ½-inch holes. Drill two holes also at a point between the roof outside and the bottom of the ball, shown at A. The contact rings and brushes at B are fully described in detail in the March issue of The Show Window. These will be made the same, only larger. Equip the shaft with a 5-inch grooved pulley belt direct to the countershaft of your flasher, and it will run about thirty revolutions per minute.
 
PARADE FLOAT.—Bittman.
 
PARADE FLOATS.—Brown.
 
The shield shown in Fig. 3 is made of tin or painted pasteboard, and will be found absolutely necessary to keep rain out of all sockets pointing outward from a point above the center of the ball. If water was to get in between the socket and lamp base, plugs will be blown faster than you can put them in.
 
The wiring is shown in Fig. 4. There are three circuits, each of different color, divided into two parts, each half on opposite sides of ball. One side of each row of lights will be coupled to a common main, which will go inside the shaft at the upper hole and out again at the lower; thence to the bottom ring, which is connected to the main direct. Circuit No. 1, red, goes from the first brush on the flasher to top ring and brush on the shaft and thence to the remaining sides of the two red rows. Circuit No. 2, white, goes from No. 2 on flasher to No. 2 brush and ring, thence connects to remaining sides of the two white rows. Circuit No. 3, green, goes from No. 3 on flasher to No. 3 ring and brush, thence to the remaining sides of the two green rows. The other main goes to the leg of flasher direct. Run one wire from each main for the motor.
Set your flasher lugs as shown in Fig. 5, and the various color changes will take place, as shown at the side of diagram in the order given.
After you are through with your wiring, you will probably find your hands not in condition to hold the dainty hand of Angelina, and which soap fails to remove. Don’t get scared. This will probably be a combination of muriatic acid, asphaltum and rubber. They can be cleaned as follows: Wash first in water, without soap, to remove the acid. Next loosen the asphaltum with any kind of oil or grease. Lastly, wash them with soap, water and sawdust, and you will be surprised to see how easily it is done when you know how.
 
DECORATED HOSE CART.—Kayser.
 
PARADE FLOAT.—Designer Unknown.
 
ST. VALENTINE’S DISPLAY.—Baker.
 
ST. VALENTINE’S DISPLAY.—Herr.
Easter is especially the season for artistic decoration, and no American holiday, save Christmas, receives so much attention in decoration from our merchants. It comes after a season of comparative dullness, and as it is a time of joy and brightness, of full purses and generous hearts, extraordinary efforts are made to delight the public with gorgeous and pretty displays, and to tempt the good folks to purchase liberally all those knick-knacks and articles of apparel of which orthodox church members have denied themselves during the penitential days of lent.
If the campaign is well managed, Easter should be a bounteous harvest to every merchant. Think of all the bonnets, gloves, laces, shoes, ribbons, silks, satins and furbelows the ladies will require to “look sweet” during the Easter sermon; all the hats, neckwear, handkerchiefs, shoes, striped trousers, walking sticks and spring overcoats the gentlemen must have to fit themselves as escorts for the charming sex; all the rich foodstuffs that will be eaten off pretty linen and dishes during the Easter dinner; all the floral offerings and boutonnieres that will spend their fragrance to droop and wither in a day!
Some one will sell all these things for Easter.
What will your share be?
The answer depends much on the value of your window display as an attraction and salesman.
Of course you wish to do your best. You are in business to sell goods—to take advantage of just such warm occasions as Easter.
Easter is the season of flowers. All flowers are allowable. White are preferable. But don’t use white flowers exclusively, for they will give a funereal air to the entire display. Use lilies, both calla and Easter lilies, and with them mingle roses, tulips and hyacinths, taking care to employ plenty of greenery, vines and leaves.
 
The lily is an emblem of Easter. Make your Easter lilies of mammoth proportions for centerpieces or corner pieces. This may be done by forming them out of cardboard, which may be covered with white surah silk, cheesecloth or white tissue paper. A good sized lily of this variety may be made by cutting sugar barrel hoops into quarter sections, as seen in the diagram, and fastening six pieces firmly together at one end. Then cut six petals from heavy cardboard and fasten to each hoop, on the outside. A similar piece is placed inside, and the edges glued or sewed together. The bit of hoop is then hidden, but forms a rib to hold the leaf in place. Place some puffed tissue in the center, if the center shows, and wind the lower end with cloth, after attaching the stem. Sometimes a doll is seen peeping from inside the mammoth lily; sometimes a nest of eggs or a brood of chicks is placed in the center. This depends upon the character of your theme.
 
EASTER DISPLAYS.—Stetlar.
 
“THE EASTER ANTHEM.”—Butement.
181If the lily alone is shown stamens must protrude from the center of the leaves, and these are made by covering insulating wires with chrome yellow silk and placing a small yellow ball at the end of each stamen.
The calla is a beautiful lily, and is used profusely for Easter decorations. It is quite easily made in any desired size by following the method shown in the diagram. Take an oblong sheet of cardboard, indicated by the dotted lines (Fig. 1), and bend it over (Fig. 2) to form a sort of cornucopia with a projecting corner. Fasten the curled edges with glue or brass paper fasteners, and then form the projecting corner into an imitation of the curled end of the leaf in a natural lily. This may be quickly done by rolling it with your fingers. A single yellow stamen, rather thick, must project from the center, rising a little above the edges of the leaf. Now fasten on your stem, and the lily is complete. Large sizes should be covered with cloth. In small, natural sized lilies the white cardboard is a good representation of the leaf. Good effects are obtained by planting these artificial lilies in flower pots and placing these also in jardinieres. They appear more natural when shown in this way, but then leaves must be made to complete the plant.
 
The cross is the principal emblem of Easter, and is used in connection with many displays, being suitable for any line of merchandise. To be most effective it should be a floral cross, and may be formed from natural or artificial flowers. However, natural flowers are so scarce in most towns, and artificial flowers so inexpensive, that we need consider only the latter. Of these, violets are easily procurable, and are pretty and appropriate. Festoons, or bunches of them, always brighten a display. Such set pieces as the cross, crown, star, the “gates ajar” may be covered with masses of mixed flowers, in which the tint of the violet predominates, and the purity of the Easter or calla lily affords a soothing relief.
Wire netting, supported by a light framework of thin lumber, is the ground for all these floral emblems. The mesh should be much smaller than it is drawn in the accompanying design, for there is only need of space to push the stem through. Begin at one end, thrust a flower through the netting so that it covers the edge, and wind a thread around the stem from the back of the netting. When the next flower is placed in position and the thread given a turn around it, both flowers are firmly fastened. One thread unwound from the spool as needed, will fasten the entire design securely. Floral emblems made in this way are remarkably light in weight, and may be suspended in the window or placed in any desired position.
 
EASTER DESIGN.
 
EASTER DISPLAY.—Hannaford.
 
EASTER DISPLAY.—Hannaford.
 
Easter would not be Easter without eggs, and therefore eggs will be used in many window designs. Mammoth eggs may be constructed and decorated in a hundred different ways. The mechanical egg, which opens into two or four parts, is old but always attractive. A clever idea is to build several large eggs, over light wood or wire framework, break in the front sides and show a recess in each egg in which is a “nest” of the goods you wish to call attention to. White paper cambric—the shiny side out—is the best representation of an egg shell.
Cut small price cards the shape of eggs, and place them in your Easter display; or use real eggs, with the prices neatly painted upon them.
Another idea is to blow out the insides of a number of eggs, run a thread through them and suspend them in your window at different heights. Or, cover your window floor with hay, to represent a hay mow, and put nests of decorated or dyed eggs here and there. Or, make a mammoth egg of papier mache (or a framework), covered with cloth, and use it for the center of your window. This may be made to open by dividing it into sections which are hinged a short distance from the bottom, and connecting each section with a string running to a main cord. A boy can operate it from back of the window, or it may be connected with a motor. Put a prettily dressed baby doll, or a chicken, in the center of the egg.
 
A simple way to make these, in any desired size, is to cut from heavy cardboard or thin lumber the outline of the rabbit or chicken. Then cut cloth, to extend one-fifth beyond the edge of the outline (see dotted lines), leaving more margin where the body is thickest. Glue or tack the edges, and stuff with cotton or excelsior, as shown 186in the end section. Paint in eyes, etc., and color with water colors.
To render an Easter lily mechanical, so that the petals will open and close, a small circle of wood is securely fastened to the standard rising from the floor. Each leaf (there should be six) is then hinged to this circular piece, a few inches from the lower end of the leaf. At the extreme lower point of each leaf is now fastened a cord, and all the cords are gathered into one a short distance down. Run the main cord through the floor of your window and attach it to the pivot of your water wheel. As the cord is drawn downward the leaves all close; when it is released the leaves open by their own weight. In the center of the lily may be placed any design or arrangement of goods. Sometimes the figure of a doll clinging to a cross is used.
The reader will find here a collection of beautiful designs for Easter displays, all being photographed from life. These will all be useful in conveying ideas for the arrangement of your own displays. It should be borne in mind that no window display can be accurately reproduced; yet often you will find a way to improve upon the suggestion offered you.
A pretty custom it is to set apart one day in memory of our nation’s fallen heroes, and May 30 is always held in loving, if sad, remembrance by our people.
Much advice has been offered in past years concerning the appropriate decorations for this day. Some favor depicting the joy and triumph resulting from our wars, and the glory of a life given for the nation’s defense. Others see the sadness of mourning friends only, and think the flower strewn grave the best recognition of the day. So the matter of design must be left to the taste and disposition of the decorator. It is well, however, to bear in mind that mixed with the sorrow of the people is a strain of pride and exaltation that their loved ones died so nobly and heroically.
Flowers in profusion should be used, and the national colors are not inappropriate.
Since our late wars there are more soldiers’ and sailors’ graves to decorate than ever before, and a new interest in Memorial day has been aroused. Therefore the wise merchant, who persistently caters to the moods and whims of the great public, will see that his show windows pay a fitting tribute to the occasion.
A national flag composed of flowers is made by running wires across a frame for stripes and pinning red and white flowers to them. Wire netting does nicely for this purpose, and if natural flowers are not available, red, white and blue artificial flowers may readily be procured.
Another way to make a flag is to use ribbon for the stripes and puffed blue silk with white knots of baby ribbon for the stars. I have seen some handsome flags made entirely of baby ribbons. You can make red, white and blue backgrounds by using these colors of Velvelette, which is easily applied. Velvelette is a “flock” which comes in various colors and can be had at paint stores.
The illustrations accompanying this chapter are appropriate designs for Memorial Day. By studying them you will get ideas for your own display, the details being readily carried out through the instructions furnished in the opening chapters of this book.
Trimmers will find no difficulty in securing appropriate subjects for Independence Day, as our recent history abounds in striking incidents. But it must not be forgotten that July 4 is dedicated to the heroes of the revolution and to the signers of the Declaration of Independence.
 
MEMORIAL DAY WINDOW.—Tobias.
 
MEMORIAL DAY WINDOW.
 
MEMORIAL DAY WINDOW.—Feckenscher.
 
MEMORIAL DAY DISPLAY.—Eman.
 
MEMORIAL DAY WINDOW.—Cornwell.
190For this reason July 4th is the great patriotic occasion and the national colors, the national flag and shield and the national heroes are appropriately employed for decoration. “The Spirit of the Times” and “The Birth of the Flag,” are grand subjects for window display, and both of these we illustrate. Other window trims of a patriotic character also accompany this chapter.
 
FRONT VIEW OF PATRIOTIC DISPLAY.
Many people, I know, place an electric fan where its powerful breeze moves the flag in quick waves; but after all, that is not a natural method of waving “Old Glory.” The sweep of the flag pole itself in a semi-circle is the proper method of waving the star spangled banner, and this effect may easily be procured in a show window.
 
In the first illustration is a large frame of red, white and blue, in the center being a battleship, or whatever else your fancy may dictate for a trim. You can make this frame and keep it to inclose various incidents of the war as they may occur. The section of frame marked “white” is beveled, or placed on an incline, to better carry out the effect of a picture frame. Above your picture three flags are naturally and continually waved, and the effect is well worth the slight trouble required to produce it.
 
“4th OF JULY” WINDOW.—Morton.
 
JULY 4th DISPLAY.—Goldsman.
 
JULY 4th DISPLAY.—Goldsman.
 
PATRIOTIC WINDOW.—McElwain.
 
PATRIOTIC DISPLAY.—Cornwell.
 
PATRIOTIC DISPLAY.—Weber.
 
PATRIOTIC DISPLAY.—Mueller.
The second illustration, which is the rear plan, explains the waving of the flags. Three circular slots (3) are cut in the frame, through which the flag staffs (2) are placed. These are weighted at the ends (7) to make them balance. Place the pulleys (4) as shown in the cut, and run a cord over the pulleys connecting with the flags. Opposite each connection place a rubber cord or weak spring, fastened to the framework in such a position that as the cord slacks it will pull the flag to the opposite side. The pin and block (5) for the flag to work on should be loose enough for free motion. The wheel (6) gives the motion to the cord, and is operated by a small motor. The apparatus is very easily constructed, and works perfectly. In front of the picture place stacks of arms and a cannon, to fill in the foreground. The cannon is made as 196follows: Cover a frame with oilcloth or carpet paper and apply black or yellow cloth or paint, to make it resemble iron or brass.
While much labor, time and expense is devoted to Christmas windows the trimmer often neglects his Thanksgiving displays. For this reason hardly anything strictly new is ever seen on this occasion. As a matter of fact, it is much easier to scheme for Christmas than for Thanksgiving displays, as the trimmer has a greater variety of attractive material for his work at his disposal and more liberal allowances are made on his employer’s side for the occasion. Yet we can without any great expenditure produce many attractive and new Thanksgiving displays. Winter scenes of different character can easily, quickly and economically be gotten up and are very adaptable. On Thanksgiving Day we have usually snowy, wintry weather; should it happen, however, that this year this is not the case, do not let the weather interfere with your work. Thanksgiving Day being the opening day of the season a winter scene is always appropriate, very effective and makes a winning, pleasing impression upon the passerby.
 
THANKSGIVING DISPLAY.—Green.
If your window is large enough you may construct a pretty background by building mountains, partly covered with snow. Take old dry goods boxes of various sizes and pile them up in an irregular fashion so as to form the shape of mountains. A few boards and strips will also be required to obtain the desired effect. Cover this frame with carpet paper, that the hills, rocks and earth will be properly represented. Take care to hide the edges of the paper. Heavy old packing canvas may be used instead of paper, if you have it. Cover the paper or canvas with cheap water color, consisting of black and white mixed with a little umber brown, to give it the proper color. You do not need to be much of an artist to do 197this work. After it is painted cover the tops of the hills, the gullies and the floor with cotton, in such manner as to imitate snow. Place the display in the back and sides of the window, so as to leave floor space in front. From the upper parts of the mountains have a little brook or rill run down till it reaches a pond of water at the bottom. The pond is made by placing on the floor a flat wash tub, having a hole in the bottom connected with a waste pipe. The outside of the tub, up to the edge, must be hidden with rocks and snow, and the inside should be painted a brownish green. Put a few pebbles in it to cover the bottom. The brook can be arranged by using a runway of tin, painted brown, which must be bent into an irregular course, and follow the shape of the mountains. One or two pretty cascades may be made by allowing the water to fall a few inches from one trough to another. Place small stones and snow at the edges to give it a natural effect. The water may be supplied from a barrel set up in the back of the window, or by a connection with water works. A few dry branches placed here and there will represent trees. A red incandescent light behind the top of the highest mountain will give a very pretty effect to the scene, as it will look like the sun setting or a volcanic mountain. The cotton, or snow, will almost appear as on fire. To complete the picture scatter some diamond dust over the cotton to make it sparkle like snow. Some rabbits in the foreground, a form dressed as a hunter, etc., are additions which will suggest themselves to a trimmer able to procure them. Put a few goods at the front of the window and don’t forget the price cards.
 
For a thanksgiving scene paint a background on cloth, showing a farm, with barn, rail-fence, trees, etc., in the distance. From this background a block of turkeys is seen marching forward like a file of soldiers. All this is painted. The real scene now begins. Show the corner of a house at one side, and a farmer’s form with axe in hand, beside a stump. Two or three dead turkeys (real ones) are lying near, their heads severed from their bodies. Red paint upon the axe and stump will show the slaughter is real.
The first turkey on the painted scene could bear a placard reading, “We are ready for you,” or “A Sacrifice of the Innocents,” or something similar.
 
Be sure the bottom edge of the scene is covered by cotton, branches, or stones, so that the painted scene will blend into the real one.
The Turkey being the natural emblem of Thanksgiving Day we show a most beautiful bird of this species created from linens. We print herewith a cut of the framework, showing how to construct the foundation. The tail is made separate from the body and fastened on with screw hooks, so that it may be handled easily; 194 doilies were used in the covering. A good idea would be to place a sign on the turkey reading: “Good to eat off.”
 
“THE THANKSGIVING TURKEY.”—Softley.
 
FRAMEWORK OF TURKEY.
It has been estimated that the value of the merchandise disposed of during December is equal to that sold during the other eleven months of the year.
It is no wonder, then, that active preparations have been made for months in advance to take care of the holiday trade to the best advantage.
is to provide for his window display on an elaborate scale. No notion of false economy should be allowed to interfere with the attractiveness of his displays. He must remember that his trimmer has the brains and skill to create beautiful effects, but is powerless without the material to work with.
To be economical—let us speak plainly, and say stingy—in supplying your decorator with material will lose you more trade than you can afford to spare. If your competitor’s display is better than yours the reason will probably be that he has been more liberal than you in providing proper material for display. You can’t afford to allow any one to outdo you in window display in these days preceding the holidays, when most of the shoppers depend upon the windows to guide them in purchasing.
during this important season is to exercise his talents to his employer’s best advantage. He has doubtless been planning original displays for months in advance, and if his house affords him proper scope and material he should strive to outdo all former efforts to win trade for the firm that pays him his salary in dull months, as well as busy ones.
Don’t worry about working over time; the entire force must be too much interested in the success of the house to grumble about work. And do not expect your employer to allow you a greater expenditure than the size of your town or the importance of the house renders necessary. Make your windows as attractive as possible at the smallest outlay of money that may be required, and in this way consider the interests of your firm.
Accompanying this is a picture of a Christmas mantel and fireplace, created entirely from underwear. A light frame of wood was first erected, and the underwear piled before it. Upon the shelf were pieces of bric-a-brac.
 
 
DOLL DISPLAY.—Tobias.
 
DOLL DISPLAY.—Wiseman.
 
“THE DOLL’S THEATRE.”—Tobias.
 
DOLL DISPLAY.—Moss.
 
DOLL DISPLAY.—Barker.
 
CHRISTMAS DISPLAY.
 
TOY DISPLAY.—Moss.
 
TOY DISPLAY.—Morton.
 
CHRISTMAS DISPLAY.—Urbaneck.
 
CHRISTMAS DISPLAY.—Jungblut.
 
“CHRISTMAS MORNING.”—Boyd.
 
“CHRISTMAS EVE.”—Engle.
 
CHRISTMAS WINDOW.—Brink.
 
SANTA CLAUS GROTTO, INTERIOR DISPLAY.—Morton.
 
SANTA CLAUS GROTTO, INTERIOR DISPLAY.—Shogran.
This picture illustrates a stalactite cave, which is rendered even more attractive by a background showing the northern lights, and constantly changing by means of an automatic device. The lights are painted on an ordinary drop curtain, before which at a distance of three feet was placed a tarletan curtain to lend the effect of distance. The back scene is lighted by twelve border lights that flash automatically every minute. The front is also lighted by concealed incandescents which flash when the back lights are turned off. The stalactites used are hexagon in shape. They are cotton batting, and covered with ground frosting. The lightning was effected by rollers and an alternating current. The display was ten feet deep, thirteen feet high and sixteen feet wide.
 
SANTA CLAUS’ CAVE.—Goldsman.
We show in this connection several excellent designs for Christmas window displays, all of which have been used successfully. The methods of constructing these displays the reader has already been instructed upon. At once you will see what framework is required and how it must be covered and decorated. Of course any window shown can be adapted to any sized window, and many of the illustrations can doubtless be improved upon when the idea is once presented to your mind.
 
INTERIOR DECORATIONS.—Mitchell.
 
INTERIOR DECORATIONS.—Shogran.
 
INTERIOR ARCH.—Morton.
 
INTERIOR ARCH.—Morton.
 
INTERIOR.—Morton.
 
INTERIOR DECORATION.—Meyers.
 
INTERIOR.
 
INTERIOR.—Crossley.
 
INTERIOR DECORATION.—Langhanke.
 
COSY CORNER.—Welch.
 
INTERIOR—CORNUCOPIA.—Softley.
 
“THE COMING YEAR”—INTERIOR DECORATION.—Hyslop.
 
“THE COMING YEAR”—INTERIOR DECORATION.—Hyslop.
 
INTERIOR EASTER DECORATION.—Goldsman.
225Interior display should be simple, harmonious, artistic. Don’t attempt to bewilder your customers. A woman in search of an apron shies from a great bunch of aprons swung from the ceiling, but is attracted by a single apron tastefully displayed. So it is with all goods.
The day has gone by in the dry goods business when a few dummies, draped with dress goods and placed upon the ledge, will suffice. Something more attractive is required. Ladies especially like to see pretty goods, and will invariably do their purchasing where goods are brought out and displayed in an attractive manner. Some firms have objected to interior trimming, believing that it requires too many goods to make an effective trim, thus robbing the stocks. This, however, is a gross mistake, as we know from experience that pretty, effective trims may be made with the use of comparatively few goods. One idea which has found favor among trimmers is that of dividing off a ledge (where there is one of considerable length) into booths, by the use of draperies, and in each of these displaying different lines of goods.
This is perhaps one of the easiest effective trims which may be put up, but where time and space will permit we would suggest that the trimmer get up some sort of framework or something on which a few goods may be displayed in such a manner as to show them off to the best possible advantage.
Admitting all the benefits of good advertising—and surely there are no enterprising merchants in these days who do not admit them—it only remains to choose the best methods. The simple display of a bolt of goods is an advertisement, but a weak one. How much more effective that same piece of goods would become if spread out, or draped, or made into some shape that would mean something, create a mental picture, and leave an impression on the memory.
A little ingenuity, a little taste, an idea of the harmony of colors can do wonders in the interior of any store, no matter what the character of the stock may be, or its quality or quantity. The thing to do is to let your goods tell some clear, legible story that shall be as plain to your customers as was the handwriting on the wall of Belshazzar’s palace to Daniel, the prophet. Aside from printer’s ink and show window displays, there is no better advertising, and it costs very little.
It would seem as though dress goods might afford the very best opportunities for making an attractive interior display. It is, however, a fact that ordinarily this important line is shown to the worst possible advantages. One often sees an effort made at display by piling up a lot of bright goods on the end of a counter, and by filling a top shelf with pretty folds of goods; but no attractive effects are obtained. The risk of soiling expensive fabrics is of course one reason why a better show is not made, but with a little care, a little ingenuity and more or less trouble to make frequent changes of goods, an exceedingly handsome display can be made and run no risk whatever.
I show in this connection a large number of ledge displays, which will serve as examples of what may be done in this style of decoration.
 
 
LEDGE DISPLAY.—Raux.
 
LEDGE DISPLAY.—Daniels.
 
LEDGE DISPLAY.—Pontious.
 
LEDGE DISPLAY.—Urbom.
 
LEDGE DISPLAY.—Carson.
 
LEDGE DISPLAY.—Williams.
 
LEDGE DISPLAY.—Stritt.
 
LEDGE DISPLAY.—Bittman.
231The trimmer should always keep in mind the season for which he is trimming, and trim accordingly. Make your spring trim light and airy. Your summer trim should be the lightest of the year, to give your store a cool appearance. Your fall trim should be of filled up, stocky effect, and your Christmas trim as gay and elaborate as possible.
 
 
The ledge displays herewith presented illustrate some of the best methods of decoration and will convey many valuable ideas.
The accompanying cut shows an arrangement in which linens are used in connection with china and lamps, making a very attractive display.
In this ledge display, the arches, six in number, were puffed in white cheesecloth, the edge being trimmed with coiled crepe paper of a dark green shade. The six arches represented three departments, the first two silks, the next two linens, the others dress goods. The wall, back of the arches, was covered with lace curtains. Palms were placed at intervals between the arches, and the goods were as carefully displayed as if they were in a show window. The framework of the arches were built of light strips. The entire display was imposing and attractive.
 
 
 
SHOW CASE DISPLAYS.
233I wish to call the attention of my readers to the desirability of trimming their show-cases artistically, and the cut we show of a show-case trim is an example of what may be done in that line. The goods shown are laces, trimmings, handkerchiefs, and gloves, and the beauty of the display attracted the eye of many customers of the store and induced them to examine and purchase the goods.
 
A neatly decorated show-case is shown in the picture. The festooning of ribbons against the back adds much to the beauty of the display, which is as carefully arranged as if in a window.
 
The accompanying illustration is an arch erected in honor of the order of Odd Fellows, and is a clever conception well carried out. The three links were puffed over a heavy cardboard and edged with twisted draping cord. The arch also was panelled with this cord. The letters “F. L. T.” were suspended within the links by invisible wires. As this arch was in connection with an excellent display it attracted much attention and assisted to sell many goods.
 
A holiday interior pyramid is here shown. Such a display in a store during the busy season is sure to win trade.
We reproduce on the next page four views of an oriental display recently made in the windows of John Wanamaker, of New York City, by Leon F. Rubens.
 
MR. RUBENS’ ORIENTAL DISPLAY.
235The conditions unfortunately prohibited taking a satisfactory photograph, as the trim occupied the space of four panes, widely divided by architectural iron work. The problem of a successful display was thereby complicated somewhat, as it was really necessary to make four separate “pictures,” having the effect of one when seen from across the street. Mr. Wanamaker’s windows are of ancient style, set high up and being very narrow.
In a window containing entirely oriental goods the richness of coloring is one of the main attractions, and in a photographic reproduction this gorgeousness of color effect is entirely lost; still one can imagine, in looking at the pictures of this display, that the color harmony must have been fully equal to the masterly arrangement of the goods.
No very expensive goods were used, and the trim is constructed without framework or special fixtures.
 
A very artistic arrangement of rugs is shown. A series of large tubes were made of carpet paper, and over them were pinned rugs of various sizes. These tubes or pillars were then stacked in an artistic group and stuffed birds and ornaments placed upon the tops.
 
RIBBON STAR.
 
DISPLAY OF TRIMMINGS.
Framework of flat sticks, as used in window shades; height of star, five feet; composed entirely of numerous solid color ribbons, edged with Roman stripe ribbon, to give a neat finish. Ribbons were not cut but folded back of star which was covered at completion of trim with white cheesecloth. 236Background, pure white curtains. This was an “overhead trim” at the ribbon counter, and attracted quite a little attention.
A circular arch is covered with elaborate designs, and the figures in the center show the proper application of the trimming.
 
Here is a reproduction of a trolley car, trimmed entirely with handkerchiefs. The details of the car, including brake, controller and bell rope, are well carried out, and the car stands upon its own rail and sleepers. The car was first built of wood, and covered with white cloth, after which the handkerchiefs were pinned on.
In the accompanying sketch is presented the production of a design which deserves a place here for a double reason, because it is not only an artistic effort, but eminently practical and easy of imitation in a store of moderate dimensions. The figure is nothing more than the many you use from time to time in your suit and cloak windows. For the many who are not so lucky to have whole forms you can use the bust forms by placing them on a box until you get the required height. If you have no hands use the ones you have at the glove department displaying gloves. In order to have the hands and arms support the skirt you must put a crutch under them. This is not seen, and helps to keep the skirt in an even position.
 
A window so displayed would, I believe, make a hit, as it is one of the best ways of displaying skirts in an artistic way.
While this display called attention to the fact that corsets are part of women’s underwear, and therefore might be called immodest for that reason, still it suggests a good idea for decorating with these goods.
 
“MISS MODESTY.”
The “Fountain of Chiffon” is cleverly conceived and executed, and is thus described by the artist:
“Size of window, width, nine feet; height, seven feet six inches; depth, six feet; white, spotted allover, net draped and festooned on canary yellow lining for background.
“On top is placed a three-feet-high flower stand with eight pieces of millinery wire (in two rows) in semi-circular form, on which are thrown eight lengths of wide silk chiffon (colors to match ruchings), no bluette.
“A hoop, five feet in diameter, made of one-inch wood, is attached to a standard and fastened to center of window floor. White cotton covers the skeleton of the whole goblet. Six yards of bluette tinseled angel gauze make the vessel, including the pillar, and six yards more of the same material finishes the base. Twelve lengths (five yards each) of chiffon ruching, artistically selected colors (except bluette), decorates the vessel, trims in spirals the pillar, and falls in zigzags on base. Five yards of six-inch guipure lace for the brim.
 
FOUNTAIN DISPLAY.
“Between each two pieces of chiffon are arranged white ospreys. Five lengths of white narrow silk chiffon are representing streams overflowing brim of basin and falling to ground.”
“Size of window.—Width, 9 feet; height, 7 feet 6 inches; depth, 6 feet. Size of arch.—Width, 7 feet; height, 7 feet 4 inches; depth, 5 feet. Size of columns, including base, shaft and capital, 4 feet 4 inches. Size of base, 12 × 16 inches; shaft, 2 feet (6 inches in diameter); capital, 12 × 12 inches. Size of arch from line of capital to center 238of top, 3 feet 2 inches. Size of arch from line of capital to center of inside line, 1 foot 8 inches.
 
“The whole is made of 1½ × ¾-inch wood material.
“Arch and columns, which are one foot from glass plate, are previously whitewashed, and then trimmed with Shogran puffing of white cheese cloth.”
On another page is an excellent picture of this successful trim. The reproduction of the Brooklyn Bridge is so accurate that Mr. Roebling would probably have been delighted had he lived to see it. We furnish diagrams of the towers, in which the dimensions are accurately given. The foundations were covered with grey cotton, to imitate stone, and the balance of the superstructure with boxes of white. Various vehicles were shown upon the bridge.
A number of one candle power electric lights were placed upon the bridge, and a large reflector, which the picture does not show, was placed in the left upper corner to represent the moon. These, and the torch held by the Statue of Liberty, were the only lights shown at night, and the effect was very beautiful. There were 1,225 dozen spools of cotton used in the construction of the bridge, and after the display was taken out a sale was made of these—7 spools for 25c.—and they were sold out in a hurry.
 
The picture was enhanced by a good water scene under the bridge, showing ships, etc., the water being made to move by means of a mechanical device. There was a sea-wall at the rear, made of brick paper, cotton being used to represent foam.
The statue of “Liberty Enlightening the World” was cleverly carried out. The upper part was puffed with white cheesecloth. A diagram explains the structure. By the way, the photograph of this window sent us was taken by electric light, a three minutes exposure being given. The picture will be seen to be perfectly free from reflections.
I offer the following suggestion for a window, and although the central portion is alone illustrated, and may be applied to any sort of a trim, the general plan described will be found to harmonize with the central picture.
 
BROOKLYN BRIDGE IN SPOOL COTTON.—Stetler.
240Use green and yellow, in combination, for the wall draperies, and drab for the floor. Trim, in any manner that commends itself to you, with handkerchiefs, embroideries and notions, keeping each class of articles in a separate group. Parasols at the front corners, placed in fan-shaped holders, look very well and dress a general display.
The central design is a man with a wheelbarrow, and another with a scoop shovel. The barrow should be loaded with notions, laces, handkerchiefs, gloves, etc. This feature may be made mechanical by having the barrow rest on an iron brace just back of the wheel, and another brace fastened to the floor and running up the pants leg of the man holding the barrow. Cut a slot in the floor so that the wheel of the barrow just touches an endless band beneath. Have the man’s knees and hips jointed and connected with a rod running through another slot in the floor and connected with a wheel underneath, so that the same motion is obtained as when a man rides a bicycle. One motor will operate both the man’s legs and the wheel of the barrow. The floor should be strewn with the same class of goods contained in the barrow and a small heap should be just in front of the scoop shovel. It would be well to have a small price card fastened to each article.
 
As a central figure for a notion display you may make a large star, divided into five diamonds, or points, as shown in the picture. These are each filled in with small notions, and the remainder of the background trimmed as you please. The central figure is the main point, and gives character to any trim, so that if you get the central idea the rest is easy. Two jointed, or, better yet, flexible forms are needed for this window. One is stooping down and picking up small notions and placing them in a basket. The other form bears a mouth card, reading, “How is business?” The stooping form replies, by a similar mouth card, “Picking up,” etc.
 
I have selected as examples of good trims in every line of dry goods some of the best designs that have appeared during the past three years in the popular window-trimming journal, The Show Window. In no other place could I hope to find such representative work of the best decorators in America, and as my selection has been made with great care, I feel it is a panorama of 241the most artistic and practical window displays ever yet congregated for the study and consideration of the thoughtful decorator. The Show Window is published under the auspices of The National Association of Window Trimmers of America, an organization that includes the most famous window trimmers in the United States and Canada and has done more to advance decorative art in America than any other institution.
 
Study with care these illustrations. When you wish to put in a window in any line turn to this book and select a design that pleases you. Erect your framework to fit your window, making what alterations in the plan your judgment or circumstances dictate. Then cover with suitable material, taking care to use harmonious combinations of colors. Last of all, decorate with such goods as you have at your command. You cannot fail. You are sure to create an attractive display, the qualities being of course more or less dependent upon the skill you acquire. You cannot be an expert decorator the first time you try; but you can make a successful display, and I really believe that if my instructions are thoughtfully read and pondered any man of ability will be able to perfect himself in the necessary details of the art. After that the matter lies within yourself. If you have confidence in yourself, energy and perseverance, united to a fair share of heaven-born talent, you can win your way to prosperity and fame as a professional decorator.
 
 
STEAMBOAT OF SPOOL COTTON. THE SPOOLS ARE STRUNG ON WIRES AND FASTENED TO A LIGHT FRAME OF WOOD.—Murray.
 
HOSIERY DISPLAY BUILT OVER TWO CIRCLES, ONE PLACED BACK OF THE OTHER AND ONE-HALF THE DIAMETER OF THE FIRST.—Griffith.
 
DISPLAY OF SEWING SILKS STRUNG ON CORDS AND ATTACHED TO FRAMEWORK.—Ross.
 
DISPLAY OF NOTIONS ATTACHED TO LARGE WOODEN CIRCLE, THE FACE OF WHICH IS PUFFED. CIRCLE SET TWO FEET IN FRONT OF PLEATED BACKGROUND. RABBITS CUT FROM CARDBOARD. SHIP OF SPOOLS IN CENTER.—Brink.
 
NOTION DISPLAY. HOOPS ARE USED FOR FRAME OF THE CIRCULAR DECORATIONS. THERE IS A CENTRAL ALCOVE CONTAINING A SCENE WITH DOLLS AS FIGURES.—Newerf.
 
DISPLAY OF TRIMMINGS. GIRL’S FORM ON CENTRAL PEDESTAL. GOODS ARRANGED OVER WHITE BACKGROUND.—Morton.
 
DISPLAY OF PASSEMENTERIES, FASTENED TO WHITE CARDBOARD. CENTRAL SUNBURST IS LIGHT PINK.—Ross.
 
RIBBON DISPLAY. BOLTS ARE STRUNG ON HEAVY CORDS.—Langhanke.
 
RIBBON DISPLAY, DRAPED OVER CURTAIN POLES, WITH BOLTS AT THE BOTTOM OF EACH PIECE.—Ross.
 
RIBBON DISPLAY. SIDES ARE DUMMY BOLTS LAID UPON PLANKS. CENTRAL CANOPY IS FORMED OVER HOOPS.—Griffith.
 
DISPLAY OF FIGURED RIBBONS, OVER WHITE, PLAIN BACKGROUND.—Richards.
 
HANDKERCHIEF DISPLAY. CAGE CONTAINS STUFFED BIRDS. THE BARS ARE OF WHITE BABY RIBBON.—Boyer.
 
HANDKERCHIEF DISPLAY. GOODS ARE ATTACHED TO CORDS FASTENED TO FLOOR AND CEILING. BLACK BACKGROUND.—Watson.
 
HANDKERCHIEF DISPLAY. SCENIC BACKGROUND. WINDMILL AND HOUSE OF LIGHT WOOD COVERED WITH CLOTH, TO WHICH HANDKERCHIEFS ARE PINNED.—Van Derschmidt.
 
HANDKERCHIEF DISPLAY. FRONT GROUPS ARE UPON POLES, HAVING ELECTRIC LIGHT ON EACH POLE, SURMOUNTED BY WIRE CIRCLE TRIMMED WITH HANDKERCHIEFS.—Cartwright.
 
DISPLAY OF LACES.—Shogran.
 
LOCOMOTIVE TRIMMED WITH LACE AND EMBROIDERY, COVERING A THIN WOODEN FRAMEWORK. CAB AND SMOKESTACK OF CARDBOARD.—Pickett.
 
THE SECOND WEEK OF THIS DISPLAY THE LOCOMOTIVE WAS SHOWN IN A WRECKED CONDITION, WITH A CARD ANNOUNCING “WRECKED PRICES.”
 
DISPLAY OF LACE CURTAINS HUNG OVER A SUCCESSION OF HORIZONTAL POLES.—Morton.
 
DISPLAY OF LINENS.—Ross.
 
LINEN DISPLAY—FRAMEWORK OF INSULATED WIRE AND LIGHT WOOD.—Goldsman.
 
LINEN DISPLAY. FLOWERS MADE OVER INSULATED WIRE.—Condit.
 
LINEN DISPLAY.—Shogran.
 
LINEN DISPLAY WITH MOVING SHIP.—Condit.
 
FIRE ENGINE OF LINENS, BUILT OVER LIGHT WOODEN FRAME. HOUSE OF LINENS IN BACKGROUND.—Condit.
 
LOCOMOTIVE OF LINENS, ON TRACK.—Coe.
 
UMBRELLA DISPLAY.—Watson.
 
UMBRELLA DISPLAY.—Tobias.
 
DISPLAY OF INFANTS’ WEAR—SUNBURSTS OF BABY RIBBON.—Speed.
 
INFANTS’ WEAR. “WEIGHING THE BABY.”—Goldsman.
 
INFANTS’ WEAR. “WASHING THE BABY.”—Goldsman.
 
INFANTS’ WEAR.—Walker.
 
INFANTS’ WEAR.—Spence.
 
GLOVE DISPLAY.—Watson.
 
CORSET DISPLAY. MIRROR BACKGROUND.—Higgins.
 
CORSET DISPLAY. SHIRRED PUFFING ON BACKGROUND, SEPARATED INTO PANELS BY RODS COVERED WITH BLACK VELVET.—McFaddin.
 
CORSET DISPLAY—ARRANGED IN TERRACES.—Stetlar.
 
CORSET DISPLAY. SHOWING THREE CIRCLES OF GRADED SIZES SET BACK OF EACH OTHER AND PUFFED IN DIFFERENT TINTS.—Stritt.
 
EMBROIDERY SILKS AND LINENS.—Paris.
 
DISPLAY OF ART GOODS.—Warner.
 
DISPLAY OF FANCY LINENS.—Stritt.
 
FANCY GOODS.—Newton.
 
DISPLAY OF FANCY GOODS.—Moss.
 
DISPLAY OF MUSLIN UNDERWEAR.—McKnew.
 
DISPLAY OF MUSLIN UNDERWEAR.—Morton.
 
DISPLAY OF MUSLIN UNDERWEAR.—Walker.
 
DISPLAY OF MUSLIN UNDERWEAR.—Softley.
 
DISPLAY OF MUSLIN UNDERWEAR.—Higgins.
 
DISPLAY OF SILK WAISTS AND SKIRTS.—Higgins.
 
DISPLAY OF KNIT UNDERWEAR.—Hulligan.
 
COTTON GOODS DISPLAY.—Hyslop.
 
DISPLAY OF BLANKETS.—Luz.
 
BLANKET DISPLAY.—Ross.
 
BLANKET DISPLAY.—Kupfer.
 
MILLINERY DISPLAY.—Moses.
 
MILLINERY DISPLAY.—Green.
 
MILLINERY DISPLAY.—McNiff.
 
MILLINERY DISPLAY.—Lundy.
 
MILLINERY DISPLAY.—Walker.
 
MILLINERY DISPLAY.—Chambers.
 
MILLINERY DISPLAY.—Rinehart.
 
MILLINERY DISPLAY.—Barnes.
 
MILLINERY DISPLAY.—Blumenthal.
 
MILLINERY DISPLAY.—Herr.
 
DISPLAY OF LINING TAFFETAS.—Watson.
 
WASH GOODS DISPLAY.—Luz.
 
GINGHAM DISPLAY.—Ackerman.
 
DRESS GOODS DISPLAY.—Sawyer.
 
DRESS GOODS DISPLAY.—Kelley.
 
DRESS GOODS DISPLAY.—Sawyer.
 
DISPLAY OF SCOTCH GINGHAMS.—Hornbrook.
 
DISPLAY OF SCOTCH FLANNELS.—Anderson.
 
SILK DISPLAY.—Richards.
 
SILKS AND PARASOLS.—Toms.
 
SILK DISPLAY.—Ross.
 
DISPLAY OF WINTER SILKS.—Watson.
 
FOULARD SILKS.—Walker.
 
DRESS SILKS.—Baum.
 
DISPLAY OF JACKETS.—Leppke.
 
DISPLAY OF SHIRT WAISTS.—Kupfer.
 
DISPLAY OF COSTUMES AND DRESS GOODS.—Rondaloux.
 
COSTUME DISPLAY.—Griffith.
 
COSTUME DISPLAY.—Hyslop.
 
COSTUME DISPLAY.—Carl.
 
DISPLAY OF JACKETS.—Chambers.
 
DISPLAY OF FURS.—Shogran.
 
DISPLAY OF RUGS.—Herr.
 
RUG DISPLAY.—Moss.
 
DISPLAY OF TRUNKS AND TRAVELING BAGS.—Elvin.
| Page | Changed from | Changed to | 
|---|---|---|
| 33 | form of planting radiating in all directions | form of pleating radiating in all directions | 
| 37 | trips will make a good frame. Any style | strips will make a good frame. Any style | 
| 41 | not obtainable, don’t entertain a | not obtainable, don’t entertain a trimmer | 
| 93 | Then build upright (C, figs. 2 and 2) | Then build upright (C, figs. 2 and 3) | 
| 104 | to be separated by angles of 15 degrees, as | to be separated by angles of 45 degrees, as | 
| 145 | place is thus covered, so that your total exposure | plate is thus covered, so that your total exposure |