Title: Dictionnaire raisonné de l'architecture française du XIe au XVIe siècle - Tome 9 - (T - U - V - Y - Z)
Author: Eugène-Emmanuel Viollet-le-Duc
Release date: December 28, 2009 [eBook #30789]
Language: French
Credits: Produced by Michel Laglasse, Rénald Lévesque and the Online
Distributed Proofreaders Europe at http://dp.rastko.net.
Droits de traduction et de reproduction réservés.
PARIS.--IMPRIMERIE DE E. MARTINET, RUE MIGNON, 2.


PARIS
A. MOREL, ÉDITEUR
RUE BONAPARTE, 13.


TABERNACLE, s. m. Nom que l'on donne aujourd'hui à une petite armoire placée sur l'autel, au milieu du retable, et qui sert à déposer le ciboire.
L'établissement des tabernacles sur les autels ne date que du dernier siècle. Les hosties étaient déposées, jusqu'au XVIIe siècle, dans des édicules placés à côté de l'autel, ou dans une suspension (voyez AUTEL, et dans le Dictionnaire du mobilier français, l'article TABERNACLE). Ces édicules placés près de l'autel étaient de bois, de pierre ou de métal, avec lanterne pour loger une lampe. On voit encore quelques-uns de ces tabernacles, datant du XVIe siècle, dans des églises de Belgique. Souvent ces réserves de la sainte Eucharistie étaient mobiles, et n'étaient placées près de l'autel que pendant le service divin.
TAILLE, s. f. On dit: «Une bonne taille, une taille négligée, une taille layée, pour indiquer la façon dont est traité un parement de pierre. La nature de la taille est un des moyens les plus certains de reconnaître la date d'une construction; mais, dès le XIIe siècle, les diverses écoles de tailleurs de pierre ont des procédés qui leur appartiennent, et qu'il est nécessaire de connaître pour éviter la confusion. Ainsi certaines provinces n'ont jamais adopté la laye ou bretture 1, ou n'ont employé cet outil que très-tard. Des tailleurs de pierre ne se sont servis que du ciseau étroit ou large; quelques contrées ont employé de tout temps le marteau taillant sans dents, avec plus ou moins d'adresse.
Autant les ravalements des édifices romains, élevés sous l'influence ou sous la direction d'artistes grecs, sont faits avec perfection, autant les parements de nos monuments gallo-romains de l'empire sont négligés. D'ailleurs les Grecs, comme les Romains, posaient la pierre d'appareil à joints vifs sans mortier, épannelée, et ils faisaient un ravalement lorsque l'oeuvre était montée. Quand ils employaient des matières dures comme le granit ou le marbre, la taille était achevée avant la pose. Beaucoup de monuments grecs, en pierre d'appareil, sont restés épannelés. Le temple de Ségeste, par exemple, le grand temple de Sélinonte, de l'époque dorienne, ne montrent, sur bien des points, que des tailles préparatoires.
Quant aux édifices romains en pierre d'appareil, il en existe très-peu qui aient été complétement ravalés. Le Colisée, la porte Majeure à Rome, les arènes de Nîmes et d'Arles, celles de Pola, ne présentent que des ravalements incomplets. Il est évident que, la bâtisse achevée, on s'empressait d'enlever les échafaudages, et l'on se souciait peu de terminer les ravalements, ou bien ils étaient faits avec une négligence et une hâte telles, que ces ravalements conservaient une apparence grossière.
Il suffit d'examiner les nombreux débris que nous possédons de l'époque gallo-romaine des bas temps, pour constater l'infériorité de la taille des parements, tandis que les lits et joints sont dressés avec une précision parfaite; si bien que les blocs de pierre, même dans des monuments d'une très-basse époque, sont exactement jointifs. Cette négligence des parements tenait donc au peu d'importance que les Romains attachaient à la forme, et non à l'inhabileté des ouvriers. Les tailles préparatoires sont faites, dans les monuments gallo-romains, au moyen d'une ciselure sur l'arête; le nu vu de la pierre conservant la taille de la carrière, faite à l'aide d'un taillant droit peu large. Quant aux lits et joints, ils sont taillés au moyen d'une ciselure très-fine sur les arêtes bien dégauchies, le milieu étant parfaitement aplani à l'aide d'un taillant droit large et fin. Quelquefois ces lits et joints sont moulinés, probablement à l'aide d'une pierre dure et rugueuse, comme de la meulière, par exemple, ou de la lave. L'emploi de la lave, pour mouliner les lits et joints, parait avoir été en usage dans les Gaules, car là où il existe des restes de constructions gallo-romaines, nous avons fréquemment trouvé des morceaux de lave, bien que les contrées où existent ces restes soient fort éloignées des pays volcaniques.
À la chute de l'empire romain, les connaissances de l'appareilleur se
perdent entièrement. On ne construit plus qu'en moellon smillé, et les
quelques blocs de pierre de taille qu'on met en oeuvre dans les bâtisses
sont à peine dégrossis. Cependant une façon nouvelle apparaît dans la
taille de ces parements de moellons. On sait le goût des races
indo-germaniques pour les entrelacs de lignes.
Les bijoux que l'on
découvre dans les tombeaux mérovingiens présentent une assez grande
variété de ces combinaisons de lignes croisées, contrariées, en épis,
formant des méandres ou des échiquiers. On voit apparaître à l'époque
mérovingienne les tailles dites en arête de poisson (fig. 1), et ce
genre de tailles persiste assez tard chez les populations qui conservent
les traditions germaniques. Ces tailles en épis sont faites à l'aide du
taillant droit romain large. Jusqu'à l'époque carlovingienne, la
ciselure semble abandonnée. On ne construit plus en pierres d'appareil.
Nous voyons au contraire la ciselure employée partout dans les tailles
de pierre appartenant aux VIIIe et IXe siècles, ciselure inhabilement
faite, mais cependant cherchée, travaillée. Les moulures sont
complétement traitées pendant cette époque, à l'aide du ciseau. Pour les
parements simples, ils sont grossiers, faits à la pointe et dressés avec
le taillant droit large. C'est en Bourgogne et dans le Charolais, pays
riches en pierres dures, que vers la fin du XIe siècle on voit
apparaître une taille très-bien faite à l'aide du taillant droit étroit,
sans ciselures. Alors les pierres d'appareil étaient toutes entièrement
taillées avant la pose, on ne faisait pas de ravalements: l'habitude que
les ouvriers avaient prise, depuis la chute de l'empire romain, de bâtir
en moellon smillé, posé sur lits épais de mortier, leur avait fait
perdre la tradition des ravalements. Du moellon smillé ils arrivaient
peu à peu à employer des pierres d'un échantillon plus fort, puis enfin
la pierre d'appareil, mais ils continuaient à la poser comme on pose le
moellon qui ne se ravale pas; et ils taillaient chaque bloc sur le
chantier, soignant d'ailleurs autant les lits et joints que les
parements. Les constructions du XIe siècle que l'on voit encore en
Bourgogne, et sur les bords de la Saône, présentent de beaux parements,
dont la taille par lignes verticales sur les surfaces droites, et
longitudinales sur les moulures, est égale partout, fine et serrée.
C'est à cette époque que l'on reconnaît souvent l'emploi du tour pour
les colonnes et bases, et le polissage parfois pour des moulures
délicates à la portée de la main. En Auvergne, vers ce même temps, les
tailles, quoique un peu plus lourdes que dans la Bourgogne et le
Charolais, sont bien faites, régulières, et parfois rehaussées par de la
ciselure sur les moulures. Avant le XIIe siècle, dans l'Île-de-France,
les tailles sont grossières, mal dressées, et rappellent celle des
monuments gallo-romains.
Dans le Poitou, le Berri et la Saintonge, les tailles, avant le XIIe siècle, sont extrêmement grossières, faites à l'aide d'un taillant épais, coupant mal, écrasant le parement, et laissant voir partout les coups du pic ou du poinçon à dégrossir. La ciselure apparaît dans les moulures, mais elle est exécutée sans soin et par des mains inhabiles.
C'est avec le XIIe siècle, au moment où se fait sentir en Occident l'influence des arts gréco-romains de la Syrie, que les tailles se relèvent et arrivent très-promptement à une perfection absolue. Dans toutes les provinces, et notamment en Bourgogne, dans la haute Champagne, dans le Charolais et dans la Saintonge, les progrès sont rapides, et les tailleurs de pierre deviennent singulièrement habiles. On voit alors apparaître certaines recherches dans la façon de traiter les diverses tailles: les parements unis sont dressés au taillant droit, tandis que les moulures sont travaillées au ciseau et souvent polies. L'emploi de la bretture commence à se faire voir sur les bords de la Loire, dans le pays chartrain et dans le domaine royal. C'est vers 1140 que cet outil paraît être d'un usage général dans les provinces au nord de la Loire, tandis qu'il n'apparaît pas encore en Bourgogne et dans tout le midi de la France. Les tailles à la bretture ne se montrent en Bourgogne que vers 1200, et elles n'apparaissent que cinquante ans plus tard sur les bords de la Saône et du Rhône, en Auvergne et dans le Languedoc. Le choeur de l'église abbatiale de Vézelay, qui date des dernières années du XIIe siècle, et qui présente des tailles si merveilleusement exécutées, montre en même temps l'emploi du taillant droit très-fin, du ciseau, du polissage, et, dans quelques parties, de la bretture à larges dents. Les bases, les tailloirs des chapiteaux, les moulures des bandeaux, sont polis et d'une pureté d'exécution incomparable. Même exécution dans l'église de Montréal (Yonne), de la même époque. Ces différences de natures de taille produisent beaucoup d'effet et donnent aux profils une finesse particulière. À dater du XIIIe siècle, l'école de l'Île-de-France, qui prend la tête de l'art de l'architecture, n'emploie plus que la bretture, mais elle polit souvent les profils à la portée de la main, tels que les bases des colonnes. Ce fait peut être observé à Notre-Dame de Paris, à Notre-Dame de Chartres, à la cathédrale de Troyes, à Saint-Quiriace de Provins, à la sainte Chapelle du Palais, et dans un grand nombre de monuments.
Pendant ce temps, dans les contrées où le grès rouge abonde, dans les Vosges et sur les bords du Rhin, on continue de faire les tailles à l'aide du poinçon, du large ciseau et du marteau de bois. On voit beaucoup de tailles de ce genre à Strasbourg, où l'on se sert encore aujourd'hui du même outillage. Dans la cathédrale de cette ville, on remarque une grande variété de tailles du XIe au XIVe siècle, obtenues avec les mêmes outils. Ainsi, dans la crypte de ce monument, sur le mur nord, on voit des tailles faites au poinçon qui donnent ce dessin (fig. 2).

Aux voûtes de cette même crypte (XIIe siècle), les tailles sont façonnées en épis à l'aide du large ciseau strasbourgeois (fig. 3). L'église de Rosheim, près de Strasbourg (XIIe siècle), présente extérieurement et intérieurement des parements taillés au ciseau large, ainsi que l'indique la figure 4.

Il faut dire que le grès rouge des Vosges ne peut guère être parementé autrement qu'à l'aide de ce large ciseau, et les tailleurs de pierre de cette contrée mettaient une certaine coquetterie à obtenir des tailles d'une régularité et d'une finesse que permettait la nature des matériaux. Dans l'Île-de-France, nos tailleurs de pierre, au XIIIe siècle, taillent non-seulement les parements, mais aussi les moulures les plus délicates, à la bretture, ce qui exige une grande adresse de main. Cet outil (la bretture) est dentelé avec d'autant plus de finesse, que les profils deviennent plus délicats. Au XIVe siècle, ces profils acquièrent souvent une telle ténuité, que la bretture ne saurait les dégager; alors on emploie la ripe, sorte de ciseau recourbé et dentelé très-fin, et c'est perpendiculairement à la moulure que cet outil est employé (fig. 5).

Ainsi le tailleur de pierre modèle son profil, comme le ferait un graveur, pour faire sentir les diverses courbures. La ripe, au XVe siècle, est l'outil uniquement adopté pour terminer tout ce qui est mouluré, et la bretture n'est plus employée que pour les parements droits.
Dans des contrées où l'on n'avait que des pierres très-dures, telles que certains calcaires jurassiques, le grès, la lave et même le granit, on continue à employer le poinçon, le ciseau et le taillant droit. La bretture, et à plus forte raison la ripe, n'avaient pas assez de puissance pour entamer ces matières. Tous les profils étaient dégagés au ciseau et terminés au taillant droit très-étroit, employé longitudinalement. On ne voit de traces de l'outil appelé boucharde que dans certains monuments du Midi bâtis de grès dur, comme à Carcassonne, par exemple, et cet outil n'apparaît-il que fort tard, vers la fin du XVe siècle. Encore n'est-il pas bien certain qu'il fût fabriqué comme celui que l'on emploie trop souvent aujourd'hui. C'était plutôt une sorte de grosse bretture à dents obtuses, au lieu d'être coupantes. Jusqu'à la fin du XVe siècle, la taille de la pierre, en France, est faite avec une grande perfection, souvent avec une intelligence complète de la forme et de l'effet à obtenir. Les parements unis ne sont jamais traités comme les moulures. Le grain de la bretture, et plus tard de la grosse ripe, apparaît sur ces parements, tandis qu'il est à peine visible sur les parties profilées. Des détails polis viennent encore donner de la variété et du précieux à ces tailles.
Avec le XVIe siècle, trop souvent la négligence, l'uniformité, le travail inintelligent, remplacent les qualités de tailles qui ressortent sur nos vieux édifices. Puis, depuis le milieu du XVe siècle, on ne mettait plus guère en oeuvre que les pierres tendres à grain fin et compacte, comme la pierre de Vernon, les pierres de Tonnerre, le Saint-Leu le plus serré. Il n'était plus possible, sur ces matériaux, de se servir de la bretture, on employait les ripes grosses et fines. Ces outils ont l'inconvénient, pour les parements unis surtout, si l'ouvrier n'a pas la main légère, d'entrer dans les parties tendres, et de se refuser à attaquer celles qui sont plus dures. Il en résulte que les surfaces ripées sont ondulées, et produisent le plus fâcheux effet sous la lumière frisante. On en vient à passer le grès sur ces parements pour les égaliser, et cette opération amollit les tailles, leur enlève cette pellicule grenue et chaude qui accroche si heureusement les rayons du soleil. Les moulures, les tapisseries, prennent un aspect uniforme, froid, mou, qui donne à un édifice de pierre l'apparence d'une construction couverte d'un enduit.
TAILLOIR, s. m.--Voyez ABAQUE.
TAPISSERIE, s. f. Nom que l'on donne à tout parement uni, soit à l'intérieur, soit à l'extérieur d'un édifice. On dit: «Les tapisseries sont bien dressées», pour indiquer qu'un parement est bien fait, bien dégauchi et bien ravalé ou enduit.
TAPISSERIE, tenture d'étoffe.--Voyez le Dictionnaire du mobilier français.
TAS, s. m. Ensemble de l'oeuvre où sont mis en place les divers matériaux préparés sur les chantiers.
TAS DE CHARGE, s. m. Assises de pierres à lits horizontaux que l'on place sur un point d'appui, sur une pile ou un angle de mur entre des arcs, pour recevoir des constructions supérieures. Se dit aussi de certains encorbellements, comme, par exemple, des séries de corbeaux qui reçoivent le crénelage d'une courtine ou d'une tour (voyez MÂCHICOULIS).
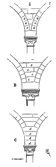
On conçoit aisément que lorsque plusieurs arcs viennent reposer sur la tête d'une pile dont la section n'est pas considérable, les lits inclinés des claveaux a (fig. 1) ne présentent pas une assiette propre à recevoir une charge supérieure b.

Celle-ci tend à faire glisser ces claveaux ou à les écraser, parce qu'ils présentent leur angle d'extrados sous son action verticale. Alors (voyez en B), dans les constructions bien entendues, ou on laisse entre l'extrados de ces claveaux des assises horizontales c épousant la courbure de l'arc, ou, si la place ne le permet pas, on pose une série de sommiers d (voy. en C) avec lits horizontaux (voyez CONSTRUCTION, fig. 46, 46 bis, 48 ter, 49 bis, 81, 96 et 127). Quelquefois les constructeurs du moyen âge ont formé des arcs presque entièrement composés d'assises en tas de charge, pour éviter les poussées sous une pression considérable. Telles sont appareillées les archivoltes des grandes baies des deux tours occidentales de la cathédrale de Reims, afin de supporter les flèches de pierre projetées sur ces tours.
L'absence des tas de charge sur des piliers a occasionné l'écrasement de ceux-ci. Cela se rencontre assez fréquemment dans des constructions de la fin du XIIe siècle.

Il est clair que si l'on appareille sur une pile des arcs ainsi que ceux tracés en a (fig. 2), tout le poids des constructions supérieures, glissant le long des extrados de ces arcs, vient faire coin en b et exercer sur ce seul point une pression qui eût dû être répartie sur toute la surface de la pile. Les arcs pressés à la clef en c tendent à s'écraser en d, peuvent se disloquer, ne plus épauler qu'imparfaitement le coin de pression. Celui-ci, reposant sur son angle seulement, s'écrase, et les pressions, agissant très-irrégulièrement sur la pile, brisent ses assises. Cet accident, assez fréquent, ainsi que nous venons de le dire, dans des édifices bâtis au XIIe siècle, où l'on n'avait pas encore acquis une parfaite expérience de l'effet des grandes constructions voûtées reposant sur des points d'appui grêles, doit éveiller l'attention des architectes chargés de la restauration de ces constructions. Souvent, en apercevant des piles écrasées, bien que d'une section notable, on croit à l'insuffisance des matériaux employés, et l'on se contente de remplacer les assises éclatées. C'est là l'effet; mais la cause réside presque toujours dans les sommiers qui n'ont pas de tas de charge ou de lits horizontaux au-dessus des chapiteaux, à la naissance des arcs. Il est donc urgent de supprimer cette cause.
L'opération est souvent périlleuse, et demande de l'attention. Remplacer les assises écrasées d'une pile, dans ce cas, sans relancer les sommiers en tas de charge ou à lits horizontaux, à la place des claveaux disposés comme il est dit ci-dessus, c'est faire un travail inutile.
Les accidents qui s'étaient produits dans des édifices du XIIe siècle, à cause de l'absence ou de l'insuffisance des tas de charge, ne furent pas perdus pour les maîtres du XIIIe, siècle. Ceux-ci en vinrent bientôt, ainsi que nous le démontrons dans l'article CONSTRUCTION, à ne plus donner de coupes aux claveaux que quand leur extrados échappait à l'aplomb de la charge supérieure (fig. 3).

Ce principe une fois admis, ils en tirèrent des conséquences nombreuses; ils parvinrent ainsi souvent à neutraliser presque complétement des poussées d'arcs sur des murs, ou à diminuer considérablement le volume et le poids des maçonneries destinées à contre-buter ces poussées.

La théorie de ce principe est celle-ci (fig. 4): Soit une nef voûtée en arcs d'ogives A, avec triforium B et galerie C au-dessus, à la naissance des grandes voûtes, avec bas côté D également voûté en arcs d'ogives. Il s'agit: 1° de ne pas écraser les piles cylindriques E; 2° de ne pas avoir un cube de culées d'arcs-boutants F considérable. Les contre-forts G sont élevés suivant une saillie assez prononcée pour présenter non-seulement une butée suffisante aux voûtes des collatéraux, mais encore une assiette assez large pour résister à une pression inégale. Les assises H de ces contre-forts sont taillées en tas de charge au droit de la naissance des arcs-doubleaux et arcs ogives I des voûtes des bas côtés, afin de recevoir sur leurs lits horizontaux le porte-à-faux de la pile F en K. De même en L, les assises au droit de la naissance des arcs-boutants M sont taillées en tas de charge pour recevoir le pinacle N en porte-à-faux. La ligne ponctuée NO étant l'aplomb du parement intérieur P, il est clair que si l'arc-boutant M n'existait pas, tout le système de la pile butante serait en équilibre avec une propension, au moindre mouvement, à se déverser en L. Cet empilage d'assises tend donc à s'incliner vers la grande voûte, et à exercer par conséquent sur celle-ci une pression. C'est l'arc-boutant qui transmet cette pression. Au-dessus de la pile ou colonne E, les assises sont taillées en tas de charge en R, pour recevoir sur des lits horizontaux la pile S. Les assises de naissance des arcs-doubleaux et arcs ogives de la grande voûte T sont taillées en tas de charge pour reporter la pression des claveaux sur la pile V et sur la colonne E. Ainsi c'est à l'aide de ces tas de charge que l'équilibre du système général est obtenu. C'est grâce à l'équilibre de la pile F, tendant à s'incliner vers l'intérieur de l'édifice, que la butée de l'arc-boutant peut être sensiblement réduite. Le chapiteau de la pile E étant plus saillant vers la nef que vers le bas côté, a ainsi son axe sous la résultante des pressions de la grande voûte, résultante rendue presque verticale par la butée de l'arc-boutant. Les assises en tas de charge R ont encore pour effet d'empêcher la poussée des voûtes des bas côtés, de faire rondir les piliers E vers l'intérieur, en reportant la résultante de pression de ces voûtes suivant l'axe de ces piliers.
C'est conformément à cette théorie que l'église si intéressante de Notre-Dame de Dijon a été construite. Malheureusement l'exécution peu soignée, faite avec trop de parcimonie et par des ouvriers qui ne comprenaient pas parfaitement le système adopté, laisse trop à désirer. La conception n'en est pas moins très-remarquable et due à un maître savant. C'est en mettant d'accord l'exécution avec la théorie, que ce monument peut être restauré sans beaucoup d'efforts. Il ne faudrait pas croire que ces combinaisons de structure nuisent à l'effet, car certainement l'église de Notre-Dame de Dijon est un des beaux monuments de la Bourgogne. Il ressort même de l'adoption de ce système d'équilibre une franchise de parti, une netteté, qui charment les yeux les moins exercés.
Les maîtres des XIVe et XVe siècles, très-savants constructeurs, ne négligèrent pas d'employer les tas de charge, et ils en comprenaient si bien l'importance, qu'ils avaient le soin de les faire tailler dans de très-hautes assises, pour supprimer les chances de rupture. Mais à l'article CONSTRUCTION on trouvera de nombreux exemples de l'emploi de ce système d'appareil.
TEMPLE, s. m. Neuf chevaliers, compagnons d'armes de Godefroy de Bouillon, firent voeu devant Garimond, patriarche de Jérusalem, de se consacrer à la terre sainte 2. Vivant d'aumônes, voués au célibat, consacrant tous les instants de leur vie à protéger les pèlerins, à détruire le brigandage et à combattre les infidèles, ils obtinrent de Baudouin II, roi de Jérusalem, de demeurer près du temple, dans une des dépendances du palais de ce prince. Dès lors ils furent appelés Templiers ou chevaliers du Temple, ou encore soldats du Christ (Christi milites).
Ces premiers chevaliers du Temple étaient soumis à la règle de Saint-Augustin. Ayant été admis près du pape Honoré II pour obtenir une constitution particulière, ce pontife les envoya au concile de Troyes, en 1128, où saint Bernard composa pour eux une règle fixe qui fut adoptée. Bientôt cet ordre devint un des plus riches et des plus puissants de la chrétienté. Du temps de Guillaume de Tyr, le couvent de Jérusalem comptait trois cents chevaliers et un nombre beaucoup plus considérable de frères servants. Des commanderies s'élevèrent sur tout le sol de l'Occident, en outre des établissements de Palestine et de Syrie. Les templiers, dès le XIIe siècle, possédaient des châteaux, des places fortes, des terres en nombre prodigieux, si bien que le P. Honoré de Sainte-Marie estime que les revenus de l'ordre s'élevaient à la somme de 54 000 000 de francs 3.
On donnait le nom de temples, pendant le moyen âge, aux chapelles des commanderies de templiers; ces chapelles étaient habituellement bâties sur plan circulaire, en souvenir du saint sépulcre, et assez exiguës. Bien entendu, les plus anciennes chapelles de templiers ne remontent qu'au milieu du XIIe siècle environ, et elles furent presque toutes bâties à cette époque.
Le chef-lieu de l'ordre, après l'abandon de Jérusalem par les Occidentaux était Paris. Le Temple de Paris comprenait de vastes terrains dont la surface équivalait au tiers de la capitale; il avait été fondé vers 1148, ou, d'après Félibien, au retour de la croisade de Louis VII. Au moment du procès des templiers, c'est-à-dire en 1307, les bâtiments du Temple à Paris se composaient de la chapelle circulaire primitive du XIIe siècle, qui avait été englobée dans une nef du XIIIe, d'un clocher tenant à cette nef, de bâtiments spacieux pour loger et recevoir les frères hospitaliers. Mathieu Paris raconte que Henri III, roi d'Angleterre, à son passage à Paris, en 1254, logea au Temple, où s'élevaient de nombreux et magnifiques bâtiments destinés aux chevaliers, lors de la tenue des chapitres généraux; car il ne leur était permis de loger ailleurs 4. En 1306, une année avant l'abolition de l'ordre, le donjon était achevé; il avait été commencé sous le commandeur Jean le Turc. Ce donjon consistait en une tour carrée fort élevée, flanquée aux quatre angles de tourelles montant de fond, contenant des escaliers et des guettes 5. L'étendue, la beauté, la richesse et la force du Temple à Paris, provoquèrent l'accusation portée contre eux. En effet, l'année précédente, en 1306, le roi Philippe le Bel s'était réfugié au Temple pendant les émeutes soulevées contre les faux monnayeurs, et, de cette forteresse, il put attendre sans crainte l'apaisement des fureurs populaires. Il songea dès lors à s'approprier une résidence plus sûre, plus vaste et splendide que n'étaient le Palais et le Louvre.
L'hospitalité magnifique donnée aux princes par les templiers, possesseurs de richesses considérables, sagement gouvernées, ne pouvait manquer d'exciter la convoitise d'un souverain aussi cupide que l'était Philippe le Bel. Plus tard l'hospitalité que Louis XIV voulut accepter à Vaux ne fut guère moins funeste au surintendant Fouquet.
Les derniers chevaliers du Temple qui quittèrent la Palestine revinrent en Occident, possesseurs de 50 000 florins d'or et de richesses mobilières considérables. Ces trésors n'avaient fait que s'accroître dans leurs commanderies par une administration soumise à un contrôle sévère. Le mystère dont s'entouraient les délibérations de l'ordre ne pouvait d'ailleurs qu'exagérer l'opinion que l'on se faisait de leurs biens. Dès qu'ils eurent été condamnés et exécutés, Philippe le Bel s'installa au Temple. Quant aux trésors, ils passèrent dans ses mains et dans celles du pape Clément V, complice du roi dans cette inique et scandaleuse procédure. Plus tard le Temple de Paris et les commanderies de France furent remis aux chevaliers de Saint-Jean de Jérusalem 6, puis de Rhodes et de Malte.
Sauval 7 s'exprime ainsi au sujet du Temple: «C'est une église gothique, accompagnée devant la porte d'un petit porche ou vestibule antique, et enrichi en entrant d'une coupe (coupole), dont la voûte est égale à celle du vaisseau, et soutenue sur six gros piliers qui portent des arcades au premier étage, et sur autant de pilastres au second, qui s'élèvent jusqu'à l'arrachement de la voûte. Cette coupe (coupole) est entourée d'une nef, dont la voûte a une élévation pareille à ces arcades. Cette partie d'entrée, qui est l'unique en son espèce que j'ai encore vue en France, en Angleterre et dans les dix-sept provinces, non-seulement est majestueuse et magnifique par dedans, mais encore fait un effet surprenant et plaisant à la vue par dehors.
Le circuit de ce lieu, dit Corrozet 8 (le Temple, ses dépendances et cultures), est très-spacieux et plus grand que mainte ville renommée de ce royaume; il est clos de fortes murailles à tourelles et carneaux larges, pour y cheminer deux hommes de front. Là sont plusieurs chapelles et logis en ruyne, qui servaient aux congrégations des templiers, chacun en sa nation... Y sont aussi plusieurs riches bastimens nouveaux faits par les chevaliers de Rhodes, auxquels les biens desdits templiers furent donnez, et par conséquent ledit lieu du Temple, dont l'église est faite à la semblance du temple de Jérusalem....»

Réunissant les renseignements que nous avons pu nous procurer sur le Temple de Paris 9, nous donnons le plan de l'église (fig. 1). La rotonde datait de la première moitié du XIIe siècle. Après la sortie des templiers de la Palestine, cette rotonde fut augmentée au porche A, dont parle Sauval, et un peu plus tard de la grande nef B. Le bas du clocher C datait également du XIIe siècle, et l'étage du beffroi du commencement du XIIIe siècle.
Le porche A était à claire-voie dans la partie inférieure, et vitré dans la partie supérieure. Cette disposition, adoptée fréquemment pour les cloîtres, produisait ici un effet très-pittoresque, ainsi que le remarque Sauval. Une coupe longitudinale (fig. 2) fera saisir la disposition originale de ces constructions ajoutées à la rotonde primitive.

En A, est le porche avec ses claires-voies latérales; au-dessus, les fenêtres vitrées. C'est à peu près la disposition qui subsiste à Aix-la-Chapelle, mais mieux entendue. La rotonde englobée avait conservé ses voûtes et son étage supérieur, qui formait saillie extérieurement sur les parois du narthex et de la grande nef 10. Le triangle équilatéral avait été le générateur du plan de la rotonde. On sait que le triangle équilatéral était un des signes adoptés par les templiers. Des fragments de vitraux fournis par M. de Penguern, et provenant de la chapelle de la commanderie de Brelvennez, laissent voir la croix de gueules entourée de l'orle d'or des templiers et le triangle équilatéral. Dans la chapelle de Saint-Jean de Creac'h, près de Saint-Brieuc, sont placées plusieurs dalles tombales de chevaliers du Temple. Sur l'une d'elles est gravée une petite croix latine, et au-dessous une épée posée diagonalement; entre l'épée et la croix est un triangle équilatéral 11.
Il ne faut pas oublier que les fondateurs de l'ordre du Temple étaient au nombre de neuf (carré de 3), qu'il ne leur fut permis d'ordonner de nouveaux frères qu'après neuf années, et que les nombres 3 et 9 se retrouvent fréquemment dans les chapelles des commanderies. La grande rotonde de Paris possédait à l'intérieur six piliers, et extérieurement douze travées (fig. 1). Son tracé n'avait pu être obtenu donc que par deux triangles équilatéraux se pénétrant, ainsi que l'indique la figure 3.

La chapelle de la commanderie de Laon, qui date du milieu du XIIe siècle environ, est un octogone dont les côtés, intérieurement, ont neuf pieds.

Cette chapelle (fig. 4) parait avoir été bâtie d'un seul jet, sauf l'abside, qui peut être quelque peu postérieure. Elle possède un porche ou narthex, avec tribune au-dessus, bâtie après coup, et qui était mise en communication avec les logis de la commanderie. Les murs de l'octogone ont trois pieds d'épaisseur, les contre-forts trois pieds de largeur. Une assise de bancs de pierre est disposée à la base des parois intérieures. Voici (fig. 5) la coupe longitudinale de cette chapelle. La voûte est construite à pans, avec nervures saillantes sous les arêtes rentrantes.

Les dispositions de ces chapelles exiguës, avec sanctuaire peu important, indiquent assez que les chevaliers du Christ ou du Temple n'admettaient pas le public pendant les cérémonies religieuses. Ces chapelles servaient aussi de lieu de séances pour les délibérations, qui, d'ordinaire, se tenaient la nuit. D'ailleurs d'une extrême sobriété d'ornementation, ces petits monuments du XIIe siècle se ressentent de l'influence de l'abbé de Citeaux, qui avait rédigé les statuts de l'ordre. Cette simplicité se retrouve sur les dalles tumulaires que l'on rencontre encore dans ces édifices; dépourvues d'inscriptions, elles ne montrent que la croix de l'ordre, une épée, un triangle ou quelques attributs, très-rarement des écussons armoyés 12. Dans la chapelle de Laon, trois de ces tombes existent à l'entrée du sanctuaire; elles sont ornées de la croix pattée en gravure.
Les templiers possédaient en Syrie et en Occident un grand nombre de châteaux et de forteresses 13. Obligés de quitter la terre sainte après le siége d'Acre, en 1291, rentrés en France, en Angleterre, en Espagne, où ils possédaient des commanderies, et rapportant avec eux de grandes richesses, malgré les désastres de leur ordre, ils employèrent ces trésors à augmenter et à embellir leurs résidences; leurs loisirs, à former, dans l'État féodal déjà vers son déclin, une corporation compacte, puissante, occupée d'intrigues diplomatiques, hautaine, avec laquelle tous les pouvoirs devaient compter. Leurs grands biens, administrés avec économie à une époque où tous les propriétaires terriens et les suzerains eux-mêmes manquaient toujours d'argent, leur permettaient de prêter des sommes importantes: il est à croire que ce n'était pas sans intérêts. Une pareille situation leur créa de nombreux et puissants ennemis, et le jour où Philippe le Bel, qui était parmi leurs débiteurs, se décida à les faire arrêter et à leur intenter le plus inique et le plus monstrueux procès, le roi eut pour lui l'opinion de la féodalité, du clergé et des établissements monastiques. Le mystère dont s'entouraient les templiers prêtait merveilleusement aux accusations absurdes auxquelles ils furent en butte. Il est certain que l'ordre des Templiers, la Palestine perdue, devenait pour les États de l'Occident un grand embarras, sinon un grand danger. Le coup d'État qui supprima cet ordre délivra le pouvoir suzerain d'un des nombreux périls qui l'entouraient, mais lui enleva dans l'opinion du peuple une partie de la foi en sa justice et en sa grandeur morale que Louis IX avait su imposer à toutes les classes du pays.
Note 6: (retour) C'est en 1317 que par une transaction passée entre les chevaliers hospitaliers et Philippe le Long, il est démontré que le séquestre des biens des templiers s'était prolongé jusqu'en 1313. Donc la couronne avait perçu, pendant une période de six ans, les énormes revenus de ces biens; de plus, tous les biens meubles et les trésors étaient restés entre les mains du roi.
Note 11: (retour) Hist. des chevaliers templiers, par Élizé de Montagnac. Paris, A. Aubry, 1864. Les francs-maçons ont prétendu continuer l'ordre du Temple, et posséder même un testament ou charte de transmission d'un grand maître dont le pouvoir secret avait été reconnu par les frères postérieurement à la mort de Jacques de Molay.
Note 13: (retour) Parmi les châteaux importants que les templiers avaient élevés en Syrie, nous citerons ceux de Tortose (Antarsous) de Safita, d'Areymeh, de Toron et d'Athlit. Ces châteaux renferment habituellement un gros donjon carré ou sur plan barlong et leurs enceintes sont également flanquées de tours quadrangulaires. «Les châteaux de Safita, d'Areymeh, d'Athlit, et surtout la forteresse de Tortose», dit M. G. Rey, dans son Essai sur la domination française en Syrie, «nous fournissent une série de types permettant de donner une étude aussi complète que possible de cet art, dont les meilleures productions se trouvent dans les principautés d'Antioche et de Tripoli, si riches, la première particulièrement, en monuments byzantins.» Tortose, adossée à la mer, fut la dernière place qu'occupèrent les templiers en Orient. Ils n'évacuèrent cette forteresse que le 5 juin 1291. En Occident, les templiers adoptèrent également, pour la construction de leurs donjons, le plan carré ou barlong. C'est sur cette donnée qu'était bâtie la tour dite de Bichat, à Paris, et qui ne fut détruite qu'en 1855. (Voy. TOUR.)
THÉÂTRE, s. m. Pendant le moyen âge, il n'existait pas de locaux destinés aux représentations scéniques. Les mystères, les farces et mômeries, les chansons de gestes dites par des acteurs, étaient représentés dans les grand'salles des châteaux, dans les églises, dans les cimetières, ou sur des échafauds dressés dans les carrefours, ainsi que cela se pratique encore pendant les foires. Ce n'est qu'au XVIIe siècle que l'on commença en France à élever des salles uniquement destinées aux jeux scéniques. Le goût pour le théâtre, cependant, remonte chez nous à une époque éloignée, et il existe des mystères et moralités qui datent de la fin du XIIe siècle.
TIERCERON, s. m. (tierceret). Nervure de voûte en tiers-point, qui, bandée entre l'arc-doubleau et le formeret, aboutit à la lierne, laquelle réunit la clef de l'arc-doubleau ou du formeret à celle des arcs ogives. (Voy. VOÛTE.)
TIRANT, s. m. Pièce de fer ou de bois qui maintient l'écartement des arbalétriers d'une ferme, ou le devers de deux murs parallèles, ou la poussée d'un arc. Les entraits, dans les charpentes de combles, sont de véritables tirants (voy. CHARPENTE). Pour fermer leurs voûtes, les constructeurs du moyen âge plaçaient provisoirement des tirants, afin d'éviter les poussées, en attendant que les piles fussent chargées. Ces tirants étaient habituellement de bois, et étaient sciés au ras de l'intrados du sommier des arcs, quand les constructions étaient terminées. À la cathédrale de Reims, ces tirants étaient de fer, avec des oeils passant dans des crochets qui sont restés en place. Il est peu de voûtes de collatéraux où l'on n'ait l'occasion d'observer la trace de ces tirants.
TOILES (PEINTES). On employait souvent, pendant le moyen âge, les toiles peintes pour tapisser les intérieurs des appartements et pour décorer les grandes salles et églises. Le trésor de la cathédrale de Reims possède encore un certain nombre de toiles peintes de la fin du XVe siècle, qui sont d'un grand intérêt. Ces toiles, dans les intérieurs des châteaux et hôtels, étaient attachées à des châssis, ou simplement suspendues à des tringles de bois ou de fer. Les clotets, ces cabinets que l'on improvisait dans les grandes pièces, étaient souvent composés de simples châssis de bois tendus de toiles peintes. (Voyez le Dictionnaire du mobilier français.)
TOMBEAU, s. m. (sepouture, sepoulture, tumbe). De tous les monuments, les tombeaux sont ceux qui présentent peut-être le sujet le plus vaste aux études de l'archéologue, de l'ethnologue, de l'historien, de l'artiste, et voire du philosophe. Les civilisations, à tous les degrés de l'échelle, ont manifesté la nature de leurs croyances en une autre vie par la façon dont elles ont traité les morts. Supprimez toute idée de la durée de l'individu au delà de l'existence terrestre, et le tombeau n'a plus de raison d'être. Or, depuis les races supérieures jusqu'aux noirs du sud de l'Afrique, on voit, en tout temps, les hommes ensevelir leurs morts avec l'idée plus ou moins nette d'une prolongation ou d'une transformation de l'existence. On pourrait faire l'histoire de l'humanité à l'aide des tombeaux, et le jour où un peuple cessera de perpétuer l'individualité des morts par un monument, un signe quelconque, la société, telle du moins qu'elle a vécu depuis les temps historiques, aura cessé d'exister. Le culte des morts est le ciment qui a constitué les premières sociétés, qui en a fait des institutions permanentes, des nationalités, c'est-à-dire la solidarité du présent avec le passé, la perpétuité des tendances, des aptitudes, des désirs, des regrets, des haines et des vengeances. Faites que les morts, chez un peuple, soient confondus dans un engrenage administratif de salubrité, et traités décemment, mais comme une matière dont il faut hâter la décomposition pour en rendre le plus tôt possible les éléments à la nature inorganique, ainsi qu'on traite un engrais; faites que cela entre dans les moeurs et les nationalités, ces agglomérations traditionnelles, puissantes et vivaces, ne seront plus que des sociétés anonymes constituées pour... tant d'années, à moins de supposer toutefois que les idées métaphysiques les plus abstraites sur l'existence de l'âme soient communément acceptées comme elles peuvent l'être par une demi-douzaine de philosophes au milieu d'un pays de plusieurs millions d'habitants. Il sera bien difficile de faire admettre l'indifférence absolue pour la dépouille périssable d'une personne que l'on a aimée, respectée ou connue. Et dans nos grandes villes, s'il est une chose qui choque le sentiment populaire, c'est ce qu'on appelle la fosse commune.
Ce n'est que depuis le XVIe siècle que l'on a imaginé de donner aux sépultures un caractère funèbre; de les entourer d'emblèmes, d'attributs ou d'allégories qui rappellent la fin, la décomposition, la douleur sans retour, l'anéantissement, la nuit, l'oubli, le néant. Il est assez étrange que ces idées se soient fait jour chez des peuples qui se piquent d'être chrétiens, et chez lesquels, en chaire, on montre la mort comme une délivrance, comme la fin des misères attachées à la courte existence terrestre. Les païens, par opposition, ont donné aux monuments funéraires un caractère plutôt triomphal que désolé. Le moyen âge avait conservé cette saine tradition; les tombeaux qu'il a élevés n'adoptent jamais ces funèbres attributs mis à la mode depuis le XVIe siècle, ces effets théâtrals ou ces froides allégories qui exigent toujours pour être comprises la présence d'un cicerone.
De la mort il ne faut point tant dégoûter les gens, puisque chacun doit subir sa loi; il ne paraît pas nécessaire de l'entourer de toute cette friperie de mélodrame, disgracieuse et ridicule. C'est à la fin de la renaissance que l'on éleva les premiers mausolées décorés d'allégories funèbres sorties de cerveaux malades: d'os de mort, de linceuls soulevés par des squelettes, de cadavres rongés de vers, etc. L'art du grand siècle ne pouvait manquer de trouver cela fort beau, et le XVIIIe siècle renchérit encore sur ces pauvretés. Ce moyen âge, que plusieurs nous présentent toujours comme maladif, ascétique, mélancolique, ne prenait pas ainsi les choses de la mort, non plus que les Grecs et les Romains. Ceux-ci avaient, comme on sait, l'habitude de brûler les cadavres, ce qui avait beaucoup d'avantages. Le long des chemins qui rayonnaient vers les cités, étaient élevés des tombeaux. Cette disposition seule indique assez que, pour ces païens, la sépulture ne faisait pas naître les idées lugubres qui s'emparent de nous aujourd'hui dans les cimetières. Ces voies des tombeaux, dont les faubourgs de Rome étaient entourés, n'empêchaient pas les gens qui passaient sur les chemins de s'entretenir des sujets les moins graves, sans que pour cela le respect pour les morts fût moins profond. Pendant le moyen âge, les cimetières ne sont pas davantage pris au point de vue lugubre, romantique. Le moyen âge, pas plus que l'antiquité, n'a peur de ses morts. Si les Grecs aimaient à s'asseoir et à deviser au pied d'une tombe placée sur le bord d'un chemin, nos aïeux se réunissaient volontiers dans les cimetières pour traiter de certaines affaires. La nuit, ces enceintes, indiquées par un fanal, servaient au besoin de refuge au voyageur, qui ne songeait point aux revenants, du moins dans nos contrées françaises. Ces cimetières étaient presque toujours entourés d'un portique bas, et c'était sous cet abri que le pauvre et le voyageur attardés, qui ne pouvaient se faire ouvrir les portes de la ville, attendaient le jour.
Nous n'entreprendrons pas la description des cimetières gallo-romains et mérovingiens. Ce travail, fait et bien fait sur une partie de la France par M. l'abbé Cochet 14, nous dispensera de parler des sépultures des premiers conquérants barbares des Gaules, d'autant que ces sépultures n'affectent aucune apparence architectonique. Ce sont des ensevelissements dans des cercueils de bois, de pierre, ou à même le sol, qui n'ont d'intérêt qu'au point de vue de l'histoire ou de l'archéologie.
Il paraîtrait que l'usage d'élever des tombeaux le long des voies publiques ne fut pas entièrement abandonné pendant la période mérovingienne. Grégoire de Tours cite plusieurs exemples de ces sortes de monuments 15. Plus tard, sous les premiers Carlovingiens, les personnages considérables tenaient à être ensevelis sous l'égout des toits des églises, chapelles ou oratoires 16. Cette coutume persista jusque vers le milieu du XIIe siècle. On enterrait aussi sous les porches des églises et dans les lieux voisins qui étaient bénis. Ce ne fut qu'à la fin du XIIe siècle que s'établit l'usage d'enterrer dans les églises, et d'élever des monuments ou de graver des dalles commémoratives sur les sépultures.
Les premiers chrétiens, contrairement à l'usage admis chez les Grecs et chez les Romains, ne brûlaient pas les corps, ils les ensevelissaient dans des niches pratiquées dans les parois de cryptes, ou dans des sarcophages de pierre ou de marbre. Ces sarcophages, si les personnages étaient considérables, restaient souvent apparents dans des chambres souterraines; ils étaient décorés de sculptures symboliques ou de signes religieux, croix, monogrammes du Christ, colombes, etc. Habituellement ils étaient posés sur des dés ou colonnettes, afin de les isoler de terre. Ces sarcophages se composaient d'une auge oblongue quadrangulaire, avec couvercle en forme de toit à deux pentes ou bombé. Le corps du défunt était déposé dans cette auge 17. Les tombeaux du moyen âge procèdent de ce principe. Mais, vers le milieu du XIIe siècle, on plaça sur le couvercle l'effigie du mort, et alors le sarcophage n'était plus ordinairement qu'un simulacre et le corps était déposé au-dessous, dans une fosse ou un petit caveau. Ce fut aussi vers cette époque que l'on se contenta souvent de placer sur le cercueil enterré une dalle gravée ou une lame de bronze représentant le défunt. La partie principale du tombeau, le sarcophage, ou plutôt son simulacre, ne fut bientôt qu'un accessoire, un véritable socle portant des figures couchées, et le monument, outre ces statues, se composa de dais élevés ou de sortes de chapelles en façon de larges niches.
Les tombeaux du moyen âge peuvent donc être divisés en trois séries: la première comprend les sarcophages proprement dits, plus ou moins décorés de sculptures, mais sans représentation du défunt; sarcophages apparents, placés au-dessus du sol; la seconde, les socles posés sur une sépulture, portant parfois l'effigie du mort, et placés, soit dans une sorte de niche ou petite chapelle, soit sous un édicule en forme de dais; la troisième, les tombes plates posées au niveau du pavé des églises, gravées ou en bas-relief, et formant comme le couvercle de la fosse renfermant le cercueil.
Les sarcophages contenant réellement les corps, sans effigie, ne se trouvent guère passé le XIIe siècle, mais ils sont très-nombreux pendant les périodes mérovingienne et carlovingienne.

Voici (fig. 1) quelques-unes des formes qu'affectent ces sarcophages 18. Pendant les XIIe et XIIe siècles, on creusa encore des sarcophages rectangulaires, comme pendant la période gallo-romaine, avec bas-reliefs sculptés sur les parois. Nous citerons, entre autres, le sarcophage de saint Hilaire le Grand, de Poitiers, dessiné par Gaignères (Collect. Bodléienne), et qui datait du XIe siècle; celui de saint Hilaire, près de Carcassonne, du XIIe siècle; ceux des comtes de Toulouse, placés contre les parois du transsept méridional de Saint-Sernin de Toulouse, XIe et XIIe siècles. Ces derniers ont été posés sur des colonnettes, dans une sorte de petite chapelle extérieure, vers la fin du XIIe siècle. Dans les provinces méridionales, la Provence, le Languedoc, le Lyonnais, l'usage de déposer les corps dans des sarcophages de marbre persista longtemps: c'était une habitude antique conservée chez ces populations. Au musée de Toulouse, on voit des sarcophages du XIVe siècle, qui affectent absolument la forme des cuves sépulturales romaines, mais qui sont décorés d'ornements et d'attributs qui appartiennent à cette époque avancée du moyen âge 19. Les corps étaient bien évidemment renfermés dans ces auges; tandis que dans les provinces du Nord, ainsi que nous l'avons dit plus haut, ils étaient enterrés sous le simulacre du sarcophage, qui était alors un cénotaphe.
Le sarcophage devenant cénotaphe, il était naturel de couvrir celui-ci d'un dais, d'un arc, d'en faire un monument honorifique, de le considérer comme un lit de parade sur lequel l'effigie du mort était posée.
Les artistes du moyen âge ont apporté, dans la composition des tombeaux, l'esprit logique que nous retrouvons dans leurs oeuvres. Le tombeau, pour eux, était la perpétuité de l'exposition du mort sur son lit de parade. Ce qui avait été fait pendant quelques heures avant l'ensevelissement, on le figurait en pierre ou en marbre, afin de reproduire aux yeux du public la cérémonie des funérailles dans toute sa pompe. Mais à cette pensée se mêle un sentiment qui exclut le réalisme. Des anges thuriféraires soutiennent le coussin sur lequel repose la tête du mort. Sur les parois du sarcophage sont sculptés les pleureurs, les confréries, quelquefois les saints patrons du défunt, ou des anges. C'est l'assistance poétisée. Nous allons tout à l'heure présenter des exemples de ces dispositions.
Un curieux monument nous explique l'origine de ces tombeaux cénotaphes, avec l'exposition du mort. C'est un chapiteau du porche occidental de l'église de Saint-Séverin (vulgairement Saint-Seurin) de Bordeaux. Ce porche date du commencement du XIIe siècle. L'une de ses colonnes engagées est couronnée par une représentation du tombeau de saint Séverin, formant chapiteau sous une naissance d'arc-doubleau.

Le corps du saint (fig. 2), enveloppé d'un linceul, ayant une crosse à son côté gauche, est placé sur une sorte de lit de parade supporté par des colonnettes 20; sur les parois de ce lit est gravée l'inscription suivante 21. Sur la face:
+ SCS SEVERINVS + : +
Sur la face de droite:
SIGNIFICAT
HAC (sic) PETRA
SEPVLCRVM
SCTI SEVERINI.
Sur celle de gauche:
QVANDO
MIGRAVIT
A SECVLO
...M...
Pour éviter la confusion dans cet article, nous poursuivrons l'examen des tombeaux en maintenant le classement que nous venons d'indiquer.
On peut considérer comme un des tombeaux les plus anciens parmi ceux accolés à des monuments religieux, le tombeau que l'on voit à Toulouse, entre les contre-forts des bâtiments des Chartreux. Ce monument du XIIe siècle, bien conservé, se compose d'un sarcophage placé dans une niche élevée au-dessus du sol, sur des colonnettes. Une arcature formant claire-voie défend le sarcophage.

La figure 3 présente le plan de ce tombeau, et la figure 4 son élévation et sa coupe.

Les colonnettes sont de marbre, ainsi que le sarcophage, les arcatures en pierre, et le reste de la construction en briques. Ce tombeau était entièrement peint. On ne sait pour quel personnage il fut élevé, mais il est bien certain qu'ici le corps était déposé dans le sarcophage même, placé sur cinq colonnettes au-dessus du soubassement, conformément à l'usage admis encore au XIIe siècle dans les provinces méridionales, et qui semble dériver de traditions fort anciennes, étrangères à l'antiquité chrétienne gallo-romaine. Un siècle plus tard, cet usage d'enfermer les corps dans des sarcophages juchés sur des colonnettes était, comme nous l'avons dit plus haut, entièrement abandonné dans les provinces septentrionales, et très-rarement pratiqué même dans celles du Midi. Les corps étaient enterrés. Cependant la tradition influe sur la forme apparente des tombeaux. On voit encore dans le cloître de l'église de Saint-Salvy (d'Alby) un tombeau datant de la seconde moitié du XIIIe siècle, qui présente une disposition analogue à celle du monument des Chartreux de Toulouse donné ci-dessus. À Saint-Salvy, la claire-voie ne préservait point le sarcophage, mais bien le massif élevé sur la fosse et formant soubassement.

Voici (fig. 5) le plan du tombeau du cloître de Saint-Salvy, et (fig. 6) son élévation.

La niche sous laquelle est placé le sarcophage est divisée par une pilette contre laquelle est adossée une statue 22. Deux petites voûtes d'arêtes couvrent cet enfoncement de 0m,97 de profondeur. Au-dessus de l'arcature sont placées trois statues: la Vierge, et deux figures agenouillées, un homme et une femme, qui ne peuvent être que les personnages pour lesquels le tombeau a été fait. Ces trois statues sont abritées sous une triple arcature couronnée par un gâble très-obtus. On retrouve encore les traces des peintures qui recouvraient entièrement l'architecture et la statuaire. Des anges remplissaient les deux tympans de la niche inférieure au-dessus du sarcophage, et nous ne pensons pas que l'homme et la femme en adoration des deux côtés de la Vierge aient été représentés sur la dalle recouvrant leur sépulture. La pilette engagée A (voyez le plan) formait une croix se détachant sur les deux tympans (voyez le détail B, fig. 6). Un petit bénitier est engagé dans la muraille du côté droit.
Sur les flancs des églises collégiales et paroissiales, il existait habituellement des cloîtres, et ces cloîtres servaient de lieu de sépulture, non-seulement pour les clercs, mais aussi pour les laïques qui payaient fort cher l'avantage d'être enterrés près de l'église 23. La place préférée était toujours le mur de l'église même. Aussi, le long de nos monuments religieux, entre les contre-forts qui donnaient sur l'une des galeries du cloître, trouve-t-on encore des traces nombreuses de ces sépultures.
Au XIIIe siècle, les lois ecclésiastiques qui défendaient d'enterrer des laïques dans l'enceinte même des églises tombèrent en désuétude. Les chapitres des cathédrales seuls continuèrent généralement d'observer ces règles, mais les paroisses, les collégiales, les églises abbatiales mêmes, tirèrent un profit considérable de la vente du droit de sépulture dans les églises, et bientôt les murs et les pavés des nefs furent couverts de monuments, d'inscriptions et d'effigies. Les choeurs étaient réservés pour les membres du clergé ou pour de très-hauts personnages. De même que dans les cathédrales les évêques étaient ensevelis sous le pavé du choeur ou entre les piliers du sanctuaire, par exception des princes profitaient du même privilége. En fouillant le choeur de Notre-Dame de Paris pour y établir le caveau actuel des archevêques, nous avons trouvé la tombe d'Isabelle de Hainaut, première femme de Philippe-Auguste, qui dut être enterrée sous ce pavé, l'église à peine élevée jusqu'aux voûtes 24.
C'était principalement dans les églises abbatiales que les princes se faisaient ensevelir. Les fondateurs d'abbayes se réservaient la faculté d'être enterrés, eux et leurs successeurs, dans l'église érigée avec leurs dons. C'est ainsi que beaucoup de monuments remarquables ont pu être conservés jusqu'à la fin du dernier siècle, et même jusqu'à nos jours. Les abbayes de Saint-Denis, en France, de Sainte-Geneviève, de Saint-Germain des Prés à Paris, de Braisne, de Vendôme, de Jumiéges, de Fécamp, de Longpont, de Royaumont, d'Eu, des Célestins à Paris, de Poissy, renfermaient des sépultures splendides de princes et seigneurs, et quelques-uns de ces monuments nous sont restés. L'abbaye de Saint-Denis, fondée par Dagobert, fut particulièrement destinée à la sépulture des rois français, et reçut en effet les dépouilles de la plupart de ces princes, depuis le fondateur jusqu'à Louis XV. L'église ayant été rebâtie par Suger, il est à croire que les monuments anciens (si tant est qu'il y ait eu des mausolées élevés sur les tombes des princes) furent détruits ou fort endommagés. Quand, plus tard, vers le milieu du XIIIe siècle, on remplaça la plus grande partie des constructions du XIIe siècle, que l'on reconstruisit la nef, le transsept et tout le haut choeur, les derniers restes des tombeaux antérieurs à Louis IX furent dispersés; si bien que pour ne pas laisser perdre la mémoire de ces vénérables sépultures, saint Louis résolut de rétablir tous ces tombeaux, à commencer par celui de Dagobert. Les ossements que l'on put retrouver dans les anciens cercueils furent replacés dans les nouvelles tombes. Parmi les tombeaux antérieurs à saint Louis, un seul fut conservé et replacé au milieu du choeur des religieux: c'était celui de Charles le Chauve, qui était de bronze, avec parties émaillées, et qui dut probablement à la solidité du métal de ne pas être détruit, comme les autres. Du tombeau de Dagobert il restait, sous le cloître de l'église de Suger, un fragment dont parle dom Doublet 25, et que M. Percier a dessiné en 1797. C'était une statue colossale, assise, couronnée, vêtue d'une tunique longue et d'un pallium.

Nous reproduisons ici (fig. 7) le fragment conservé par le dessin de Percier, et qui ferait croire que ce monument n'était pas antérieur au commencement du XIIe siècle. Quoi qu'il en fût, nous n'avons pu trouver trace de cette figure, non plus que de celles des deux princes Clovis et Sigebert, qui faisaient partie du même monument. Saint Louis n'en éleva pas moins un nouveau tombeau au fondateur de l'abbaye, et le fit placer à l'entrée du sanctuaire, côté de l'épître 26. Ce tombeau, qui date par conséquent du milieu du XIIIe siècle, est un des plus curieux monuments funéraires de cette époque.

Il se compose (fig. 8) d'une grande niche surmontée d'un gâble; au bas de la niche est déposé un sarcophage 27, dont le couvercle sert de lit à l'effigie du roi, couchée sur le côté gauche. Au fond de la niche se développe, par bandes superposées, la légende relative à la mort de Dagobert.
Debout, des deux côtés de l'effigie royale, sont les statues de Nantilde, seconde femme de Dagobert, et de Sigebert, son fils aîné, qui furent enterrés près de lui. Dans les voussures qui forment la niche, sont sculptés des anges thuriféraires, et, dans le tympan du gâble, le Christ et deux évêques, saint Denis et saint Martin, lesquels, en compagnie de saint Maurice, au dire de la légende, délivrèrent l'âme du roi des mains des démons, et la conduisirent en paradis. Le devant du sarcophage est fleurdelisé, ainsi que le socle 28. Tout ce monument était peint; outre les traces encore visibles de ces peintures, les dessins-minutes de Percier fournissent tous les détails de la coloration. Ce tombeau, n'étant pas adossé, laisse voir sa partie postérieure dans le bas côté. Celle-ci est de même surmontée d'un gâble avec figures, crochets et fleurons, la partie inférieure restant unie, sans sculpture.
Certaines parties de la statuaire du tombeau de Dagobert sont très-remarquablement traitées. La statue de Nantilde, à laquelle, au musée des Petits-Augustins, M. Lenoir avait fait adapter une tête d'homme 29, les groupes des évêques dans les zones légendaires, les anges des voussures et la sculpture du tympan, sous le gâble, sont d'un style excellent et d'une exécution parfaite. Ce tombeau n'est point dans les données des monuments placés dans l'intérieur des églises: c'est une chapelle, un de ces édicules comme on en élevait dans les cloîtres, entre les contre-forts des églises, et c'est pourquoi nous l'avons présenté ici; cependant l'effigie du mort est sculptée sur le sarcophage vrai ou feint, tandis que ni le tombeau de Toulouse, ni celui de Saint-Salvy d'Alby, n'avaient de statues couchées.

Voici encore un de ces monuments en forme de niche dépourvue d'effigies: c'est celui des deux prélats Beaudoin II et Beaudoin III, évêques de Noyon, qui était placé contre la muraille de l'église abbatiale d'Ourscamp, côté de l'évangile (fig. 9) 30. Beaudoin II mourut en 1167. Les épitaphes étaient peintes sur les parois de la niche, et avaient été remplacées cent ans avant Gaignères, auquel nous empruntons ce dessin, par des inscriptions sur vélin posées dans des cadres attachés avec des chaînettes. Ici, comme à Saint-Salvy, la pilette qui forme claire-voie repose sur le sarcophage et protége son couvercle. Ce tombeau, pas plus que ceux de Saint-Salvy et de Dagobert, ne présente d'attributs funèbres. Des fleurs, des feuillages, des sujets légendaires, ou des personnages n'affectant en aucune manière les attitudes de la douleur, décorent ces édicules et en font des oeuvres d'art agréables à voir, où rien ne fait songer à la décomposition matérielle, à la nuit éternelle. Sur les tombeaux, les artistes du moyen âge affectent, au contraire, de répandre des fleurs et des feuillages à profusion, ainsi qu'on le faisait, d'ailleurs, autour des corps, au moment de l'ensevelissement 31. Des animaux, des chasses, des processions de personnages, rappellent, sur ces monuments, la vie et non la mort. Quand les effigies des défunts sont sculptées couchées sur le sarcophage, elles ne prennent l'attitude de la mort que fort tard. Habituellement ces figures, pendant les XIIe et XIIIe siècles, ont les yeux ouverts, les gestes et les attitudes de personnes vivantes. C'est vers le milieu du XIVe siècle que les statuaires leur donnent parfois l'apparence du sommeil, mais sans aucun des signes de la mort. Ces personnages sont d'ailleurs vêtus de leurs habits, armés, si ce sont des guerriers, couverts de vêtements religieux, si ce sont des clercs.
Avant de parler des tombeaux formant des édicules isolés, il nous faut citer encore quelques-uns de ces monuments en forme de niches ou chapelles, mais avec effigies des morts posées sur le sarcophage. Dans le collatéral du choeur de la cathédrale de Rouen, il existe un de ces tombeaux, appartenant à un évêque, qui date de la fin du XIIe siècle, et qui est d'un très-beau travail. Ce monument ne présente d'ailleurs aucune particularité remarquable. La statue du prélat est couchée sous une arcature surmontée d'un gâble peu élevé. Comme toujours, ce tombeau était peint.

En voici un autre (fig. 10) 32, qui était placé à Fontevrault, contre le mur du bas côté, à la droite du maître autel (côté de l'évangile). C'était celui de l'évêque Pierre de Poitiers (XIIIe siècle). La statue, couchée sur un lit drapé, est entourée de figurines en ronde bosse représentant les religieux assistant aux funérailles de l'évêque. Parmi ces religieux, on distingue l'abbesse de Fontevrault et un abbé, tous deux tenant la crosse, signe de leur dignité. Les autres personnages portent des croix et des cierges. La chasuble de l'évêque était d'un bleu verdâtre, aux croisettes d'or, doublée de rouge; sa mitre blanche avec un bandeau rouge, l'aube blanche, l'étole verte, les chaussures noires. L'abbesse était vêtue de noir, et les religieux, les uns de blanc, les autres de vert, se détachant sur un fond rouge. Une arcature couvrait le sarcophage, mais elle était déjà détruite du temps de Gaignères, qui nous a laissé le dessin de ce curieux monument.
On voit encore dans la cathédrale de Limoges, adossé au collatéral nord, un de ces tombeaux en forme de niches ou chapelles, datant du XIVe siècle: c'est celui de l'évêque Bernard Brun. Ce monument est gravé dans l'ouvrage de M. Gailhabaud 33. Au fond de la niche, séparée par une pile centrale, des bas-reliefs représentent des sujets de la légende de sainte Valérie, un crucifiement, un couronnement de la Vierge et un jugement dernier. Il faut citer aussi les deux jolis tombeaux appartenant à la même époque, et qui sont adossés au mur de la chapelle de la Vierge, dans la cathédrale d'Amiens. Ils sont en forme de niche couverte par une arcade basse surmontée d'un gâble. Sur le socle, portant les statues couchées des défunts, sont sculptés, dans de petites niches, des personnages religieux, chanoines et laïques, qui composent le cortége accompagnant les corps à leur dernière demeure. Les écus armoyés des deux personnages, un évêque et un chanoine, sont peints au fond des niches.
Un des monuments funéraires les plus intéressants, affectant la forme d'une niche avec sujets, est le tombeau du prêtre Bartholomé, placé dans l'église de Chénerailles (Creuse), et dont il fut probablement le fondateur. Ce tombeau, engagé dans la troisième travée du côté méridional, est posé à 2 mètres au-dessus du pavé, et est taillé dans un seul bloc de pierre calcaire. Son architecture présente un arc en tiers-point avec deux contre-forts. L'enfoncement est divisé en zones, dans chacune desquelles se détachent des personnages en ronde bosse. La zone inférieure représente la scène de l'ensevelissement du mort. La sainte Vierge occupe, dans la zone du milieu, le sommet d'un édicule avec escalier. Saint Martial gravit l'escalier, un encensoir à la main. Sur le terrain à la droite de la Vierge, est représenté le martyre de saint Cyr et de sa mère sainte Julite. À sa gauche, le prêtre Bartholomé, agenouillé, est présenté à l'enfant Jésus par son patron, et saint Aignan, évêque. Sous l'arcade est sculpté un crucifiement. Sur deux phylactères placés sous la seconde et la première zone, on lit: «Hic. jacet. dominus. Bartholomeus. de Plathea. presbiter. qui. obiit. die. fest. V. M. (Virginis Marioe) anno. Dni. M°CCC 34.»
La sculpture de ce petit monument est d'un style médiocre, mais sa composition est heureusement trouvée.

Voici (fig. 11) un autre exemple de ces tombeaux adossés, en forme de niche, avec effigie du mort. Cet exemple date de 1300 environ. Le nom du défunt ne nous est pas conservé. Ce tombeau fut incrusté après coup dans le mur du collatéral nord de l'église de Saint-Père (Saint-Pierre) sous Vézelay. Le fond de la niche est occupé par un bas-relief d'un bon style. Au centre, le Christ assis reçoit de saint Pierre agenouillé un objet brisé qu'il tient dans sa main droite. De l'autre côté, la sainte Vierge semble intercéder auprès de son divin Fils. Deux anges thuriféraires terminent la scène. Évidemment, la Vierge et saint Pierre font ici valoir auprès du Juge suprême les mérites du mort, qui pourrait être un des fondateurs des portions de cette église reconstruites vers la fin du XIIIe siècle. L'objet que tenait saint Pierre était-il le simulacre de l'église restaurée? Cela paraît plausible. Ce monument est d'ailleurs fort mutilé, et la statue du personnage vêtu d'habits civils est complétement fruste. La sculpture et l'architecture étaient peintes et dorées. L'inscription, également peinte, et dont on distingue à peine quelques lettres sous le badigeon; était placée sous le bas-relief.
On le reconnaît facilement, la donnée de ce tombeau est la même que celle adoptée pour le beau monument de Saint-Denis, élevé à Dagobert. Nous ne pensons pas qu'il soit nécessaire d'insister davantage sur ce genre de sépultures en forme de niches ou chapelles adossées, et nous passerons à l'examen des tombeaux isolés, en commençant par les plus simples et qui sont aussi les plus anciens.
Sur les sommets des Vosges, près de Saverne, on trouve des restes d'enceintes et de débris qui remontent à une époque reculée, et particulièrement, entre Saverne et Dabo, de nombreux cimetières ont été découverts. La plupart des tombes qu'ils renferment présentent une disposition singulière. Ces monuments funéraires consistent en une auge ou un simple trou en terre, entouré de pierres sèches, contenant un vase cinéraire; le tout est couvert par une pierre en forme de prisme triangulaire, légèrement convexe. À la base de la face antérieure est percé un trou en façon de petit arc, et correspondant une cavité faite aux dépens du bloc 35.

La figure 12 montre un de ces monuments en coupe (A), et le couvercle
séparé en B. Parfois, mais plus rarement, ces couvercles ne sont pas
curvilignes (fig. 13).
La rouelle gauloise, des imbrications ou des
ornements dans le style gallo-romain les décorent. M. le colonel Morlet,
qui a mis en lumière ces découvertes, considère en effet, et avec
raison, ces tombeaux comme postérieurs à la conquête des Gaules par les
Romains; les objets, médailles et vases trouvés autour d'eux, les
inscriptions qui sont gravées sur leurs parois, ne peuvent laisser de
doutes à cet égard.
«Les monuments funèbres que recèlent les sommets des Vosges, entre Saverne et Dabo, n'étaient pas répandus au hasard sur ces hauts plateaux, dit en terminant M. le colonel Morlet, mais réunis en de véritables cimetières entourés de temples, d'autels et d'habitations; ils annoncent la présence permanente d'une population nombreuse, chargée de défendre les grands camps fortifiés dont nous voyons les traces.
Favorisées par la configuration du sol qui descend en pente douce vers la Lorraine, tandis qu'il s'arrête brusquement à pic du côté de l'Alsace, ces positions ont dû être occupées et fortifiées dès la plus haute antiquité, pour arrêter les invasions d'outre-Rhin. Bien avant les Romains, il y eut donc de sanglants combats sur cette barrière naturelle, où chaque invasion kymrique, celtique et germanique, vit s'élever de nouveaux travaux de défense, au-dessus desquels l'époque gallo-romaine a laissé une dernière empreinte.
C'est ainsi, sans doute, que les tombeaux décrits ci-dessus se trouvent mêlés à des ruines d'une époque plus ancienne, telles que ces grandes murailles doubles du Gros-Limmersburg, où je ne puis reconnaître l'art romain.
La monnaie de Titus trouvée au Kempel, ainsi que la bonne facture du vase découvert au même lieu, annoncent que ces nécropoles existaient dès les premiers temps de l'ère chrétienne.
Ces tombeaux n'ont rien de germanique; ils sont gaulois de l'époque romaine. Leur caractère spécial consiste dans la petite ouverture que l'on voit toujours à leur base, et dans l'arc aigu qui termine généralement leur sommet.
L'ouverture de la base est difficile à expliquer, à moins d'admettre que ce soit un moyen de communiquer avec les cendres du mort et de faire des libations.
L'arc aigu, dont on retrouve l'image exacte dans les monuments funèbres de l'Asie Mineure, ne serait-il pas l'indice d'une tradition antérieure à l'invasion celtique, qui se serait conservée chez une tribu campée au sommet des Vosges?»
En effet, des tombeaux lyciens, en grand nombre, se terminent à leur sommet par une sorte de couvercle ou de couverture imitée d'un ouvrage de bois, qui affecte la forme d'un prisme curviligne 36, et, en pénétrant dans l'extrême Orient, on retrouve des sépultures hindoues qui présentent la même apparence géométrique. Sans attacher à ces rapports plus d'importance qu'il ne convient, il est nécessaire d'en tenir compte, car nous voyons cette forme de recouvrement du corps persister chez les populations sorties de l'Orient septentrional.
La loi salique mentionne la construction, la balustrade, le petit édifice ou le petit pont placé au-dessus d'un homme mort 37. Grégoire de Tours 38 à propos d'un vol avec effraction commis dans la basilique Saint-Martin de Tours, dit que les voleurs s'étaient introduits par une fenêtre en montant sur un treillis qu'ils avaient enlevé sur la tombe d'un mort (Qui ponentes ad fenestram absidoe cancellum, qui super tumulum cujusdam defuncti erat....). Les Anglo-Saxons avaient pour habitude de poser sur la tombe du mort une sorte de berceau de bois ou de fer (hearse), que l'on recouvrait d'un poêle 39. Or, la forme des tombeaux lyciens, celle des tombes des Vosges, indiquent l'aristato 40 que cite la loi salique, le hearse des Anglo-Saxons, les catafalques figurés dans la broderie de Bayeux (dite tapisserie de la reine Mathilde); et bien que les pierres des Vosges recouvrent des urnes cinéraires, et que les Francs ni les Anglo-Saxons ne brûlassent leurs corps, il est difficile de ne pas admettre pour cette forme de tombeaux, figurant un poêle recouvrant une carcasse de bois ou de fer, une origine pareille. Observons que cet aristato, ce hearse, recouvrent, non pas le mort, mais la sépulture du mort; c'est ce que nous appelons aujourd'hui un catafalque. Ce n'est pas la bière, mais le signe honorable et visible qui indique la place de la tombe.

Le tombeau lycien déposé au British Museum présente cette particularité curieuse (fig. 14), que le sarcophage proprement dit A, qui est de marbre, et dans lequel étaient déposés les restes du mort, prend la figure propre à cette matière, tandis que la partie BC de recouvrement, quoique taillée de même dans des blocs de marbre, affecte l'apparence d'une structure de bois. Le sommet curviligne C est même revêtu de son poêle, simulant une étoffe dont la broderie est figurée par des bas-reliefs très-plats, et les ornements de métal que ce poêle pouvait recevoir, par des mufles de lion saillants. Il y a donc, dans ce tombeau, la sépulture proprement dite et le catafalque qui la surmonte. Même disposition en petit, dans les tombes des Vosges, pour les tombeaux dont parle Grégoire de Tours; pour le monument de Beauchamp, où l'effigie du mort, placée sur le sarcophage, est recouverte d'un berceau de fer sur lequel le poêle était posé. Même disposition adoptée pour le tombeau du religieux Guillaume, déposé autrefois près de la porte du chapitre, dans le cloître de l'abbaye de Noaillé (fig. 15), et qui date de la fin du XIIe siècle 41. Cette pierre n'est autre chose que le catafalque, la représentation de l'aristato, du poêle posé sur une carcasse et recouvrant la place où repose le mort.

Mais voici un exemple intéressant qui se présente et qui donne plus de valeur aux observations précédentes. La petite église de Saint-Dizier, en Alsace, renferme plusieurs tombeaux, et entre autres celui attribué à saint Dizier, évêque, dit la légende. Ce tombeau, qui d'ailleurs ne remonte pas au delà du milieu du XIIe siècle, n'est autre chose qu'une pierre creusée en forme de petite cellule, avec deux portes (fig. 16).

La cellule, monolithe, est terminée à sa partie supérieure par deux pentes recouvertes de riches ornements. «Jusqu'en 1835», dit M. Anatole de Barthélemy, auquel nous empruntons ce détail 42, «on faisait passer par ces ouvertures les personnes atteintes d'aliénation mentale.....» Voilà l'aristato, le poêle, le catafalque antique recouvrant le corps d'un saint, et pourvu de propriétés miraculeuses. Le corps est enseveli, et sa place est consacrée par cet édicule qui reproduit toujours la disposition que nous trouvons en Lycie, sur les sommets des Vosges, à l'abbaye de Noaillé, et que nous allons voir se développer avec l'art du XIIIe siècle à son apogée.
Citons d'abord le charmant tombeau de Saint-Étienne, placé dans l'église d'Obazine (Corrèze). L'effigie du saint, couchée, est garantie du contact par une arcature à jour; au-dessus de l'arcature est un riche poêle formant comble à deux pentes, et couvert de bas-reliefs. Des moines sortent de leurs cercueils et viennent se prosterner devant la Vierge. Des anges tenant des flambeaux apparaissent à mi-corps entre les gâbles sculptés sur les rampants, terminés par une crête feuillue 43. Mais voyons comment, sur des données beaucoup plus simples, ce souvenir du tombeau antique s'est perpétué. Dans le cimetière qui entoure encore l'église de Montréal (Yonne), on remarque plusieurs tombes dont voici (fig. 17) la forme. Cette pierre, en façon de comble croisé, recouvre, sur des cales, la sépulture.

Le tracé A donne le détail des trois pignons de l'extrémité postérieure et du croisillon. Quant au pignon B de l'extrémité antérieure, il est muni d'une petite niche avec coupelle formant bénitier. Une croix à plat est sculptée sur le faîte de ce comble. Ne trouve-t-on pas là comme une dernière trace des traditions antiques, christianisée? Mais cette disposition devait fournir des motifs d'architecture autrement riches. On n'enterrait guère dans les cimetières que des personnes peu considérables, tandis qu'à dater du XIIIe siècle, les églises étaient réservées aux sépultures des grands. En outre des sépultures adossées aux murs, en forme de niches, et des tombes plates dont nous parlerons tout à l'heure, on élevait un assez grand nombre de monuments dont la donnée se rapprochait du tombeau catafalque. L'effigie du mort était posée sur une sorte de crédence ajourée, placée sur la sépulture. Un dais tenu par des pilettes formant clôture tenait lieu du poêle, de l'aristato dont nous avons parlé. Il ne semble pas que dans les provinces du nord de la France on ait adopté (si ce n'est pendant les époques mérovingienne et carlovingienne) la disposition de certaines sépultures italiennes et orientales chrétiennes, disposition qui consistait en un sarcophage recevant réellement le corps, élevé sur des pieds et surmonté d'un édicule en façon de dais. Le tombeau du roi Guillaume Ier, déposé dans la basilique de Montreale, à Palerme, était ainsi conçu. Il consiste en une cuve de porphyre élevée sur deux pieds ajourés Un toit reposant sur six colonnes de porphyre protége la cuve. Alors (au XIIe siècle), en France, on plaçait les corps en terre, dans un cercueil de pierre, de bois ou de métal, et le monument visible n'était, comme nous l'avons déjà dit, qu'un simulacre, une indication de la place où reposait ce corps. Il est fort important de ne pas perdre de vue ce principe qui influe sur la composition de tous les monuments funéraires français, depuis le XIIe siècle au moins.
Quand saint Louis fit refaire, dans l'église abbatiale de Saint-Denis, la plupart des tombeaux de ses prédécesseurs, l'artiste chargé de ce travail adopta un parti mixte. Ne voulant pas encombrer le transsept au milieu duquel ces tombes sont placées, et ayant à ménager la place, n'ayant pas peut-être des ressources suffisantes, il ne put élever un édicule sur chaque sépulture. Les rois et reines furent placés sur des socles deux par deux; derrière leur tête fut dressé un dais double en forme de chevet ou de dossier, et deux colonnettes accompagnant et surmontant ces dais permirent de poser sur leurs chapiteaux, et entre leurs fûts, des flambeaux. Peut-être, certains jours, des poêles d'étoffe attachés à ces colonnettes étaient-ils tendus sur chaque tombe. C'est ici l'occasion de parler des illuminations des tombes, usage qui remonte à une très-haute antiquité. Les Grecs illuminaient les monuments funèbres, et la plupart des tombeaux qui existent encore en si grand nombre dans la Syrie centrale sont surmontés de pyramides disposées de façon à placer des lampes sur de petites consoles ménagées à cet effet le long des pans inclinés 44. Depuis l'établissement du christianisme dans les Gaules, on illuminait les cimetières à l'occasion de certaines fêtes, et chaque nuit un fanal était allumé dans leur enceinte. Quelques tombeaux du moyen âge possèdent encore les herses de fer qui étaient destinées à porter des cierges, et les tombeaux relevés par Louis IX à Saint-Denis adoptent ce parti.

La figure 18 représente un de ces tombeaux doubles 45. Cette disposition, très-originale, ne paraît pas être une exception, car souvent on remarque sur les parois des socles recevant des effigies de morts, les traces de supports de pierre, de métal ou même de bois, portant ces herses de cierges et peut-être des poêles d'étoffe. Les tombes avec dais fixes de pierre ou de bois ne sont qu'un dérivé du même principe. On en voyait beaucoup autrefois dans nos églises abbatiales, à Royaumont, aux abbayes de Saint-Denis, de Longpont, d'Eu, de Braisne, de Saint-Seine, de Poissy; aux Jacobins, aux Célestins de Paris. Quelques cathédrales en possédaient également, Amiens, Rouen, Sens. On en voit encore dans celles de Limoges et de Narbonne, autour du choeur.
Voici entre autres la tombe de Charles, comte d'Étampes, petit-fils de Philippe le Hardi, qui était placée dans l'église des Cordeliers, à Paris, derrière le grand autel 46. Ce comte d'Étampes mourut en 1336 (fig. 19).

La statue, de marbre blanc, repose sur une dalle de marbre noir, avec socle orné d'arcatures de marbre blanc sur fond noir. Un dais d'un charmant travail protége la tête; l'épitaphe est gravée derrière ce dais. L'édicule à jour, en pierre, était entièrement peint et doré, et le plan présente une disposition curieuse. Établi entre les deux gros piliers, derrière le choeur, ce plan est tracé de manière à échapper ces piliers et à laisser l'architecture du dais indépendante (fig. 20) 47.

Les voûtes étaient peintes d'azur avec fleurs de lis d'or, et les petits contre-forts plaqués de compartiments de verres colorés par dessous, comme ceux que l'on voit encore dans certaines parties de la sainte Chapelle de Paris.
Quelquefois le socle portant la statue était ajouré: tel était le tombeau d'un sire de Coucy, placé entre deux piliers, à gauche du grand autel de l'abbaye de Longpont, et qui datait de la fin du XIIIe siècle 48. Ce tombeau était, comme le précédent, entièrement peint. Le vêtement guerrier du personnage appartient aux dernières années du XIIIe siècle.
Maintenir l'intégrité d'un principe et en tirer des conséquences très-variées, c'est le fait d'un art qui a trouvé sa voie. Le programme du monument catafalque est adopté dès le XIIIe siècle, pour la sépulture des personnages considérables, de préférence au tombeau en forme de niche; cependant quelle variété non-seulement dans les détails de ces édicules, mais aussi dans la façon d'interpréter ce programme!

Voici, par exemple (fig. 21), encore un des monuments funéraires de l'abbaye de Longpont, qui était placé à la gauche du grand autel. C'est celui d'une femme. L'effigie de la morte n'est plus placée sur la crédence qui recouvre la place de la sépulture, mais sous cette crédence ajourée, tandis qu'un crucifix richement décoré est déposé sur la crédence. Un édicule à peu près semblable au précédent recouvre ce simulacre 49. Ce tombeau date du commencement du XIVe siècle. Citons encore, parmi les tombeaux catafalques les plus remarquables de cette époque, celui de l'archevêque Pierre de la Jugée, placé entre deux des piliers du choeur de la cathédrale de Narbonne (côté méridional). Pourquoi la statue et l'un des charmants bas-reliefs de ce tombeau ont-ils été enlevés pour être déposés au musée de Toulouse? Nous ne saurions le dire. Comment la cathédrale de Narbonne ne réclame-t-elle pas ces fragments, afin de les réintégrer? Cela ne peut s'expliquer que par une indifférence profonde pour ces précieux restes, devenus si rares dans nos anciennes églises, et cependant laissés à l'abandon ou même dégradés journellement, quand les fabriques ne les font pas enlever pour placer quelque décoration nouvelle d'un goût équivoque. Ce tombeau de la cathédrale de Narbonne, bien que mutilé de la façon la plus sauvage, est encore un véritable bijou, conservant ses peintures d'un goût charmant et des statuettes d'un style excellent.

Nous en traçons le plan (fig. 22). Le choeur étant à un mètre en contre-haut du collatéral, de ce côté un rang inférieur de bas-reliefs compense la différence de niveaux.

La figure 23 donne la coupe du monument avec l'indication des peintures qui se trouvaient au-dessus de la tête du prélat. Deux anges enlèvent son âme au ciel. Sous le formeret, des quatrefeuilles armoyés aux armes du défunt alternent avec des oiseaux affrontés. Les voûtes sont peintes en bleu, et tous les profils de tons variés, d'une harmonie très-heureuse.

La figure 24 donne la face du tombeau du côté du collatéral. Les deux bas-reliefs, d'albâtre dur, représentent, celui du haut des évêques dans des niches avec gâbles, celui du bas des chanoines deux par deux, assistant aux obsèques. Ce tombeau, ainsi que quelques autres qui existent encore dans la cathédrale de Narbonne, forme clôture du choeur. La même disposition existe à Limoges, et existait à Amiens, avant l'établissement des ridicules décorations de plâtre qui déshonorent le choeur de la cathédrale, et qui sont dues à l'un de ses évêques du dernier siècle 50.
Parmi les tombeaux de la cathédrale de Limoges, citons celui qui est placé entre les piliers, côté sud du choeur. Ce tombeau, d'un évêque, présente une de ces dispositions originales que les artistes du moyen âge savaient toujours trouver.

Un tracé perspectif (fig. 25), en fera saisir l'effet du côté du collatéral. Deux thuriféraires entr'ouvrent un rideau qui laisse voir la statue couchée du prélat. La voûte de l'édicule est en berceau, et des bas-reliefs décorent ses pieds-droits. Devant le socle, des chanoines sont sculptés dans de petites niches. Ce monument date également du XIVe siècle. Cette disposition fut conservée jusqu'à l'époque de la renaissance, et nous possédons un grand nombre de représentations de tombeaux, avec dais plus ou moins riches, protégeant l'effigie du mort. On retrouve encore l'application de ce principe dans les célèbres tombeaux de Louis XII, de François Ier et de Henri II, érigés à Saint-Denis Cependant le programme des XIIIe et XIVe siècles est modifié sur un point capital. Dans ces derniers monuments, les personnages sont représentés avec les apparences de la mort sous le cénotaphe; vêtus, vivants et agenouillés au-dessus. Le monument recouvrant la sépulture de François Ier montre non-seulement les figures nues du roi et de la reine Claude sous le cénotaphe, mais encore, sur le couronnement, les mêmes figures agenouillées, vêtues et accompagnées du dauphin François, du prince Charles d'Orléans et de Charlotte de France, qui mourut âgée de huit ans. Disons, en passant, que ce tombeau, attribué par quelques-uns à des artistes italiens, est dû à Philibert de l'Orme, comme architecte; à Pierre Bontems, maître sculpteur, bourgeois de Paris, qui s'engagea, par un marché en date du 6 octobre 1552, moyennant 1699 livres, à faire une partie des célèbres bas-reliefs du stylobate, et une figure du couronnement; à Germain Pilon, qui exécuta pour 1100 livres les huit figures de Fortune (sous la voûte du cénotaphe); à Ambroise Perret, qui fit les quatre évangélistes; et enfin, pour l'ornementation, à Jacques Chantrel, Bastile Galles, Pierre Bigoigne et Jean de Bourgy. Les belles figures couchées appartiennent à l'école française, et paraissent être sorties des ateliers de Jean Goujon. Quant à la statuaire du tombeau de Henri II, elle est tout entière de la main de Germain Pilon 51.
Depuis la fin du XVe siècle, beaucoup de monuments funéraires adoptèrent cette disposition, d'une représentation du mort sous le cénotaphe, et du même personnage vivant, agenouillé sur le couronnement; puis on en vint à supprimer parfois l'effigie du cadavre, et à ne plus montrer que les figures des personnages agenouillés sur un socle, ou sur le simulacre d'un sarcophage. Toutefois ces compositions n'apparaissent pas en France, que nous sachions, avant la seconde moitié du XVe siècle.
Au XVIe, elles deviennent assez fréquentes. Le tombeau de Charles VIII, à Saint-Denis, présentait cette disposition.
Charles VIII mourut le 7 avril 1498, par conséquent son tombeau appartient déjà au style dit de la renaissance française. Il était fort beau 52, et a été gravé plusieurs fois. Gagnières, dans sa collection 53, en a donné un bon dessin. Comme corollaire de ces tombeaux cénotaphes, il faut citer les monuments appliqués contre les murs, et qui présentent sur une surface verticale comme le développement de toutes les parties qui constituent le mausolée, avec soubassement, image du mort et dais.
Ces sortes de monuments sont assez rares en France; le défaut d'espace et aussi le défaut d'argent faisaient parfois adopter ce parti. Nous en connaissons deux beaux exemples dans l'ancienne cathédrale de la cité de Carcassonne. L'un date du milieu du XIIIe siècle, c'est celui de l'évêque Radulphe. Le simulacre du sarcophage, qui persiste tard dans les provinces méridionales de la France, est posé sur trois colonnettes et paraît engagé dans la muraille. Des chanoines, sous une arcature, assistent aux obsèques. Sur le sarcophage se dresse debout, en bas-relief, la figure de l'évêque bénissant. Un gâble orné de fleurons et de crochets couronne le tout.

L'autre tombeau (fig. 26) date du commencement du XIVe siècle: c'est celui de l'évêque Pierre de Roquefort, qui fit rebâtir le choeur de l'église et deux chapelles voisines du transsept 54. Ce monument, ainsi que le montre notre tracé, présente en rabattement, dirons-nous, la disposition des tombeaux cénotaphes; l'évêque n'est pas couché sur le socle, qui n'est qu'un placage, mais se dresse sur ce socle; il est couronné par un dais plaqué; un chanoine et un diacre accompagnent la figure principale dans deux arcatures latérales. Ainsi que nous le disions, cette disposition est rare en France, et nous n'en connaissons pas d'exemple, encore existant, dans les provinces du Nord.
Il nous reste à parler des plates tombes, avec effigies en relief ou simplement gravées sur la pierre ou sur le métal. Ces tombes sont de deux sortes: ou les effigies des morts sont posées sur un socle très-bas présentant une faible saillie au-dessus du sol, ou elles sont au ras même du sol, de façon à permettre de marcher dessus comme sur un dallage. Nous ne doutons pas que les premiers de ces tombeaux étaient garnis d'un poêle d'étoffe aux anniversaires ou à certains jours solennels, et nous en donnerions comme preuve les attaches de tiges de métal ou les douilles dont on trouve fréquemment la trace le long des socles. Pour les seconds, ils n'étaient qu'un signe apparent indiquant la place de la sépulture.
Il existe des plates-tombes d'une époque assez ancienne, c'est-à-dire remontant au XIIe siècle, mais qui, tout en présentant peu de relief, formaient cependant assez de saillie sur le sol pour qu'on ne pût marcher dessus, tandis que ce n'est que vers 1225 que l'on commence à voir des plates-tombes au ras du sol, et seulement gravées.
Il faut cependant mentionner ici une tombe très-singulière, qui autrefois était placée dans le choeur de l'église Saint-Germain des Prés, à Paris, et qui est aujourd'hui déposée à Saint-Denis: c'est celle de Frédégonde. Dom Bouillard 55 prétend que cette princesse avait été enterrée dans la basilique de Sainte-Croix et de Saint-Vincent, du côté du nord, près du gros mur qui soutenait le clocher. La tombe actuelle ne remonte pas au delà de la première moitié du XIIe siècle. C'est une plaque de pierre de liais incrustée de fragments de pâtes de verre et de pierres dures, entremêlés de filets de cuivre. Des réserves laissées dans la pierre forment les linéaments du vêtement. La tête, les mains et les pieds, entièrement unis aujourd'hui, étaient très-probablement peints. Nous ne connaissons pas d'autre exemple de ce genre de monuments funéraires 56; et il est difficile de découvrir les motifs qui déterminèrent les religieux de Saint-Germain des Prés à faire exécuter ce monument suivant un procédé aussi peu usité. Était-ce pour imiter une mosaïque beaucoup plus ancienne qui aurait été faite par encloisonnements, sur des indications d'artistes byzantins? Était-ce l'essai d'un artiste occidental? Nous ne saurions le dire. D'autres plates-tombes en mosaïque existent en France, celle, entre autres, de l'évêque d'Arras, Frumaldus, mort en 1180 57, et celle trouvée dans les ruines de l'abbaye de Saint-Bertin, avec la date de 1109; mais ces tombes sont exécutées suivant le procédé ordinaire du mosaïste employé en Italie et en France au XIIe siècle, procédé qui ne ressemble en rien à celui adopté pour l'effigie de Frédégonde.
Il nous reste deux belles tombes datant du XIIe siècle, qui représentent, en plat relief les effigies des rois Clovis Ier et Childebert Ier. Ces tombes, qui proviennent de l'abbaye Saint-Germain des Prés, sont maintenant déposées à Saint-Denis. Le relief de ces figures est trouvé aux dépens d'une cavité faite dans une épaisse dalle de pierre. Elles avaient remplacé, dans l'église Saint-Germain des Prés, des monuments beaucoup plus anciens, mais fort dégradés, lorsque l'abbaye fut prise par les Normands.
Vers la fin du XIIe siècle et le commencement du XIIIe, on plaça dans les églises beaucoup de ces tombes avec effigie en demi-relief, peu élevées au-dessus du pavé. Elles étaient très-fréquemment exécutées en bronze coulé ou repoussé, émaillé, et consistaient en une plaque de métal posée aux quatre coins sur des colonnettes très-trapues, sur des lions, ou simplement sur des cales. La tombe de Charles le Chauve, placée au milieu du choeur des religieux de Saint-Denis, et dont la fabrication paraît appartenir aux premières années du XIIIe siècle, était ainsi composée.

Nous en donnons (fig. 27) une copie d'après le bon dessin de la collection Gaignières. L'empereur est représenté en demi-relief; sa tête repose sur un coussin, ses pieds sur un lion. La main droite tient le sceptre fleurdelisé, la gauche une sphère. Il est vêtu des trois robes, les deux de dessus fendues sur le côté, et du manteau rond attaché sur l'épaule droite; il porte la couronne fleuronnée. Deux angelets, placés dans les écoinçons du trilobe qui encadre la tête du prince, tiennent des encensoirs et des navettes. Aux quatre coins A de la plaque sont assises quatre statuettes d'évêques. Une inscription en creux formait la bordure de la tombe. Le fond de la plaque est entièrement émaillé en bleu, avec fleurs de lis et réseau or. Des plaques d'émail incrusté décoraient aussi les bordures des robes et du manteau. Quatre lions de bronze, reposant sur des colonnettes jumelles très-courtes, de pierre, supportaient cette table (voyez l'élévation, fig. 27 bis), laissant un vide de 0m,55 environ au-dessous d'elle 58.

Nous ne possédons plus en France que quatre tombes de métal dans le genre de celle de Charles le Chauve. Deux sont sans émaux, ce sont les tombes des évêques d'Amiens, Ewrard de Fouilloy et Godefroy; l'un de ces deux monuments est d'une grande valeur comme art, c'est celui de l'évêque Ewrard. La tête, les draperies, admirablement modelées, sont d'un style excellent.

Nous donnons (fig. 28) une copie de ce tombeau. Le personnage, demi ronde bosse, est fondu avec la plaque, et la table repose sur un socle de pierre très-bas, avec six lions issants. L'évêque bénit et porte la crosse. Deux anges thuriféraires, en bas-relief, encensent sa tête, qui repose sur un coussin richement décoré. Deux clercs, également en bas-relief, tiennent des flambeaux. Les pieds du prélat reposent sur deux dragons. Une inscription et un bel ornement courant enveloppent la figure encadrée par une sorte de dais à sa partie supérieure. L'évêque Ewrard de Fouilloy fut le fondateur de la cathédrale actuelle d'Amiens, commencée en 1220. Il mourut en 1223; donc, son tombeau, placé autrefois à l'entrée de la nef, dans l'axe, date de la première moitié du XIIIe siècle; il possède d'ailleurs tous les caractères de cette époque.
Les deux autres tombes de bronze qui nous restent encore sont celles de Jean et de Blanche de France, enfants de saint Louis, et déposées, avant la révolution, dans l'église de l'abbaye de Royaumont, sous deux niches décorées de peintures. Ces tombes, fort petites, représentent, en cuivre repoussé, doré et gravé, les deux enfants, sur deux plaques de cuivre doré et émaillé, avec riche bordure également émaillée aux armes de France, de Castille et d'Aragon. Le jeune prince pose ses pieds sur un lion, et la princesse sur un lévrier. Des anges thuriféraires, en demi-relief, sont fixés aux côtés de la tête de chacun d'eux, et des religieux, aussi en demi-relief, se détachent sur les fonds d'émail aux côtés des personnages. Ces deux plaques très-intéressantes sont aujourd'hui déposées dans l'église de Saint-Denis, à côté du maître autel, en face du tombeau de Dagobert 59.
Les tombes plates de cuivre, isolées, comme celles de Charles le Chauve et des deux évêques d'Amiens, précieuses par la matière et le travail, étaient très-probablement, comme nous l'avons dit plus haut, protégées à certains jours par des poêles de riches étoffes, et illuminées au moyen de porte-lumières. Nous avons la preuve de cette dernière disposition dans les magnifiques tombeaux de cuivre doré et émaillé qui se voyaient, avant 1793, dans l'église de Villeneuve, près de Nantes, et dont les dessins nous sont conservés dans la collection de Gaignières. L'un de ces monuments, élevé sur la sépulture de deux princesses qui sont Alix, comtesse de Bretagne, morte en 1221, et sa fille Yolande de Bretagne, qui mourut en 1212, date de cette dernière époque. Le vêtement de la comtesse Alix appartient même aux années comprises entre 1225 et 1235. Cette figure était-elle déjà faite alors, ou le statuaire voulut-il reproduire le costume de la princesse, morte en 1221? Nous ne pourrions décider la question; cependant on peut admettre que la statue d'Alix était faite après sa mort, ainsi que la plaque sur laquelle on l'avait fixée (car l'ornementation émaillée de cette plaque est évidemment plus ancienne que celle de Yolande), et qu'après la mort de celle-ci les deux tombes furent encadrées dans un même socle. Quoi qu'il en soit, sur les bordures armoyées qui entourent et séparent les deux plaques, sont disposées douze douilles en forme de fleurettes fermées, qui étaient destinées évidemment à recevoir des bobèches et des cierges, ainsi que l'indique notre figure 29.

Les socles très-bas de la tombe jumelle sont également couverts d'émaux armoyés. Aux angles sont quatre lions issants de bronze doré. Le tout reposait sur une marche de pierre.
C'est aux angles de ce socle de pierre que l'on retrouve presque toujours la trace de scellements de métal ou de bases de colonnettes, soutenant l'armature de fer sur laquelle on jetait une étoffe aux anniversaires ou à certaines occasions.

La figure 29 rend compte de cette disposition.
Rien n'égale la splendeur de ces monuments de métal doré et émaillé. L'abbaye de Braisne, les cathédrales de Beauvais et de Paris, l'abbaye de Royaumont, en possédaient plusieurs 60.
Il y a une sorte de monument intermédiaire entre ces derniers tombeaux et les plates-tombes: ce sont des statues couchées sur un lit légèrement incliné, et ayant au-dessus du pavé un faible relief. Ces tombes étaient placées dans le choeurs des églises ou dans des chapelles, de façon à être vues des fidèles et à ne pas gêner la circulation. Il existait avant la révolution, dans l'église de Chaloché, au milieu du choeur, un tombeau ainsi composé: c'était celui de Thibaut, seigneur de Mothefélon, de Béatrix de Dreux, sa femme, de leur fils et de leur bru. Les quatre statues étaient couchées sur un socle peu élevé, en forme de lit de camp (fig. 30); les statues étaient peintes; les deux sires de Mothefélon avaient leurs mailles dorées et portaient des cottes armoyées de leurs armes, qui sont de gueules aux six écussons d'or posés 3, 2 et 1. Ce tombeau datait du commencement du XIVe siècle 61.
Les tombés plates gravées ne remontent pas, comme nous l'avons dit déjà, au delà du XIIIe siècle. Mais vers la fin du XIIe et le commencement du XIIIe, on plaçait dans les églises beaucoup de pierres tombales, au ras du sol, qui présentaient l'effigie du mort en bas-relief. Le respect que l'on avait pour les sépultures faisait que les fidèles ne marchaient point sur ces pierres; mais s'il y avait foule dans l'église, il était assez difficile d'éviter de butter contre ces saillies, si faibles qu'elles fussent: aussi se contenta-t-on bientôt de graver sur des dalles de pierre ou des plaques de bronze la figure entière du défunt.

Nous possédons en France un assez grand nombre de ces plates-tombes en bas-relief. Il nous suffira d'en donner ici un exemple qui se trouve aujourd'hui déposé dans la nef, à l'entrée de l'église de Saint-Martin de Laon (fig. 31). La tombe, de pierre noire de Belgique, est celle d'un chevalier portant le costume militaire du commencement du XIIIe siècle. Son écu est vairé; la sculpture du personnage, de grandeur naturelle, est très-peu saillante sur le fond légèrement taillé en cuvette. D'ailleurs il est à croire que ces plates-tombes étaient, au moins pendant un laps de temps après la mort du personnage et à l'occasion des anniversaires, surmontées de dais d'étoffes. La forme de ces dalles sculptées est souvent celle d'un trapèze, c'est-à-dire que la pierre est plus étroite du côté des pieds que du côté de la tête.
Les pavages de nos églises ne se composaient plus, à la fin du XVe siècle déjà, que de dalles tombales juxtaposées, et bien que depuis lors on ait détruit une prodigieuse quantité de ces monuments si précieux pour les études historiques et archéologiques, il en reste encore beaucoup. Plusieurs de ces plates-tombes sont même d'une grande beauté de style, et montrent à quel degré de perfection l'art du dessin s'était élevé pendant le moyen âge. Les meilleures sont celles qui appartiennent aux XIIIe et XIVe siècles.
Les plates-tombes de cuivre gravé ou légèrement modelé ont toutes été fondues. Celles que nous possédons encore dans quelques églises sont de pierre, parfois avec incrustations de marbre blanc pour les nus, et noir pour certaines parties des vêtements ou pour les fonds. Le trait gravé est rempli de plomb ou de mastic noir et brun rouge. La forme de ces tombes est trop connue pour qu'il soit nécessaire d'en donner ici des exemples. Nous citerons parmi les plus belles celles de la cathédrale et de l'église Notre-Dame de Châlons-sur-Marne, celles des églises de Troyes, de Beaune, de la sainte Chapelle du Palais à Paris, etc. Gaignières nous a laissé les dessins de plusieurs de ces plates-tombes provenant de l'abbaye de Jumiéges, et qui étaient de terre cuite émaillée.
Souvent ces plates-tombes n'étaient décorées que par une inscription gravée sur les bords et un emblème sur le milieu. L'abbé Lebeuf cite un certain nombre de ces dalles placées dans des paroisses du diocèse de Paris, et qui avaient pour toute gravure un écu, ou une croix, ou un calice. Ces dernières sont des tombes de curés. Les pierres tombales posées sur les sépultures des templiers ne portaient habituellement aucune inscription, mais une simple croix grecque, un écu, et parfois un triangle équilatéral (voyez TEMPLE) 62. On cessa de graver l'effigie du mort sur les dalles tombales vers le milieu du XVIIe siècle.
Note 17: (retour) Nous avons trouvé, dans l'église abbatiale de Saint-Denis, au-dessous du pavé de la basilique de Dagobert, plusieurs sarcophages de pierre, plus larges d'un bout que de l'autre. Sur le couvercle et l'un des bouts d'un seul de ces sarcophages sont gravées grossièrement des croix pattées; les autres sarcophages sont unis. Ils contenaient des ossements complétement réduits en poussière, des traces d'étoffes et des fils d'or qui entraient dans le tissu, quelques bouts de courroie de bronze (déposés au musée de Cluny). Plusieurs de ces corps avaient été ensevelis sans la tête, ce qui ferait supposer que les chefs étaient placés à part dans des reliquaires.
Note 19: (retour) Sur les sarcophages des derniers temps de l'empire romain, on voit très-souvent des représentations sculptées de chasses. Cette tradition se retrouve encore dans des monuments funéraires du XIIe siècle. Il existe au musée de Niort, entre autres, un sarcophage de cette époque, sur le couvercle duquel sont représentés un seigneur et sa femme, à cheval, chassant au faucon, puis, au milieu d'arbres, un homme qui tend des panneaux propres à prendre des oiseaux, un archer, des chiens et des lièvres.
Note 20: (retour) Sur le sarcophage de saint Hilaire le Grand, de Poitiers, est représenté de même le corps du saint posé sur une sorte de lit de parade; l'archange Michel est placé d'un côté, un second ange de l'autre; puis viennent divers personnages, saints et assistants. Dans la crypte d'Aix-la-Chapelle, le corps de Charlemagne, embaumé, était placé dans une chaire, revêtu de ses habits, la couronne en tête, l'épée à son côté.
Note 23: (retour)«Parler vueil de la saincte terre,
De lesglise, ou lon enterre
Riches, pouvres, communement;
Elle se vent moult chierement
A tous ceulx qui ont de lavoir
Pour deux ou trois pas en avoir
Et toujours la terre demeure
Pour aultre fois mettre en euvre.
Chiere terre se peut nommer
Sans riens la saincteté blasmer.
Grans debas souventes fois ont
Les paroisses, dont se meffont,
Pour les corps mors mettre en terre.
Ils sen playdoyent et font guerre.
Helas ce nest pas pour le corps
Dont est issue l'ame hors,
Cest pour avoir la sepulture;
Du corps aultrement ils nont cure
...»
(Complainte de François Garin, XVe siècle, édit. de 1832. Impr. Crapelet, p. 32.)
Note 25: (retour) «À l'entrée de cette porte» (celle du transsept donnant au midi, dans le cloître des religieux), «entrant en iceux cloistres, à main droite, se voit l'effigie du très chrestien Roy Dagobert, d'une grandeur extraordinaire, assise en une chaire, la couronne sur la teste et une pomme en la main droite; ayant à ses deux costez les effigies de ses deux enfans Clovis et Sigebert, de pierre de liais...» (Dom Doublet, Antiq. et recherches de l'abbaye de Sainct-Denis en France, liv. I, chap. XLIV.)
Note 27: (retour) Ce sarcophage était feint, car le corps du roi Dagobert avait été déposé sous le maître autel de l'église primitive; peut-être était-il enfermé dans le cercueil dont nous avons donné le couvercle et un bout, ornés de croix pattées (fig. 1, A). Cependant la pierre replacée sous le règne de saint Louis avait été creusée comme pour y déposer un corps, et des restes d'ossements y furent trouvés lors de la violation des sépultures en 1793.
Note 28: (retour) Ce sarcophage a dû être refait, ainsi que la statue couchée et celle de Sigebert, qui, dans les transports successifs qu'avait subis ce monument, furent perdues. D'ailleurs le sarcophage et les deux statues ont été copiés aussi fidèlement que possible sur les dessins (minutes) que Percier avait faits de ce tombeau avant sa translation au musée des Petits-Augustins. Le sarcophage primitif était, au dire de dom Doublet, de porphyre gris, mais les fragments que nous en avons eus entre les mains étaient d'un grès tendre, grisâtre.
Note 31: (retour) Nous avons très-fréquemment trouvé, sous les restes des personnages ensevelis pendant les XIIe, XIIIe et XIVe siècles, des litières encore visibles d'herbes et de fleurs, notamment des roses facilement reconnaissables à leurs tiges garnies d'épines. N'était-il pas plus sensé de porter ainsi une personne regrettée, à son dernier séjour, que de placer son corps dans ces chars noirs et blancs dont les formes sont ridicules, les décorations du plus mauvais goût, conduits par des cochers vêtus d'une façon burlesque?
Note 50: (retour) Parmi ces ornements, d'un goût déplorable, qui vinrent remplacer de précieux monuments que leur caractère, sinon leur valeur comme art, eût dû au moins faire respecter, il faut signaler une certaine Gloire, de bois doré, qui vient étaler ses rayons de charpente et ses nuages de plâtre sur les piliers de l'abside jusqu'à la hauteur de la galerie, et détruit ainsi l'effet merveilleux de ce rond-point avec sa chapelle absidale.
Note 52: (retour) Voici ce qu'en dit dom Doublet (Hist. de l'abb. de Saint-Denys en France), 1625, liv. IV. «Son effigie (du roi Charles VIII) revestue à la royalle, et de genoux au-dessus du tombeau, est représentée après le naturel, laquelle est de fonte; le haut du dit tombeau couvert de cuivre doré, et au devant de l'effigie il y a un oratoire, ou appuy, et couvert de cuivre doré, sur lequel est posée une couronne avec un livre ouvert, aussi de cuivre doré. Pareillement y a aux quatre coins quatre anges de fonte bien dorez et eslabourez, lesquels tiennent les armoiries des royaumes de Naples et Sicile, aussi de fonte, dorées et peintes. Aux costés du tombeau y a des niches rondes, et au dedans, des bassins de cuivre bien doré, et en iceux bassins de basses figures de fonte bien dorées.»D. Millet, dans son Trésor sacré de l'abbaye royale de Saint-Denys en France, 1640, dit: «Son sepulchre (du roi Charles VIII) est le plus beau qui soit dans le choeur, sur lequel on voit son effigie représentée à genouil près le naturel, une couronne et un livre sur un oratoire (prie-Dieu), et quatre anges à genoux aux quatre coings du tombeau, le tout de cuivre doré, sauf l'effigie dont la robe est d'azur, semée de fleurs de lys d'or.»
Note 56: (retour) Cette tombe a été souvent reproduite par la gravure et la chromolithographie (voyez la Statistique de Paris, par M. Alb. Lenoir; l'ouvrage de M. Gailhabaud, l'Architecture et les arts qui en dépendent; D. Bouillard, Hist. de l'abbaye de Saint-Germain des Près; Alex. Lenoir, Musée des monuments français; de Guilhermy, Monographie de l'église royale de Saint-Denis).
Note 62: (retour) Nous aurons l'occasion, dans le tome II du DICTIONNAIRE DU MOBILIER FRANÇAIS, de donner un grand nombre de ces gravures tombales si précieuses pour l'étude des habillements; c'est pourquoi nous n'en donnons point d'exemple ici: d'ailleurs ces objets sortent du domaine de l'architecture.
TOUR, s. f. (tor). Dans l'ancienne fortification, la tour est un ouvrage saillant sur les courtines, à plan carré ou circulaire, et formant un flanquement suffisant avant l'emploi des bouches à feu.
Il serait difficile de remonter au premier emploi de la tour comme défense. Dès la plus haute antiquité, la tour est connue: les Asiatiques et les Grecs, les Phéniciens et les Étrusques bâtissaient des tours pour fortifier les murailles de leurs villes et forteresses. Ces tours étaient généralement élevées sur plan carré ou barlong, et dépassaient le niveau du chemin de ronde des courtines.
Les Romains avaient pris la tour aux Étrusques et aux Grecs, et dès l'époque des rois ils flanquaient les courtines au moyen de tours à plan carré. Autour de Rome, sous les remparts de l'empire, des bas temps et du moyen âge, on retrouve encore d'assez nombreuses traces de ces ouvrages élevés en gros blocs de pépérin par les Tarquins.
Cependant il n'est pas rare de trouver des tours romaines d'une époque assez ancienne, sur plan circulaire, flanquant des portes. À Arles, on voit encore, du côté opposé au Rhône, deux souches de tours qui flanquaient une porte, qui datent d'une très belle époque et sont sur plan circulaire. Ces tours ont 8 mètres de diamètre et sont espacées l'une de l'autre de 15 mètres. À Nîmes, la porte dite d'Auguste était flanquée de deux tours circulaires. Il en était de même aux portes d'Arroux et de Saint-André, à Autun (IVe siècle), à la porte de Vézone (Périgueux), à l'est de l'ancienne cathédrale. Les tours romaines sur plan circulaire, flanquant des courtines, sont beaucoup plus rares: on en voit quelques-unes sur le front occidental des remparts d'Autun, mais qui appartiennent à une très basse époque; de même à Rome.
Les Romains élevaient aussi des tours isolées en dehors des remparts, sortes d'ouvrages avancés qui protégeaient un point faible, un passage de rivière, et commandaient la campagne. Ces tours tenaient lieu de ce que nous appelons aujourd'hui des forts détachés; elles étaient parfois reliées par un vallum, ou relief de terre avec fossé, soit avec d'autres tours, soit avec les murailles de la ville. L'édifice auquel, à Autun, on donne le nom de temple de Janus, paraît avoir été un de ces ouvrages, qui formait le saillant d'une large tête de pont, d'un camp retranché sur la rive droite de l'Arroux.
Quand les frontières de l'empire furent menacées, les empereurs romains firent bâtir des tours isolées pour protéger les passages et pour maintenir les populations voisines 63. Ces tours, comme plus tard les donjons féodaux, n'avaient point de portes au niveau du sol, mais à une certaine hauteur, de manière qu'on fût obligé de se servir d'une échelle pour entrer 64. La tour carrée d'Autun, dont nous venons de parler, paraît avoir eu sa porte relevée au-dessus du sol extérieur.
Certaines tours romaines n'étaient que des postes d'observation. «Une ligne non interrompue de ces tours part de Beuvray et se dirige, par la Vieille-Montagne, vers le cours de l'Aron, jusqu'à Decize, par Cercy-la-Tour... La plaine d'Autun en offre une autre semblable qui longe la chaîne des montagnes au nord-ouest, entre les camps de la vallée d'Arroux, au-dessus et au-dessous de la ville. Elle commence au coude d'Arroux, sur la rive droite, entre le Mont-Dru et la Perrière, et, franchissant le bassin d'Autun, sur les points culminants de la plaine, va aboutir à la vallée de Barnay, en face du camp de la montagne de Bar, sans qu'aucune des tours qui composent cette ligne se perde jamais de vue l'une l'autre. Le souvenir de leurs fanaux s'est conservé presque partout, soit dans leur nom, soit dans la tradition populaire. Le nom de Montigny, Mons ignis, Mons ignitus, est resté à plusieurs de ces localités 65.»
La colonne Trajane nous montre, dans ses bas-reliefs, beaucoup de ces tours d'observation avec fanaux, qui permettaient de concerter des opérations militaires pendant la nuit, et de surveiller les mouvements d'ennemis ou de bandes de pillards pendant le jour. Quand un gouvernement approche de sa dissolution, le premier symptôme qui se manifeste bien avant les grandes crises finales, c'est le brigandage. L'empire romain à son déclin, mais longtemps avant le moment des débordements des barbares, était rongé par le brigandage; des bandes armées se répandaient non-seulement sur les frontières de l'empire, mais autour des grands centres et jusque dans la campagne de Rome. Les derniers empereurs se préoccupèrent, non sans raison, de guérir cet ulcère des gouvernements qui finissent, sans y parvenir. Constance, Julien, Valentinien, établirent dans les Gaules des lignes de postes sur les marches, le long des vallées voisines des frontières, et à l'entour des grandes villes. Ces postes n'étaient autre chose que des tours élevées sur des promontoires, des monticules naturels ou factices (mottes). Nous verrons bientôt que ce système romain fut longtemps observé pendant le moyen âge.
Il convient donc tout d'abord de distinguer les tours flanquantes, c'est-à-dire attachées aux courtines d'une place, des tours isolées.
Vitruve explique comment il faut établir les tours flanquantes: «Elles doivent, dit-il 66, être en saillie sur le parement extérieur du mur de telle manière que lorsque l'ennemi s'approche (de la courtine), il soit pris en flanc par deux tours, l'une à droite, l'autre à gauche... Les murs des forteresses doivent être plantés, non sur plan carré ou présentant des angles saillants, mais suivant un périmètre circulaire (ou se rapprochant de cette figure), afin que l'ennemi puisse être vu de plusieurs points, car les saillants sont difficilement défendables, et plus favorables aux assiégeants qu'aux assiégés... L'intervalle entre les tours doit être calculé en raison de la portée d'un trait, afin que l'assiégeant soit repoussé par les machines de jet manoeuvrant sur les deux flancs.
Il faut, au droit des tours, que les courtines soient interrompues par une coupure ayant une largeur égale au diamètre de ces tours. De la sorte les chemins de ronde, étant interrompus, sont seulement complétés intérieurement par des passerelles de charpente qui, n'étant pas fixées avec des attaches de fer, peuvent être jetées bas si l'ennemi s'est emparé d'une portion de courtine, et rendre ainsi l'occupation des autres courtines et des tours impossible.
Les tours doivent être élevées sur plan circulaire ou polygonal, car, étant carrées, les béliers les détruisent plus facilement en ruinant leurs angles. Circulaires, chaque pierre formant coin et reportant la percussion au centre, ces tours résistent mieux à l'effort des machines. Mais rien n'est tel que de terrasser les remparts et les tours pour leur donner une grande puissance de résistance...»
Ces préceptes, sauf les modifications amenées par la portée des engins modernes, sont les mêmes que ceux admis de nos jours. Voir l'ennemi de plusieurs points, éviter, par conséquent, les saillants qui sont difficiles à flanquer; mettre toujours l'assiégeant entre des feux convergents; faire qu'un ouvrage pris n'entraîne pas immédiatement l'abandon des autres; relier au besoin ou séparer les ouvrages, tels sont les immuables principes de la fortification. Ils furent établis, à notre connaissance, par les Grecs et les Romains, pratiqués pendant le moyen âge avec une supériorité marquée, singulièrement développés dans les temps modernes par suite de l'emploi des bouches à feu. En effet, de la tour ronde à court flanquement, et ayant toujours des points morts, au bastion moderne avec ses flancs et ses faces, il y a une longue suite d'essais, de tentatives et de transitions 67.
La tour romaine sur plan circulaire ou carré (car, quoi qu'ait enseigné Vitruve, les Grecs et les Romains ont élevé beaucoup de tours flanquantes carrées), était ouverte ou fermée à la gorge, c'est-à-dire du côté intérieur de la forteresse. Si elle était ouverte, le chemin de ronde des courtines voisines s'interrompait, comme l'indique Vitruve, au droit de cette ouverture. Si elle était fermée, les rondes circulant sur la courtine devaient se faire ouvrir deux portes pour entrer et sortir de la tour, afin de reprendre l'autre courtine. Dans ce cas, la tour formait obstacle à la circulation continue de plain-pied sur le sommet des remparts; Les premières de ces tours sont, à proprement parler, des tours retranchées, tandis que les secondes sont des postes ou petits forts espacés, commandant les remparts.
Ce qui prouverait que le système des tours retranchées a été de préférence pratiqué par les Romains, c'est que nous voyons pendant le moyen âge l'emploi de ce système persister dans les villes qui ont le mieux conservé les traditions romaines; tandis que dans le Nord, où l'influence normande se fait sentir de bonne heure dans l'art de la fortification, les tours sont toujours fermées, à moins toutefois qu'elles ne flanquent une enceinte extérieure commandée par une enceinte intérieure.
Nous diviserons donc cet article en: TOURS FLANQUANTES, ouvertes ou fermées à la gorge; TOURS RÉDUITE, tenant lieu de donjons ou dépendant de donjons; TOURS DE GUET, TOURS ISOLÉES, postes, tours de signaux, de passages, de ponts, de phares.
Tours flanquantes. Les tours flanquantes établies suivant la tradition romaine, qui se perpétua en Occident jusqu'à l'époque des grandes invasions normandes, sont (à moins qu'elles ne dépendent de portes) généralement pleines jusqu'à une certaine hauteur au-dessus du fossé ou du sol extérieur, afin de résister à l'effort des engins d'attaque ou à la sape; leur flanquement ne commence donc qu'au niveau des chemins de ronde des courtines, et consiste en des ouvertures assez larges masquées par des mantelets mobiles de bois. Ce premier flanquement est surmonté de l'étage supérieur crénelé, formant couronnement et second flanquement. Cet étage supérieur est couvert par un comble, de manière à mettre le crénelage à l'abri, ou découvert, le comble étant alors établi en contre-bas du chemin de ronde ou au ras de ce chemin de ronde.

Voici (fig. 1) un type de ces tours de la fin de l'empire romain 68, ouvertes à la gorge, mais interrompant les chemins de ronde des courtines.
Des plats-bords posés sur les poutres engagées A permettaient de passer d'un chemin de ronde sur l'autre, et d'entrer de plain-pied au premier étage de la tour. Ce premier étage est mis en communication avec le second et avec le crénelage au moyen d'échelles de bois. Une échelle mobile, que l'on relève au moyen d'un treuil, met le plancher du premier étage en communication avec le sol du chemin militaire intérieur. Cette portion d'échelle relevée et les plats-bords enlevés, le poste gardant la tour ne peut redouter une surprise; il est complétement isolé. Cependant il voit ce qui se passe dans la ville et peut être surveillé. La tour, occupée par l'ennemi, ne peut battre le chemin militaire, puisque les étages de cette tour sont ouverts sur ce chemin. Les approvisionnements de projectiles se font, comme l'indique notre figure, par ces ouvertures sur le chemin militaire.
La tour se défend, extérieurement, par des ouvertures pratiquées dans les deux étages et par le crénelage supérieur. Les larges créneaux en façon d'arcades sont masqués par des mantelets mobiles de bois roulant sur un axe.
La cité de Carcassonne possède encore des tours datant de la domination des Visigoths, construites suivant cette donnée, si ce n'est que le chemin de ronde passe à travers la tour, et que celle-ci est percée de portes au niveau de ce chemin de ronde. À Carcassonne, les tours visigothes avaient leurs crénelages couverts, des mantelets pour les créneaux supérieurs comme pour les créneaux des étages, et des hourds de bois pour permettre de battre le pied de la défense.

Voici (fig. 2) le plan d'une de ces tours 69, au niveau du chemin de ronde. Au-dessous de ce niveau, l'ouvrage est de maçonnerie pleine.

La figure 3 montre la face latérale de cette tour, avec la coupe du chemin de ronde de la courtine. En A est tracée en place une ferme des hourds 70; en B, le détail perspectif d'un des corbeaux des créneaux supérieurs, destinés à recevoir les tourillons des mantelets, et en C les pierres saillantes posées sous les arcades-créneaux pour supporter de même les axes à tourillons qui permettent de relever ou d'abaisser les volets fermant ces arcades. Au-dessus du plancher, posé en D, est ouvert, sur la ville, un arc qui laisse voir ce qui se passe à l'étage supérieur et qui facilite les approvisionnements de projectiles. Cet arc surmonte le mur de fermeture C (voyez le plan), et porte sur les deux pieds-droits H, I.
La question des approvisionnements rapides de projectiles destinés à défendre ces tours ne paraît pas avoir été examinée avec assez d'attention. On remarquera que ces tours, d'une époque ancienne, c'est-à-dire qui datent de la fin de l'empire romain aux derniers Carlovingiens, sont généralement d'un faible diamètre, et ne pouvaient, par conséquent, contenir un approvisionnement très-considérable de projectiles, soit armes de trait, soit pierres propres à être jetées sur les assaillants qui voulaient s'approcher du pied des ouvrages pour les saper.
En supposant qu'une tour, comme celle que nous présentons ici (fig. 2 et 3), soit attaquée à son pied; que, protégés par des chats, les mineurs s'attachent à la maçonnerie, les défenseurs ne peuvent repousser cette attaque qu'en jetant sur les galeries, sur les chats, force pierres ou matières enflammées, afin de les détruire. Si l'attaque se prolongeait, on peut estimer la quantité considérable de projectiles qu'il fallait avoir sous la main. Il était donc nécessaire de renouveler à chaque heure cette provision, comme aujourd'hui il faut, dans une place assiégée, renouveler sans cesse les munitions des bouches à feu placées sur les ouvrages qui contribuent à la défense d'un point attaqué.
Ces tours ouvertes à la gorge se prêtaient à ces approvisionnements incessants, car plus leur diamètre était petit, plus il fallait remplacer souvent les projectiles employés à la défense. D'ailleurs l'attaque n'étant sérieuse qu'autant qu'elle était très-rapprochée, c'était le point attaqué qui se défendait sans attendre secours des ouvrages voisins. Tous les efforts de l'attaque, et, par suite, de la défense, étant ainsi limités à un champ très-étroit, les moyens de résistance s'accumulaient sur ce point attaqué et devaient être renouvelés avec activité et facilité. Nous verrons comment cette partie du programme de la défense des tours se modifie peu à peu suivant les perfectionnements apportés dans le mode d'attaque.

Il est encore une observation dont il faut tenir compte. Dans les ouvrages de la fin de l'empire romain, comme pendant les périodes grecque et romaine, les tours ont sur les courtines un commandement considérable (fig. 4) 71: cette disposition est assez régulièrement observée jusque vers le milieu du XIIIe siècle, mais alors les courtines s'élèvent; le commandement des tours sur ces courtines diminue d'autant. À cette époque, il arrive même parfois que ces tours ne remplissent que la fonction de flanquement, et n'ont plus de commandement Sur les courtines. C'est encore le système de l'attaque qui provoque ces changements. Nous aurons l'occasion de revenir sur ce sujet.
En examinant les tours d'angle du château de Carcassonne, dont la construction remonte aux premières années du XIIe siècle, on peut se rendre un compte exact des moyens d'approvisionnement des défenses supérieures de ces tours, car ces ouvrages sont parfaitement conservés, les anciennes charpentes ayant seules été supprimées.

La figure 5 présente le plan de la tour de l'angle nord-est, dite tour du Major, au niveau du sol de la cour du château. La salle ronde voûtée en calotte hémisphérique se défend par cinq meurtrières qui battent le fond du fossé.

La figure 6 donne le plan du premier étage, qui se trouve au niveau du chemin de ronde des courtines. Les meurtrières qui, de la salle, s'ouvrent sur les dehors au nombre de quatre, ne sont pas percées au-dessus de celles du rez-de-chaussée, afin de laisser le moins de points morts possible. La voûte également en calotte qui couvre cette seconde salle est percée d'un trou A, ou porte-voix, qui communique avec les étages supérieurs. Le deuxième étage n'est pas voûté, mais couvert par un plancher placé en contre-bas du chemin de ronde de la tour. Cette troisième salle n'était destinée qu'au logement du poste de la tour, elle ne se défend pas. Au-dessus s'élève le crénelage avec son chemin de ronde et ses hourds (fig. 7).

Pour faciliter la pose de la charpente du comble, l'intérieur du crénelage est à pans. Ce comble était ainsi pyramidal, avec des coyaux qui formaient la transition entre la pyramide et le cône. De B en C, les fermes des hourds sont supposées placées. Ces hourds étaient évidemment très-saillants, car les deux trous superposés réservés dans la construction pour recevoir les fermes, indiquent un système de liens avec corbelets 72 soulageant la bascule des pièces horizontales destinées à porter le plancher. La coupe, faite sur la ligne ab, du plan du rez-de-chaussée (fig. 8), montre la disposition des deux salles inférieures percées de meurtrières, de la salle D, chambrée des hommes de garde, et de l'étage supérieur, poste du capitaine et défense principale. La corne E (voy. fig. 7), s'élevant d'aplomb sur la cour du château, permettait de hisser les munitions au sommet des défenses, sans qu'il fût nécessaire de les monter à dos d'homme par l'escalier. Au moyen d'un treuil posé en G et d'une poulie passant en E à travers le bout de l'entrait de la ferme principale du comble, on élevait facilement des poids assez considérables.

Notre coupe (fig. 8) indique ce mécanisme si simple. Le bourriquet hissé au niveau du plancher du hourd, on fermait la trappe, on lâchait sur le treuil, et les munitions étaient disposées le long des hourds ou dans la salle supérieure; car on remarquera que cette salle est mise en communication avec le chemin de ronde des hourds au moyen des créneaux.
Cette salle bien garnie de pierres et les hourds de sagettes et de carreaux, il était possible de couvrir les assaillants de projectiles pendant plusieurs heures. Les mâchicoulis de hourds, aussi saillants, étaient habituellement doubles, c'est-à-dire qu'ils permettaient de laisser tomber des pierres en I et en L. Les matériaux tombant en I ricochaient sur le talus K, et prenaient les assaillants en écharpe (voyez MÂCHICOULIS).

La figure 9 explique d'une façon claire, pensons-nous, le mode de montage des munitions. Le servant attend que le bourriquet soit hissé au niveau du plancher, pour fermer la trappe et répartir les projectiles où besoin est. En A, est tracée la section horizontale des potelets doubles des hourds au droit des angles, laissant entre eux la rainure dans laquelle s'engagent les masques du chemin de ronde. Le plancher de la salle supérieure, étant à 1 mètre 28 centimètres en contre-bas de l'appui des créneaux, permettait d'approvisionner une quantité considérable de projectiles que les servants, postés dans cette salle, passaient, au fur et à mesure du besoin, aux défenseurs des hourds, de manière à ne pas encombrer leur chemin de ronde. Pendant une attaque même, on pouvait hisser, à l'aide du treuil, de la chaux vive, de la poix bouillante, de la cendre qui aveuglait les assaillants 73 (voyez SIÉGE). On observera que cette tour d'angle, comme toutes celles des défenses de la cité de Carcassonne, interrompt la circulation sur les chemins de ronde des courtines, et force ainsi les patrouilles de se faire reconnaître à chaque tour. D'ailleurs, c'était dans les tours que logeaient les postes de défense, et chacun de ces postes avait à défendre une portion de courtine. La tactique des assaillants consistait à s'emparer d'une courtine en dépit des flanquements, et de se répandre ainsi dans la place.
Alors les postes des tours s'enfermaient, et il fallait les assiéger séparément, ce qui rendait possible un retour offensif de la garnison et mettait les assiégeants dans une position assez périlleuse. Cependant on voulut, dès le milieu du XIIIe siècle, rendre les parties de la défense plus solidaires, et l'on augmenta le relief des courtines en renonçant ainsi aux commandements considérables des tours. Dans le dernier exemple que nous présentons, le niveau des chemins de ronde des courtines est en N; le commandement de la tour est donc très-prononcé.
Déjà ces commandements sont moins considérables au château de Coucy, bâti vers 1220 74. Les quatre tours d'angle de ce château sont très-remarquables, au double point de vue de la structure et de la défense. Elles sont pleines dans toute la hauteur du talus. Cinq étages s'élèvent au-dessus de ce talus; deux sont voûtés, deux sont fermés par des planchers, le cinquième est couvert par le comble conique 75.

Les plans (fig. 10) présentent en A la tour d'angle nord-ouest, au niveau du sol du premier étage du château; en C, au niveau du sol du second étage; en D, au niveau du crénelage supérieur.
L'étage inférieur, voûté, au niveau du sol de la cour, ne possède aucune meurtrière; c'est une cave à provisions dont la voûte est percée d'un oeil. L'escalier ne monte que du niveau de la cour au sol du quatrième étage, et l'on n'arrivait à l'étage crénelé que par un escalier de bois (échelle de meunier) 76. En g, sont des cheminées; en l, des latrines 77. Une ouverture laissée au centre des planchers permettait de hisser les munitions du rez-de-chaussée au sommet de la tour sur les chemins de ronde. Les meurtrières sont alternées, afin de laisser le moins possible de points morts.
Les tours du château de Coucy présentent une particularité intéressante, c'est la transition entre le hourdage de bois et le mâchicoulis de pierre 78. Des corbeaux de pierre remplacent les trous par lesquels on passait (comme nous l'avons vu dans l'exemple précédent) les pièces de bois en bascule qui recevaient les chemins de ronde établis en temps de guerre. Ces corbeaux à demeure recevaient alors les hourds 79.

La figure 11 donne la coupe (sur la ligne ad du plan A) de ce bel ouvrage. Outre les jours des meurtrières, les salles des troisième et quatrième étages possèdent une fenêtre chacune, qui les éclaire. Les munitions étaient montées à l'aide d'un treuil placé dans la salle du quatrième étage, ainsi que le fait voir notre figure, et étaient déposées sur le plancher supérieur mis en communication avec les hourds au moyen des créneaux couverts. Les hourds tracés en G expliquent le système des défenses de bois posées en temps de guerre sur les corbeaux à demeure de pierre, C. Le niveau du chemin de ronde des courtines se trouvant en R, on voit que le commandement de la tour sur ce chemin de ronde était moins considérable déjà que dans l'exemple précédent 80. En E, commence l'escalier de bois qui, passant à travers un des arcs de l'hexagone, montait du quatrième étage au niveau du plancher supé rieur, très-solidement construit pour recevoir la charge d'une provision de projectiles.
Cette construction est merveilleusement exécutée en assises de 40 à 50 centimètres, et n'a subi aucune altération, malgré le chevauchement des piles. Le talus extérieur descend à 8 mètres en contre-bas du niveau K, sol de la cour. Une élévation extérieure prise en B (voy. le plan), fig. 12, complète notre description. Les hourds sont supposés placés sur une moitié des corbeaux.

Ces défenses du château de Coucy sont construites au sommet d'un escarpement; leur effet ne devait s'exercer, par conséquent, que suivant un rayon peu étendu, lorsque l'assaillant cherchait à se loger au pied même des murs. Les meurtrières, percées à chaque étage, sont plutôt faites pour se rendre compte des mouvements de l'ennemi que pour tirer. Il s'agissait ici d'opposer aux attaques un obstacle formidable par son élévation et par la défense du couronnement. Sur trois côtés, en effet, le château de Coucy ne laisse entre ses murs et la crête du coteau qu'une largeur de quelques mètres, un chemin de ronde extérieur qui lui-même pouvait être défendu. Un très-large fossé et le gros donjon protégent le quatrième côté 81. Il n'était besoin que d'une défense rapprochée et presque verticale. Mais la situation des lieux obligeait souvent, alors comme aujourd'hui, de suppléer à l'obstacle naturel d'un escarpement par un champ de tir aussi étendu que possible, horizontalement, afin de gêner les approches. Cette condition est remplie habituellement au moyen d'ouvrages bas, d'enceintes extérieures flanquées, dominées par le commandement des ouvrages intérieurs. L'enceinte si complète de Carcassonne nous fournit, à cet égard, des dispositions d'un grand intérêt. On sait que la cité de Carcassonne est protégée par une double enceinte: celle extérieure n'ayant qu'un commandement peu considérable; celle intérieure, au contraire, dominant et cette enceinte extérieure et la campagne 82. Or, l'enceinte extérieure, bâtie vers le milieu du XIIIe siècle par ordre de saint Louis, est flanquée de tours, la plupart fermées à la gorge et espacées les unes des autres de 50 à 60 mètres. Ces tours, qui n'ont qu'un faible commandement sur les courtines, et parfois même qui s'unissent avec elles, sont disposées pour la défense éloignée. Bien munies de meurtrières, elles se projettent en dehors des murs et recevaient des hourdages saillants.
L'une de ces tours 83, entièrement conservée, présente une disposition conforme en tous points au programme que nous venons d'indiquer.

La figure 13 donne le plan de cette tour au niveau du sol des lices, c'est-à-dire de la route militaire pratiquée entre les deux enceintes.

La figure 14 donne le plan du premier étage. Le chemin de ronde de la courtine est en A, et la tour n'interrompt pas la circulation.
La porte B met le chemin de ronde en communication avec le rez-de-chaussée par l'escalier D, avec le premier étage de plain-pied, et avec les défenses supérieures par l'escalier C. Les meurtrières, nombreuses, sont chevauchées pour éviter les points morts.

La figure 15 présente le plan de ces défenses supérieures, les hourds étant supposés placés en E. Le crénelage est largement ouvert en G pour permettre les approvisionnements et pour que l'ouvrage ne puisse se défendre contre l'enceinte intérieure, qui, du reste, possède un commandement très considérable. En temps de paix, l'espace circulaire H était seul couvert par un comble à demeure. Les combles des hourds posés en temps de guerre couvraient le chemin de ronde K et les galeries de bois L; un large auvent protégeait l'ouverture G. La coupe faite sur la ligne ab de ce plan est présentée dans la figure 16.

En M, est tracé le profil d'ensemble de cet ouvrage, avec le fossé, la crête de la contrescarpe et le sol extérieur formant le glacis. On voit comme les meurtrières sont disposées pour couvrir de projectiles rasants ce glacis, et de projectiles plongeants la crête et le pied de la contrescarpe. Quant à la défense rapprochée, il y est pourvu par les mâchicoulis des hourds, ainsi qu'on le voit en P. La figure 17 donne le tracé géométral de cette tour du côté intérieur, les hourds n'étant posés que du côté R.

Si l'assaillant parvenait à s'emparer de cet ouvrage, il se trouvait à 20 mètres du pied de l'enceinte intérieure, dont les tours plus rapprochées, mais moins saillantes sur les courtines, présentent un front avec courts flanquements très-multipliés. Du haut de cette enceinte intérieure, dont le relief est de 15 mètres au-dessus du chemin de ronde S, il n'était pas difficile de mettre le feu aux couvertures des tours de l'enceinte extérieure au moyen de projectiles incendiaires, et d'en rendre ainsi l'occupation impossible, d'autant que ces tours ne se défendent pas sur le chemin militaire des lices.
Avec les armes de jet et les moyens d'attaque de l'époque, on ne pouvait adopter une meilleure combinaison défensive. Ces tours pleines dans la hauteur du talus qui enveloppe la roche naturelle ne pouvaient être ruinées par la sape. Bien percées de meurtrières, elles envoyaient des projectiles divergeants de plein fouet à 60 mètres de leur circonférence. Pour les aborder, il fallait donc entreprendre une suite d'ouvrages qui demandaient du temps et beaucoup de monde; tandis que pour les défendre, il suffisait d'un poste peu nombreux. Un ouvrage de cette étendue pouvait longtemps défier les attaques avec un capitaine et vingt hommes 84. Si l'attaque était très-rapprochée, les meurtrières inférieures devenaient inutiles, et alors les vingt hommes répandus sur les galeries des hourds couvraient les assaillants d'une pluie de projectiles. Nous avons dit ailleurs (voyez ARCHITECTURE MILITAIRE) que les assiégeants dirigeaient plutôt leurs attaques méthodiques contre les courtines que contre les tours, parce que la courtine possédait moins de moyens défensifs que les tours, et qu'il était plus difficile à l'assiégé de les retrancher. Mais, il va sans dire que, pour emporter une courtine, il fallait d'abord détruire ou masquer les flanquements que donnaient les tours voisines.
Tant que les tours enfilaient la courtine, on ne pouvait guère avancer les chats et les beffrois contre cette courtine. Ainsi, quoiqu'il ne fût pas conforme à la tactique d'envoyer une colonne d'assaut contre une tour--et les beffrois n'étaient qu'un moyen de jeter une colonne d'assaut sur la courtine,--il fallait toujours que l'assaillant rendît nulles les défenses des tours sur les flancs, avant de rien entreprendre contre la courtine.
Mais admettant que les hourds des tours eussent été détruits ou brûlés, et que les défenses de celles-ci eussent été réduites aux meurtrières des étages inférieurs, que les beffrois fussent approchés de la courtine; le chemin de ronde de la courtine étant toujours élevé au-dessus du sol intérieur, les assaillants qui se précipitaient du beffroi sur ces chemins de ronde étaient pris en flanc par les défenseurs qui sortaient des tours voisines comme de réduits, au moment de l'assaut. C'est en prévision de cette éventualité que les tours, bien qu'elles interceptent la communication d'un chemin de ronde à l'autre, possèdent des portes donnant directement sur ces chemins de ronde et permettant aux postes des tours de se jeter sur les flancs de la colonne d'assaut.

Voici (fig. 18) une des tours de l'enceinte extérieure de Carcassonne, bâtie par saint Louis, qui remplit exactement ce programme. C'est la tour sur le front nord, dite de la Porte-Rouge. Cette tour possède deux étages au-dessous du crénelage. Comme le terrain s'élève sensiblement de a en b, les deux chemins de ronde des courtines ne sont pas au même niveau; le chemin de ronde b est à 3 mètres au-dessus du chemin de ronde a. En A, est tracé le plan de la tour au-dessous du terre-plein; en B, au niveau du chemin de ronde d; en C, au niveau du crénelage de la tour qui arase le crénelage de la courtine e. On voit en d la porte qui, s'ouvrant sur le chemin de ronde, communique à un degré qui descend à l'étage inférieur A, et en c la porte qui, s'ouvrant sur le chemin de ronde plus élevé, communique à un second degré qui descend à l'étage B. On arrive du dehors au crénelage de la tour par le degré g. De plus, les deux étages A et B sont en communication entre eux par un escalier intérieur hh', pris dans l'épaisseur du mur de la tour. Ainsi les hommes postés dans les deux étages A et B sont seuls en communication directe avec les deux chemins de ronde. Si l'assiégeant est parvenu à détruire les hourds et le crénelage supérieur, et si croyant avoir rendu l'ouvrage indéfendable, il tente l'assaut de l'une des courtines, il est reçu de flanc par les postes établis dans les étages inférieurs, lesquels, étant facilement blindés, n'ont pu être bouleversés par les projectiles des pierrières ou rendus inhabitables par l'incendie du comble et des hourds. Une coupe longitudinale faite sur les deux chemins de ronde de c en d permet de saisir cette disposition (fig. 19).

On voit en e' la porte de l'escalier e, et en d' la porte de l'escalier d (du plan). Cette dernière porte est défendue par une échauguette f, à laquelle on arrive par un degré de six marches. En h', commence l'escalier qui met en communication les deux étages A et B. Une couche de terre posée en k empêche le feu, qui pourrait être mis aux hourds et au comble l par les assiégés, de communiquer aux deux planchers qui couvrent ces deux étages A et B.

La figure 20 donne la coupe de cette tour suivant l'axe perpendiculaire au front. En d'', est la porte donnant sur l'escalier d. Les hourds sont posés en m. En p, est tracé le profil de l'escarpement avec le prolongement des lignes de tir des deux rangs de meurtrières des étages A et B.
Il n'est pas besoin de dire que les hourds battent le pied o de la tour.

Une vue perspective (fig. 21), prise du chemin militaire entre ces deux enceintes (point X du plan), fera saisir les dispositions intérieures de cette défense. Les approvisionnements des hourds et chemins de ronde de la tour se font par le créneau c (du plan C), au moyen d'un palan et d'une poulie, ainsi'que le fait voir le tracé perspectif.
Ici la tour ne commande que l'un des chemins de ronde (voy. la coupe, fig. 19). Lors de sa construction sous saint Louis, elle commandait les deux chemins de ronde; mais sous Philippe le Hardi, lorsqu'on termina les défenses de ia cité de Carcassonne, on augmenta le relief de quelques-unes des courtines, qui ne paraissaient pas avoir un commandement assez élevé. C'est à cette époque que le crénelage G fut remonté au-dessus de l'ancien crénelage H, sans qu'on ait pris la peine de démolir celui-ci; de sorte qu'extérieurement ce premier crénelage H reste englobé dans la maçonnerie surélevée. En effet, le terrain extérieur s'élève comme le chemin militaire de a en b (voy. le plan), et les ingénieurs, ayant cru devoir adopter un commandement uniforme des courtines sur l'extérieur, aussi bien pour l'enceinte extérieure que pour l'enceinte intérieure, on régularisa vers 1285 tous les reliefs. Il faut dire aussi qu'à cette époque, on ne donnait plus guère aux tours un commandement important qu'aux angles des forteresses ou sur quelques parties où il était nécessaire de découvrir les dehors.
Pour les grands fronts, les tours flanquantes n'ont pas de commandement sur les courtines, et cette disposition est observée pour le grand front sud de l'enceinte intérieure de Carcassonne, rebâti sous Philippe le Hardi.
La cité de Carcassonne est une mine inépuisable de renseignements sur l'art de la fortification du XIIe au XIVe siècle. Là ce ne sont pas des fragments épars et très-altérés par le temps et la main des hommes, que l'on trouve, mais un ensemble coordonné avec méthode, presque intact, construit en matériaux robustes par les plus habiles ingénieurs des XIIe et XIIIe siècles, comme étant un point militaire d'une très-grande importance. Lorsque Carcassonne fut comprise dans le domaine royal, sous saint Louis, cette place devenait, sur un point éloigné et mal relié aux possessions de la couronne, une tête de pont garantissant une notable partie du Languedoc contre l'Aragon.
Toutes les dispositions défensives que l'on trouve encore en France datant de cette époque, n'ont point l'unité de conception et la valeur des fortifications de Carcassonne. On comprendra dès lors pourquoi nous choisissons de préférence nos exemples dans cette place de guerre, qui, heureusement aujourd'hui, grâce aux efforts du gouvernement, à l'intérêt que la population de Carcassonne apporte à cette forteresse, unique en Europe, est préservée de la ruine qui si longtemps l'a menacée.
La disposition de la dernière tour de l'enceinte extérieure que nous venons de donner est telle, que cet ouvrage ne pouvait se défendre contre l'enceinte intérieure; car, non-seulement cette tour est dominée de beaucoup, mais elle est, à l'intérieur, nulle comme défense.
Tous les ouvrages de cette enceinte extérieure sont dans la même situation, bien que variés dans leurs dispositions, en raison de la nature du sol des dehors et des besoins auxquels ils doivent satisfaire. Il n'est qu'un point où l'enceinte extérieure est reliée à la défense intérieure au moyen d'une tour bâtie à cheval sur le chemin militaire qui sépare les deux fronts. C'est un ouvrage sur plan rectangulaire, posé en vedette, flanquant à la fois les courtines extérieures, les lices (chemin militaire) et les courtines intérieures; permettant de découvrir, sans sortir de la défense intérieure, la montée à la porte de l'Aude, tout le front jusqu'au saillant occidental de la place défendu par deux grosses tours du coin, et la partie la plus rapprochée du faubourg de la Barbacane. Cette tour, dite de l'Évêque, parce qu'elle donnait sur le palais épiscopal, est un admirable ouvrage, bâti de belles pierres de grès dur avec bossages, et dépendant des travaux terminés sous Philippe le Hardi 85.

En voici (fig. 22) les plans à différents étages. En A, au niveau des lices ou du chemin militaire entre les deux enceintes,--le crénelage de l'enceinte extérieure étant en a et la courtine de l'enceinte intérieure en b.--Le premier étage est tracé en B. Du terre-plein de la cité, on arrive à cet étage par l'escalier d, qui monte aux deux étages supérieurs. Le plan C donne l'étage du crénelage avec son hourd de face e.
On communique du chemin de ronde g au chemin de ronde h, en passant par la porte i, montant quelques degrés qui arrivent au niveau de la salle k et en redescendant par l'escalier à vis. Deux mâchicoulis en m et n (voy. le plan B) commandent les deux arcs à cheval sur le chemin militaire.

La figure 23 donne la coupe de cet ouvrage, faite sur la ligne op. Le niveau des lices est en A, le niveau du sol intérieur de la cité en B. Outre les deux mâchicoulis percés dans les archivoltes des passages P, on établissait, en temps de guerre, des hourds au deuxième étage, au-dessus de ces arcs, ainsi que l'indiquent le tracé D et le profil d; hourds auxquels les baies C donnaient accès. Un hourd établi en E, sur la face de la tour, commandait son pied et flanquait ses angles. Le profil F donne la coupe sur la courtine intérieure, les lices et la courtine extérieure. Tous les étages sont mis en communication par les oeils percés au milieu des voûtes d'arête. Ces oeils permettent aussi d'approvisionner les étages supérieurs des munitions nécessaires au service des hourds.

La figure 24 présente la vue perspective de cette tour en dehors de l'enceinte extérieure, avec les hourds posés partout. On voit que les meurtrières des crénelages ont leur champ de tir dégagé au-dessous des hourds, ce qui permet à deux lignes d'arbalétriers ou d'archers de défendre les ouvrages, puisque les hourds possèdent des meurtrières au-dessus des mâchicoulis. Les tourelles d'angle, octogones, donnent un tir divergeant et sont flanquées par les meurtrières des flancs des hourds. Cette tour a l'avantage d'enfiler le chemin militaire entre les deux enceintes, de le couper totalement au besoin, et de posséder des flanquements sur l'escarpe de l'enceinte extérieure. Parfaitement conservée, bâtie avec des matériaux inaltérables, elle a pu être utilisée au moyen de travaux peu importants.
Tous les ouvrages entrepris à Carcassonne, sous Philippe le Hardi, ont un caractère de puissance remarquable, et indiquent de profondes connaissances dans l'art de la fortification, eu égard aux moyens d'attaque de l'époque. Les flanquements étant courts, il est impossible de les mieux combiner. Les garnisons étaient composées alors de gens de toutes sortes, hommes liges et mercenaires, il fallait se tenir en défiance contre les trahisons possibles. Ces tours étaient des réduits indépendants, interceptant le parcours sur les chemins de ronde, même sur les lices, comme on le voit par l'exemple précédent. Commandées chacune par un capitaine, la reddition de l'une d'elles n'entraînait pas la chute des autres. Les gens de la ville ne pouvaient monter sur les chemins de ronde, qui avaient Sur le terre-plein un relief considérable et n'étaient mis en communication avec le sol intérieur que par des escaliers très-rares passant généralement par des postes. Toute tentative de trahison devenait difficile, chanceuse, parce qu'il fallait, ou qu'elle pût mettre beaucoup de monde dans la confidence des moyens à employer, ou qu'elle restât isolée, et par suite promptement réprimée.
Quelquefois le chemin de ronde de la courtine tourne autour de l'ouvrage flanquant et contenant un poste; mais alors la tour a tous les caractères d'un réduit, d'un petit donjon possédant ses moyens de défense, de retour offensif et de retraite, indépendants. Plusieurs des tours de l'enceinte intérieure de la cité de Carcassonne sont conçues suivant ce système. L'une d'elles, dite tour Saint-Martin, est bien conservée et nous explique clairement cette disposition.
Bâtie sur le front sud, près de la poterne de Saint-Nazaire, la tour Saint-Martin s'élève de 25 mètres au-dessus du chemin militaire des ces et de 15m,50 au-dessus du sol de la cité. Elle possède deux étages inférieurs voûtés et deux étages supérieurs sous le comble, avec plancher intermédiaire au niveau des hourds.

La figure 25 donne en A les plans superposés des deux étages inférieurs, et en B les plans superposés des deux étages supérieurs. En examinant ces plans avec quelque attention, on observera que le cylindre de maçonnerie est plus épais vers l'extérieur que vers l'intérieur de la cité; en d'autres termes, que le cercle traçant le vide n'est pas concentrique au cercle traçant la périphérie de la tour; que cette périphérie qui fait face à l'extérieur, est renforcée par un éperon C ou bec saillant. Cet éperon et cette plus forte épaisseur donnée à la maçonnerie ont pour résultat d'annuler les effets du bosson ou bélier, et de placer l'assaillant sous le tir direct des flanquements voisins (voyez ARCHITECTURE MILITAIRE, PORTE). De la ville, on entre dans la tour par la porte P, et la rampe droite qui monte au premier étage. De ce premier étage, par l'escalier à vis, on descend à l'étage inférieur et l'on monte aux étages supérieurs.

L'étage crénelé, et pouvant être muni de hourds, est mis en communication avec le chemin de ronde des courtines par les deux portes K et L. Ce chemin de ronde pourtourne l'étage supérieur de la tour du côté de la ville en G. Une coupe faite sur ab (fig. 26) permet de saisir facilement ces dispositions. L'étage H renferme une cheminée et est éclairé par une fenêtre F donnant sur la cité. Les hourds étaient posés en I, conformément à l'usage. Les meurtrières des deux salles inférieures sont chevauchées, ainsi que l'indique le plan 86.
Cet ouvrage, comme le précédent, appartient aux constructions de Philippe le Hardi, et qui datent, par conséquent, des dernières années du XIIIe siècle.
Quelquefois, à cette époque, pour étendre les flanquements des tours, on leur donne en plan la forme d'un arc brisé 87. C'est sur ce plan que sont bâties quelques-unes des tours du château de Loches.
Les grands engins d'attaque étaient alors perfectionnés: on leur opposait des murs bâtis en pleine pierre de taille, des merlons épais, des hourds formés de gros bois; on disposait plusieurs étages voûtés afin de mettre les postes à l'abri des projectiles lancés en bombe. Parfois on revenait à la tour carrée comme présentant des flancs plus étendus et des faces que l'on protégeait par des hourdages très-saillants et bientôt par des mâchicoulis de pierre.
Les tours d'Aigues-Mortes, bâties par Philippe le Hardi, sont sur plan quadrangulaire; même plan adopté pour la plus grande partie des tours de l'enceinte d'Avignon. Il faut dire que tout un front de ces remparts fut ordonné sous le pape Innocent VI, par Jean Fernandez Heredia, commandeur de Malte, et que les dispositions adoptées alors furent suivies successivement, c'est-à-dire de 1350 à 1364 88. La plupart de ces tours sont très-saillantes sur la courtine, dont le chemin de ronde passe derrière elles ou qui se trouve interrompu par les flancs. De plus, ces tours sont généralement ouvertes à la gorge.



La figure 27 présente le plan d'une de ces tours d'Avignon, à rez-de-chaussée. Un escalier E, fermé par une porte, permet de monter au premier étage (fig. 28), qui communique par deux issues avec les chemins de ronde des courtines Voisines G, H. Un second escalier en encorbellement monte jusqu'à l'étage crénelé supérieur (fig. 29), percé de mâchicoulis.

Cette tour ne se défend, comme on peut le voir, que par son sommet. La vue perspective (fig. 30), prise du côté de la ville, explique complétement le système de défense, et indique les moyens d'accès aux deux étages. Ouverte à la gorge, elle ne peut être considérée comme un réduit indépendant, au besoin; cependant les chemins de ronde des courtines sont interrompus à la façon des tours romaines dont parle Vitruve. Sa surface étendue permettait de réunir à son sommet un assez grand nombre de défenseurs. Si l'assaillant parvenait à saper sa face en K (fig. 27), il était encore possible de défendre la brèche, soit en remparant la gorge de L en M, soit en accablant les ennemis de projectiles lancés à travers le grand mâchicoulis ouvert au milieu du plancher du premier étage. Un comble, que nous avons supposé enlevé, afin de mieux faire voir le système de défense, était posé sur le vide supérieur et abritait le plancher du premier étage et le sol du rez-de-chaussée.
Déjà, au milieu du XIVe siècle, on commençait à faire usage de bouches à feu. Ces premiers engins, toutefois, n'ayant qu'un faible. calibre et une portée médiocre, ne pouvaient produire un effet sérieux sur des màçonneries quelque peu épaisses.
Les anciens grands engins de siége, pierrières, mangonneaux, trébuchets, envoyant des projectiles de pierre pesant 100 ou 150 kilogrammes, et quelquefois plus, suivant un tir parabolique, étaient plus redoutables que les premières pièces d'artillerie. Les projectiles lancés par ces grands engins ne pouvaient produire d'effet qu'autant qu'ils passaient par-dessus les défenses et qu'ils retombaient, soit sur les combles des tours, soit dans les places. Du Guesclin, bien qu'il ne fît pas trop usage de ces machines de guerre et qu'il préférât brusquer les attaques, les employa parfois, et lorsqu'il les mit en batterie devant une forteresse, ce fut toujours pour démoraliser les garnisons par la quantité de projectiles dont il couvrait les rues et les maisons 89.
Si les défenses étaient très-hautes, les projectiles ne faisaient que frapper directement leurs parements et ne pouvaient les entamer 90. Le trouvère Cuvelier, dans la Vie de Bertrand du Guesclin, raconte comment, au siége du château de Valognes, à chaque pierre que lançaient les engins des assiégeants, un homme de garde venait frotter les moellons, par dérision, avec une serviette blanche. Il a le soin de nous dire aussi, dans le même passage, comment la garnison avait fait blinder les tours avec du fumier, pour éviter l'effet des projectiles lancés à la volée:
«De fiens y ot. on mis mainte grande chartée.»
La grande puissance donnée alors aux engins obligeait les architectes militaires à surhausser les tours et les courtines. Mais s'il s'agissait d'une place couvrant une grande superficie, on ne pouvait donner à ces courtines un relief très-considérable sans de grandes dépenses; aussi sous Charles V prit-on de nouvelles dispositions. Jusqu'alors on n'avait songé qu'exceptionnellement à terminer les tours par des plates-formes propres à recevoir des engins. Ces machines étaient mises en position sur des plates-formes de bois charpentées intérieurement le long des courtines, ou même sur le sol, derrière celles-ci, lorsqu'elles n'avaient qu'un faible relief, ou encore le long des lices, quand les places possédaient une double enceinte, afin d'éloigner l'assaillant. Mais quand la première enceinte était prise, il ne s'agissait plus que de pourvoir à la défense très-rapprochée, et alors les machines de jet devenaient inutiles, les hourds ou les mâchicoulis suffisaient.
Sous Charles V, disons-nous, on modifia l'ancien dispositif défensif. On possédait déjà de petites pièces d'artillerie, qui permettaient d'allonger les fronts, d'éloigner les flanquements par conséquent. On avait reconnu que les fronts courts avaient l'inconvénient, si les deux flancs voisins avaient été détruits, de défiler l'assaillant et de ne lui présenter qu'un obstacle peu étendu, contre lequel il pouvait accumuler ses moyens d'attaque. Aussi était-ce toujours contre ces courtines étroites, entre deux tours, que les dernières opérations d'un siége se concentraient, dès qu'au préalable on était parvenu à ruiner les défenses supérieures des tours par le feu, si elles se composaient de hourds, ou par de gros projectiles, si les galeries des mâchicoulis étaient revêtues d'un manteau de maçonnerie. Vers 1360, les courtines furent donc allongées; les tours furent plus espacées, prirent une plus grande surface, eurent parfois des flancs droits,--c'est-à-dire que ces tours furent bâties sur plan rectangulaire,--et furent couronnées par des plates-formes. Le château de Vincennes est une forteresse type conforme à un nouveau dispositif. Le plan bien connu de cette place 91 présente un grand parallélogramme flanqué de quatre tours rectangulaires aux angles, d'une tour (porte) également rectangulaire au milieu de chacun des petits côtés, de trois tours carrées sur l'un des grands côtés, et par le donjon avec son enceinte sur l'autre.
Les courtines entre les tours ont environ 100 mètres de long, ce qui dépasse la limite des anciennes escarpes flanquées.
Les tours d'angle sont plantées de telle façon, que leurs flancs sont plus longs sur les petits côtés du parallélogramme que sur les grands, afin de mieux protéger les portes.

Voici en A (fig. 31) le plan d'une de ces tours d'angle, à rez-de-chaussée, c'est-à-dire au niveau du sol de la place. De gros contre-forts reposant sur un talus montent jusqu'à la corniche supérieure, qui n'est qu'une suite de larges mâchicoulis. Les trois étages étaient voûtés, et sur la dernière voûte reposait une plate-forme dallée, très-propre à recevoir, ou de grands engins, ou des bouches à feu. Un crénelage protégeait les arbalétriers. En B, est tracé le plan de cette plate-forme.

La figure 32 donne l'élévation de cette tour sur son grand côté, avec la courtine voisine. On reconnaît ici que vers la seconde moitié du XIVe siècle, on revenait aux commandements considérables des tours sur les courtines, avec l'intention évidente de faire servir ce commandement au placement d'engins à longue portée. La voûte supérieure, couverte d'un épais blindage de cran 92 sous le dallage, résistait à tous les projectiles lancés à la volée, en supposant que ces projectiles aient pu s'élever assez haut pour retomber sur la plate-forme.
La tour ne se défend absolument que du sommet, soit par les engins de position, soit, contre l'attaque rapprochée, par les crénelages et mâchicoulis 93.
Il est curieux de suivre pas à pas, depuis l'antiquité, ce mouvement d'oscillation constant, qui, dans les travaux de défense, tantôt fait donner aux tours ou flanquements un commandement sur les courtines, tantôt réduit ce commandement et arase le sommet des tours au niveau des courtines. De nos jours encore ces mêmes oscillations se font sentir dans l'art de la fortification, et Vauban lui-même, vers la fin de sa carrière, après avoir préconisé les flanquements de niveau avec les courtines, était revenu aux commandements élevés sur les bastions.
C'est qu'en effet, quelle que soit la portée des projectiles, ce n'est là qu'une question relative, puisque les conditions de tir sont égales pour l'assiégé comme pour l'assaillant. Si l'on supprime les commandements élevés, on découvre l'assaillant de moins loin, et on lui permet de commencer de plus près ses travaux d'approche; si l'on augmente ces commandements, on donne une prise plus facile à l'artillerie de l'assiégeant. Aussi voyons-nous, pendant le moyen âge, et principalement depuis l'adoption des bouches à feu, les systèmes se succéder et flotter entre ces deux principes 94. D'ailleurs une difficulté surgissait autrefois comme elle surgit aujourd'hui.
Le tracé d'une place en projection horizontale peut être rationnel, et ne plus l'être en raison des reliefs.
Avec les commandements élevés, on peut découvrir au loin la campagne, mais on enfile les fossés et les escarpes par un tir plongeant qui ne produit pas l'effet efficace du tir rasant. Il faut donc réunir les deux conditions.
Nous verrons tout à l'heure comment les derniers architectes militaires du moyen âge essayèrent de résoudre ce double problème. Le château de Vincennes n'en est pas moins, pour le temps où il fut élevé, une tentative dont peut-être on n'a pas apprécié toute l'importance. L'architecte constructeur des défenses a prétendu soustraire les tours à l'effet du tir parabolique, en leur donnant un relief considérable, et il a prétendu utiliser ce commandement, inusité alors, pour le tir des nouveaux engins à feu, et des grands engins perfectionnés, tels que les mangonneaux et trébuchets 95.
Sous le règne de Charles V, on ne trouve nulle part, en France, en Allemagne, en Italie, en Angleterre ou en Espagne, un second exemple de la disposition adoptée pour la construction du château de Vincennes. C'est une tentative isolée qui ne fut pas suivie; en voici la raison: Alors (de 1365 à 1370) 96on commençait à peine à employer des bouches à feu d'un assez faible calibre, ou des bombardes de fer courtes, frettées, propres à lancer des boulets de pierre à la volée, ainsi que pouvaient le faire les engins à contre-poids. On ne croyait pas que la nouvelle artillerie à feu remplacerait un siècle plus tard ces machines encombrantes, mais dont le tir était très-précis et l'effet terrible jusqu'à une portée de 150 à 200 mètres. L'artillerie à feu usitée vers la fin du XIVe siècle dans les places consistait en des tubes de fer qui envoyaient des balles de deux ou trois livres au plus, ou même des cailloux arrondis. Ces engins remplaçaient avec avantage les grandes arbalètes, et pouvaient être mis en batterie derrière les merlons des tours. Il y avait donc intérêt à augmenter le relief de ces tours, car le tir de plein fouet étant faible, plus on l'élevait, plus il pouvait causer de dommages aux assiégeants, D'ailleurs, ainsi que nous l'avons dit tout à l'heure, il était important de soustraire le sommet de ces tours aux projectiles lancés à la volée par les anciens engins. Les courtines devaient, relativement, n'avoir qu'un relief moindre, afin de poster les arbalétriers, qui envoyaient leurs carreaux de but en blanc à 60 mètres environ. Les machines et bouches à feu des plates-formes des tours couvraient la campagne de gros projectiles dans un rayon de 200 mètres, et tenant ainsi les assiégeants à distance, les courtines se trouvaient protégées jusqu'au moment où, par des travaux d'approche, les assaillants arrivaient à la crête du fossé. Dans ce dernier cas, les arbalétriers des courtines en défendaient l'approche, et ceux des tours prenaient en flanc les colonnes d'assaut par un tir plongeant. Mais bien que les progrès de l'artillerie à feu fussent lents, cependant, à la fin du XIVe siècle, les armées assiégeantes commençaient à mettre des bombardes en batterie. Celles-ci, couvertes par des épaulements et des gabionnades, n'avaient pas à redouter beaucoup les rares engins disposés au sommet des tours, concentraient leur feu sur les courtines relativement basses, écrêtaient leurs parapets, détruisaient leurs mâchicoulis, rendaient la défense impossible, et l'assiégeant pouvait alors procéder par la sape pour faire brèche. Les commandements élevés des tours devenaient inutiles dès que l'ennemi s'attachait au pied de l'escarpe. Vers 1400, on changea donc de système, on éleva les courtines au niveau des tours; la défense bâtie fut réservée pour l'attaque rapprochée, et en dehors de cette défense on éleva des ouvrages avancés sur lesquels on mit les bouches à feu en batterie. Celles-ci furent donc réservées pour garnir ces ouvrages bas, étendus, battant la campagne, et la forteresse ne fut plus qu'une sorte de réduit uniquement destiné à la défense rapprochée.
Nous voyons, en effet, que les châteaux bâtis à cette époque établissent les défenses des courtines presque au niveau de celles des tours, ne laissant à celles-ci qu'un commandement un peu plus élevé, pour la surveillance des dehors, et que beaucoup de vieilles courtines des XIIIe et XIVe siècles sont relevées jusqu'au niveau des chemins de ronde des tours 97. On renonçait complétement alors à mettre des pièces en batterie sur ces tours; les plates-formes disparurent pour un temps, et l'artillerie à feu ne fut employée par la défense que pour balayer les approches.
Le château de Pierrefonds, bâti entièrement par Louis d'Orléans, nous fournit à cet égard des renseignements précieux. Non-seulement les travaux de déblaiement et de restauration entrepris dans cette forteresse 98 ont permis de reconnaître exactement les dispositions des tours et courtines, c'est-à-dire de la défense rapprochée, mais ils ont mis en lumière une suite d'ouvrages avancés, de peu de relief, qui formaient une zone de défense faite pour recevoir de l'artillerie à feu. Ces ouvrages expliquent comment les troupes envoyées à deux reprises par Henri IV, avec de l'artillerie pour prendre ce château, ne purent s'en emparer, et comment il fallut, sous la minorité de Louis XIII, entreprendre un siége en règle pour le réduire.
Ces observations feront comprendre pourquoi les tours de Vincennes, qui datent du règne de Charles V, possèdent des plates-formes propres à placer de l'artillerie, et pourquoi elles ont sur les courtines un commandement considérable, tandis que les tours du château de Pierrefonds, bâties trente ans plus tard environ, ne présentent aucune disposition propre à recevoir des bouches à feu, et n'ont sur les courtines qu'un commandement insignifiant. Nous voyons qu'à partir de 1400, les architectes militaires suivent pas à pas les progrès de l'artillerie à feu, tantôt donnant à ces engins un commandement sur la campagne, tantôt les plaçant à la base des tours et les réservant pour battre la crête des fossés; tantôt les rendant indépendants des anciennes défenses conservées, et les employant à retarder les travaux d'approche au moyen d'ouvrages avancés, de boulevards, de cavaliers, etc. 99.

La figure 33 donne le plan du rez-de-chaussée de l'une des tours du château de Pierrefonds 100, au niveau du sol de la cour et au-dessus des deux étages souterrains par rapport à ce sol. En A, sont des bâtiments d'habitation adossés aux courtines B. Conformément à la disposition habituelle, il faut entrer dans la tour occupée par un poste pour arriver à l'escalier qui monte à tous les étages. La porte du poste est en a. Trois fenêtres éclairent cette salle, auprès de laquelle se trouvent, en b, des latrines. En c, est une cheminée.

La coupe sur fe (fig. 34) explique les divers services de cet ouvrage. Le niveau du chemin de ronde couvert des courtines est en N, et le crénelage supérieur de ces courtines, à la base des combles des bâtiments, est au niveau G du chemin de ronde des tours; donc ces tours n'ont sur les courtines que le commandement GK.
Les quatre étages supérieurs, compris le rez-de-chaussée, sont fermés par des planchers, mais les deux étages au-dessous du sol de la cour, qui est en L, sont voûtés. On remarquera même que la voûte V est couverte par une épaisse couche de blocage qui met celle-ci a l'abri des incendies ou chutes des parties supérieures.
L'escalier à vis s'arrête au niveau du sol A de la seconde cave, car la première cave B est un cachot dans lequel on ne descend que par l'oeil percé au milieu de la voûte ellipsoïde construite par assises horizontales posées en encorbellement. On ne peut douter que cette cave n'ait été destinée à servir de cachot, de chartre, puisqu'elle possède une niche avec siége d'aisances C et petite fosse.
Le sol des lices, ou du chemin militaire extérieur, est, le long de cette tour, au niveau P.
Le cachot B ne reçoit ni air ni lumière de l'extérieur. On observera que la maçonnerie du cylindre, au niveau P, a 5m,20 d'épaisseur (16 pieds), et que derrière les parements, intérieur et extérieur, en pierres d'appareil, cette maçonnerie est composée d'un blocage bien lité de gros moellons de caillasse d'une extrême dureté 101. Il n'était donc pas aisé de saper un ouvrage ainsi construit, défendu par la ceinture des mâchicoulis du chemin de ronde G. Cet ouvrage date de 1400. Nulle trace de plates-formes supérieures pour mettre de la grosse artillerie en batterie. Les bombardes, les passe-volants, veuglaires, basilics, coulevrines, étaient placés sur les ouvrages extérieurs, c'est-à-dire sur la crête du plateau qui sert d'assiette au château, de manière à battre les vallons environnants. Les chemins de ronde supérieurs n'étaient occupés, au moment de la construction du château de Pierrefonds, que par des arbalétriers ou des archers contre l'attaque rapprochée.
Cependant, du jour que les assiégeants possédaient des pièces d'artillerie d'un assez gros calibre pour pouvoir battre les ouvrages extérieurs et éteindre leur feu, il fallait que la défense dernière, le château, pût opposer du canon aux assaillants. Les architectes s'ingénièrent donc, dès l'époque de la guerre contre les Anglais, à trouver le moyen de placer des bouches à feu sur les tours 102. Pour obtenir ce résultat, on donna il celles-ci moins de relief, on augmenta l'épaisseur de leurs parois cylindriques, on les voûta pour porter une plate-forme; ou bien, conservant l'ancien système de la défense supérieure du XIVe siècle, destinée aux arbalétriers, on perça des embrasures pour du canon à la base de ces tours, si elles étaient bâties sur un lieu escarpé, afin de battre les approches 103.
Il faut dire qu'alors les bouches à feu, qui envoyaient des projectiles de plein fouet, n'avaient qu'un faible calibre; ces engins projetaient des balles de plomb, mais plus souvent des pyrites de fer ou de petites sphères de grès dur. Ces derniers projectiles ne pouvaient avoir une longue portée. Quant aux grosses bouches à feu réservées pour les dehors ou les plates-formes des tours, elles n'envoyaient guère, pendant le cours du XVe siècle, que des boulets de pierre à la volée, c'est-à-dire suivant une parabole. Les artilleurs d'Orléans, au moment du siége, en 1428, possédaient cependant des canons envoyant des balles de plein fouet à 600 mètres 104; ces canons furent tous placés sur les anciennes tours ou sur des boulevards 105; quant aux courtines, elles étaient garnies de mâchicoulis et de hourdis de maçonnerie ou de bois. Pendant long temps, en effet, l'artillerie à feu est mise en batterie sur les tours pour commander les approches, ou à la base Des tours pour enfiler les fossés, protéger les courtines, qui ne se défendent que contre l'attaque rapprochée à l'aide des anciennes armes. Ainsi le rôle des tours, à la fin du moyen âge, au lieu de diminuer, prend plus d'importance. Moins rapprochées les unes des autres, puisqu'elles sont munies d'engins à longue portée, elles se projettent davantage en dehors des courtines afin de les mieux flanquer; elles s'en détachent même parfois presque entièrement, surtout aux saillants; elles étendent considérablement leur diamètre, elles renforcent leurs parois et sont casematées. Souvent même la batterie supérieure, au lieu d'être découverte, est blindée au moyen d'une carapace de maçonnerie et de terre. Nous ne pourrions dire si cette innovation des batteries supérieures blindées est due à la France, à l'Allemagne ou à l'Italie. Francesco di Giorgio Martini, architecte de Sienne, qui vivait au milieu du XVe siècle, donne plusieurs exemples de ces tours avec batteries supérieures blindées dans son Traité de l'architecture militaire 106. Nous avons trouvé, en France, des traces de ces couvertures dans des ouvrages en forme de tours protégeant des saillants 107, ce qui n'interdisait pas l'emploi des anciens mâchicoulis et crénelages.

Voici (fig. 35) un exemple de ces sortes de tours. En A est tracé le plan de l'ouvrage au niveau du sol de la place. La salle D est percée d'embrasures pour trois pièces de canon; un escalier, ouvert au centre de cette salle, permet de descendre dans le moineau C', dont le plan est détaillé en C 108. La salle D, voûtée, est ouverte du côté de la place, tant pour aider à la défense que pour laisser échapper la fumée. La tour est munie d'un parapet crénelé avec mâchicoulis en forme de pyramides renversées pour faciliter le tir de haut en bas et mieux protéger le talus. Sur la plate-forme est établie une batterie casematée avec quatre embrasures, ainsi que l'indique le plan B. Ces embrasures commandent les dehors par-dessus la crête des merlons. Une traverse en maçonnerie E garantit les hommes postés derrière le parapet des coups d'enfilade et de revers. La voûte de la batterie et celle du moineau sont couvertes de cran et de terre battue et gazonnée. Le système défensif de cette tour est facile à comprendre. La batterie basse, avec les deux pièces a, enfile les courtines, bat le fossé; et flanque les tours voisines; avec sa pièce b elle défend la contrescarpe du fossé en face du point mort. La batterie haute protége les dehors; le moineau empêche le passage du fossé; les crénelages et mâchicoulis protégent la base de l'ouvrage contre l'attaque rapprochée et la sape.
L'incertitude qui apparaît dans les ouvrages défensifs de la seconde moitié du XVe siècle est ici évidente. On n'ose pas abandonner entièrement la forme et la destination de l'ancienne tour. Les tours étaient les parties fortes des places du moyen âge avant l'emploi des bouches à feu. On ne cherchait point, pendant un siége, à entamer une forteresse par ses tours, mais par ses courtines. Les architectes militaires du XVe siècle n'avaient d'autre préoccupation que d'approprier les tours aux nouveaux engins, de les rendre plus épaisses pour résister aux coups de l'assaillant et à l'ébranlement causé par l'artillerie qu'elles devaient contenir, de les garantir contre les feux courbes et de leur donner un flanquement plus efficace. On voulait leur conserver un commandement sur les dehors et même sur les courtines, et l'on craignait, en les élevant, de les exposer trop aux coups de l'ennemi. On sentait que ces crénelages et ces mâchicoulis étaient, contre les boulets, une faible défense, facilement bouleversée bien avant le moment où l'on en avait le plus besoin, et cependant on ne pensait pas pouvoir les supprimer, tant on avait pris l'habitude de considérer cette défense rapprochée comme une garantie sérieuse. Toutefois ce furent ces mâchicoulis et crénelages qui disparurent les premiers dans les défenses fortement combinées vers la fin du XVe siècle. Le crénelage supérieur, destiné à empêcher l'approche, descendit au niveau du fossé, devint une fausse braie couvrant la base des tours. Le tir à ricochet n'était pas encore employé. Les batteries de l'assiégeant ne pouvaient détruire ce qu'elles ne voyaient pas; or la fausse braie primitive, étant couverte par la contrescarpe du fossé, restait intacte jusqu'au moment où l'assaillant s'apprêtait à franchir ce fossé pour s'attaquer aux escarpes et aux tours. Elle devenait ainsi un obstacle opposé à l'attaque rapprochée, et qui restait debout encore quand toutes les défenses supérieures étaient écrêtées. Mais déjà, vers le milieu du XVe siècle, les armées assiégeantes traînaient avec elles des pièces de bronze sur affûts, qui envoyaient des boulets de fonte 109. Ces projectiles, lancés de plein fouet contre les tours, couvraient les fausses braies d'éclats de pierre et comblaient l'intervalle qui séparait ces fausses braies de la défense, si l'on ruinait celle-ci. Les tours à court flanquement et de faible diamètre devenaient plus gênantes qu'utiles; on songea à les supprimer tout à fait, du moins à les appuyer par de nouveaux ouvrages disposés pour recevoir de l'artillerie, indépendamment des boulevards de terre que l'on élevait en avant des points faibles. Ces nouveaux ouvrages tenaient au corps de la place. Bâtis à distance d'une demi-portée de canon, ils affectaient la forme de grosses tours cylindriques, recevaient des pièces à longue portée à leur sommet pour battre les dehors et enfiler les fronts et les fossés, à leur pied pour la défense rapprochée et pour envoyer des projectiles rasants sur les boulevards de terre qui couvraient les saillants ou les portes 110. Alors, à la fin du XVe siècle, le château féodal ne pouvait avoir assez d'étendue pour se défendre efficacement contre l'artillerie à feu. Le canon acheva la ruine de la féodalité. Il fallait, pour pouvoir résister à l'artillerie à feu, des fronts étendus; les villes seules comportaient ce genre de défenses. Étendant les fronts, il fallait les flanquer. On ne pourvut d'abord à cette nécessité, indiquée par la nature des choses, qu'au moyen de boulevards de terre établis en dehors des saillants et des portes, lesquels boulevards croisaient leurs feux; puis comme il faut, en toute fortification, que ce qui défend soit défendu, on ne trouva rien de mieux que d'établir le long des vieilles enceintes, en arrière des boulevards, de grosses tours ayant assez de relief pour commander ces boulevards et les dehors par-dessus leurs parapets. Les systèmes trouvés par les ingénieurs militaires depuis le XVIe siècle jusqu'à nos jours sont donc en germe dans ces premières tentatives faites à la fin du XVe siècle en Italie, en France et en Allemagne. Les Allemands, conservateurs par excellence, possèdent encore des exemples intacts de ces ouvrages, transition entre l'ancien système de la fortification du moyen âge et le système moderne. Nuremberg est, à ce point de vue, la ville la plus intéressante à étudier.
Le plan général de Nuremberg affecte la forme d'un trapèze arrondi aux angles, possédant un point culminant près de l'un des angles, occupé par un ancien château. Une double enceinte des XIV et XVe siècles avec tours carrées flanquantes et large fossé extérieur plein d'eau, avec contrescarpe, entourait entièrement la cité, traversée par une rivière dans sa largeur. À chaque angle, Albert Dürer éleva une grosse tour, et une cinquième auprès du château, sur le point culminant de la ville. Des portes sont percées dans le voisinage des quatre tours, lesquelles sont protégées par des ouvrages avancés. Du haut de chacune des cinq tours, on découvre les quatre autres. Celles de l'enceinte protégent les saillants, flanquent deux fronts, commandent les portes, enfilent les lices entre les deux enceintes, et découvrent la campagne par-dessus les boulevards des portes. Ces tours ont environ 20 mètres de diamètre à 5 mètres du sol, sont bâties en fruit par assises de grès dur, avec bossages en bas et près du sommet. Au rez-de-chaussée elles possèdent une chambre voûtée, mais tracée de manière à laisser à la maçonnerie une épaisseur considérable du côté extérieur (voyez le plan, fig. 36 111).

L'intérieur de la ville est en A; en B sont les lices, entre la porte de l'enceinte extérieure et celle C de l'enceinte intérieure; la poterne D permet de descendre dans le fossé. En a est pratiqué un large mâchicoulis qui défend l'entrée dans la salle basse, et en b un oeil carré, ouvert dans la voûte, met le premier étage, également voûté, en communication avec ce rez-de-chaussée. On ne monte à la plate-forme supérieure que par un escalier pris dans l'épaisseur du mur et partant du niveau du chemin de ronde des courtines. En d sont deux chambres avec embrasures pour des pièces d'artillerie.

La figure 37 donne la vue perspective de cette tour 112. Les remparts datent du XVe siècle; Albert Dürer n'a bâti, dans cet ouvrage, que la tour et la porte qui s'y réunit. La salle du premier étage était destinée à loger le poste, car elle ne possède aucune embrasure.
Sa voûte épaisse porte la plate-forme circulaire supérieure entourée d'un masque de gros bois de charpente, avec créneaux à volets 113 pour du canon. Un blindage, également de charpente, reçoit la toiture conique qui autrefois était surmontée d'une guette 114. En A nous avons tracé le profil de cette plate-forme supérieure.
Ces commandements élevés furent rarement adoptés en France à dater de la fin du XVe siècle. Les ingénieurs français cherchaient plutôt à élargir les fronts, à étendre le champ de tir, qu'à obtenir des commandements considérables. Ils préféraient les batteries à barbette à ces batteries blindées où le service était gêné et où l'on était étouffé par la fumée, comme dans l'entrepont d'un vaisseau de guerre. D'ailleurs, en supposant ces tours battues par de l'artillerie, même à grande distance, les feux convergents de l'ennemi devaient promptement détruire ces masques de bois qui, pareils à des bordages de gros vaisseaux, n'avaient pas l'avantage de la mobilité que donne la mer et servaient de points de mire. Si longue que fût la portée des pièces mises en batterie sur la plate-forme, ces pièces ne pouvaient opposer qu'un tir divergent à l'artillerie de l'assiégeant et recevaient dix projectiles pour un qu'elles envoyaient 115.
Quelques tentatives en ce genre furent cependant faites de ce côté-ci du Rhin, mais les tours françaises du commencement du XVIe siècle ont un plus grand diamètre, moins de hauteur et étaient couronnées par des batteries à barbette avec gabionnades, ou par des caponnières, comme celle présentée dans l'exemple précédent. Le plus souvent on fit de ces tours de véritables porte-flancs, c'est-à-dire qu'on leur donna, en plan horizontal, la forme d'un fer à cheval, et leurs batteries supérieures ne dépassèrent guère le niveau de la crête des courtines (fig. 38).

Il y a toujours un avantage cependant, pour l'assiégé, à obtenir des commandements élevés, ou tout au moins des guettes qui permettent de découvrir au loin les travaux d'approche de l'assiégeant, à établir sur les bastions retranchés des réduits à cheval sur le fossé du retranchement, de manière à rendre l'occupation du bastion difficile. C'est ce besoin qui explique pourquoi on maintint si tard les vieilles tours des places du moyen âge en arrière des bastions ou des demi-lunes; pourquoi Vauban, dans sa troisième manière, tenta de revenir à ces tours dominant les bastions, et pourquoi aussi Montalembert fit de ces tours dominantes en capitales un des principes de son système défensif. De nos jours et depuis les progrès merveilleux de l'artillerie, la question est de nouveau posée, d'autant que ces tours peuvent servir de traverses pour garantir les défenseurs des coups de revers et défier les effets du tir en ricochet. La difficulté est de recouvrir ces tours d'une cuirasse capable de résister aux projectiles modernes, car, si épaisse que soit leur maçonnerie, celle-ci serait bientôt bouleversée par les gros boulets creux de notre artillerie, et un de ces projectiles pénétrant dans une casemate y causerait de tels désordres, que la défense deviendrait impossible. Ce n'est donc pas seulement la cuirasse qu'il s'agit de trouver, mais aussi, pour les embrasures, un masque qui arrête complétement le projectile de l'ennemi, tout en permettant de pointer les pièces.
Il existe encore un exemple à peu près intact du système défensif de transition où l'emploi des tours (non point d'anciennes tours conservées, mais des tours construites pour recevoir de l'artillerie à feu) entre dans le plan général d'une place forte suivant une donnée méthodique: c'est la place de Salces, commencée en 1497 et terminée vers 1503 environ, sous la direction d'un ingénieur nommé Ramirez.
Voisine de Perpignan, la place de Salces est située entre l'étang de Leucate et les montagnes; elle commande ainsi le passage du Roussillon en Catalogne. Bâtie avec un grand soin, elle consiste en un parallélogramme flanqué aux angles de quatre tours. Deux demi-lunes couvrent deux des fronts. Un donjon occupe le troisième, et une demi-lune forme saillant sur un des angles. Les ouvrages sont casematés; les tours et demi-lunes couronnées par des plates-formes pour recevoir de l'artillerie. De petites bouches à feu étaient en outre mises en batterie dans les étages inférieurs des tours pour enfiler les fossés. Les ouvrages que nous désignons comme des demi-lunes sont de véritables tours isolées porte-flancs, ouvertes à la gorge et réunies aux casemates des courtines par des caponnières, ou galeries couvertes, percées d'embrasures pour de la mousqueterie 116. Un fossé de 15 mètres de largeur environ sur 7 mètres de profondeur circonscrit tout le château. Ce fossé, qui peut être inondé jusqu'au niveau de la cour du château et même au-dessus, est mis en communication avec le château par des poternes étroites. En outre, d'autres issues ouvertes dans la contrescarpe donnaient vraisemblablement sur les dehors, car dans la légende jointe au plan du château de Salces donné par le chevalier de Beaulieu 117, on lit: «Il y a plus de logement soubs terre, dans ce château, qu'il n'y en a dehors; car il est casematé et contre-miné partout, et l'on passe par dessoubs les fossés pour aller dans les dehors...» On ne passait certainement pas sous la cunette des fossés qui étaient inondés, mais on passait au fond du fossé, dans des galeries casematées qui communiquaient à un chemin couvert pratiqué derrière la contrescarpe; chemin couvert dont on retrouve certaines galeries creusées sur le fossé et de là sur les dehors, protégés par des ouvrages de terre avancés.
Mais ce qui donne à l'étude des tours du château de Salces un intérêt marqué, c'est la manière dont elles sont disposées pour abriter les défenseurs. En effet, la place de Salces, barrant la route entre l'étang de Leucate et les derniers contre-forts des Corbières, est dominée par ces hauteurs. Les tours, les courtines, les demi-lunes sont soumises à des vues de revers et d'enfilade.
C'est en exhaussant les parapets des tours du côté dangereux et en établissant à la gorge des tours opposées des parados, que l'ingénieur a couvert les plates-formes. L'exhaussement des parapets du côté de la montagne met les embrasures à couvert, tandis que celles du côté opposé sont à ciel ouvert.

La figure 39 présente à vol d'oiseau la perspective d'une de ces tours. On voit en A le parapet exhaussé défilant les canonniers et les pièces placés sur la plate-forme, ainsi que le ferait un cavalier ou une traverse. Les courtines, construites seulement pour de la mousqueterie, ne sont pas munies d'embrasures, mais possèdent une banquette B et relèvent leurs parapets en face des terrains élevés qui ont des vues sur le château. Des échauguettes C occupent les angles rentrants des tours avec les courtines, et peuvent recevoir des arquebusiers dont le tir flanque les escarpes. De plus, de petites pièces placées dans des étages voûtés et suffisamment aérés enfilent les fossés à la base et vers le sommet des talus des tours.

La figure 40 donne la perspective d'une des demi-lunes avec son parapet relevé en E pour couvrir la plate-forme contre les vues d'enfilade des hauteurs voisines. On observera, dans cette figure, le bec saillant qui renforce la demi-lune sur sa face, et qui couvre une partie de l'angle mort dont l'assiégeant pourrait profiter, car ces demi-lunes sont incomplétement flanquées par les tours d'angle.
Les plates-formes ne sont pas assez spacieuses pour pouvoir garnir à la fois toutes les embrasures par de grosses pièces de canon. L'ingénieur comptait, ou ne mettre en batterie que des fauconneaux, ou changer les pièces de place au besoin.
«De grandes précautions sont prises contre la mine, dit M. le capitaine Ratheau 118; une galerie règne le long des quatre courtines, en avant des souterrains, et de distance en distance sont des amorces de galerie d'écoute ingénieusement disposées.»
TOURS-RÉDUITS tenant lieu de donjons ou dépendant de donjons.--Les plus anciens donjons ne sont guère que de grosses tours voisines de l'un des fronts du château féodal, commandant les dehors du côté attaquable et tous les ouvrages de la forteresse, avec sortie particulière sur les dehors et porte donnant dans la cour du château (voyez ARCHITECTURE MILITAIRE, CHÂTEAU, DONJON). Mais certaines places fortes possédaient des réduits qui doivent être plutôt considérés comme des tours dominantes et indépendantes que comme des donjons. Puis, vers la fin du XIIIe siècle, les donjons devenant de véritables logis, renfermant les services propres à l'habitation, sont renforcés souvent de tours formidables qui commandent les dehors, protégent ces logis et deviennent au besoin des réduits pouvant tenir encore, si le donjon était en partie ruiné par la sape ou l'incendie.
On voit encore à Compiègne les restes d'une grosse tour du commencement du XIIe siècle, voisine de l'ancien pont sur lequel passa Jeanne Darc le jour où elle fut prise par les Anglais, et qui est un de ces ouvrages servant de réduit le long d'une enceinte. À Villeneuve-sur-Yonne il existe également, sur le front opposé à la rivière, une grosse tour cylindrique indépendante, qui servait de réduit et commandait la campagne. Cette tour appartient au XIIIe siècle. Le château de Carcassonne possède, sur le front qui fait face au dehors, du côté de la Barbacane et de l'Aude, deux tours sur plans quadrangulaires presque juxtaposées, qui tenaient lieu de donjon; ces tours datent du XIIe siècle et furent encore surélevées à la fin du XIIIe (voyez ARCHITECTURE MILITAIRE, fig. 12 et 13). Le château (palais) des papes, à Avignon, ne possède pas, à proprement parler, de donjon, mais plusieurs tours-réduits qui commandent les dehors et la forteresse et qui datent du XIVe siècle. Il est donc nécessaire de distinguer, dans cet article, les tours-réduits tenant à des enceintes, des tours-réduits tenant à des châteaux et des tours tenant à des donjons. Nous nous occuperons d'abord des premières.
C'est encore à l'enceinte de la cité de Carcassonne qu'il faut recourir pour trouver les exemples les mieux caractérisés de ces tours, sortes de donjons appuyant un front. Le long de la première enceinte de cette cité, vers le sud-est, il existe une grosse tour cylindrique presque entièrement détachée de cette enceinte, et qui a nom, tour de la Vade ou du Papegay 119. Elle est bâtie sur un saillant et en face de la partie la plus élevée du plateau qui, de ce côté, fait face aux remparts. Sa base est flanquée par un redan de la courtine et par la tour que nous avons donnée dans cet article 120. Elle domine de beaucoup les alentours, est complétement fermée, et n'était commandée que par la tour qui, derrière elle, appartient à l'enceinte intérieure. Elle renferme cinq étages, dont trois sont voûtés. Son crénelage supérieur était, en cas de guerre, garni de hourds 121. Le sol de l'étage inférieur est un peu au-dessus du niveau du fond du fossé. Cet étage inférieur possède un puits.

Nous donnons les plans des étages de cette tour figure 41.
L'étage A est à rez-de-chaussée pour le chemin militaire des lices L, entre les deux enceintes de la cité. Le chemin de ronde des courtines de l'enceinte extérieure est en c, le fossé en F. De la route militaire L, on monte sur le chemin de ronde par un degré d'une dizaine de marches d, puis on se trouve en face de l'unique porte de la tour e qui donne entrée dans la salle voûtée S. En prenant l'escalier f, on descend à l'étage inférieur B, également voûté. Cet escalier débouche en g'. Une trémie, établie de g' en g, permet de monter, au moyen d'un treuil de l'eau ou des provisions au niveau du sol du rez-de-chaussée. Le puits est en p. Cette cave n'est éclairée que par deux soupiraux relevés i. De la salle du rez-de-chaussée S, en prenant l'escalier k, on monte à la salle du premier étage S', où l'on débouche en l. Cette salle S', voûtée, possède une cheminée m et est éclairée pàr quatre meurtrières et une baie relevée. De cette salle S'', en prenant l'escalier n, on monte à la salle du second étage S'', couverte par un plancher; cet escalier débouche en o. En reprenant le degré q, on arrive au crénelage supérieur. Ce second étage possède quatre fenêtres et des latrines en t. On remarquera que la salle du rez-de-chaussée S est percée de sept meurtrières qui enfilent la crête de la contrescarpe du fossé. Si nous faisons une section sur ab, et que nous prenions la partie de cette section du côté des lices, nous obtenons la coupe figure 42, coupe qui permet de se rendre compte de la disposition de toutes les issues des escaliers.

Le niveau du fond du fossé est en N et les niveaux des crénelages des courtines en R. En E est tracé le plan du crénelage supérieur, au sol duquel on arrive par l'escalier h. Des hourds étaient disposés tout autour de ce crénelage, ainsi que nous l'avons indiqué partiellement en VV'. Par les fenêtres rr (voyez en D, fig. 41), le poste enfermé dans la tour voyait les parties supérieures de l'enceinte intérieure et communiquait ou recevait des avis. Trente hommes pouvaient facilement loger dans cette tour, y amasser des provisions pour longtemps, avoir de l'eau et faire la cuisine. C'était donc un réduit se défendant encore si l'enceinte extérieure tombait au pouvoir de l'assiégeant. La seule entrée, étroite, était barricadée et fermée avec des barres épaisses.
La tour du Trésau, de la même cité de Carcassonne, attachée à l'enceinte intérieure et qui dépend des ouvrages dus à Philippe le Hardi, est aussi un réduit. Nous donnons cette belle tour à l'article CONSTRUCTION fig. 149, 150, 151, 152, 153 et 154.
La tour du Trésau domine de beaucoup les courtines, et, de plus, elle est munie de deux guettes qui permettaient de découvrir tous les abords de la cité de ce côté, le château, la tour du coin ouest au saillant opposé, et tout le front du nord (voyez le plan de la cité, ARCHITECTURE MILITAIRE, fig. 11 122).
Il serait superflu de fournir un grand nombre d'exemples de ces tours, qui ne diffèrent des tours flanquantes fermées que par leur hauteur et leur diamètre relativement plus fort. Les enceintes bien défendues possédaient toujours un certain nombre de tours-réduits plus ou moins considérable, en raison de leur étendue; quelques enceintes d'un développement peu considérable n'en possédaient parfois qu'une seule. Telle est l'enceinte de Villeneuve-sur-Yonne. Cette tour remplaçait alors le château et était entourée d'une chemise. Les tours dépendant de châteaux et tenant lieu de donjons présentent, au contraire, comme les donjons eux-mêmes, une grande variété de formes. Les unes sont indépendantes, peuvent au besoin s'isoler, possèdent une chemise, ont leur porte relevée au-dessus du sol extérieur; les autres sont comme le réduit du donjon et y tiennent par un point: elles sont au donjon ce que celui-ci est au château. Il ne faut pas perdre de vue la véritable fonction du donjon, qui est l'habitation du seigneur; or il est fort rare de trouver des donjons qui, comme ceux du Louvre et de Coucy, ne se composent que d'une grosse tour sans aucune dépendance. Nous voyons que les donjons normands, par exemple ceux du Berry, du Poitou, consistent habituellement, jusqu'au XIIIe siècle, en un gros logis quadrangulaire divisé à chaque étage en deux salles. Ce donjon était toujours l'habitation seigneuriale. Les donjons du Louvre et de Coucy sont des exceptions, et ne servaient de logis seigneurial qu'en temps de guerre (voy. DONJON).
Dans tous les châteaux de quelque importance, il est une partie plus forte, dont les murailles sont plus épaisses, qui domine les autres ouvrages; partie qui est réellement le donjon. Ou ce donjon est renforcé d'une tour plus haute et plus forte que les tours de flanquements; ou bien, à côté de la partie du château qui était le plus spécialement réservée à l'habitation du seigneur, est une tour isolée qui devient, en cas de siége, le réduit dans lequel le seigneur se retire avec ses fidèles, sa famille et ce qu'il possède de plus précieux. Enfermé dans cette tour, il surveille les dehors (car ces ouvrages sont élevés sur le point le plus accessible); il contient sa garnison et peut soutenir un second siége lorsque le château proprement dit est pris. Si le château n'occupait pas une assez grande surface de terrains propres à recevoir des bâtiments pour les gens de la garnison, une cour, un logis pour le seigneur ou donjon complet, s'il avait peu d'étendue, en temps ordinaire le seigneur et les siens occupaient le logis; en temps de guerre, il appelait les hommes liges, ceux qui lui devaient le service militaire, il recrutait des gens de guerre soldés, et se retirait, lui et ses proches, dans une tour, la plus forte, qui devenait ainsi le donjon. Nous trouvons la trace bien évidente de cet usage jusqu'au XIVe siècle, dans les places fortes intéressantes, mais petites, de la Guyenne. Plus anciennement, dans des châteaux de l'Île-de-France d'une médiocre étendue, nous pouvons également reconnaître cette disposition. À peine si les caractères effacés de notre siècle nous permettent de comprendre la vie, en temps de guerre, d'un seigneur possesseur de fiefs considérables et d'une belle et grande habitation seigneuriale; mais combien nous sommes loin de nous représenter exactement l'énergie morale et physique de ces châtelains possesseurs de forteresses peu étendues, et dans lesquelles, cependant, ils n'hésitaient pas, au besoin, à se défendre contre des voisins dix fois plus puissants qu'eux. Dans ces places resserrées, le châtelain, entouré d'un petit nombre de vassaux sur la fidélité desquels il pouvait toujours compter, s'enfermait dans la tour maîtresse, et de là devait pourvoir à la défense extérieure, prévoir les trahisons, et inspirer assez de crainte et de respect à sa garnison pour qu'elle ne fût pas tentée de l'abandonner. Alors (ce fait se présentait-il souvent) le châtelain et quelques fidèles, les ponts coupés, les herses baissées, les portes et fenêtres barricadées, enclos dans ce dernier refuge, se défendaient à outrance jusqu'à ce que les vivres vinssent à manquer.
Ce système de réduit, propre à une défense extrême, est adopté d'une manière absolue dans la grosse tour éventrée du château de Montépilloy, près de Senlis. D'un côté, cette tour donnait sur la baille du château, de l'autre sur le château lui-même, qui avait peu d'étendue 123. Nous parlons ici du château tel qu'il existait au XIIe siècle avant les adjonctions et modifications que lui fit subir Louis d'Orléans.

Nous donnons (fig. 43) le plan du premier étage de cette tour, au niveau duquel s'ouvrait la seule poterne donnant entrée dans l'intérieur. En A est la porte qui permet de descendre, par un escalier voûté, dans l'épaisseur du cylindre, à l'étage inférieur; en B, la porte qui, par un long degré, également voûté, donne accès au second étage en C, et à la chambre D de la herse et du mâchicoulis de la poterne. En continuant l'ascension par le degré, on arrive au troisième étage. La poterne P est donc relevée au-dessus du sol extérieur de toute la hauteur du rez-de-chaussée. On n'y arrive que par une passerelle de bois facile à détruire. Cette poterne était fermée au moyen d'une grille, d'une herse, d'un mâchicoulis et d'un vantail barré. Une petite chambre E, propre à contenir deux hommes, est percée d'une meurtrière oblique qui enfile le tablier de la passerelle. Ce tablier était percé d'une trappe, par laquelle, au moyen d'une échelle, on descendait, défilé par la pile du pont, sur le chemin de ronde de la chemise G. L'intervalle entre cette chemise et la tour formait donc comme un fossé 124.

La coupe faite sur ab (fig. 44) montre en A la tour de Montépilloy telle qu'elle existait au XIIe siècle, et en B avec les modifications qui furent apportées aux défenses, en 1400, dans les parties supérieures 125. On voit en C la coupe de la chemise, en P la coupe de la poterne, et en D celle de la chambre de la herse et du mâchicoulis au-dessus de cette poterne. On observera que le rez-de-chaussée est voûté, ainsi que l'étage au-dessus, au moyen d'arcs ogives à section rectangulaire reposant sur cinq piles. Cette salle voûtée supérieure est divisée par un plancher, c'est le second étage. Le troisième étage, dans lequel on débouche par la porte I, est resté tel qu'il était au XIIe siècle, seulement au XVe siècle on entailla sa muraille sur un point pour y loger un escalier à vis qui était destiné à monter au quatrième étage et à l'étage crénelé, avec mâchicoulis, M. La hauteur de l'ancienne tour ne dépassait pas le niveau N. Alors les hourds H donnaient une plongée en dehors de la chemise, comme l'indique la ligne ponctuée. Ce quatrième étage était destiné à l'approvisionnement des projectiles et à la défense supérieure qui se faisait par une série d'arcades dont on distingue quelques restes englobés dans la maçonnerie de 1400; arcades qui mettaient la salle supérieure en communication avec les hourds. Cette défense n'ayant pas paru avoir un commandement suffisant, en 1400 on suréleva cet étage à arcades; on le voûta en V, et l'on établit sur cette voûte une plate-forme avec crénelage et mâchicoulis M dont la plongée permettait de battre le pied de l'escarpe de la chemise, ainsi que l'indique, de ce côté, la ligne ponctuée. Il est clair que les passerelles S qui mettaient la tour en communication avec le château pouvaient être enlevées facilement. En E est figurée l'échelle qui, de la trappe de cette passerelle, permettait de descendre derrière la pile par le chemin de ronde de la chemise.

La figure 45 donne le développement de l'intérieur de la tour de Montépilloy de e en f (voyez au plan, fig. 43). Les escaliers, pris aux dépens de l'épaisseur du mur cylindrique, sont indiqués par des lignes ponctuées. En A est la poterne, et en B, au-dessus, la chambre de la herse et du mâchicoulis. En C, les arcades qui, de l'étage supérieur, donnaient sur la galerie des hourds avant la sur-élévation du XVe siècle.
Cette construction est bien faite, en assises réglées de 0m,32 de hauteur (un pied), et tout l'ouvrage serait intact si l'on n'avait pas fait sauter à la mine la moitié environ du cylindre. Heureusement la partie conservée est celle qui présente le plus d'intérêt, en ce qu'elle renferme les escaliers de la poterne. Naturellement on a fait sauter de préférence les parties qui regardaient l'extérieur, lorsqu'on a voulu démanteler le château.
On comprend, quand on visite le château de Montépilloy, pourquoi Louis d'Orléans jugea nécessaire de surélever la tour et de la terminer par une plate-forme.
Possesseur du duché de Valois, prétendant faire de ce territoire un vaste réseau militaire propre à dominer Paris, il était important d'avoir près de Senlis, sur la route de la capitale, un point d'observation qui pût découvrir le parcours de cette route depuis sa sortie de Senlis jusqu'à Crespy. Or, on ne pouvait mieux choisir ce point d'observation qui, occupé par une garnison sur une hauteur, permettait de couper le passage à tout corps d'armée débouchant de Senlis. Cette garnison avait d'ailleurs la certitude d'être soutenue par les troupes enfermées dans Crespy, Béthisy, Vez et Pierrefonds, si ce corps d'armée tentait de forcer le passage. Les gens sortis de Montépilloy n'avaient point à s'inquiéter s'ils étaient coupés eux-mêmes de leur château, puisqu'ils pouvaient battre en retraite jusqu'à Crespy, et plus loin encore, en défendant pied à pied la route qui pénètre au coeur du Valois. Mais pour que ces obstacles fussent efficaces, il fallait avoir le temps: 1º de se mettre en travers de la route ou sur ses flancs, au moment où une armée envahissante sortait de Senlis; 2º de prévenir par des signaux ou des émissaires les garnisons des châteaux de Crespy et de Béthisy situés chacun à huit kilomètres de Montépilloy, afin de se faire appuyer sur les flancs.
Or, pour prendre ces dispositions militaires, il était d'une grande importance de donner à la tour de Montépilloy la hauteur que nous lui connaissons.
Il faut considérer que l'élévation de ces sortes de tours tenait bien plus de leur situation stratégique que de leur défense propre. On fait habituellement trop bon marché des dispositions stratégiques dans les forteresses du moyen âge. On les étudie séparément, avec plus ou moins d'attention, mais on tient peu compte de l'appui qu'elles se prêtaient pour défendre un territoire appartenant à un même suzerain ou à des seigneurs alliés en vue d'une défense commune, fait qui se présentait souvent. La fréquence des luttes entre châtelains n'empêchait point qu'ils ne se réunissent, à un moment donné, contre un envahisseur; et ce fait s'est présenté notamment lors du voyage de saint Louis dans la vallée du Rhône pour se rendre à Aigues-Mortes. Ce prince réduisit les petites forteresses qui commandaient le fleuve, et dont les possesseurs se défendirent tous contre son corps d'armée, bien que ces châtelains fussent perpétuellement en guerre les uns avec les autres.
Pour ne parler que d'une contrée qui a conservé un grand nombre de restes féodaux, le Valois, on remarquera que les postes militaires éiaient disposés en vue d'une défense commune au besoin, bien avant la suzeraineté de Louis d'Orléans, et que ce prince ne fit qu'améliorer et compléter une situation stratégique déjà forte.
Le Valois était borné au nord-ouest et au nord par les cours de l'Oise, de l'Aisne et de la Vesle, au sud-est par la rivière d'Ourcq, au sud par la Marne. Il n'était largement ouvert que du côté de Paris, au sud-ouest, de Gesvres à Creil. Or, le château de Montépilloy est placé en vedette entre ces deux points, sur la route de Paris passant par Senlis; il s'appuyait sur le château de Nanteuil-le-Haudouin, sur la route de Paris à Villers-Cotterets, et qui se reliait au château de Gesvres, sur l'Ourcq. C'était une première ligne de défense couvrant les frontières les plus ouvertes du duché. En arrière, était une seconde ligne de places s'appuyant à l'Oise et suivant le petit cours d'eau de l'Automne: Verberie, Béthisy, Crespy, Vez, Villers-Cotterets, la Ferté-Milon sur l'Ourcq, et Louvry au delà. Derrière ces deux lignes, Louis d'Orléans établit, comme réduit seigneurial, la place de Pierrefonds, dans une excellente position. Des tours isolées furent élevées ou d'anciens châteaux augmentés sur les bords de l'Aisne et de l'Ourcq. Le passage de la Champagne en Valois, entre ces deux rivières, était commandé par les châteaux d'Ouchy, sur l'Ourcq, et de Braisne, sur la Vesle, couverts par la forêt de Daule.
Au nord, en dehors du Valois, dans le Vermandois, Louis d'Orléans avait acheté et restauré la place de Coucy, qui couvrait le cours de l'Aisne. Tous ces châteaux (Coucy excepté) étaient mis en communication par les vues directes qu'ils avaient les uns sur les autres au moyen de ces hautes tours, ou par des postes intermédiaires. C'est ainsi, par exemple, que le château de Pierrefonds était mis en communication de signaux avec celui de Villers-Cotterets par la grosse tour de Réalmont, dont on voit encore les restes sur le point culminant de la forêt de Villers-Cotterets.
Les expéditions tentées par Louis d'Orléans, et qui n'eurent qu'un médiocre succès, ne prouveraient pas en faveur des talents militaires de ce prince, mais il est certain que lorsqu'il résolut de s'établir dans le Valois de manière à se rendre maître du pouvoir et à dominer Paris, il dut s'adresser à un homme habile, car ces mesures furent prises avec une connaissance parfaite des localités et le coup d'oeil d'un stratégiste. Aussi le premier acte du duc de Bourgogne, après l'assassinat du duc d'Orléans, fut-il d'envoyer des troupes dans le Valois, pour mettre la main sur ce réseau formidable de places fortes.
Ainsi donc il ne faut pas confondre le donjon proprement dit, ou habitation seigneuriale, dernier réduit d'une garnison, avec ces tours qui, indépendamment de ces qualités, ont été élevées suivant une disposition stratégique, afin d'établir des communications entre les diverses places d'une province, et de fournir les moyens à des garnisons isolées de concerter leurs efforts.
La féodalité en France et en Angleterre possède ce caractère militaire particulier; caractère que nous ne voyons pas exprimé d'une manière aussi générale en Allemagne et en Espagne, si ce n'est, dans cette dernière contrée, par les Maures. Il semble chez nous que ces dispositions défensives d'ensemble soient dues plus particulièrement au génie des Normands, qui, au moment de leur entrée sur le sol des Gaules, comprirent la nécessité de concerter les moyens défensifs pour assurer leur domination. Aussi ne les voyons-nous jamais perdre du terrain dès qu'ils ont pris possession d'une contrée; et, de toutes les conquêtes enregistrées depuis l'époque carlovingienne, celles des Normands ont été à peu près les seules qui aient pu assurer une possession durable aux conquérants: la noblesse française profita, pensons-nous, de cet enseignement, et, malgré le morcellement féodal, comprit de bonne heure cette loi de solidarité entre les possesseurs d'un pays. L'unité que put établir plus tard la monarchie avait donc été préparée, en partie, par un système de défense stratégique du sol, par provinces, par vallées ou cours d'eau. Philippe-Auguste paraît être le premier qui ait compris l'importance de ce fait, car nous le voyons rompre méthodiquement ces lignes ou réseaux de forteresses, en s'attaquant toujours, dans chaque noyau, avec la sagacité d'un capitaine consommé, à celle qui est comme la clef des autres; Saint Louis continua l'oeuvre de son aïeul moins en guerrier qu'en politique.
Quand les Anglais furent en possession de la Guyenne, ils suivirent avec méthode ce principe de défense, et tous les châteaux qu'ils ont élevés dans cette contrée ont, indépendamment de leur force particulière, une assiette choisie au point de vue stratégique. Nous trouvons en Bourgogne l'influence de la même pensée. Nulle contrée peut-être ne présentait un système de défense solidaire plus marqué. Les cours d'eau, les passages, sont hérissés d'une suite de châteaux ou postes dont l'emplacement est merveilleusement choisi, tant pour la défense locale que pour la défense générale contre une invasion. Ces points fortifiés se donnent la main comme le faisaient nos tours de télégraphes aériens; et la preuve en est que la plupart de ces postes télégraphiques, en Bourgogne, s'établirent sur les restes des forteresses des XIIIe et XIVe siècles. Considérant donc les châteaux à ce point de vue, on comprend l'importance des tours dont nous nous occupons; elles constituaient une défense sérieuse par elles-mêmes, et assuraient d'autant mieux ainsi la communication entre les garnisons féodales, leur action commune. Il importait surtout, si l'un de ces châteaux était pris par trahison ou par un coup de main, que des hommes dévoués pussent tenir encore quelques jours ou seulement quelques heures dans ces réduits, du haut desquels il était facile de communiquer, par signaux, avec les forteresses les plus rapprochées; car, alors, les garnisons voisines pouvaient, à leur tour, envahir la place tombée et mettre l'agresseur dans la plus fâcheuse position. C'est ce qui arrivait fréquemment. En France, les cours d'eau ont un développement considérable, les bassins sont parfaitement définis; il s'établissait ainsi forcément, par la configuration même du terrain, de longues lignes de forteresses solidaires qui préparaient merveilleusement l'unité d'action en un moment donné. Ce sont là des vues qui nous semblent n'avoir pas été suffisamment appréciées dans l'histoire de notre pays, et qui expliqueraient en partie certains phénomènes politiques que l'on énonce trop souvent sans en rechercher les causes diverses. Mais toute notre histoire féodale est à faire, et, pour l'écrire, il serait bon, une fois pour toutes, de laisser de côté ces lieux communs sur les abus du régime féodal. Il est bien certain que nous ne pourrons posséder une histoire de notre pays que du jour où nous cesserons d'apprécier notre passé avec les partis pris qui nous troublent l'entendement, du jour où nous saurons appliquer à cette étude l'esprit d'analyse et de méthode que notre temps apporte dans l'observation des phénomènes naturels, du jour, enfin, où nous comprendrons que l'histoire n'est pas un réquisitoire ou un plaidoyer, mais un procès-verbal fidèle et impartial dressé pour éclairer des juges, non pour faire incliner leur opinion vers tel ou tel système.
Mais laissons là ces considérations un peu trop générales relativement à l'objet qui nous occupe, et revenons à nos tours.
Parmi ces tours de la Bourgogne dont la destination est bien marquée, c'est-à-dire qui servaient à la fois de réduits au besoin et de postes d'observation, il faut citer la tour de Montbard, du sommet de laquelle on aperçoit la tour du petit château qui domine le village de Rougemont, sur la Brenne, et le château de Montfort, qui, par une suite de postes, mettait Montbard en communication avec le château de Semur en Auxois, sur l'Armançon.
Montbard était un point très-fort; le château occupait un large mamelon escarpé, de roches jurassiques, à la jonction de trois vallées. De ce château il ne reste que l'enceinte, et la grosse tour à six pans, qui occupe un angle de cette enceinte au point culminant, de telle sorte qu'elle donne directement sur les dehors, au-dessus de roches abruptes.

La figure 46 donne les plans de cette tour, qui date de la fin du XIIIe siècle. Le rez-de-chaussée A se compose d'une salle dans laquelle on n'entre que par la porte a, percée au niveau du sol du terre-plein; en b et c sont les deux courtines. L'angle d profite d'une saillie du rocher et contient des latrines. Un caveau est creusé dans le roc, au-dessous de cette salle; son orifice est en e. La salle basse est éclairée par deux fenêtres et possède une meurtrière sur les dehors; elle est voûtée en arcs d'ogive et n'est pas mise en communication avec les étages supérieurs. On ne peut pénétrer dans la salle du premier étage que par les chemins de ronde des courtines (voyez en B). L'angle g est couvert par un talus de pierre; puis, à partir de ce niveau, un pan coupé h correspond au pan coupé i. Le pan coupé h est porté sur l'arc inférieur j. La salle du premier étage est éclairée par deux fenêtres donnant sur les dehors. Un escalier, pratiqué dans l'épaisseur du mur, du côté du terre-plein, monte au deuxième étage, semblable en tout au troisième, dont nous donnons le plan (voyez en C). Ce troisième étage possède trois fenêtres et deux armoires k qui n'existent pas dans l'étage du dessous, à cause du passage de l'escalier. Ces pièces sont voûtées comme le rez-de-chaussée.

Un escalier à vis monte à la plate-forme, dont nous donnons le plan figure 47. Cette plate-forme est défendue par un crénelage, et, sur chaque face, par un mâchicoulis avec meurtrière 126.

La figure 48 donne la coupe de cet ouvrage sur la ligne op. Des pinacles, dressés sur le crénelage supérieur, font reconnaître au loin le sommet de la tour. Le couronnement du donjon de Coucy présente une disposition analogue 127. Ces pinacles pouvaient d'ailleurs faciliter l'intelligence des signaux, puisqu'une bannière posée au droit de tel pinacle indiquait un mouvement de l'ennemi, ou les dispositions prises par la garnison, ou la nature des secours qu'elle attendait.
La porte A de l'étage inférieur était masquée par le terre-plein du château, dont le niveau s'élevait au-dessus de son linteau. Les défenseurs préposés à la garde de la tour, postés dans les étages supérieurs, commandaient les deux courtines, et tous les efforts d'un assaillant qui, après s'être emparé du château, aurait cherché à pénétrer dans l'étage inférieur de la tour,--ce qui était difficile, puisque sa porte est percée dans un angle rentrant,--n'auraient abouti qu'à le faire tomber dans une véritable souricière, puisque cet étage n'a pas de communication avec les salles supérieures. D'ailleurs, un mâchicoulis est directement placé au-dessus de cette porte et en rendait l'accès fort périlleux. Si, du dehors, l'assaillant, au moyen d'échelles, gravissant le rocher à pic sur lequel la tour est bâtie, parvenait à attacher le mineur au pied de cette tour et pénétrait dans la salle du rez-de-chaussée,--opération qui n'était guère praticable,--il n'était pas pour cela maître de l'ouvrage. Ici le système angulaire est adopté pour le plan de la tour, conformément à la méthode admise vers la fin du XIIIe siècle pour les tours-réduits couronnées par des plates-formes, particulièrement dans les provinces méridionales. Cette configuration se prêtait mieux au logement des hommes et aux dispositions d'habitation que la forme circulaire; elle donnait des faces inabordables, et l'on comptait sur la force passive des saillants pour résister aux attaques. Ceux-ci étaient d'ailleurs flanqués par des échauguettes supérieures, ou, vers le milieu du XIVe siècle, dominés par des mâchicoulis.
C'est en 1318 que l'archevêque Gilles Ascelin construisit la grosse tour quadrangulaire du palais archiépiscopal de Narbonne. Cet ouvrage est un réduit, en même temps qu'il commande la place de la ville, les quais de l'ancien port, les rues principales et tous les alentours. Bâti à l'angle aigu formé par les bâtiments d'habitation, il peut être isolé, puisqu'il n'avait, avec ces corps de logis, aucune communication directe 128. Cette tour renferme quatre étages et une plate-forme ou place d'armes, en contre-bas du crénelage, bien abritée du vent, terrible en ce pays, et pouvant contenir une masse considérable de projectiles. Trois échauguettes flanquent, au sommet de la tour, les angles vus, et le quatrième angle, qui est engagé dans le palais, contient l'escalier couronné par une guette.

Voici (fig. 49) les plans de cette tour, en A, au niveau du sol extérieur, et en B, au niveau du premier étage. L'étage A n'est qu'une cave circulaire voûtée en calotte hémisphérique, ne prenant pas de jour à l'extérieur. Le premier étage, de forme octogone à l'intérieur, se défend par des meurtrières sur chacune des trois faces vues du dehors. On observera que les chambres de tir de ces meurtrières sont séparées de la salle centrale, qui est voûtée en arête. Au-dessus (fig. 50) est élevée une salle quadrangulaire destinée à l'habitation (plan C).

Cette salle était la seule qui possédât une cheminée. Elle était éclairée par trois fenêtres et couverte par un plafond de charpente. Le quatrième étage présente également une salle carrée, voûtée en arcs d'ogive, possédant trois petites fenêtres et des meurtrières dont les chambres de tir sont, de même qu'au premier étage, séparées de la salle centrale (plan D). Puis, sur la voûte est disposée la plate-forme, dont la figure 51 donne le plan.

La partie centrale, immédiatement sur la voûte, est en contre-bas du chemin de ronde, dont le parapet n'est point percé de créneaux, mais seulement de longues meurtrières. Les échauguettes flanquantes possèdent trois étages de meurtrières. Les défenseurs pénètrent dans l'étage inférieur par les portes a, percées un peu au-dessus du niveau de la place d'armes, dans le premier étage par les portes b, et arrivent au troisième étage, à ciel ouvert, par les baies d. De l'escalier à vis on arrive à la place d'armes par la porte c, et au chemin de ronde du crénelage par la porte e. Les chemins de ronde pourtournent en f les échauguettes.

Une coupe faite sur gh (fig. 52) explique cette intéressante disposition. En A est la salle destinée à l'habitation du seigneur, tous les autres étages étant aménagés pour la défense. Cette tour ne possédait ni hourds ni mâchicoulis; elle se défendait surtout par sa masse, composée d'une excellente maçonnerie de pierre de taille dure de Sainte-Lucie. Les faces étaient à peine flanquées par les échauguettes. Aussi pensons-nous qu'en cas de siége, des mâchicoulis de bois étaient disposés au-dessus du parapet, ou peut-être seulement au-dessus des échauguettes, pour pouvoir découvrir la base de la tour et la défendre. Ce magnifique réduit est un chef-d'oeuvre de structure; les assises, réglées de hauteur, sont choisies dans le coeur de la pierre et reliées par un excellent mortier. Dans cette masse nul craquement, nulle déchirure; c'est un bloc de maçonnerie homogène. Cette place d'armes, pratiquée à un niveau inférieur à celui du chemin de ronde, servait à plusieurs fins. C'était une excellente assiette pour établir des engins à longue portée, mangonneaux ou pierrières, un abri pour les défenseurs et un magasin à projectiles.
Vers le même temps, c'est-à-dire de 1320 à 1325, était élevée, au château de Curton, en Guyenne (arrondissement de Libourne), une tour-réduit dont le plan présente certaines particularités remarquables. Ce château était plutôt défendu par sa position et son double fossé que par ses ouvrages; seule, la tour principale avait de l'importance 129. Cette tour, dont la figure 53 présente les plans, contenait cinq étages et un cachot, tous voûtés en berceaux chevauchés.

La seule entrée b, dans la tour, était pratiquée du logis voisin au niveau du second étage A. Par l'escalier à vis on descendait à l'étage au-dessous B, percé de deux meurtrières. Par une trappe c on descendait dans le cachot C, composé de deux étroites galeries se coupant à angle droit et contenant un siége d'aisances. L'escalier à vis montait du second étage A aux trois salles supérieures, bâties sur le même plan, et à la plate-forme D, munie d'un crénelage et de mâchicoulis. Les contre-forts qui épaulent les quatre angles n'avaient d'autre fonction que de donner des flanquements, car les murs de la tour sont assez épais pour n'avoir pas besoin de ces appendices. Si l'on examine le plan général du château 130, on verra en effet que l'angle G forme un saillant que flanquent (incomplétement, il est vrai) les échauguettes voisines. Ce renfort avec saillant avait encore l'avantage de rendre la tâche du mineur beaucoup plus longue et plus difficile. La tour de Curton a d'ailleurs 33 mètres de hauteur, du niveau du sol du cachot à la plate-forme supérieure, et les quatre contre-forts augmentent singulièrement son assiette. Dans la même contrée, il faut citer la tour carrée du château de Lesparre, qui était un réduit couronné par une plate-forme sur voûte 131, un véritable poste, car la surface de ce château en dehors de la tour carrée n'est que de 700 mètres. Beaucoup de ces châteaux de la Guyenne anglaise du XIVe siècle n'ont qu'une très-médiocre étendue, et paraissent plutôt être des forteresses propres à garder le pays que des habitations seigneuriales telles qu'étaient nos châteaux du Nord. Ce n'est pas qu'alors la population de la Gascogne ne fût complétement soumise à la domination anglaise, dont elle n'avait pas à se plaindre et qui fut pour ce pays une ère de prospérité, mais il s'agissait de protéger la Guyenne contre les attaques presque continuelles du roi de France, et ces petits châteaux, nombreux, bien établis au point de vue stratégique, commandant le cours de la Garonne et les débouchements des vallées latérales, étaient plus propres à garder la campagne que ne l'eussent été de vastes forteresses séparées par de grandes distances. Aussi la plupart de ces petits châteaux, bâtis ou restaurés à cette époque, se défendent-ils par leur assiette même, quelques ouvrages peu importants et par des tours-réduits, où des troupes d'hommes d'armes isolées pouvaient se retirer et attendre en sûreté qu'on les vînt dégager; d'où elles pouvaient sortir et surveiller la contrée.
En Normandie, où la domination anglaise, au commencement du XVe siècle, fut contestée par une grande partie de la population, où il s'agissait non-seulement de protéger le pays contre des ennemis du dehors, mais de se garder contre ceux du dedans, les rares fortifications que les Anglais ont élevées ont un tout autre caractère. Elles tendent à augmenter et à renforcer les places importantes, afin d'avoir des garnisons nombreuses centralisées sur certains points stratégiques. C'est ainsi que le château de Falaise, dont la position était si importante, fut renforcé pendant la domination anglaise, c'est-à-dire de 1418 à 1450, par une grosse tour cylindrique qui formait une annexe au donjon normand du XIIe siècle (fig. 54).

Le château de Falaise couvre une surface d'un hectare et demi 132; le donjon, composé de bâtiments quadrangulaires juxtaposés, suivant l'habitude normande, était peu élevé et ne commandait pas suffisamment les dehors: les Anglais y ajoutèrent la grosse tour A, dite tour de Talbot, qui renferme six étages, dont un cachot et l'étage de combles. Cette grosse tour-réduit est couronnée par des mâchicoulis avec chemin de ronde. Le crénelage supérieur et le comble n'existent plus depuis les guerres de religion du XVIe siècle. Plusieurs anciens donjons carrés de l'époque romane furent simplement considérés comme des logis à la fin du XIVe siècle et au commencement du XVe siècle, logis que l'on renforçait au moyen de grosses tours annexes. Cette disposition motiva un nouveau programme qui fut suivi, à cette époque, dans des constructions élevées d'un seul jet. On se mit à bâtir des donjons qui consistaient en un logis spacieux habitable pour le seigneur, en tout temps, et l'on flanqua ce logis de fortes et hautes tours commandant les dehors. C'est suivant cette donnée qu'a été conçu le donjon du château de Pierrefonds 133. Sur les dehors, ce donjon est en effet protégé par deux grosses tours cylindriques dont le diamètre est de 15 mètres 50 centimètres hors oeuvre. Ces deux tours, pleines dans la hauteur du talus, pouvant par conséquent défier la sape, renferment trois étages destinés aux provisions et à l'habitation, et un étage supérieur de défenses très-important, couronné par un crénelage double 134.
Des deux tours, à peu près pareilles dans leurs distributions intérieures, nous donnons celle d'angle, dite tour de Charlemagne 135. Elle contient, au niveau de la cour du château, une cave voûtée, éclairée par deux meurtrières (fig. 55, en A).

Un couloir B permet de communiquer des salles basses du donjon à cette cave. Par l'escalier C, on monte à la vis qui dessert tous les étages et la guette. En E, est une fosse pratiquée sous les garde-robes voisines de cette tour. Au-dessus de la cave A est une salle voûtée en arcs ogives surbaissés, qui est de plain-pied avec le premier étage du logis et dont le plan est semblable à celui de la salle G du second étage, laquelle salle est de même voûtée en arcs ogives et se trouve de plain-pied avec le deuxième étage du logis. Ces pièces hexagones sont éclairées chacune par trois fenêtres, possèdent une cheminée K et un couloir I communiquant aux garde-robes M. En O, est la cour des provisions 136. L'escalier de la guette N met ce couloir I, et par conséquent la salle G, en communication avec le chemin de ronde P du mur de garde de la cour aux provisions, qui lui-même communique aux défenses supérieures du château.

Au-dessus de cette salle voûtée G est l'étage particulièrement réservé à la défense et dont nous traçons le plan (fig. 56). On monte à cet étage par l'escalier à vis. Une première porte L donne entrée de plain-pied sur l'aire S dallée sur la voûte de la salle du deuxième étage. Une seconde porte percée au niveau de la révolution supérieure de la vis donne accès sur le chemin de ronde R des mâchicoulis. Des arcades percées dans le mur cylindrique donnent, au moyen d'emmarchements en façon de gradins d'amphithéâtre; du chemin de ronde R sur l'aire S placée à 3 mètres au-dessous. L'escalier à vis permet d'atteindre, au-dessus de cette salle, un balcon circulaire intérieur ayant vue sur les dehors par un grand nombre de créneaux.

La coupe faite sur ab (fig. 57) explique l'importance de cet étage, au point de vue de la défense. Sur l'aire A étaient accumulés les projectiles propres à être lancés par les mâchicoulis, pierres rondes, cailloux de toutes grosseurs, jusqu'à 40 centimètres de diamètre, puisque les trous des mâchicoulis ont 42 centimètres environ. Cet amas de projectiles pouvait, à la rigueur, atteindre le niveau du chemin de ronde B, en laissant un vide dans le milieu pour le service et pour le passage des hommes par la porte C.
Les servants des mâchicoulis se tenaient sur le chemin de ronde B, ainsi que les arbalétriers. Des manoeuvres passaient les projectiles aux servants, suivant les ordres donnés par le capitaine de la tour, qui était posté sur le balcon D dont nous avons parlé plus haut. Par les créneaux nombreux donnant sur le balcon, le capitaine découvrait tous les dehors, et les gens postés dans la galerie, non plus que ceux préposés aux projectiles, n'avaient point à s'enquérir des mouvements de l'ennemi, mais seulement à exécuter les ordres qui leur étaient donnés. L'étage crénelé supérieur E était en outre garni d'arbalétriers chargés du tir dominant et éloigné. Suivant que l'assiégeant se portait vers un point, le capitaine faisait accumuler les projectiles sur ce point sans qu'il pût y avoir de confusion. Si l'assaillant abordait le pied du talus de la tour, par les trous des mâchicoulis les servants le voyaient et n'avaient qu'à laisser tomber des moellons pour l'écraser. Le tir par les créneaux découverts E ne pouvait être qu'éloigné, ou au plus suivant un angle de 60 degrés, à cause du défilement produit par la saillie de la galerie. Le tir par les créneaux du balcon D était ou parabolique, ou suivant un angle de 30 et de 60 degrés. Il en était de même du tir des arbalétriers, postés sur le chemin de ronde B. Puis, par les mâchicoulis on obtenait un tir très-plongeant et la chute verticale des projectiles, qui, ricochant sur le talus, prenaient les assaillants en écharpe. Ainsi, dans un rayon de 150 à 200 mètres, les défenseurs pouvaient couvrir le terrain d'une quantité innombrable de carreaux, de viretons et de pierres. Le sommet de la guette dépasse de plusieurs mètres le sommet du comble de la tour, et son escalier à vis possède un noyau à jour de manière à permettre au guetteur de se faire entendre des gens postés dans le chemin de ronde, comme s'il parlait à travers un tube ou porte-voix.
En G, est tracée la coupe sur le milieu des côtés de l'hexagone intérieur, c'est-à-dire suivant l'axe des fenêtres.
C'est là un des derniers ouvrages qui précèdent de peu l'emploi régulier des bouches à feu, puisque le château de Pierrefonds était terminé en 1407; aussi ces belles tours, élevées suivant l'ancien système défensif perfectionné, sont-elles très-promptement renforcées d'ouvrages de terre avancés propres à recevoir des bouches à feu. À Pierrefonds comme autour des autres places fortes, au commencement du XVe siècle, on retrouve des traces importantes et nombreuses de ces défenses avancées faites au moment où les assiégeants traînent avec eux du canon. La plate-forme qui précède ces tours vers le plateau est disposée pour pouvoir mettre en batterie des bombardes ou coulevrines.
La célèbre tour de Montlhéry, sur l'ancienne route de Paris à Orléans, est à la fois réduit du donjon et guette. Ce qu'on désigne aujourd'hui sous le nom de château de Montlhéry n'est, à proprement parler, que le donjon, situé au point culminant de la motte. Le château consistait en plusieurs enceintes disposées en terrasses les unes au-dessus des autres, et renfermant des bâtiments dont on découvre à peine aujourd'hui les traces. Chacune de ces terrasses avait plus de cent pieds de longueur, et c'était après les avoir successivement franchies qu'on arrivait au donjon ayant la forme d'un pentagone allongé (fig. 58). Lorsqu'on avait gravi les terrasses, on se trouvait devant l'entrée A du donjon, dont la construction appartient à la première moitié du XIIIe siècle.

Du château où résida Louis le Jeune en 1144, il reste peut-être des substructions, mais toutes les portions encore visibles du donjon, et notamment la tour principale, réduit et guette, ne remontent pas au delà de 1220, bien qu'elle passe généralement pour avoir été construite par Thibaut, forestier du roi Robert, au commencement du XIe siècle.
Cette tour B, plus grosse et plus haute que les quatre autres qui flanquent le donjon, a 9m,85 de diamètre au-dessus du talus (30 pieds); le niveau de sa plate-forme était à 35 mètres environ au-dessus du seuil de la porte du donjon. Son plan présente des particularités curieuses. Une poterne relevée, fermée par une herse, donne sur les dehors indépendamment de la porte qui s'ouvre sur la cour. Deux étages étaient voûtés, trois autres supérieurs fermés par des planchers. Une ceinture de corbeaux, comme ceux du donjon de Coucy, recevait des hours à double étage; une porte s'ouvrait aussi sur le chemin de ronde de la courtine C. Cette entrée passait à travers la cage d'un escalier à vis qui, inscrit dans une tourelle cylindrique, partait du niveau de ce chemin de ronde pour arriver à tous les étages supérieurs. Du rez-de-chaussée on montait au premier étage par un degré pris dans l'épaisseur du mur du côté intérieur. En D, il existait un bâtiment d'habitation assez vaste, dont on aperçoit aujourd'hui seulement les fondations. On sait quel rôle important joua le château de Montlhéry pendant le moyen âge.
Cette valeur tenait plus encore à sa position stratégique qu'à la puissance de ses ouvrages; et la grosse tour B du donjon était bien plus un point d'observation qu'une défense. Il est évident que pour la garnison de Montlhéry, l'essentiel était d'être prévenue à temps, car alors il devenait impossible à des assaillants d'aborder la motte élevée sur laquelle s'étageaient les défenses; quelques hommes suffisaient à déjouer un coup de main.
TOUR DE GUET (guettes).--Les châteaux, les donjons, avaient leur guette mais aussi les villes. Dans l'état présent de l'Europe, on ne saurait comprendre l'importance de ces observatoires élevés sur les points dominants des châteaux et des villes.
Si nous avons encore conservé les voleurs qui cherchent à s'introduire la nuit dans les habitations des cités et des campagnes, du moins cette corporation n'exécute-t-elle ses projets qu'en se cachant du mieux qu'elle peut. Mais il n'en était pas ainsi depuis l'empire romain jusqu'au XVIIe siècle. Pendant l'administration des derniers empereurs, les villæ et même les bourgades n'étaient pas toujours à l'abri des expéditions de bandes d'aventuriers qui, en plein jour, rançonnaient les particuliers et les petites communes, ainsi que nous voyons encore la chose se faire parfois en Italie, en Sicile et sur une partie du territoire de l'Asie. Le brigandage (pour nous servir d'un mot qui ne date que du XVe siècle) existait à l'état permanent sous l'administration romaine, aux portes mêmes de la capitale de l'empire, et il n'est pas équitable de faire remonter cette institution au moyen âge seulement; elle appartient un peu à tous les temps, et aux sociétés particulièrement qui inclinent vers la dissolution. Le moyen âge féodal ne pratiqua pas le brigandage et ne l'éleva pas à la hauteur d'une institution, ainsi que plusieurs feignent de le croire pour arriver à nous démontrer que l'histoire de la civilisation ne date que du XVIe siècle.
La féodalité entreprit au contraire de détruire le brigandage qui, après la chute de l'empire romain, était passé dans les moeurs et s'étendait à l'aise sur toute l'Europe occidentale. La féodalité fut une véritable gendarmerie, une magistrature armée, et malgré tous les abus qui entourent son règne, elle eut au moins cet avantage de relever les populations de l'affaissement où elles étaient tombées à la fin de l'empire et sous les Mérovingiens. Ces premiers possesseurs terriens, ces leudes, surent grouper autour de leurs domaines les habitants effarés des campagnes, et si des colons romains ils ne firent pas du jour au lendemain des citoyens (tâche impossible, puisque à peine les temps modernes ont pu la remplir), du moins leur enseignèrent-ils par l'exemple à se défendre et à se réunir au besoin, à l'ombre du donjon, contre un ennemi commun. Que des châtelains aient été des voleurs de grands chemins, le fait a pu se présenter, surtout au déclin de la féodalité; mais il serait aussi injuste de rendre l'institution féodale responsable de ces crimes qu'il serait insensé de condamner les institutions de crédit, parce qu'il se rencontre parfois des banqueroutiers parmi les financiers. Les Assises de Jérusalem, ce code élaboré par la féodalité taillant en plein drap, est, pour l'état de la société d'alors, un recueil d'ordonnances fort sages, et qui indique une très-exacte appréciation des conditions d'ordre social; et les barons, guerriers et légistes qui ont rédigé ce code, eussent été fort surpris si on leur eût dit qu'un siècle comme le nôtre, qui se prétend éclairé sur toutes choses, les considérerait comme des détrousseurs de pèlerins; des soudards, pillards sans vergogne.
La guette, ou la tour de guet, est le signe visible du système de police armée établi par la féodalité. La tour de guet du château n'a pas seulement pour objet de prévenir la garnison d'une approche suspecte, mais bien plus d'avertir les gens du bourg ou du village de se défier d'une surprise et de se prémunir contre une attaque possible. Il n'était pas rare de voir une troupe de partisans profiter de l'heure où les gens étaient aux champs pour s'emparer d'une bourgade et la mettre à rançon. À la première alarme, le châtelain et ses hommes avaient bientôt fait de relever le pont et de se mettre à l'abri des insultes; mais ces garnisons, très-faibles en temps ordinaire, n'eussent pas pu déloger des troupes d'aventuriers et empêcher le pillage du bourg; il fallait avoir le temps de rassembler les paysans dispersés dans la campagne: c'est à cette fin que les tours de guet étaient élevées. Aux premiers sons du cor, aux premiers tintements du beffroi, les populations rurales se groupaient sous les murs du château et organisaient la défense, appuyées sur la garnison de la forteresse. Les villes possédaient, par le même motif, des tours de guet sur les points qui découvraient la campagne au loin. Ces tours de guet établies le long des remparts devinrent, vers le XIVe siècle, le beffroi de la ville; outre les guetteurs, elles renfermaient des cloches dont les tintements appelaient les habitants aux points de leurs quartiers désignés d'avance, d'où les quarteniers les dirigeaient d'après les instructions qui leur étaient transmises par les chefs militaires.
Dans les châteaux, les tours de guet ne servaient pas seulement à prévenir les dangers d'une surprise; les guetteurs, qui veillaient nuit et jour à leur sommet, avertissaient les gens du château de la rentrée du maître, de l'heure des repas, du lever et du coucher du soleil, des feux qui s'allumaient dans la campagne, de l'arrivée des visiteurs, des messagers, des convois. La guette était ainsi la voix du château, son avertisseur; aussi les fonctions de guetteur n'étaient-elles confiées qu'à des hommes éprouvés et étaient-elles largement rétribuées, car le métier était pénible.
Souvent les tours de guet ne sont que des guettes, c'est-à-dire des tourelles accolées à une tour principale et dépassant en hauteur ses couronnements 137. Mais aussi existe-t-il de véritables tours de guet, c'est-à-dire uniquement destinées à cet usage.
La cité de Carcassonne en possède une très-élevée d'une époque ancienne (fin du XIe siècle), entièrement conservée. Cette tour dépend du château, domine toute la cité et le cours de l'Aude; elle est bâtie sur plan rectangulaire 138 et ne contenait qu'un escalier de bois avec paliers. Son sommet pouvait être garni de hourds 139.

L'angle sud-ouest des murs romains de la ville d'Autun, point culminant de l'enceinte, possède une tour de guet du XIIe siècle, dont nous donnons (fig. 59) la vue prise au dehors des murs. Cette tour contenait plusieurs chambres les unes au-dessus des autres et un escalier de bois. Les fenêtres jumelles de la chambre supérieure s'ouvrent du côté de la ville. La corniche de couronnement formait parapet, et le chéneau du comble en charpente, chemin de ronde. Les eaux de ce comble plat, posé en contre-bas du couronnement, s'écoulaient par des gargouilles 140.
La tour de Nesle, à Paris, qui commandait, sur la rive gauche, le cours de la Seine à sa sortie de la ville, était plutôt une tour de guet qu'un ouvrage propre à la défense. Elle était mise en communication par une estacade avec la tour de la rive droite (dite tour qui fait le coin), qui, en amont du Louvre, terminait l'enceinte de la ville. Un fanal était suspendu à ses créneaux pour indiquer aux bateliers l'entrée de l'estacade qui barrait une partie notable du fleuve. De sa plate-forme on découvrait les enceintes de l'ouest (rive gauche), le faubourg Saint-Germain, le Pré aux Clercs, le Louvre et la Cité.
La tour de Nesle, bâtie sous le règne de Philippe-Auguste, en même temps que l'enceinte de Paris, c'est-à-dire vers 1200, est désignée dans un acte de 1210: Tornella Philippi Hamelini supra Sequanam 141. Ce n'est qu'un siècle plus tard qu'elle est connue sous le nom de tour de Nesle ou de Nelle. Elle était plantée à la place qu'occupe le pavillon oriental du palais de l'Institut.

Sur le quai, près d'elle, s'ouvrait la porte de la ville dite porte de Nesle (voyez le plan, fig. 60), et en A s'étendait l'hôtel de même nom. La tour de Nesle D avait, hors oeuvre, cinq toises de diamètre, possédait deux étages voûtés et deux étages plafonnés, avec une plate-forme à laquelle arrivait l'escalier à vis E, après avoir desservi tous les étages. Cet escalier dépassait de beaucoup le niveau de la plate-forme (qui peut-être était primitivement couverte par un comble conique) et servait de guette.

La vue perspective de cette tour (fig. 61), prise en dehors de la porte de Nesle 142, en fait comprendre la valeur comme poste d'observation sur le fleuve. De là des signaux pouvaient être transmis au Louvre, et vice versa, sur tout le front occidental des remparts de la rive gauche 143 et au palais de la Cité. En amont de Paris, deux autres tours à peu près semblables à celle-ci barraient la rivière: l'une, dite tour Barbeau, formait tête du rempart sur la rive droite; l'autre, dite la Tournelle, avait la même destination sur la rive gauche. Ces deux ouvrages, qui se trouvaient au droit du milieu de l'île Saint-Louis, se reliaient avec deux autres tours élevées sur les berges de cette île, coupée alors par un fossé que remplissait la Seine 144.
La tour de Villeneuve-lez-Avignon, bâtie sur la rive droite du Rhône, au débouché du pont de Saint-Bénezet, par Philippe le Bel, en 1307, est une tour d'observation en même temps qu'un donjon propre à la défense. Elle se reliait à un vaste système de fortifications qui défendait de ce côté le territoire français contre les empiétements de la Provence 145, et qui, plus tard, contribua à enlever aux papes d'Avignon tous droits de seigneurie sur le cours du Rhône.
Cette tour, bâtie sur plan quadrilatère losangé, possède plusieurs salles voûtées et une guette carrée au sommet, avec tourelle propre encore à recevoir un guetteur. C'est un ouvrage admirablement construit, avec plate-forme, crénelage armé de mâchicoulis, et échauguettes aux angles. Ce genre de défenses nous amène à parler des tours considérées comme postes isolés, sortes de blockaus permanents.
TOURS-POSTES ISOLÉES. TOURS DÉFENSES DE PASSAGES, DE PONTS.--Le cours de nos fleuves, les passages des montagnes, certaines lignes de défense d'un territoire, laissent encore voir des traces de tours, carrées habituellement, qui servaient à assurer le péage sur les cours d'eau, à réprimer le brigandage, arrêter les invasions, les surprises de voisins trop puissants ou turbulents. Ces tours, que l'on trouve encore en grand nombre dans les passages des Pyrénées, le long de la haute Loire, du Rhône, de la Saône, de l'Aveyron et du Tarn, du Doubs et de l'Isère, sur les frontières du Morvan, dans les Vosges, sont plantées sur des points élevés et peuvent correspondre au moyen de signaux. L'assiette choisie est habituellement un promontoire escarpé ne se reliant aux hauteurs voisines que par une langue de terre, de manière à n'être accessible que vers un point. Cette chaussée naturelle est parfois coupée par un fossé ou défendue par un rempart qui sert de chemise à la tour. On ne peut pénétrer dans l'intérieur de celle-ci que par une porte relevée au-dessus du sol et par une échelle ou par un pont volant jeté sur le chemin de ronde de la chemise. Un exemple type fera comprendre cette disposition adoptée fréquemment dans les passages des Pyrénées (fig. 62).

Devant la porte de la chemise était placée une barrière de bois. Un mâchicoulis défendait cette première porte. Pour pénétrer dans la tour-poste, on montait un degré qui aboutissait au chemin de ronde de la chemise. Ce chemin se présentait latéralement à la face de la tour dans laquelle était percée la porte. Un pont mobile qui s'abattait d'un encorbellement sur le chemin de ronde de la chemise au moyen d'un treuil placé dans le mâchicoulis-échauguette, permettait de pénétrer dans ce réduit contenant plusieurs étages et une plate-forme supérieure destinée à la défense et aux signaux. Ces postes sont souvent munis de cheminées et même d'un four et d'un puits allant chercher une source, ou d'une citerne creusée dans le roc et recueillant les eaux de pluie de la plate-forme et du plateau.
Les chevaliers du Temple possédaient beaucoup de ces postes établis, sur une grande échelle, en Syrie. «Les diverses places de guerre possédées au moyen âge par les chrétiens, en terre sainte, étaient reliées entre elles par de petits postes ou tours élevés d'après un plan uniforme: un grand nombre subsistent encore aujourd'hui, savoir: Bord-ez-Zara, Bordj-Maksour, Om-el-Maasch, Aïn-el-Arab, Miar, Toklé, etc. 146.»
Ces tours-postes bâties par les chevaliers du Temple, en Syrie et en Occident, sont sur plan barlong. M. G. Rey, auquel nous empruntons les renseignements concernant celles de la Syrie, donne les plans et la coupe d'une de ces tours, celle de Toklé, que nous reproduisons ici d'après lui (fig. 63).

On pénètre dans la salle basse par une porte A. Au centre de cette salle est creusée une citerne. Pour aller chercher la porte qui donne dans les escaliers droits montant aux étages supérieurs, il fallait atteindre le niveau du plancher B au moyen d'une échelle. Une voûte en berceau forme le premier étage, et une voûte d'arête, sans arêtiers, supporte la plate-forme supérieure; un second plancher divise ce second étage en deux pour réserver, sous la plate-forme, un magasin à provisions. Un mâchicoulis commande la porte. Le rez-de-chaussée pouvait servir d'écurie pour quelques chevaux.
Il est intéressant de retrouver à Paris une tour bâtie par les chevaliers du Temple, et qui présente une disposition analogue à celles que l'on rencontre en Syrie dans les postes de cet ordre militaire. Cette défense, placée en face du Collège de France actuel, était connue sous le nom de tour Bichat, parce que le célèbre professeur y fit longtemps ses cours 147.
Elle dépendait de la commanderie de Saint-Jean de Jérusalem, qui plus tard, au XVIe siècle, prit le nom de Saint-Jean de Latran. «L'entrée principale de la commanderie s'ouvrait, dit M. le baron de Guilhermy 148, en face du Collége de France. Les bâtiments les plus notables de l'enclos étaient la grange aux dîmes, le logis du commandeur, la tour, l'église et le cloître... Nous pensons que cette tour était le donjon de la commanderie, le dépôt des titres, des armes, des objets précieux, le lieu de réunion des chevaliers, le signe de la suzeraineté du commandeur sur les fiefs qui relevaient de Saint-Jean....»
La tour de la commanderie de Saint-Jean de Jérusalem, bâtie sur plan barlong, se rattachait au logis du commandeur par un de ses angles; par l'autre elle se reliait à la courtine. Cette commanderie ayant été transformée à plusieurs reprises, il devenait difficile de reconnaître exactement quelle était la position de la tour par rapport aux bâtiments de la même époque. Cependant le plan de Gomboust la montre comme faisant face sur les dehors du côté de l'occident, et en effet ses défenses principales se présentaient de ce côté. Du reste, les relevés sur place nous en apprendront plus que ne pourraient le faire les documents fournis par les plans anciens de Paris. Voici donc (fig. 64), en A, le plan de la tour à rez-de-chaussée.

Ce rez-de-chaussée consistait en une salle voûtée en deux travées d'arcs ogives, avec une poterne basse a qui donnait autrefois sur les fossés extérieurs; une porte b s'ouvrait également sur l'escalier qui permettait d'atteindre le niveau h du sol de la cour en passant sur un pont mobile g, car le fossé intérieur f se prolongeait par un redan jusqu'à cet escalier. D était donc le fossé de clôture de la commanderie; f, le fossé spécial à la tour. La salle basse n'avait aucune communication avec les étages supérieurs. Pour arriver au premier étage B, il fallait monter par l'escalier C accolé à la courtine occidentale. Ce premier étage ne communiquait pas avec le logis du commandeur situé en H; il fallait reprendre l'escalier C pour atteindre le niveau du deuxième étage E. De cette salle on pouvait entrer dans le bâtiment du commandeur par la porte e, percée dans un pan coupé. C'était encore par l'escalier C que l'on montait à la plate-forme G, qui était couverte par un comble en pavillon. Cet escalier C était de bois, enfermé dans une cage dont les murs de pierre étaient minces. Du logis du commandeur, à mi-étage du premier, on communiquait par une galerie crénelée I (voyez le plan K), avec le chemin de ronde O de la courtine. Une coupe longitudinale faite sur mn expliquera plus clairement ces dispositions (voyez fig. 65).

A est le fond du fossé, dont la contrescarpe ne paraît pas avoir dépassé le niveau B. En C, on retrouve la porte qui donne entrée dans la cage de l'escalier. En D, des meurtrières sont percées au fond de trois niches ouvertes dans la salle du premier étage. En E, est le passage crénelé communiquant, à mi-étage, du logis du commandeur à la courtine de l'ouest. La salle basse n'était éclairée que par des soupiraux; quant aux deux salles voûtées au-dessus, des fenêtres assez nombreuses y laissaient pénétrer la lumière. Les créneaux supérieurs étaient fermés par des volets de bois entrant en feuillure.

La figure 66 présente la coupe en travers de la salle du premier étage du côté de la défense. On aperçoit les trois niches pratiquées au fond de la salle. Devant celle du milieu, est plantée une colonne double qui porte les deux arcs de décharge sur lesquels repose le mur supérieur (voyez le plan B et la coupe longitudinale). Car on observera que pour donner plus de solidité à la construction et porter ses pressions vers l'intérieur, les murs se retraitent intérieurement sur les formerets des voûtes. De l'extérieur de la commanderie, la tour avait un aspect sévère. Nous en donnons la vue (fig. 67), avec la courtine, la cage de l'escalier et l'amorce du logis du commandeur.

Cette construction, de petit appareil, était bien traitée et n'avait subi d'autres altérations que celles causées par le voisinage de constructions modernes accolées à ses flancs. Les voûtes des salles étaient en bon état, et la restauration de ce curieux spécimen d'une tour de commanderie n'eût été ni difficile ni dispendieuse.
La tour du Temple, à Paris, datait de la fin du XIIIe siècle et avait été achevée en 1306, peu avant la dissolution de l'ordre 149. Cette tour était sur plan carré, avec quatre tourelles aux angles, montant de fond. Elle servait de trésor, de dépôts de titres et de prison, comme la plupart de ces donjons appartenant aux établissements des chevaliers du Temple. Cet édifice fut détruit en 1805.
Nous possédons encore à Paris un de ces ouvrages servant de retrait, de trésor, de lieu de sûreté, dans les hôtels que les princes possédaient au milieu des villes: c'est la tour que l'on voit encore dans la rue du Petit-Lion, et qui dépendait de l'hôtel des ducs de Bourgogne. «L'édifice, dit notre savant ami M. le baron de Guilhermy 150, est solidement construit en pierres de taille soigneusement appareillées; il est percé de baies en tiers-point et couronné de mâchicoulis. Un large escalier à vis monte à l'étage supérieur, comprenant une belle salle voûtée en arcs ogives. Les fenêtres qui éclairent l'escalier sont rectangulaires et décorées de moulures. Les degrés tournent autour d'une colonne qui se termine par un chapiteau très-simple; mais ce chapiteau sert de support à une caisse cylindrique d'où s'élancent des tiges vigoureuses figurant des branches de chêne dont les entrelacs forment les nervures de quatre voûtes d'arête et dont le feuillage se détache en saillie sur les remplissages de la maçonnerie.» Une chambre secrète est disposée au sommet de la tour, et pouvait être isolée des passages au moyen d'une bascule.
La tour a été bâtie par le duc Jean-sans-Peur, dans les premières années du XVe siècle. Ce prince habitait cet hôtel lorsqu'il fit assassiner Louis d'Orléans dans la rue Barbette. L'hôtel de Jacques Coeur, à Bourges, possédait aussi sa tour, réduit et trésor, dont la pièce principale, au niveau du premier étage, était fermée par une porte de fer 151.
Nous ne saurions passer sous silence les tours-portes. Souvent des portes secondaires, ou même des poternes étaient percées à travers des tours, au lieu d'être flanquées par elles. Cette disposition n'apparaît guère qu'à la fin du XIIIe siècle, et est-elle assez rare. C'est encore dans la cité de Carcassonne que nous trouverons un des exemples les plus remarquables de ces sortes d'ouvrages. Sur le front sud de la seconde enceinte s'élève une haute tour carrée avec quatre échauguettes montant de fond, qui, à l'extérieur, ne laisse voir aucune issue, mais sur l'un de ses flancs (celui de l'est) s'ouvre une porte ou plutôt une large poterne dont le seuil est posé à 2 mètres au-dessus du sol extérieur.

La figure 68 présente le plan de cette tour au niveau du rez-de-chaussée. Pour atteindre le seuil A, il fallait disposer en dehors une échelle ou un plan incliné de bois. Cette première entrée est défendue par un mâchicoulis a, une herse b et des vantaux c. On pénètre alors sous la voûte percée d'un oeil carré au centre; puis il faut se détourner à droite, et l'on se trouve en face d'une seconde porte également défendue par un mâchicoulis d, une herse f, et des vantaux g. Cette seconde porte franchie, on est dans la cité 152. Lès courtines de l'enceinte sont en B et en C. Les deux portes h et i donnent dans un couloir qui communique à l'escalier à vis montant à la guérite l et aux étages supérieurs.

Le premier étage (fig. 69) montre en o le mâchicoulis extérieur, qui est servi par-dessus la herse p, lorsque celle-ci est baissée; le second mâchicoulis q et la seconde herse r, servie par le passage t. La salle du premier étage contient une cheminée k avec four, trois armoires s, et un puits v, qui possède aussi une ouverture sur les lices. Deux fenêtres f éclairent la pièce. L'escalier à vis monte, au-dessus de cette salle, sur un premier crénelage entourant une seconde salle voûtée en berceau, couronnée par une plate-forme propre à recevoir un engin à longue portée.

La figure 70 donne l'aspect de la tour du côté de la ville.
On observera que cette tour interrompt le chemin de ronde des courtines sur lesquelles, d'ailleurs, elle prend un commandement considérable. Un large degré à rampe droite, posé sur des arcs (voyez en E, fig. 68), atteint le niveau d'un des chemins de ronde et débouche en face d'une porte s'ouvrant sur l'escalier à vis. La pente du sol intérieur s'inclinant vers l'entrée, une gargouille est percée en G, à 2 mètres environ au-dessus du sol des lices, et pouvait, au besoin, servir de porte-voix pour des patrouilles rentrantes. Cet ouvrage, qui appartient aux défenses ajoutées à la cité de Carcassonne par Philippe le Hardi, est construit comme la tour de l'Évêché, en assises de grès dur, à bossages, et appareillé avec soin. Il domine la barbacane de l'enceinte extérieure et tous les alentours, car il se trouve planté sur le point le plus élevé du plateau. Sa masse sert de masque à l'église de Saint-Nazaire, distante seulement de 25 mètres. Sa plate-forme est couverte de dalles, et une guette H (voyez fig. 70) la surmonte, afin de permettre au maître enginéor de commander la manoeuvre du grand engin mis en batterie sur cette plate-forme 153.
Du dehors, la tour de la poterne Saint-Nazaire présente un aspect plus imposant encore, car le sol des lices est à 3 mètres en contre-bas du seuil de la seconde porte.

La figure 71 montre ces dehors du côté de la poterne, les hourds étant supposés mis en place pour la défense.
Ces hourds ne sont posés que sur les trois faces de la tour, devant le crénelage du chemin de ronde, laissant les échauguettes libres et leurs meurtrières; de sorte que ces échauguettes flanquent les hourds et sont flanquées par les archères latérales de ceux-ci. Les hourds sont doubles et disposés ainsi que l'indique la coupe (fig. 71 bis).

Suivant l'usage, la communication entre le chemin de ronde A ordinaire et le chemin de ronde B de guerre se faisait par les créneaux percés dans le parapet. De ce chemin de. ronde B, par un bout d'échelle de meunier, les arbalétriers montaient sur le chemin relevé C et pouvaient envoyer des carreaux par le mâchicoulis D. Trois rangs d'arbalétriers tiraient ainsi simultanément. De plus, des projectiles étaient jetés verticalement, au besoin, par les mâchicoulis M.
Profitant du commandement de la plate-forme supérieure E, un quatrième rang d'arbalétriers envoyait des carreaux au loin par les créneaux à volets et les meurtrières percés dans le parapet F. Les lignes ponctuées indiquent les angles de tir. Quelquefois la disposition des tours-portes était adoptée par raison d'économie. Il était moins dispendieux d'ouvrir une baie à la base d'une tour que de flanquer cette baie de deux tours suivant l'usage le plus général. Plusieurs des bastides bâties dans la Guyenne, sous la domination anglaise, ont, pour portes, des tours carrées. On trouve même avant cette époque, dans la contrée, des traces de portes percées à travers des ouvrages carrés ou barlongs. Telle est la porte Brunet, à Saint-Émilion, dont la construction est encore romane, bien qu'elle ne remonte guère plus loin que le commencement du XIIIe siècle. Une des portes de Cadillac offre une disposition curieuse, parmi les ouvrages de cette nature. Ce ne fut qu'en 1315 que la clôture de la bastide de Cadillac et ses portails furent commencés 154. Les habitants devaient élever les murs, et le seigneur du lieu, Pierre de Grailly, les quatre portails bons et suffisants. Il paraîtrait que de ces quatre portails, le sire de Grailly n'en éleva que deux. Or, voici l'un de ceux-ci, dit porte Garonne, construit avec la plus grande économie, mais présentant une disposition peu commune.
Des fossés de 20 mètres de largeur environ, remplis par les eaux de l'Oeille, entourent l'ancienne bastide. La porte Garonne projette toute son épaisseur en dehors de la courtine, dont les chemins de ronde continuent derrière elle, et bat le fossé.

Voici (fig. 72) le plan de cette porte au niveau du rez-de-chaussée, en A, et au niveau du premier étage, en B. Dans ce dernier plan, on voit en a le chemin de ronde de la courtine, que l'ouvrage n'interrompt pas. Les mâchicoulis et meurtrières b sont percés à 2 mètres en contre-haut du sol de ce chemin de ronde, et ne pouvaient, par conséquent, être servis par les gens postés sur ce chemin, mais bien par les soldats placés sur un plancher de bois que l'on voit tracé en d dans la coupe longitudinale (fig. 73); or, on ne pouvait se placer sur ce plancher qu'en passant par une porte percée au niveau du plancher du premier étage en e (voyez le plan B), et l'on ne pouvait monter sur ce plancher que par une échelle mobile tracée en f (voyez la coupe 73) et qui partait du sol de la porte.

Les gardes de la porte avaient donc l'unique charge de veiller à sa défense et ne communiquaient pas avec les chemins de ronde des courtines. Comme, d'après la charte d'établissement des défenses de Cadillac, ce sont les habitants qui construisent l'enceinte et le seigneur qui élève les portes, il se pourrait que la garde de celles-ci eût été confiée seulement aux gens du sire de Grailly. Eux seuls auraient pu ouvrir les portes, eux seuls devaient les défendre. Le seigneur aurait eu ainsi moins à redouter les conséquences de la faiblesse, du découragement, ou même de la négligence des bourgeois, assez disposés en tout temps à ne pas affronter les longueurs et les privations d'un siége.
S'entendre avec des ennemis et leur faciliter les moyens de passer un fossé plein d'eau, de 20 mètres de largeur, et d'escalader un rempart de 10 mètres, c'était là un acte de trahison que de braves gens ne pouvaient accomplir; mais laisser surprendre le poste d'une porte ou écouter des propositions, et consentir à baisser le pont-levis devant une troupe qui fait de belles promesses, c'était ce qui arrivait fréquemment aux milices.
Il semble que le constructeur de la porte Garonne de Cadillac ait voulu prévenir ce danger, en faisant de cette défense, malgré son peu d'importance, un poste absolument indépendant des remparts de la ville. Dans notre coupe longitudinale (73), on voit que le chemin de ronde en n n'a point de vues sur l'intérieur de la tour, et que ce chemin de ronde est facilement surveillé par les hommes postés sur le plancher d. La place de l'échelle mobile qui permettait d'atteindre la porte e (voyez le plan 72 B, et la coupe 73) est parfaitement visible encore. Le pied-droit p (voyez le plan) est plus large que le pied-droit q. Puis le mâchicoulis et les meurtrières ne commencent qu'après la porte e (voyez la coupe transversale 74). Le mur de garde de ces meurtrières, porté sur deux corbeaux saillants et sur un arc, laisse donc une sorte de rainure entre lui et le mur latéral g; rainure dans laquelle passait l'échelle.
Celle-ci était en deux parties: l'un des jambages de la partie supérieure était fixe, posé sur un repos ménagé sur le corbeau à côté du mur de garde; l'autre suivait le mur g jusqu'au sol. La seconde partie de l'échelle f (voyez la coupe 73) coulait au besoin sur le jambage i accolé au mur, et sur l'autre jambage l maintenu en l'air par la pièce de bois m appuyée sur le repos du corbeau s. Par la porte e, au moyen d'un cordage, il était aisé de faire glisser l'échelle descendante sur les montants de l'échelle fixe. Bien entendu, un guide empêchait cette échelle descendante de sortir de son plan.

Les hommes de garde ayant remonté l'échelle passaient par la porte e et redescendaient par la petite échelle sur le chemin de ronde spécial d. De là ils pouvaient, par trois meurtrières, envoyer des carreaux sur la première porte, et servir le mâchicoulis, si l'ennemi arrivait jusqu'à la porte-barrière t. Un petit pont-levis V fermait la première porte. Le chemin de ronde d était couvert par un simple appentis très-incliné r. C'était également par des échelles qu'on montait au second étage et à la défense supérieure, consistant en des créneaux et merlons percés de meurtrières avec mâchicoulis, sur la face et les flancs de la tour. Si nous supposons une section faite de x en y (du plan B) en regardant vers l'intérieur de la tour, nous obtenons la figure 75.

Ce tracé nous montre l'arc de la porte en a, le sol du chemin de ronde des courtines pour le service des milices en b, et le chemin de ronde du poste spécialement affecté à la garde de la tour en c, avec sa porte e donnant sur l'échelle mobile 155.
Cependant ces tours carrées servant de portes ne paraissaient pas offrir assez de résistance contre un assaillant déterminé; leurs faces n'étaient point flanquées, et la défense sérieuse ne commençait qu'à l'intérieur même de la tour, lorsque la porte extérieure était déjà prise. Il y avait dans ce parti un inconvénient. Il a toujours été mauvais, en fait de fortifications, de réserver les moyens défensifs les plus efficaces en arrière, car les troupes sont alors disposées à abandonner facilement les défenses extérieures pour se réfugier dans celles qu'elles considèrent comme plus fortes, mais qui sont les dernières, et qui, par cela même, excitent les efforts énergiques de l'assaillant. Place entamée est bientôt prise, l'assiégeant devenant d'autant plus entreprenant et audacieux, qu'il a déjà obtenu un premier avantage. Il est un autre axiome de défense qui n'a jamais cessé d'être applicable. Il est plus aisé d'empêcher un assaillant d'avancer qu'il ne l'est de le faire reculer lorsqu'il a gagné un poste.
Une porte non flanquée, comme celle de la bastide de Cadillac, était bientôt forcée en comblant le fossé. Alors l'assiégeant se trouvait, il est vrai, en face d'une seconde défense, relativement forte et bien munie; mais il lui était facile de mettre le feu aux planchers de la tour en accumulant des fascines sous le passage, et, dans ce cas, l'ouvrage n'avait plus de valeur. À la fin du XIVe siècle, les tours cependant, à cause de leur commandement, prenaient une nouvelle importance 156, et un homme de guerre célèbre, Olivier de Clisson, persista à les employer comme portes. Toutefois Olivier de Clisson renonça au plan carré, et adopta la forme cylindrique. Le château de Blain, situé entre Redon et Nantes, fut bâti à la fin du XIVe siècle par le connétable Olivier de Clisson. La porte d'entrée de la baille est pratiquée dans une tour ronde, dite tour du Pont-levis, qui montre encore à l'extérieur et à l'intérieur l'M couronnée accostée d'un heaume. Ce chiffre équivaut à une date certaine, car on le retrouve sur le sceau d'Olivier de Clisson, de 1407, et sur les bâtiments de l'hôtel du connétable, bâti à Paris vers 1388, et compris aujourd'hui dans l'hôtel des Archives de l'empire 157. On sait, d'ailleurs, que vers 1366, Olivier de Clisson, qui avait juré de n'avoir jamais d'Anglais pour voisins, alla démolir le château de Gâvre que le duc de Bretagne venait de donner à Jean Chandos, et en fit porter les pierres à Blain pour les employer dans la bâtisse du nouveau château. Or, il paraîtrait que le farouche connétable avait adopté, dans les défenses qu'il faisait élever, un système de portes passant à travers le cylindre d'une tour ronde, avec pont-levis, long couloir, vantaux, mâchicoulis et herses 158.
La tour ronde avait cet avantage sur la tour carrée, qu'elle envoyait des projectiles divergents, ne laissait pas de points morts sous les mâchicoulis et était difficile à attaquer par la mine.
Ces tours-portes cylindriques d'Olivier de Clisson avaient sur les courtines un commandement considérable. Celle de Blain est couverte par un comble conique, et au-dessus du passage voûté de la porte est une salle carrée, avec cheminée, cabinets et escalier montant aux chemins de ronde des mâchicoulis.

Le célèbre château de Montargis possédait une tour-porte construite à peu près suivant ce programme, mais développé. Nous en présentons les plans (fig. 76) 159. En A, est tracé le plan du rez-de-chaussée. Un pont-levis s'abattait en a, sur une chaussée; b était un large fossé; d, la courtine isolée de la tour; e, la grande salle crénelée 160; f, un second pont-levis, de sorte que la tour pouvait être complétement isolée des dehors et de la cour du château g.
Quand on avait franchi la première porte a, on se trouvait dans une cour cylindrique, sorte de puits à ciel ouvert, n'ayant d'autre issue que la porte f vers la cour. Au premier étage B, la tour était mise en communication avec la courtine d au moyen d'une passerelle de bois aboutissant à un petit poste h. Par deux couloirs réservés dans l'épaisseur du cylindre, on arrivait aux deux chambres de herses, et l'on trouvait en face de la passerelle un escalier à vis montant à l'étage supérieur de la défense, dont le plan est figuré en C. Cet étage ne consistait qu'en une galerie annulaire crénelée à l'extérieur et à l'intérieur, afin de permettre aux défenseurs d'écraser les assaillants qui se seraient aventurés dans la cour circulaire.

Du rez-de-chaussée on ne pouvait monter aux étages supérieurs. De petits postes étaient probablement ménagés dans l'épaisseur du cylindre, entre l'étage des chambres de herses et la galerie de couronnement. La figure 77 présente la coupe de cette tour, faite sur l'axe des portes en A, et le détail de la galerie supérieure en B. Nous ne saurions dire si cet ouvrage était antérieur ou postérieur aux défenses faites dans l'Ouest sous les ordres du connétable de Clisson; mais il est certain qu'il appartient au même ordre de défenses.
Nous avons montré, dans l'article PONT, des tours destinées à défendre ces passages: les unes sont carrées, comme celles du pont de Cahors; d'autres sont circulaires ou elliptiques, comme la grosse tour du pont de Saintes. Il est donc inutile de nous étendre plus longtemps ici sur ces tours à cheval sur des passages. Il nous reste à dire quelques mots des tours-phares. Une des plus anciennes est la tour d'Aigues-Mortes, dite tour de Constance, bâtie par saint Louis. Cette tour cylindrique a 29 mètres de hauteur sur 22 mètres de diamètre; une tourelle de 11 mètres s'élève près du crénelage sur la plate-forme, et portait les feux de nuit destinés à guider les navires entrant dans le port. Cette plate-forme est disposée pour recevoir les eaux pluviales qui s'écoulent dans une citerne. Deux salles voûtées sont pratiquées sous le crénelage et ne sont éclairées que par des meurtrières.
Sur la tour carrée du fort Saint-Jean qui flanque le côté gauche de l'entrée du vieux port de Marseille, et qui date du XIVe siècle, existait autrefois une tourelle portant un feu. Sur les côtes de la Méditerranée, dans les environs d'Aigues-Mortes, on voit encore la trace de tours isolées qui servaient à la fois de phares et de postes pour défendre le littoral contre les descentes fréquentes des pirates.
La plupart de ces ouvrages datent des règnes de saint Louis, de Philippe le Hardi et de Charles VI.
Le climat destructeur des côtes de l'Océan n'a pas laissé subsister de tours de phares d'une époque reculée, et l'on peut considérer comme une des plus anciennes la tour du port de la Rochelle, dite tour de la Lanterne. Cet ouvrage, attaché aux remparts, s'élève sur le bord de la mer, à 100 mètres environ du goulet du port, à l'extrémité du front de gauche. C'est une grosse tour de 16 mètres de diamètre, terminée par une flèche pyramidale de pierre.

Nous donnons les plans (fig. 78) de ses trois étages, en A à rez-de-chaussée, en B au niveau du premier, et en C au niveau du chemin de ronde 161. L'étage bas est voûté; il est mis en communication avec la ville par le couloir a, mais n'est relié aux étages supérieurs par aucun escalier. On n'entre au premier étage que par le couloir b donnant sur le chemin de ronde de la courtine. De ce couloir on monte par un escalier à vis jusqu'au chemin de ronde crénelé de la tour, C; puis à ce niveau on trouve le second escalier h qui monte à la lanterne accolée à la flèche.

La figure 79 présente la coupe de la tour. On remarquera que le chemin de ronde est percé de mâchicoulis. En A, est la lanterne qui recevait le feu, lequel, vers certains points de l'horizon, était masqué par la flèche. Il est vrai que la lanterne est tournée du côté de la haute mer, et que son feu illuminait la pointe de la flèche, ce qui pouvait être, pour les navigateurs, un moyen de ne point confondre ce phare avec un autre. La construction de cette tour date de la fin du XIVe siècle. La figure 80 présente son élévation du côté de l'entrée du port. Un balcon, auquel on arrive par l'escalier à vis, est pratiqué à mi-hauteur de la flèche de pierre, et permettait de placer des guetteurs ou encore des feux supplémentaires.

Il a été reconnu, de nos jours, qu'il ne pouvait suffire de placer des phares à l'entrée des rades ou des fleuves pour indiquer les passes aux navigateurs, mais qu'il importait, avant tout, de signaler la position du littoral. «Or, ce littoral présente une série de caps diversement accentués, qui peuvent être considérés comme les sommets d'un polygone circonscrit à tous les écueils; et l'on a placé un feu sur chacun d'eux, de manière à annoncer la terre aussi loin que le permettent la hauteur et la puissance des appareils. On a établi d'ailleurs une relation telle entre l'espacement des sommets et la portée des phares, qu'il soit impossible d'approcher de la côte sans avoir au moins un feu en vue, tant que l'atmosphère n'est pas embrumée 162.» On comprendra que pour faire un travail de cette nature, et d'après cette méthode, il faut, avant tout, posséder des cartes côtières très-exactes. Or, la science topographique est une science toute moderne.
Les côtes, pendant le moyen âge, aussi bien que pendant la période de l'antiquité grecque et romaine, n'étaient reconnues que d'une manière incomplète, assez cependant pour que les écueils ou les promontoires aient été signalés par des tours ou de simples fourneaux dans lesquels on brûlait des matières résineuses pendant la nuit.
Si l'on parcourt les côtes de France, particulièrement en Normandie et sur la Méditerranée, il est bien rare que, dans le voisinage des phares modernes, établis sur des promontoires, on ne trouve pas les traces de constructions du moyen âge. Pendant cette période, comme pendant l'antiquité, si l'on correspondait au moyen de signaux placés sur des points élevés tant que durait le jour, la nuit les feux devenaient un moyen habituel de correspondance entre des points éloignés, ainsi que cela se pratiquait encore dans les montagnes de la Suisse et des Cévennes, avant l'établissement des télégraphes électriques. Il n'est pas besoin de dire que ces phares portaient, ou de simples grils à résine, ou des feux fixes enfermés dans des lanternes, et qu'ils ne pouvaient avoir la portée de nos appareils modernes.
L'étendue que nous avons été obligé de donner à cet article fait assez connaître de quelle importance étaient, dans l'architecture du moyen âge, les constructions à grands commandements. Ce désir ou ce besoin d'élever des tour a existé chez toutes les civilisations qui ne sont point arrivées à un développement complet. Ceux qui bâtissent tiennent à voir au loin et à être vus. La tour devient ainsi, en même temps qu'une sûreté, un moyen de surveillance et une marque honorifique.
Sous le régime féodal, les seigneurs seuls avaient le droit d'élever des tours; les tenanciers ne pouvaient en posséder (voyez CHÂTEAU, MANOIR).
Bien entendu, comme seigneurs féodaux, les abbés usaient de ce même droit, qui, pour les seigneurs laïques aussi bien que pour les religieux, était soumis à l'autorisation du suzerain. C'est ainsi que sous Philippe-Auguste et sous saint Louis, maint seigneur est contraint de démolir les tours qu'il fait élever sans, au préalable, avoir obtenu la sanction royale.
Les démolitions de tours ordonnées par le suzerain étaient presque toujours provoquées par les plaintes de voisins. Les abbayes notamment, et les évêques, veillaient scrupuleusement à ce qu'il ne fût pas élevé de châteaux avec tours dans leur voisinage. Leurs plaintes à ce sujet sont fréquentes, et quand les parties ne pouvaient s'accommoder, il fallait recourir à l'autorité royale. Était-elle toujours respectée? Cela est douteux; de là, entre seigneurs, des conflits qui, en fin de compte, finissaient par provoquer l'intervention royale au détriment de l'un des deux adversaires, quelquefois de tous les deux, et au profit du pouvoir suzerain. Le roi, d'ailleurs, en cas de guerre, de défense du territoire, avait le droit d'occuper et de faire occuper par ses troupes les châteaux, tours et donjons de ses vassaux.
Or, en dépit de ce droit, il arriva parfois que les portes des châteaux restaient closes devant leur suzerain, qui n'était pas toujours en état de les faire ouvrir par la force. Les châteaux et leurs tours formidables devinrent ainsi, pour la royauté, à mesure qu'elle s'affermissait, un souvenir d'insultes souvent demeurées impunies. Louis XI porta un premier coup à ces nids féodaux. La renaissance, plus encore par mode que par politique, en vit détruire un grand nombre. Henri IV, Richelieu et Mazarin démantelèrent les derniers.
Tel était leur nombre, cependant, sur le territoire français, que nous trouvons beaucoup de ces défenses et de ces postes encore debout.
Note 73: (retour) Quant au plomb fondu, à l'huile bouillante, ce sont là des moyens de défense un peu trop dispendieux pour qu'on les puisse prendre au sérieux. D'ailleurs le plomb fondu, tombant de cette hauteur, serait arrivé en bas en gouttes froides, ce qui n'était pas très-redoutable. Ce n'était que par exception qu'on avait recours à ces moyens de défense. De simples cailloux du poids de 8 à 10 kilogrammes, tombant d'une hauteur de 20 mètres, étaient les projectiles les plus dangereux pour des hommes armés et pavaisés.
Note 84: (retour)
Huit arbalétriers dans les deux étages intérieurs servaient facilement les seize meurtrières, ci.
Un servant à chaque étage.
Huit arbalétriers dans les hourds.
Deux servants pour les mâchicoulis.
Un capitaine de tour; ci.
Total.
L'enceinte extérieure de Carcassonne possède quatorze tours; en les supposant gardées chacune en moyenne par vingt hommes, cela fait
Vingt hommes dans chacune des trois barbacanes
Cent hommes pour servir les courtines sur les points d'attaque
À reporter
Report
L'enceinte intérieure comprend vingt-quatre tours, à vingt hommes par poste, en moyenne
Pour la porte Narbonnaise
Pour garder les courtines
Pour la garnison du château
Total
Ajoutons à ce nombre d'hommes les capitaines, un par poste ou par tour, suivant l'usage
Nous obtenons un total de
8
2
8
2
1
21
280
60
100
440
440
480
50
100
200
1270
50
1320
hommes.
-
-
-
-
hommes.
hommes.
-
-
hommes.
hommes.
-
-
-
-
hommes.
hommes.
hommes.
Ce nombre était plus que suffisant, puisque les deux enceintes n'avaient pas à se défendre simultanément, et que les hommes de garde, dans l'enceinte intérieure, pouvaient envoyer des détachements pour défendre l'enceinte extérieure, ou que celle-ci étant tombée au pouvoir de l'ennemi, ses défenseurs se réfugiaient derrière l'enceinte inférieure. D'ailleurs l'assiégeant n'attaquait pas tous les points à la fois. Le périmètre de l'enceinte extérieure est de 1400 mètres en dedans des fossés, donc c'est environ un homme par mètre de développement qu'il fallait compter pour composer la garnison d'une ville fortifiée comme l'était la cité de Carcassonne.
Note 89: (retour) «Et... (du Guesclin) prit son chemin et son retour, et tous les seigneurs de France en sa compagnie, pour venir de rechef devant la cité d'Usson, en Auvergne, et l'assiégèrent; et firent là le duc de Berry, le duc de Bourbon et le connétable, amener et charrier grands engins de Riom et de Clermont, et dresser devant ladite forteresse, et avec tout ce appareiller grands atournemens d'assaut.» (Froissart, Chron., CCCXXIX.)
Note 90: (retour)Encontre Bertran a la deffense levée:
N'i avoit sale amont qui ne fust bien semée;
De fiens y ot. on mis mainte grande chartée,
Par coi pierres d'engien, qui laiens soit getée,
Ne mefface léons une pomme pelée.
Car Bertran ot mandé par toute la contrée
Pluseurs engiens, qu'il fist venir en celle anée,
De Saint-Lo en y vint, cette ville alozée;
Bertran les fist lever sans point de l'arrestée.
Pardevant le chastel (de Valognes), dont je fuis devisée
Ont dréciez. VI. engiens getans de randonnée,
Mais en son de la tour, qui fu haulte levée,
Il avoit une garde toute jour ajournée,
Qui sonnoit. I. becin, quant la pierre est levée;
Et quant la pierre estoit au chastel assenée,
D'une blanche touaille (serviette), qui li fut présentée,
Aloit frolant les murs, faisait grande risée;
De ce avoit Bertran forment la chière irée.»
(La Vie vaillant Bertran du Guesclin, par Cuvelier, trouvère du XIVe siècle, v. 5076 et suiv.)
Note 96: (retour) Le château de Vincennes, dont il existe des restes considérables que nous voyons aujourd'hui, fut commencé par le roi Jean, sur de nouveaux plans; mais si l'on considère le style de l'architecture, il ne paraît pas que les prédécesseurs de Charles V aient élevé l'ouvrage au-dessus du sol de la place; si même Charles V n'a pas entièrement repris l'oeuvre.
Note 108: (retour) On donnait le nom de moineau à un petit ouvrage saillant bas, placé au fond du fossé, le défendant et pouvant contenir des arquebusiers ou même des arbalétriers. On croyait ainsi protéger le point mort des tours circulaires. (Voyez à l'article BOULEVARD le grand ouvrage de Schaffhausen, les défenses circulaires qui remplissaient exactement dans le fossé d'office de moineaux.)
Note 109: (retour) On donne généralement, à l'invention du boulet de fonte de fer, une date trop récente. Déjà, vers 1430, l'artillerie française et allemande s'en servait. Les inventaires d'artillerie de Charles VII en font mention. Des vignettes de manuscrits de 1430 à 1440 figurent des projectiles de fer. Au musée d'artillerie il existe un canon de 1423, de bronze, provenant de Rhodes, fondu en Allemagne, qui ne pouvait servir qu'à envoyer des boulets de fonte. À la défense d'Orléans, en 1428, les artilleurs orléanais avaient des boulets de fonte.
Note 110: (retour) Plus tard Castriotto (1584) adopte de nouveau les tours rondes au milieu des bastions, en capitales, et au milieu des courtines. Vauban lui-même, dans sa dernière manière (1698), établit des tours bastionnées formant traverses en capitales, entre les bastions retranchés d'une façon permanente et le corps de la place, sortes de réduits qui devaient inévitablement retarder la reddition de la place, puisque la chute du bastion non-seulement n'entraînait pas celle des défenses voisines, mais exigeait des travaux considérables pour prendre la tour bastionnée formant saillant porte-flancs. Montalembert (1776) plaça également en capitales, à la gorge des bastions, des caponnières élevées en maçonnerie, à plusieurs étages, qui ne sont autre chose que des tours casematées ayant un commandement considérable sur les dehors. À la base, la caponnière de Montalembert est entourée d'une série de moineaux qui donnent en plan une suite d'angles saillants en étoile, se flanquant réciproquement, pour poster des fusiliers. Les Allemands de nos jours en sont revenus aux tours possédant un commandement sur les ouvrages. Mais en présence des effets destructifs de la nouvelle artillerie, ce système ne peut être d'une grande valeur, à moins qu'on ne puisse revêtir ces tours casematées d'une cuirasse assez forte pour résister aux projectiles. Ces tentatives répétées sans cesse depuis le moyen âge prouvent seulement que les commandements sur les dehors sont toujours considérés comme nécessaires, et que la fortification du moyen âge (eu égard aux moyens d'attaque) avait sur la nôtre un avantage.
Note 123: (retour) Ce château, qui dépendait du Valois, fut rebâti en partie par Louis d'Orléans, quand ce prince fortifia son duché pendant la maladie de Charles VI. Le château de Montépilloy, situé sur une hauteur, commandant la route de Senlis à Crespy, servit de point d'appui aux armées des partis qui manoeuvrèrent dans cette contrée pendant les guerres du XVe et du XVIe siècle. Il fut démantelé après l'entrée de Henri IV à Paris.
Note 135: (retour) Chacune des huit tours du château de Pierrefonds portait le nom du preux dont la statue est placée sur le parement extérieur. La statue de Charlemagne remplissait la niche pratiquée au sommet du cylindre de la tour d'angle du donjon. (Voyez la Notice sur le château impérial de Pierrefonds, 4e édition.)
Note 141: (retour) Voyez Dissert. archéol. sur les anciennes enceintes de Paris, par Bonnardot Parisien, 1852. Voyez les plans de Gomboust, de de Fer, de Mérian, la tapisserie de l'hôtel de ville, les gravures de Callot, d'Israël Sylvestre, les plans déposés aux Archives de l'empire, les dessins et gravures de della Bella, les dessins de Le Vau (Archiv. de l'empire). Cette tour ne fut démolie qu'au moment où l'on commença le palais des Quatre Nations (l'Institut actuel), vers 1660.
Note 147: (retour) Il eût été facile de conserver ce précieux monument qui ne gênait pas sérieusement le tracé des voies nouvelles sur ce point de Paris. C'était un très-curieux exemple des travaux dus aux Templiers vers la fin du XIIe siècle.Malgré des réclamations appuyées pur les personnages les plus autorisés, la démolition de la tour Bichat fut décidée hâtivement, et c'est à peine si nous eûmes le temps de mesurer cet édifice. Quelques chapiteaux provenant de cette démolition ont été transportés au musée de Cluny; mais ce n'était pas par sa sculpture, bien qu'elle soit belle, que cet édifice intéressait l'historien.
Note 148: (retour) Voyez l'excellent Itinéraire archéologique de Paris du savant auteur de tant de travaux précieux sur nos antiquités nationales. M. de Guilhermy déplorait, en 1855, comme tous ceux qui ont quelque souci de nos monuments historiques, la destruction de la tour Bichat. «La ville de Paris, disait-il, qui a fait de si généreux sacrifices pour sauver la tour Saint-Jacques la Boucherie, s'est au contraire montrée insouciante envers celle de Latran, ct cependant, si la première est en jouissance d'une plus grande renommée, l'autre appartenait à une meilleure époque de l'art et se rattachait à une famille d'édifices d'un caractère plus intéressant....» Nous ajouterions que la tour de Latran était l'unique monument de ce genre en France.
TOURELLE (TOURNELLE), s. f. Diminutif de tour, petite tour, ou plutôt tour d'un petit diamètre. Les manoirs ne pouvaient être munis de tours, mais de tourelles seulement 163. On donnait aussi le nom de tournelles à de véritables tours flanquant des courtines, mais dont l'étroite circonférence ne pouvait contenir qu'un très-petit nombre de défenseurs; sortes de guérites ou d'échauguettes. Les portes, les châtelets, n'étaient souvent munis que de tournelles. Aujourd'hui, on désigne habituellement par le mot tourelles les ouvrages cylindriques, ou à pans, portés en encorbellement. Ces tourelles s'élevaient, soit sur un cul-de-lampe, soit sur un contre-fort; elles donnaient un flanquement peu étendu et des vues sur les dehors d'une habitation, d'une porte ou d'une courtine. On ne commence guère à les employer que pendant le XIIe siècle; les XIIIe, XIVe, XVe et XVIe siècles même en font un grand usage, et certaines habitations du XVIIe siècle en possèdent encore 164.
La tourelle est fermée et ne communique avec les logis ou chemins de ronde que par une porte. Elle forme ainsi intérieurement une petite pièce circulaire, un cabinet, une guérite, et est couverte le plus souvent par un cône de pierre ou de charpente, plomb et ardoise. Souvent les tourelles contiennent un escalier à vis pour communiquer d'un premier étage aux parties supérieures de l'édifice.

La figure 1 donne le plan et la vue d'une tourelle d'angle du XIIe siècle, appartenant à la partie la plus ancienne du château de Vées (Oise). Cette tourelle, cylindrique, est posée sur deux contre-forts et trois culs-de-lampe, remplissant les trois angles rentrants; elle n'était, par conséquent, évidée que dans la hauteur du second étage. Sa couverture est un cône de pierre creux. Des cordons de pointes de diamant ornent sa naissance et sa corniche.
Les clôtures d'abbayes, de courtils, étaient souvent renforcées de tourelles aux angles, ou de distance en distance, pour poster des guetteurs. Quelquefois même ces tourelles avaient deux étages, l'un au niveau du chemin de ronde, l'autre au-dessus, auquel on montait par une échelle 165. Ces sortes de tourelles étaient de véritables échauguettes, et les appelait-on ainsi pendant le moyen âge 166. Les deux fuseaux cylindriques qui flanquent la porte de l'abbaye du Mont-Saint-Michel en mer sont bien des tournelles, dans l'ancienne acception du mot.

Voici (fig. 2) une perspective de ce bel ouvrage bâti en assises de granit rose et gris alternées dans la hauteur du premier étage, et qui date de 1260 environ 167. Ces deux tourelles servaient à la fois d'escaliers et de défenses dans leur partie supérieure. La porte qu'elles flanquent est précédée d'un châtelet, et l'ensemble de la construction est intact 168. Ce ne sont point des combles coniques qui couronnent les deux cylindres, mais des plates-formes, afin de laisser plus de liberté aux défenseurs.
La porte principale du palais des papes, à Avignon, est également flanquée de deux véritables tourelles, dont la disposition mérite l'attention.
Cette façade se compose d'une suite d'arcs percés de mâchicoulis à la hauteur de 15 mètres au-dessus du sol, et portant un chemin de ronde crénelé, en arrière duquel le mur de face s'élève jusqu'aux combles et porte un second crénelage 169. Les deux tourelles de la porte reposent, en tas de charge, sur deux piles des arcs formant mâchicoulis, et profitent de la saillie du chemin de ronde pour s'élever jusqu'au crénelage supérieur (fig. 3); elles flanquent ainsi les deux chemins de ronde inférieurs A et B, et ajoutent aux défenses de la porte 170.

Les pyramides de couronnement de ces deux tourelles étaient de pierre et décorées de crochets. On observera que les culs-de-lampe qui les supportent sont sur plan circulaire, tandis que les tourelles sont elles-mêmes tracées sur plan octogone, avec nerfs saillants aux angles et au milieu des faces du prisme. Cette disposition n'est pas rare pendant le XVe siècle.
Beaucoup d'hôtels, et de simples maisons même, possédaient des tourelles d'angle permettant de prendre des jours d'enfilade sur les rues, ou des tourelles engagées contenant des escaliers (voyez MAISON, fig. 13, 14, 15, 33, 34, 35 et 39). Parfois aussi ces tourelles étaient disposées pour donner de petits cabinets dans le voisinage des pièces d'habitation. Il existait une charmante tourelle de ce genre dans l'angle de la cour de l'hôtel de la Trémoille, à Paris; elle formait un porche à rez-de-chaussée, devant le couloir qui conduisait au jardin 171.
Lorsque les tourelles sont posées en encorbellement, les constructeurs
du moyen âge ont apporté un grand soin dans la disposition de l'appareil
et dans la répartition des charges, pour éviter la bascule. Ces
encorbellements naissent beaucoup au-dessous du sol inférieur de la
tourelle, et le cylindre est complet, afin de pouvoir être maintenu dans
son centre de gravité. Il est assez rare qu'une tourelle d'angle soit
tracée ainsi que l'indique le plan (fig. 4, A), c'est-à-dire ayant les
trois quarts de sa surface en dehors de la construction inférieure. Le
plus habituellement, ou un contre-fort soulage une partie du
porte-à-faux (voyez en B), ou plus d'un quart de la tourelle est engagé
dans l'angle (voy. en C). Mais le XVe siècle se permettait des
hardiesses de construction et aimait à les montrer. On éleva donc
parfois, à cette époque, des tourelles d'angle suivant le tracé A. Or,
pour maintenir la bascule de toute la portion abc du cylindre, il
fallait que le cul-de-lampe prît naissance assez bas pour être chargé
par l'angle h, avant de commencer le dégagement complet de l'intérieur
de la tourelle. Les constructeurs procédaient ainsi. Soit (fig. 5) une
coupe faite sur bh; soit g le niveau du sol de l'étage en
communication avec le sol inférieur de la tourelle. La naissance du
cul-de-lampe était placée en n, et assez bas pour que la charge du
quart du plan nopq, posant sur l'angle de pierre, fût équivalente au
moins à la charge nst des trois quarts du cul-de-lampe en
porte-à-faux. À cet effet, il était laissé en v un vide que l'on
recouvrait avec un bout de plancher. C'est ce vide que l'on prend, dans
les tourelles anciennes où il existe, pour des cachettes
préméditées
172. Les trois quarts du cylindre en porte-à-faux étaient
facilement reliés au quart engagé dans l'angle, mais encore fallait-il
que ce quart engagé fût, à lui seul, aussi lourd que les trois quarts en
porte-à-faux; et c'est pourquoi les murs des tourelles en encorbellement
sont très-minces, souvent évidés, et présentent une section horizontale
analogue à celle tracée en D dans notre figure 5.

Note 172: (retour) J'ai vu ruiner une tourelle dans laquelle le propriétaire d'un manoir avait eu l'idée de faire enlever le massif d'angle formant contre-poids, croyant que ce massif devait renfermer quelque trésor. Il serait tout aussi dangereux de faire remplir de maçonnerie les prétendues cachettes.
TRABES, s. f. Mot latin trabs, adopté par l'Église, et signifiant: les poutres de bois placées en travers ou autour du choeur, sur lesquelles on posait des lumières et auxquelles on attachait des lampes. Les églises abbatiales possédaient des trabes en avant de l'autel principal (voyez CHOEUR). Un crucifix était habituellement fixé au milieu de la trabes. Ces poutres reposaient parfois sur quatre colonnes entourant l'autel. Elles étaient sculptées et peintes, ou revêtues de pièces d'orfévrerie de cuivre ou d'argent 173, surmontées d'arcatures entre lesquelles brûlaient des lampes. Quelquefois des figures les décoraient 174. Il n'existe plus aucune de ces trabes dans nos anciennes églises françaises, mais on en voit encore quelques-unes dans les églises d'Italie. La petite église conventuelle de Saint-Jean au Bois, dans la forêt de Compiègne (Oise), laisse encore voir les deux extrémités sciées d'une trabes du XIIIe siècles couvertes de jolies peintures. Ces extrémités reposent sur deux chapiteaux ménagés au droit des piliers de l'entrée du choeur (fig. 1).

C'était à la trabes que, pendant la semaine sainte, on suspendait le voile funèbre qui cachait l'autel et le sanctuaire. L'usage des trabes est antérieur à celui des jubés et date des premiers temps du christianisme. Il a été conservé, comme beaucoup d'autres coutumes primitives, dans l'Église grecque, et nous ne saurions dire pourquoi ces poutres porte-lumières ont été supprimées en France. Les églises abbatiales de Saint-Denis, de Cluny, possédaient des trabes magnifiquement ornées d'orfévreries et de chandeliers de vermeil, qui étaient posées entre les stalles et le sanctuaire.
TRAIT (Art du). C'est ainsi que l'on désigne l'opération qui consiste à dessiner, grandeur d'exécution, sur une aire, les projections horizontales et verticales, les sections et rabattements des diverses parties d'une construction, de telle sorte que l'appareilleur puisse découper les panneaux d'appareil, le gâcheur faire tailler les pièces de bois qui constituent une oeuvre de charpenterie; le menuisier, les membrures et assemblages des lambris, portes, croisées, etc.
Le trait est une opération de géométrie descriptive, une décomposition des plans multiples qui composent les solides à mettre en oeuvre dans la construction.
L'art du trait, développé pendant l'antiquité grecque, était à peu près ignoré par les constructeurs de la première période du moyen âge, et il ne semble pas, à voir les monuments carlovingiens, que les efforts tentés par Charlemagne pour faire enseigner la géométrie aux architectes occidentaux aient produit des résultats sensibles. Ce n'est qu'après les premières croisades que l'on s'aperçoit d'un développement notable de ces connaissances en France. À la fin du XIIe siècle, les maîtres des oeuvres avaient repris possession de la géométrie, et, depuis cette époque, leur habileté en cette science s'accrut d'année en année, jusqu'à la fin du XVe siècle.
La pratique de la géométrie descriptive était fort avancée chez les peuples orientaux et chez les Égyptiens dès une époque très-reculée. Après la translation de l'empire romain à Byzance, les sciences mathématiques eurent des foyers puissants à Byzance même, à Alexandrie, et plus tard à Bagdad, et dans les contrées soumises à la domination des kalifes. Les premiers croisés trouvèrent en Syrie des écoles dont ils surent tirer profit, et, dès le commencement du XIIe siècle, l'art de projeter les solides, de développer leurs surfaces, était déjà mis en pratique en Occident. Si les éléments de la géométrie semblent à peine connus des constructeurs carlovingiens, ils sont évidemment familiers aux architectes clunisiens, qui ont élevé la nef de Vézelay vers 1100; et, trente ans plus tard, on s'aperçoit, dans la construction du porche de la même église, que ces constructeurs ont, en géométrie descriptive, des connaissances déjà étendues, car toutes les parties de ce porche, et l'appareil notamment, sont tracées avec sûreté et précision. Bien plus, on voit naître, dans les tracés de cette belle école clunisienne, une méthode, non plus empirique comme celle des constructeurs antérieurs du moyen âge, mais appuyée sur un principe qui, à nos yeux du moins, est excellent, puisqu'il est logique et vrai. Nous expliquerons cette méthode en quelques mots. Toute structure est élevée pour remplir un objet, se propose une fin; il semble donc que ce soit l'objet qui doive imposer les moyens; ces moyens sont ou doivent être subordonnés essentiellement à l'objet. Une salle, par exemple, a pour objet un espace vide couvert; c'est ce vide couvert qui est l'objet, et non les piliers ou les murs; ceux-ci ne sont et ne doivent être que les moyens d'obtenir le vide. Supposons que la salle soit voûtée, c'est la voûte qui couvre l'espace vide, c'est elle qui est la partie essentielle de la structure, parce que c'est elle qu'il s'agit de maintenir en l'air; c'est donc la voûte, sa forme, son étendue et son poids qui commandent la disposition; la forme et la résistance des points d'appui. Par déduction logique, la surface à couvrir, et le moyen de la couvrir (soit une voûte) étant donnés, c'est la voûte qu'il s'agit d'abord de tracer, et c'est son tracé qui doit imposer celui des piliers ou des murs. En toute chose, c'est la conclusion à laquelle on veut arriver qui commande les prémisses, et personne ne commencera un livre ou un discours sans savoir, au préalable, ce qu'il veut démontrer.
Une méthode aussi naturelle, aussi simple, aussi logique, ouvrait alors un champ nouveau à l'architecture, comme elle l'ouvrirait encore aujourd'hui, si l'on voulait se donner la peine de l'appliquer avec rigueur et en utilisant les éléments dont nous disposons. Nous disons qu'alors, au XIIe siècle, cette méthode ouvrait un champ nouveau à l'art, parce que, depuis la décadence antique, l'art ne vivait plus que sur des traditions assez confuses et corrompues, traditions dont les éléments étaient oubliés ou incompris, parce qu'on ne se mettait guère en peine, pas plus qu'aujourd'hui, en architecture, de faire concorder les prémisses avec la conclusion, ou les moyens avec l'objet; on parlait pour parler. Au milieu de cette confusion et de cette ignorance de la pratique de l'art, l'introduction d'une méthode satisfaisante pour l'esprit, facilement applicable, qui ne demandait tout d'abord que des connaissances en géométrie peu étendues, qui d'ailleurs était susceptible de perfectionnements infinis, comme la suite l'a prouvé, et comme on le reconnaît encore quand on veut l'appliquer, devait produire un de ces développements subits signalés de loiu en loin dans l'histoire de l'art. C'est ce qui arriva. Heureusement pour ce temps, les monastères clunisiens renfermaient l'élite des intelligences en Occident, et étaient à la tête, par l'enseignement, de toutes les connaissances qui pouvaient alors donner une direction nouvelle aux arts et aux lettres. Si l'on examine les monuments que ces religieux ont élevés pendant la première moitié du XIIe siècle, on constate jusqu'à quel degré ils avaient pu s'assimiler cette architecture dont ils avaient pris les éléments en Syrie, mais aussi comment ils allaient fertiliser ces éléments en les soumettant à une méthode géométrique rigoureusement déduite de l'objet. Dorénavant, dans le tracé de la structure, c'était la chose portée, sa configuration, sa pesanteur, sa position logique, qui allaient imposer les membres et les formes de la chose qui porte. Encore une fois c'était là un progrès, une idée nouvelle, car cette idée n'avait été développée avec cette rigueur, ni chez les Grecs, ni dans les édifices romains. Elle sera encore de nos jours un des éléments de progrès en laissant faire au temps, et en tenant compte des études qui se poursuivent malgré les entraves académiques, parce qu'elle est singulièrement propre à l'emploi des nouveaux matériaux que l'industrie nous fournit.
Il faut dire que pour appliquer rigoureusement la méthode de tracé qu'inauguraient les maîtres, dès le milieu du XIIe siècle; il fallait que ceux-ci fussent eux-mêmes traceurs, et que les formes de l'architecture fussent combinées en raison des nécessités de la structure. Il fallait qu'ils eussent sans cesse devant les yeux de leur intelligence les moyens pratiques applicables, non-seulement à la partie, mais à l'ensemble. Ils ne se fiaient point à l'opération du ravalement, si commode pour dissimuler des négligences, des oublis ou des erreurs; car chaque pierre sortie de la main de l'ouvrier devait prendre exactement la place qui lui était destinée, suivant la forme nécessaire et tracée d'avance, pour ne plus être retouchée. Le système de voûte trouvé par ces maîtres, vers 1150, et atteignant si rapidement son développement logique, système dont les éléments étaient entièrement neufs, dérivait d'une méthode de tracé spéciale, rigoureuse dans son principe, mais très-étendue dans ses applications. En étudiant les édifices élevés dans l'ancienne France de 1130 à 1160, on découvre aisément les écoles qu'ont dû faire les constructeurs pendant cette période, les difficultés qui surgissent d'une application encore incomplète de la méthode à suivre, les perfectionnements qui se développent à mesure que ces maîtres entrent plus avant dans l'application vraie du système adopté. C'est ainsi, en effet, que se forme un art, et non par des essais vagues, produits de ce que l'on croit être une inspiration spontanée, ou d'un éclectisme nuageux ne se rattachant à aucun principe arrêté. En architecture, tout est problème à résoudre; des traditions établies peuvent être suivies et fournir longtemps une carrière à l'artiste, mais si ces traditions viennent à manquer, ou sont reconnues insuffisantes, l'art, pour ne pas tomber au dernier degré de l'affaissement, a besoin de recourir à des principes absolus, doit adopter une méthode logique dans sa marche, serrée dans son application. Les maîtres du XIIe siècle comprirent ainsi leur rôle, et s'ils ne nous ont pas laissé d'écrits pour nous le dire, ils ont élevé assez de monuments, encore entiers, pour nous le prouver. Alors les développements de l'architecture religieuse et de l'architecture militaire étaient ce qui préoccupait le plus ces maîtres, et cependant les principes qu'ils adoptent, s'étendent sur toutes les autres branches de l'art. Une fois dans la voie logiquement tracée, ils ne s'en écartent pas, car elle les conduit aussi bien à la structure de l'église, sur des formes nouvelles, qu'à celle de la forteresse, du palais ou de la maison.
Nous avons été si fort déshabitués de raisonner, quand il s'agit d'architecture; les formules académiques sont tellement ennemies de l'examen, de la critique, de la juste appréciation de l'objet, du besoin et des moyens pratiques, que, de nos jours, la nécessité faisant loi et étant supérieure aux préjugés d'écoles, les architectes ont vu s'élever à côté d'eux un corps puissant destiné probablement à les absorber. Ceux que nous appelons ingénieurs ne font pas autre chose, à tout prendre, que ce que firent les maîtres laïques vers le milieu du XIIe siècle. Ils prennent pour loi: le besoin exactement rempli à l'aide des moyens les plus vrais et les plus simples. Si leur méthode n'a pu encore développer des formes d'art nouvelles, il faut s'en prendre à l'influence de ces préjugés d'écoles auxquels ils n'ont osé se soustraire encore entièrement. Ils arriveront à s'en affranchir, on n'en saurait douter, car, encore une fois, la nécessité les y pousse: l'exemple que nous présentons ici finira tôt ou tard par les convaincre qu'il est des traditions abâtardies avec lesquelles il faut rompre; que l'on ne renouvelle pas un art comme l'architecture, en s'assimilant des formes antérieures sans les passer au crible d'un examen scrupuleux, mais bien plutôt en partant d'un principe établi sur le raisonnement et sur la logique.
Peut-être les moines du XIIe siècle exprimèrent-ils leurs regrets de voir abandonner les traditions de l'art roman et les restes des arts antiques, en face de la nouvelle école des maîtres laïques qui cherchaient à établir leur système sur l'examen, les procédés géométriques et la stricte observation du besoin...; leurs doléances ne sont point parvenues jusqu'à nous; et, d'ailleurs, si elles se produisirent, le mouvement social qui prétendait soustraire la civilisation à leur influence exclusive fut le plus fort. Les écoles des couvents elles-mêmes, bien que puissantes, furent entraînées, en tant que les établissements monastiques aient conservé des écoles de maîtres des oeuvres, le XIIe siècle écoulé. Il faut rendre cependant à ces établissements la justice qui leur est due, ils avaient commencé (les Clunisiens entre tous) la révolution savante qui allait renouveler l'art de l'architecture. Dans leurs écoles, ainsi que nous le disions tout à l'heure, l'étude de la géométrie était évidemment en honneur dès la première moitié du XIIe siècle. Ils commencèrent, sans en avoir conscience peut-être, la ruine de l'art roman, ou du moins ils ne prétendirent pas établir l'hiératisme. En supposant qu'ils aient reconnu le danger qui menaçait les traditions romanes, ils n'avaient pas, pour le combattre, cet éclectisme irraisonné de nos Académies d'art modernes, puisqu'ils ne connaissaient guère qu'une forme architectonique, celle qu'ils avaient pratiquée. Un moine de génie semble même avoir provoqué cette révolution de l'art de bâtir. Suger fit reconstruire l'église de Saint-Denis en 1137. Elle était terminée, ou peu s'en faut, en 1141. Or, on voit apparaître déjà, dans ce qui nous reste de ce monument, le système de structure dit gothique.

Les voûtes, qui constituent la partie la plus importante de ce système, sont conçues en dehors des données romanes. La figure 1re explique l'ensemble du tracé de la partie. conservée du tour du choeur élevé par Suger. Le plein cintre a complétement disparu; tous les arcs sont tracés en tiers-point, et c'est leur projection horizontale qui commande impérieusement déjà la place et la forme des piliers. En d'autres termes, l'architecte a dû tracer les voûtes d'abord sur son plan, avant d'arrêter la disposition des piliers. Son intention a été, évidemment, de chercher, autant que possible, des branches d'arcs d'une portée égale, puisque, dans toute cette partie occupée par les chapelles et les doubles collatéraux, il était nécessaire que les clefs des voûtes fussent de niveau, ou à très-peu près.
Les piliers A, B, C, D, E, et les archivoltes AB, BC, CD, DE, ont été refaits sous saint Louis, mais les socles des piliers A, B, C, datent de l'époque de Suger. Quant aux voûtes hautes du sanctuaire, elles ont été reconstruites également au XIIIe siècle. Nous ne nous occupons donc que de la partie comprenant les chapelles et le double collatéral qui appartient à la structure de 1137.
On remarquera que les branches d'arcs ogives ab, cd, de, df, etc., sont sensiblement égales. Du moment que l'arc brisé était admis, les petites différences de longueur de ces branches n'empêchaient pas que leurs clefs atteignissent un même niveau. Les clefs des arcs-doubleaux FG, HI (arcs en tiers-point), sont à un niveau plus bas que les clefs b et d; ce qui devait être, puisque les branches Fg, gG, etc., de ces arcs, sont plus courtes que celles des arcs ogives. Quant aux arcs doubleaux KL, tracés sur plan horizontal circulaire, leurs clefs sont à un niveau intermédiaire entre celui des clefs b d et celui des clefs g h. Les clefs m des formerets ef n'atteignent pas non plus le niveau des clefs d. Il en résulte que les voûtes d'arête LKIfe, LKFO, sont bombées d'une manière sensible 175. Ces arcs de voûte et leurs rabattements tracés, le maître de l'oeuvre a projeté leurs naissances sur les points où elles devaient porter, ainsi que nous l'avons indiqué en P pour la colonne p,--le profil des arcs-doubleaux étant n et celui des arcs ogives s;--ces naissances ont imposé la forme et la dimension des tailloirs, et par suite celle du chapiteau et de la colonne: de telle sorte que (voyez le détail R d'une chapelle) ces colonnes prennent un diamètre en raison de la puissance ou du nombre des arcs qu'elles portent, ce qui est parfaitement raisonné et logique.
Il existe, dans le tracé général de ces chapelles et collatéraux du choeur de l'église de Saint-Denis, une irrégularité notable. Les projections d'arcs-doubleaux normaux au cercle du rond-point ABC ne tendent pas au centre Q de ce cercle. Le centre de la seconde précinction LK est en T, au delà du centre Q sur le grand axe, tandis que le centre de la troisième précinction d, d', sur laquelle sont posés les centres des chapelles circulaires, est en Q, et celui de la tête I des chapelles est en V. L'arc-doubleau ce a donc plus d'ouverture que l'arc-doubleau HI, plus encore que celui xi, plus encore que celui pr. Par contre, l'arc-doubleau Oa a moins d'ouverture que celui FG, etc. Si nous prolongeons jusqu'au grand axe les projections horizontales d'arcs-doubleaux Ae, BI, Ci, Dp, nous voyons que seule la ligne Ae tombe sur le centre T, et que les autres rencontrent le grand axe au delà de ce point. Le traceur a fait danser ces lignes comme on fait danser les marches d'un escalier dans une partie tournante, pour éviter les différences trop grandes que donneraient les secteurs à chacune de leurs extrémités. En effet, si le maître eût tracé les rayons tendants à un centre, les arcs d'entrée des chapelles eussent eu une ouverture hors de proportion avec celle des archivoltes AB du sanctuaire. Le tracé des arcs des voûtes devenait plus difficile, ou plutôt les écarts considérables entre les longueurs de branches d'arcs eussent été un embarras pour le constructeur, sans compter le mauvais effet produit à l'oeil.
Il y a aussi dans ces irrégularités, appréciables seulement sur un plan exactement rapporté, un effet de perspective cherché. Il faut se rappeler que la place Z, dans le sanctuaire, était occupée par un magnifique autel avec le reliquaire des martyrs, le tout refait avec luxe par Suger, et que par suite de la déviation des rayons des chapelles, les cérémonies pratiquées en avant de l'autel des reliques se faisaient ainsi réellement au centre de ces chapelles. Quant à la plus grande ouverture des arcs-doubleaux ce, relativement à celles des arcs-doubleaux des chapelles antérieures, c'était un moyen de donner plus de profondeur à l'église suivant son grand axe, et de combattre l'effet de raccourcissement de l'abside produit par la perspective.
Ces délicatesses nous paraissent étranges aujourd'hui, et plutôt que d'en chercher le sens ou d'en constater les résultats, nous préférons mettre ces défauts de plantation sur le compte de l'ignorance de ces artistes anciens, quitte à nous émerveiller demain devant des irrégularités non moins importantes signalées sur des monuments de l'antiquité grecque; irrégularités qui sont le résultat d'un besoin de l'oeil et d'une très-délicate appréciation des effets perspectifs. Ayant ainsi deux poids et deux mesures, méprisant ici ce que nous admirons là-bas, nous ne tenons point compte d'ailleurs, dans nos constructions, de ces conséquences des lois de la perspective. Il faut convenir que, s'il était facile de modifier les largeurs des entre-colonnements ou les diamètres des colonnes dans un portique, grec, puisque ces recherches ne modifiaient point le système de structure en plates-bandes, il l'est beaucoup moins d'appliquer ces lois imposées par un besoin de l'oeil, à des édifices voûtés. Il fallait que le système de voûtes adopté se prêtât à ces libertés; c'est aussi ce qui arriva lorsque l'on abandonna la voûte romaine et la voûte romane pour inaugurer la nouvelle structure. Aussi les maîtres du XIIe siècle, si délicats dans leurs conceptions, profitèrent largement des facilités données par le nouveau système des voûtes françaises pour obtenir de grands effets, à l'aide de moyens simples et pratiques. Une fois le tracé général obtenu, il n'y avait aucun embarras à bander un arc suivant un angle plus ou moins ouvert. Il suffisait de tracer sur l'aire la direction de cet arc et d'en faire le rabattement. Le patron du claveau, posé perpendiculairement à cette direction, donnait la naissance de l'arc. En réunissant tous ces patrons sur un point, on composait le sommier; le sommier composé, en raison de la forme des claveaux et de la direction des arcs, on traçait le chapiteau qui devait porter le sommier. Le chapiteau tracé, on avait la colonne ou la pile. Donc c'était par le tracé général des voûtes que le maître commençait l'opération graphique du plan. Une méthode pareille exigeait, il est vrai, une pratique très-complète de la géométrie, non-seulement de la part, du maître, mais aussi chez les metteurs en oeuvre, car il fallait à chaque sommier se rendre compte de la pénétration des surfaces qui venaient se grouper en faisceaux; mais on ne prétendra pas, probablement, que ces connaissances poussées très-loin chez le maître et facilement comprises par les aides, aient jamais été une marque d'ignorance, et de barbarie. Ayant mis sous les yeux de nos lecteurs un de ces tracés généraux, il est nécessaire de pénétrer plus avant dans les méthodes de détail. Prenons d'abord un des exemples les plus simples.

Soit (fig. 2) un pied-droit de porte avec ébrasement extérieur. Cet ébrasement devra être nécessairement couvert par des arcs. Nous prendrons, pour faire ces arcs, des pierres d'une dimension proportionnée à leur portée. Soit en A une échelle d'une toise. La dimension d'un pied sera donnée aux claveaux; l'ébrasement ayant quatre pieds de profondeur, quatre rangs de claveaux superposés le fermeront. Sur le tympan T, servant de cintre, nous tracerons donc le premier rang B de claveaux; sur ce premier rang le deuxième C, et ainsi pour les deux autres D, E. Un bandeau F d'archivolte sertira les quatre rangs. La projection horizontale BCDE des naissances de ces claveaux donnera la dimension des chapiteaux dont les carrés supérieurs G auront ainsi un pied sur chacune des deux faces vues. Suivant la saillie que nous voudrons donner à ces chapiteaux sur le fût des colonnes, nous tracerons celles-ci. S'ils doivent être engagés, ces fûts seront tracés tangents aux côtés a, b (voyez le détail H); alors les chapiteaux seront eux-mêmes engagés et leurs milieux seront en d. Si nous préférons que ces chapiteaux soient entiers, nous tracerons le fût de la colonne, le centre au milieu i du carré. Les deux partis ont été adoptés au XIIe siècle, le second plus rarement dans les provinces françaises que le premier. La saillie du tailloir m sera franche et se profilera régulièrement autour de la tête des chapiteaux. Cette saillie recevra le bandeau d'archivolte F. D'ailleurs la projection horizontale des chapiteaux et de leurs tailloirs donnera celle des bases et de leurs socles, ainsi que le démontre la projection verticale L. Ce détail très-simple, puisqu'il ne s'agit que du tracé d'une suite d'archivoltes concentriques, fait ressortir le principe dominant. Ce sont les arcs, leur projection horizontale, qui commandent la forme des chapiteaux, les fûts et les bases des colonnes. Le maître a dû tracer ces rangs d'arcs avant de tracer le plan par terre 176.
S'il s'agit de tracer les arcs d'une nef et leurs supports, l'opération (cela va sans dire) est plus compliquée. En architecture, comme en toute chose, quand un principe nouveau est admis, les premières applications que l'on en fait ne sont pas les plus simples. Nos moteurs à vapeur sont moins compliqués que ne l'étaient ceux du commencement du siècle; ce n'est que par l'étude que l'homme arrive à simplifier ce que son génie lui fait trouver tout d'abord.

Mettons en parallèle deux systèmes de piles de nefs portant des voûtes en arcs d'ogive (fig. 3). L'un, A, appartient à l'église cathédrale de Paris; l'autre, B, à l'église cathédrale de Reims. Le premier date de 1195, le second de 1220 environ. Jetons les yeux sur la coupe de la nef de l'église Notre-Dame de Paris (voy. CATHÉDRALE, fig. 2). Nous verrons que des piliers cylindriques partent: à rez-de-chaussée, deux archivoltes, un arc-doubleau, deux arcs ogives et un faisceau de trois colonnettes destinées à porter les arcs des voûtes hautes; au premier étage, une galerie voûtée, c'est-à-dire un arc-doubleau et deux arcs ogives; à la hauteur des fenêtres, un contre-fort, le mur percé de baies, deux colonnettes pour les formerets, l'arc-doubleau et les deux arcs ogives des voûtes hautes. Le maître de l'oeuvre, en maintenant le système des piles cylindriques, croyait certainement partir d'une donnée simple, et cependant ce premier point devait lui causer des embarras et l'obliger à des complications d'épures.
On voit sur notre figure 3, en A, la projection horizontale de tous ces membres superposés à la demi-circonférence du pilier cylindrique. Sur cette circonférence, le traceur a fait retomber l'arc-doubleau a et l'arc ogive b du collatéral, l'archivolte à deux rangs de claveaux ccd portant l'ordonnance longitudinale, la colonnette e et celle f destinées à porter l'arc-doubleau et l'arc ogive des voûtes hautes. Pour recevoir ces membres, il a tracé le tailloir du chapiteau opqr carré aux angles abattus, ce qui n'empêche pas qu'il reste des surfaces horizontales v ne portant rien. Ce premier tracé reçoit le plan des piliers au niveau de la galerie, plan que l'on trouve en ghijk. Adossées à la partie interne de ce pilier, ont été tracées les colonnettes l des arcs-doubleaux et m des arcs ogives des voûtes de cette galerie. Les projections horizontales des arcs de ces voûtes sont les mêmes que celles des arcs ab des voûtes du collatéral.

La claire-voie de la galerie étant enveloppée par une archivolte, la projection horizontale de cette archivolte a été tracée en n et s, débordant vers la nef, en n', le nu du tympan de l'archivolte inférieure pour former saillie sur les chapiteaux du pilastre d'angle (voy. CATHÉDRALE, fig. 4). Quant à l'archivolte interne s, elle sert de formeret à la voûte de la galerie. Pour mieux ouvrir la claire-voie, les petites archivoltes formant arcature (voy. CATHÉDRALE, fig. 4) retombent en t sur le pilastre i, et non sur une colonnette. Le nu extérieur du mur au-dessus de la galerie étant en u, porté sur le formeret s, le contre-fort extérieur est en XX'r (voy. CATHÉDRALE, fig. 2).
Les colonnettes e, f, continuent à s'élever et reçoivent l'arc-doubleau e' et l'arc ogive f', dont la naissance est projetée sur notre figure. Ces naissances donnent la forme des chapiteaux et des tailloirs tracés en y. Sur la saillie Z de ce tailloir retournant d'équerre, repose la base de la colonnette W qui porte le formeret de la voûte haute. Il ne faut pas oublier que ces voûtes hautes sont croisées, c'est-à-dire que les arcs ogives prennent deux travées, et donnent, par conséquent, une projection horizontale voisine de 45 degrés. Les difficultés de tracés eussent encore été augmentées, si ces arcs ogives eussent été les diagonales d'une seule travée.
On voit, par cet exemple, quelles complications et quels tâtonnements y entraîne l'emploi incomplet d'une méthode, une fois un principe admis. L'ordonnance ne commence réellement qu'au-dessus du tailloir des gros chapiteaux, et cette ordonnance est gênée par cette nécessité d'un tailloir carré posé parallèlement au grand axe de la nef. L'architecte a procédé logiquement pour la partie supérieure; il a tracé ses arcs de voûtes avant tout, et ceux-ci lui ont donné la forme, la place et la dimension des supports; mais cette surface carrée dans laquelle il fallait se renfermer et qui lui était donnée par le cylindre inférieur, l'obligeait à mêler les membres, à les enchevêtrer les uns dans les autres pour trouver leur place. Encore, malgré ces efforts, laissait-il sur ces tailloirs, trop restreints en deux sens, des surfaces non occupées. Voulant avoir, à rez-de-chaussée, des piliers cylindriques et adoptant l'ordonnance de la structure nouvelle, il eut été plus logique et plus simple de poser les tailloirs diagonalement, puisque c'était parallèlement et perpendiculairement au grand axe de la nef qu'il avait à développer les, membres de la structure. En effet, si les tailloirs eussent été tracés ainsi que nous l'avons indiqué en G, le traceur plaçait les diagonales dans le sens du développement des membres portants; il était moins gêné et ne laissait pas des surfaces inoccupées. Ce raisonnement, comme on le pense bien, fut bientôt suivi par les maîtres, dès le commencement du XIIIe siècle. La cathédrale de Reims fut fondée en 1212; la partie de la nef voisine du transsept s'élevait vers 1220, vingt-cinq ans après la construction des piles de la nef de Notre-Dame de Paris. Le plan B (fig. 3) donne la moitié de la projection horizontale d'un des piliers de la nef de Notre-Dame de Reims (partie ancienne), avec les membres qui portent ces piliers. L'architecte conserve la pile cylindrique, mais il diminue comparativement son diamètre, et il la cantonne de quatre colonnes engagées 177. Sur cette pile (voy. CATHÉDRALE, fig. 14) il pose un chapiteau, ou plutôt un groupe de chapiteaux (voy. CHAPITEAUX, fig. 33), dont les tailloirs réunis adoptent la forme générale indiquée en G. Mais, grâce à ces colonnes engagées sur le cylindre et à la forme franche des tailloirs, l'ordonnance qui commence au-dessus de cette pile se lie à la partie inférieure. En effet, la colonne engagée C (côté de la nef) porte une autre colonne d'un diamètre un peu plus faible et deux colonnettes D qui monteront jusqu'aux voûtes hautes pour recevoir l'arc-doubleau F et les arcs ogives H. La colonne engagée K porte l'archivolte longitudinale, dont la largeur est K'K'', et au-dessus se découpe la pile LMN du triforium avec sa colonnette O, puis le jambage de la fenêtre supérieure UU'U'' enveloppée par le formeret de la voûte haute dont la colonnette est en I. La colonne engagée P porte l'arc-doubleau Q; au-dessus, la pile postérieure du triforium R se reliant au mur de clôture du passage intérieur SS'. Sur la pile se détache la colonne T'' adossée au contre-fort avec passage extérieur. Les arcs ogives des voûtes des collatéraux se rangent en V, leur trace sur le tailloir étant en V' 178. Le progrès sur l'exemple précédent est très-sensible. Tous ces membres ont leur place, ne se gênent plus réciproquement: aussi, à Notre-Dame de Reims, la stabilité est parfaite, l'effet clair, l'aspect rassurant. Les conséquences logiques du principe devaient cependant être poussées plus loin encore.
En 1231 furent commencés les travaux de reconstruction de la nef de l'église abbatiale de Saint-Denis. L'architecte chargé de cette reconstruction est resté inconnu, ainsi que la plupart des maîtres des oeuvres de cette époque. Mais l'édifice qu'il nous a laissé indique dans toutes ses parties une sûreté et une perfection rares dans l'art du trait.
Prenons, ainsi que nous venons de le faire pour les cathédrales de Paris et de Reims, une des piles de la nef, et voyons comment les divers étages de la construction viennent se poser sur cette pile. Les dernières traces de la colonne cylindrique centrale qui s'accorde si peu avec les divers membres des voûtes sont effacées; les arcs de ces voûtes commandent absolument la forme de la pile. Les archivoltes longitudinales se composent, suivant l'usage, de deux rangs de claveaux 179; les arcs-doubleaux des voûtes du collatéral qui reçoivent les dallages des terrasses sont composés d'un même nombre de claveaux; puis il faut la place des arcs ogives. Les voûtes hautes se composent d'un arc-doubleau, ne portant que les remplissages, et n'ayant qu'un seul rang de claveaux de 33 centimètres de largeur, de deux arcs ogives et de deux formerets qui sertissent les meneaux des fenêtres. La position nécessaire de ces membres de voûtes donne rigoureusement la forme et le nombre des membres de la pile. En effet (fig. 4), l'arc-doubleau des voûtes du collatéral comprend les deux membres a et b; l'archivolte longitudinale, les deux mêmes membres a' et b'; l'arc ogive le membre c. L'arc-doubleau des voûtes hautes se compose du membre d, et l'arc ogive des mêmes voûtes du membre e. La projection horizontale de la naissance de ces divers arcs est tracée sur notre figure avec leurs profils. L'arc ogive c du collatéral peut naître et prendre sa courbure avant la doublure b de l'arc-doubleau, de sorte que cet arc ogive repose sur l'assiette qui sert de point d'appui à cette doublure b; aussi voit-on les deux projections se confondre en c. La pile se compose donc d'une seule colonne engagée pour ces deux membres confondus. Les projections des arcs sont d'ailleurs exactement comprises dans les lignes fghiklmnop se coupant à angles droits et formant l'épannelage de la pile. Les colonnes engagées sont tracées en retraite de ces lignes, leurs centres sur les diagonales, de manière à donner la saillie des chapiteaux dont la tête, sous les tailloirs saillants, est cette projection fghik, etc. Pour les arcs des grandes voûtes est tracé le faisceau spécial de colonnes engagées qr; les tailloirs des chapiteaux de ces arcs sont tracés en stuv; les saillies des tailloirs des autres chapiteaux en f' h' k', etc. Du côté A de notre figure est tracée la pile avec ses bases. Au-dessus des archivoltes longitudinales, à la hauteur du triforium, se dégage la colonnette engagée B, qui porte le formeret à l'intérieur. En DEFGH est tracée la pile au niveau du triforium. Le passage est en P, le mur ajouré de clôture de ce triforium en I, et le contre-fort extérieur en KL. Au-dessus du triforium est tracée la fenêtre avec sa colonnette M qui porte extérieurement l'arc de sertissure, qui n'est autre que le formeret lui-même; aussi le centre de cette colonnette M est-il sur la même ligne que celui de la colonnette B. Au niveau des fenêtres est posée, sur le contre-fort KL, la colonne isolée N, qui reçoit la tête de l'arc-boutant et qui laisse un passage, au-dessus du triforium, entre elle et la pile OQ.
Il est facile de reconnaître que ce dernier tracé est préférable aux deux premiers. Cela est plus clair et plus logique. Les arcs des voûtes ont chacun leur support; les chapiteaux de ces supports sont nettement accusés par les épannelages de ces arcs compris entre des parties rectilignes. Les projections des bases et celles des chapiteaux sont les mêmes, sauf, pour ces bases, que les angles sont judicieusement abattus en W, afin de ne pas gêner la circulation.
Dans cette voie, les maîtres du moyen âge ne devaient s'arrêter qu'à la dernière limite. On ne se soumet pas impunément, dans notre pays, à la logique. Elle nous pousse, nous entraîne jusqu'aux confins du possible. Cinquante ans au plus après l'adoption de ces principes de tracés, les architectes en étaient arrivés à donner exactement à la section horizontale des piles la section des arcs; on peut se rendre compte de ce fait en examinant les figures 15, 16 et 17 de l'article PILIER. Ces méthodes les amenaient à ne plus concevoir une construction que par des tracés de projections horizontales superposées, et c'était naturellement les plans des parties supérieures (complément de l'oeuvre) qui commandaient les sections horizontales des parties inférieures. Du temps de Villard de Honnecourt, on s'en tenait encore aux tracés conçus dans l'esprit de ceux que nous venons de présenter. On trouve, parmi les croquis de cet architecte, des indications qui se rapportent exactement aux méthodes que suggère l'étude des monuments de cette époque 180.
Villard de Honnecourt donne quelques plans d'édifice voûtés, et l'on peut constater que le tracé de ces plans dérive essentiellement de la nécessité de structure des voûtes. Ce fait est évident pour qui voudra jeter les yeux sur les plans des cathédrales de Cambrai et de Meaux 181, sur le plan conçu et discuté entre lui Villard et Pierre de Corbie 182, sur celui du choeur de Notre-Dame de Vaucelles, de l'ordre de Cîteaux 183.

Ce dernier plan, dont nous donnons (fig. 5) le principe, est une des belles conceptions du commencement du XIIIe siècle 184. La méthode de tracé de l'abside est simple. Le quart de cercle AB a été divisé en sept parties. Chacun de ces rayons donne, ou la position des piles ab, cd, etc., ou les centres des voûtes efgh, etc. Les chapelles circulaires sont adroitement réunies au collatéral, en laissant une circulation facile. Les arcs des voûtes sont combinés de manière à donner des branches d'arcs d'un développement à peu près égal. Un plan général ainsi tracé, l'architecte avait la direction de chacun des arcs. Il arrêtait leur section, puis posant ces sections sur les naissances, suivant la direction indiquée, il en déduisait le tracé des piles.
Nous avons si souvent l'occasion, dans le cours du Dictionnaire, de donner des tracés d'ensemble et de détails d'édifices, qu'il ne paraît pas utile ici d'insister sur les procédés géométriques de ces tracés. Ce qu'il est important de faire ressortir, c'est le côté méthodique de ces procédés, soit qu'il s'agisse de la composition, soit qu'il s'agisse de la structure et de la valeur ou de la forme à donner aux divers membres.
Ceux qui nient l'utilité qu'on peut tirer de l'étude de notre architecture du moyen âge, parce qu'ils n'ont pas pris la peine, le plus souvent, d'en connaître l'esprit et les éléments, ou qui feignent de considérer nos recherches comme une tendance vers une renaissance purement matérielle des formes adoptées par les artistes de ces époques éloignées (bien que nous ayons toujours dit et écrit que ces études ne doivent être considérées que comme un moyen et non comme le type d'un art immuable), tantôt dédaignent cette architecture parce qu'elle ne serait, à les croire, qu'une structure, non un art; tantôt l'accusent de se laisser entraîner aux fantaisies les plus étranges, ou encore d'être subtile et hardie outre mesure; d'être le résultat de l'ignorance subitement réveillée, ou de la science, abstraction faite du choix de la forme; d'être pauvre d'invention, ou riche à l'excès dans ses détails, hiératique ou capricieuse..; de sorte que si l'on avait, par aventure, souci de réunir ces appréciations, la difficulté, avant de les combattre dans ce qu'elles ont d'excessif ou d'erroné, serait de les concilier. Cependant si l'on examine avec attention les méthodes employées par ces maîtres du moyen âge, on reconnaît tout d'abord qu'elles dérivent de principes définis, clairs, établis sur une observation profonde et judicieuse des conditions imposées à l'architecture en général, quel que soit le milieu ou le temps; que ces méthodes se développent suivant un procédé logique dans sa marche, sincèrement appliqué dans la pratique.
Aucune architecture ne saurait supporter mieux que la nôtre, pendant la belle période du moyen âge, cette superposition des plans d'une structure, superposition qui fait voir qu'aucun membre n'est superflu, que tous ont leur place marquée dès la base. Qu'on essaye d'en faire l'épreuve! et avec la dose de bonne foi la plus légère (encore en faut-il), on reconnaîtra bien vite que, ni l'architecture grecque, ni même l'architecture romaine, souvent si rationnelle, ne possèdent au même degré ces qualités logiques de structure.
Le système de tracé de notre architecture du moyen âge, du XIIe siècle à la fin du XVe, peut se résumer en ces quelques mots: «C'est la chose portée qui commande la forme de la chose qui porte»; et cela sans qu'on puisse trouver une seule exception à cette loi si simple et naturelle. De ce système à l'absence de tout système qui nous fait, entre autres exemples, élever des colonnes le long d'un mur pour ne rien porter du tout, et pour occuper les yeux des badauds, il y a loin, nous en conviendrons volontiers; mais considérer comme un progrès cet oubli des lois les plus naturelles de l'architecture, et prendre des airs dédaigneux devant les oeuvres d'artistes qui ont appliqué une raison rigoureuse à ce qu'ils faisaient, quand on a perdu l'habitude de raisonner, cela ferait sourire, si ce n'était pas si cher.
TRANSSEPT, s. m. (croisée). Mot dérivé du latin et que plusieurs écrivent transcept. Nous préférons adopter l'orthographe transsept, de trans et sepire, enclore au delà. En effet, dans les basiliques primitives et dans les anciennes églises conventuelles, la clôture du choeur est placée dans le transsept, l'abside étant réservée au sanctuaire.
La basilique romaine possédait parfois un transsept, c'est-à-dire un espace transversal entre le tribunal et les nefs. Dans la basilique du forum de Trajan (basilica Emilia), le tribunal occupait la largeur des cinq nefs; les basses nefs se retournaient devant l'hémicycle 185; donc, ou ces basses nefs formaient une sorte de transsept, ou entre elles et le tribunal il restait un intervalle nécessaire à la construction de la couverture. Plusieurs basiliques chrétiennes des premiers siècles possédaient un transsept. C'est sur cette donnée qu'est construite la basilique de la Nativité à Bethléem, qui date du VIe siècle. La basilique de Saint-Paul hors des murs (Rome), commencée en 386 et achevée complétement sous le règne d'Honorius, restaurée à plusieurs reprises, et notamment au XIIIe siècle, possédait un vaste transsept, appartenant à la disposition théodosienne. Ce transsept primitif formait comme une oeuvre à part qui, étudiée avec les textes relatifs à la première liturgie chrétienne, présente une disposition d'un grand intérêt, et que l'on retrouve dans les plans des basiliques de Saint-Pierre de Rome, de Saint-Jean de Latran, de Sainte-Marie Majeure et de Saint-Pierre ès liens (Rome) 186.

Le plan de la basilique de Saint-Paul hors des murs nous donne ce transsept de l'église chrétienne primitive bien marqué. La nef principale et les quatre nefs latérales (fig. 1) sont séparées de la croisée par un mur percé d'un arc triomphal et de quatre arcs secondaires. L'autel majeur, placé en A, avec sa clôture, sur la confession, séparait le choeur B, occupé par les principaux parmi le clergé, des fidèles placés dans la nef.
Les bras du transsept étaient remplis par les clercs et les personnes revêtues d'un caractère religieux. Il ne faut pas oublier que dans les premiers siècles du christianisme, l'autel était entouré de voiles qui n'étaient ouverts qu'à certains moments de l'office; le transsept était ainsi le lieu sacré, la cella dans laquelle ne pénétraient point les laïques. Dernière tradition du culte païen et aussi des usages des juifs, que nous retrouvons conservée dans la liturgie des Grecs.
Le transsept, peu étendu, quand il existe, dans la basilique romaine, prend, dans les grandes basiliques chrétiennes primitives, une importance considérable: c'est le transsept qui donne à l'édifice chrétien son caractère religieux, car les nefs ne sont qu'un lieu d'assemblée. Aussi ne cesse-t-il d'être pratiqué dans les églises monastiques. Le plan de l'église de l'abbaye de Saint-Gall (Suisse) indique un transsept en avant de l'autel majeur, transsept qui contient le choeur des religieux et les ambons. Les restes de l'église abbatiale de Saint-Denis, bâtie par Dagobert et retrouvés par nous sous le dallage de l'église de Suger, montraient l'amorce d'un transsept devant l'abside semi-circulaire. Nous voyons une sorte de transsept accusé en avant du sanctuaire de la petite église de Vignory (Haute-Marne), dont la construction remonte au Xe siècle 187. Dans l'église abbatiale de Saint-Savin, près de Poitiers, qui date du XIe siècle, un transsept très-accusé sépare la nef du sanctuaire 188.
Toutefois le transsept ne se manifeste pas de la même manière et en même temps dans les écoles diverses d'architecture religieuse de l'ancienne Gaule. S'il semble inhérent au plan de l'église des provinces méridionales, il n'apparaît que plus tard et d'une manière moins franche dans les provinces du Nord. Quant aux églises abbatiales, les plus anciennes, elles sont toujours pourvues de transsepts étendus. Cette disposition était commandée impérieusement par le service religieux des moines bénédictins, et elle fut suivie par les cisterciens dans les constructions qu'ils élevèrent au XIIe siècle. L'abbaye de Cluny possédait même deux vastes transsepts séparés seulement par deux travées de nefs 189.
Avant l'adoption absolue des voûtes dans la structure des églises, la disposition des transsepts présentait déjà aux architectes de sérieuses difficultés; car, s'il est facile de poser des fermes de comble sur les murs parallèles d'une nef, il est moins aisé de couvrir en charpente un espace carré en ne disposant que des angles comme points d'appui. Aussi, dans les basiliques les plus anciennes pourvues de transsepts, ou les murs de ces transsepts s'élèvent au-dessus de ceux de la nef haute, et la charpente repose alors sur des arcs-doubleaux qui franchissent la largeur de la nef; ou au contraire les murs de la croisée sont plus bas que ceux de la nef, et c'est la charpente de celle-ci qui repose sur des arcs franchissant la largeur du transsept. Quelquefois aussi quatre arcs-doubleaux sont bandés à l'intersection de la nef avec le transsept; sur ces arcs s'élève une sorte de tour carrée qui possède sa charpente spéciale avec deux pignons. Cette disposition est adoptée, par exemple, dans l'église conventuelle de Montreale, près de Palerme 190, et dans la cathédrale de Cefalù (Sicile), bâties toutes deux sous la domination normande, au XIIe siècle. Il y a tout lieu de croire que les églises construites en France, dans le Nord et particulièrement en Normandie, au XIe siècle, présentaient cette disposition. Des voûtes ayant remplacé, dans ces édifices, toutes les charpentes apparentes, pendant les XIIe et XIIIe siècles, on ne peut à cet égard que fournir des présomptions; mais la voûte centrale du transsept normand, formant lanterne, semble être une tradition de la charpente relevée que nous trouvons encore à Cefalù et à Montreale, près de Palerme.
Mais c'est (nous l'avons déjà dit) dans les églises monastiques des Gaules que nous voyons le transsept s'accuser franchement dès une époque ancienne. Le plan de l'église primitive de Saint-Rémi, à Reims. encore visible, malgré les modifications qu'il a subies, possède un transsept très-étendu et sur lequel, outre le sanctuaire, s'ouvraient cinq chapelles orientées. Ce transsept, ainsi que la nef, était primitivement couvert par une charpente avec quatre arcs-doubleaux à l'intersection des murs.

Nous en donnons le plan (fig. 2) 191 qui ne diffère de celui de la grande basilique de Saint-Paul hors des murs de Rome que par le bas côté du choeur et l'adjonction des chapelles. Ici encore les religieux occupaient ce vaste croisillon, et la nef était réservée aux fidèles.
À Saint-Rémi, le choeur des religieux était alors en A et l'autel en B; la châsse de Saint-Rémi en C. Les latéraux de l'église du Xe siècle étaient voûtés au moyen de berceaux portant sur des arcs-doubleaux et perpendiculaires aux axes de la nef et du transsept. Un triforium ou galerie couverte en charpente posée sur des arcs s'élevait au-dessus des collatéraux et sous les fenêtres hautes de la nef (voy. TRAVÉE, fig. 1).
Plus tard, le principe de la disposition primitive du transsept se perd, les fidèles envahissent les ailes; un collatéral pourtourne le sanctuaire, sauf dans les églises peu importantes; il se garnit de chapelles nombreuses; les religieux n'occupent plus, pendant les offices, que le centre de la croisée et les dernières travées de la nef centrale. Alors le milieu de l'abside devient un lieu sacré, réservé au dépôt des reliques, des trésors, et où les fidèles ne sont point admis. Cette abside gagne en profondeur; l'autel des religieux demeure sous son arc-doubleau d'entrée ou s'avance au milieu du transsept. Cette transformation eut lieu dans l'église abbatiale de Saint-Rémi même, à la fin du XIIe siècle. Le choeur des religieux fut porté en D; le rond-point, derrière l'autel, beaucoup plus profond, contenait encore la châsse du saint évêque, mais les fidèles tournaient autour de ce sanctuaire fermé par une clôture et avaient accès aux chapelles rayonnantes bâties sur une assez grande échelle.
Lorsque vers la fin du XIe siècle, on décida de remplacer les charpentes des hautes nefs par des voûtes, on commença par établir des berceaux: on n'osait entreprendre de construire des voûtes d'arête d'une grande portée 192; mais au centre de la croisée, force était, ou de faire une voûte d'arête, à la rencontre des berceaux, ou une coupole. C'est à ce dernier parti que l'on s'arrêta, tant on se défiait de la solidité des grandes voûtes d'arête à la manière romaine.
Les jolies églises d'Auvergne, bâties toutes à peu près sur le même patron, vers 1100 193, nous fournissent plusieurs exemples de plans avec transsept très-judicieusement conçus.

Le plan (fig. 3) de l'église d'Issoire sort des données primitives quant à la disposition du transsept. Sur les quatre piles de la croisée sont bandés quatre arcs-doubleaux qui portent, dans les angles, des trompillons arrivant à l'octogone; sur cet octogone s'élève une voûte en coupole, contre-butée latéralement en a et b par des demi-berceaux 194; au-dessus de la coupole se dresse un clocher. Le sanctuaire A est relevé de quelques marches au-dessus du pavé du transsept et du collatéral circulaire. Deux degrés descendent dans une crypte. Les fidèles avaient accès partout, hormis dans le sanctuaire, et, par le fait, les deux croisillons c, d, ne sont que les appendices des chapelles orientées e, f. Ce plan, si bien conçu, devait donner, en élévation, un motif d'une grande originalité et qui sortait des données admises jusqu'alors.

Voici (fig. 4) la vue perspective de l'abside de l'église d'Issoire avec son transsept. On voit que les deux extrémités du bras de croix, au droit des chapelles orientées, ne s'élèvent pas au-dessus de la nef et de l'abside; mais les deux parties a, b, du plan, qui reçoivent les demi-berceaux destinés à contre-buter la coupole, forment un premier gradin, d'un grand effet, qui conduit l'oeil au deuxième gradin enfermant la coupole et portant le clocher central. Malheureusement, ces parties supérieures ont été alourdies et défigurées à différentes époques, mais il est aisé de reconnaître, sur le monument même, et par l'examen des constructions, la disposition primitive sous les superfétations qui lui ôtent une partie de sa grâce. Des matériaux de diverses couleurs forment, en certaines places, des mosaïques qui donnent de la finesse et de l'élégance à cette structure adroitement étagée. Les plans auvergnats firent école et eurent des imitateurs jusque dans le Nivernais, au nord; jusque dans le Limousin et le Languedoc, au sud. Toutefois, dans ces dernières provinces méridionales, ces imitations ne paraissent s'être appliquées qu'à des églises abbatiales.
La plus importante de toutes est, sans contredit, la célèbre église de Saint-Bernin (Saint-Saturnin), de Toulouse, dont le choeur et le transsept datent du commencement du XIIe siècle.

La figure 5 donne en A la moitié du plan de son abside avec le transsept et l'amorce de la nef. Ici le transsept n'est plus réservé aux religieux, ceux-ci se tenaient dans le choeur placé en C, tandis que l'autel était établi en a sur la crypte renfermant le tombeau de Saint-Saturnin. En b était un autel de retro, réservé à certaines solennités. Aux deux extrémités nord et sud du transsept sont percées de larges portes p, p, dont nous montrons le complément extérieur en P; portes faites pour les fidèles ou plutôt les pèlerins qui affluaient en grand nombre, à certains jours, dans l'église de Saint-Sernin. La nef est pourvue de doubles collatéraux, et l'un des deux pourtourne complétement les bras du transsept et le sanctuaire. Un triforium voûté surmonte ces collatéraux. Cette disposition grandiose fut suivie vers la même époque, lors de la construction de l'église de Conques (Aveyron). Nous donnons en B, de même, la moitié du plan de son abside et de son transsept. Les religieux occupaient, dans l'église de Conques, la même place qu'à Saint-Sernin. À Conques, les fidèles n'avaient point accès dans l'église par les extrémités des bras de croix, mais seulement par les portes latérales m. Ces plans font assez ressortir l'importance que prenait le transsept dans les églises conventuelles. Réservé primitivement aux religieux, aux clercs, il est livré aux fidèles dès le XIIe siècle; à ce moment, il occupe même une surface plus étendue, afin de permettre aux pèlerins qui se rendaient dans ces églises abbatiales d'assister en grand nombre aux cérémonies du culte et de voir facilement les corps-saints sortis des cryptes à certaines époques de l'année et exposés au milieu de l'église 195. Ce programme tracé pour la construction des églises bénédictines et cisterciennes, vers le commencement du XIIe siècle, fut rigoureusement suivi pendant les siècles suivants. Au contraire, nous voyons les plans des cathédrales s'élever en France, suivant les provinces, sur des plans variés, et, dans ces édifices, le transsept, si franchement et universellement adopté pour les églises bénédictines et cisterciennes, ne se montre que çà et là ou à une époque relativement récente. Certaines églises méridionales et du centre, comme la cathédrale d'Angoulême, comme celles d'Angers, du Mans (ancienne), de Langres d'Autun, ont seules le privilége de posséder des transsepts accusés 196; mais ces monuments sont antérieurs au mouvement qui, dans le Nord, fit reconstruire toutes les églises épiscopales. Nous avons suffisamment expliqué ailleurs la nature et l'importance de ce mouvement politique pour qu'il ne soit pas nécessaire de revenir ici sur ce sujet. Il nous suffira de constater ce fait: que la majeure partie de ces cathédrales commencées pendant la seconde moitié du XIIe siècle, dans le domaine royal, ont été primitivement élevées sans transsept. Les cathédrales de Senlis, de Meaux, n'avaient point de transsepts; celle de Paris fut certainement projetée sans cet appendice 197; celle de Bourges n'en a point, et à Sens il est facile de reconnaître comment il fut établi longtemps après la construction de l'église cathédrale.
Des fouilles récemment faites dans cet édifice, sur notre demande, par M. Lance, architecte diocésain, et relevées avec le plus grand soin par M. Lefort, inspecteur des travaux, ont mis à découvert non-seulement les fondations, mais les assises basses des piles anciennes dans l'axe du transsept actuel.

La figure 6 donne le plan de la partie postérieure de la cathédrale de Sens. Ce plan, restitué d'après les fouilles, ne laisse voir qu'un embryon de transsept indiqué par les deux chapelles, C, C 198. La nef et les collatéraux sont divisés par travées égales sans interruption, les espacements entre les piles sont même d'une régularité parfaite. Alors (à la fin du XIIe siècle) la cathédrale de Sens se rattachait donc au plan qui semblait adopté pour les églises épiscopales du domaine royal, comme disposition générale, bien qu'elle conservât des points de rapports avec les monuments de Champagne, et notamment avec la cathédrale de Langres 199. La place de l'archevêque était en A et celle du maître autel en B. À la fin du XIIIe siècle, on commença la construction d'un pignon de bras de croix en ba. Ces travaux semblent avoir été longtemps suspendus, car ce n'est qu'au commencement du XVIe siècle que ce pignon fut achevé et que celui e f s'éleva au nord 200. Alors les travées g, h, de l'église ancienne furent abattues, ainsi que les piles i, k, et l'on refit de grandes voûtes pour couvrir ce transsept trouvé aux dépens de ces deux anciennes travées. Ce fut probablement à cette époque que le choeur du chapitre s'allongea jusqu'aux piliers p, p; car lorsque le transsept était à peine accusé par les deux chapelles orientées C, C, le clergé se tenait dans le rond-point; la nef, jusqu'au devant de l'autel, était laissée aux fidèles.
Ne perdons pas de vue que les grandes cathédrales élevées à cette époque, c'est-à-dire de 1150 à 1200, s'éloignaient, par leur programme, autant que faire se pouvait, de la donnée des églises monastiques. Dans les cathédrales de la fin du XIIe siècle, pas de clôtures, peu ou pas de chapelles, le choeur de plain-pied avec le collatéral, relevé seulement de deux ou trois marches au-dessus de la nef 201. L'évêque se réservait l'abside, tout le reste du monument était livré au public. Cette façon de démocratiser l'église, d'en faire la basilique de la cité, paraît surtout avoir été adoptée dans l'Île-de-France, et appartenir aux dernières années du XIIe siècle, car les cathédrales rebâties au commencement du XIIIe siècle, comme celles de Reims, de Laon, d'Amiens, de Chartres, ont été conçues avec des transsepts. Toutefois, jamais ces transsepts des cathédrales du Nord n'atteignent les dimensions relatives des transsepts d'églises conventuelles; ils sont d'ailleurs moins variés dans leurs dispositions, en considérant comme des exceptions les rares transsepts dont les extrémités sont terminées en rond-point. Citons ceux des cathédrales de Tournay, de Noyon, de Soissons, qui ne sont pas postérieurs à la moitié du XIIe siècle 202.
Évidemment, le programme des églises monastiques, en ce qui regardait le transsept, varia suivant les ordres, suivant les provinces et le temps; car, dans ces monuments, en France, nous découvrons des dispositions de transsepts très-différents, et c'est surtout dans les provinces de l'Ouest que les transsepts d'églises abbatiales prennent un développement relatif extraordinaire. Dans l'église abbatiale de Saint-Front de Périgueux (fin du Xe siècle), le transsept est égal, comme surface, à la nef et au choeur, c'est-à-dire que le plan présente une croix, dite grecque 203. Le transsept de l'église abbatiale de Saint-Hilaire de Poitiers, qui datait du XIe siècle, était très-vaste. Une nef centrale et six collatéraux y aboutissaient 204. Les rares églises bénédictines rebâties au XIIIe siècle occupent encore des transsepts développés, bien qu'alors les nouveaux ordres prédicants et mendiants élevassent des églises dépourvues de transsepts 205.
Il demeure acquis que les transsepts étaient considérés par les anciens ordres et par les cisterciens comme nécessaires au service du culte. Les églises antérieures aux ordres mendiants, les plus simples comme composition de plans, possèdent toutes des transsepts relativement étendus. Nous choisirons un spécimen parmi ces derniers monuments élevés avec parcimonie, l'église d'Obazine (Corrèze), dépendant de l'abbaye fondée par saint Étienne d'Obazine et reconstruite au XIIe siècle; d'autant que le plan de cet édifice présente une disposition assez rare en France (fig. 7).

Outre le sanctuaire, six chapelles orientées donnent sur le transsept, dont les croisillons débordent de beaucoup la nef. Le degré a communiquait au premier étage des bâtiments du cloître. Le tombeau de saint Étienne est placé en b.

Il est évident que ce transsept était réservé aux religieux et que la clôture était posée en cc. La figure 8 donne la coupe sur ef de ce transsept, couronné, sur la croisée, par un clocher. Ainsi, du bas choeur, les religieux pouvaient sonner les cloches; ils officiaient aux chapelles sans sortir de leur clôture, et la nef n'était que le lieu de réunion des fidèles, complétement indépendant des parties réservées au culte. Les églises cisterciennes présentent des dispositions analogues, permettant aux fidèles d'assister aux cérémonies sans pénétrer dans les clôtures.
Il ne paraît pas qu'au XIIIe siècle, du moins, les bénédictins aient tenu à conserver ces usages claustraux.
Le plan de l'église abbatiale de Saint-Denis nous en fournirait la preuve, soit que l'exemple des évêques qui avaient livré toute la surface des nouvelles cathédrales aux fidèles ait fini par modifier les règles monastiques, soit que les bénédictins, en présence de ces dispositions libérales de l'épiscopat, et peut-être aussi de l'affluence que les moines prêcheurs attiraient dans leurs vastes églises ouvertes à tous et dépourvues de clôtures, aient senti la nécessité de ne plus se séparer des fidèles, habitués à circuler librement dans les églises; toujours est-il que les religieux de Saint-Denis semblent avoir cherché (lorsque leur église fut en grande partie reconstruite vers le milieu du XIIIe siècle) à provoquer l'affluence du public dans leur basilique par de larges dispositions, bien éloignées des habitudes claustrales des siècles précédents.
Il fallait lutter contre la vogue qui entraînait les populations vers ces moines prêcheurs dont les églises n'étaient que de larges salles de conférences, et ce n'était pas certes en maintenant ces obstacles nombreux, qui, dans les églises clunisiennes mêmes, gênaient la vue et la circulation, que l'on pouvait espérer ramener la foule vers les reliques dont le prestige se perdait tous les jours. Aussi n'est-ce plus dans le fond des cryptes que les châsses sont conservées; elles sont placées dans les sanctuaires, entourées d'objets précieux. On les exhibe d'autant plus, que le peuple perd peu à peu la vénération qu'il leur portait. La pompe des cérémonies, les facilités données aux fidèles d'y assister, remplacent chez les bénédictins la discipline sévère maintenue jadis dans leurs églises; à défaut de la foi qui s'endort ou vacille, on excite du moins la curiosité.

Or, les plans successifs de l'église de Saint-Denis nous font, pour ainsi dire, toucher du doigt cette modification dans les habitudes religieuses des grandes abbayes. Ils méritent donc une étude attentive. Voici (fig. 9) ces plans présentés les uns sur les autres et tels que les fouilles et les traces de constructions encore existantes ont pu les faire reconnaître. On voit en a les restes des soubassements de l'abside et du transsept de l'église de Dagobert, bâtie avec des débris de monuments gallo-romains 206. Pendant la période carlovingienne, l'église fut très-allongée en b au delà de l'abside de Dagobert 207; puis viennent s'implanter les constructions de Suger 208, encore visibles au-dessus du sol en c. Alors les deux descentes aux cryptes plus anciennes furent ménagées en e 209; le sanctuaire se développa largement au-dessus des caveaux de l'église carlovingienne, et l'on dut y monter par des degrés établis en g, des deux côtés de l'autel, et en h.
Un caveau voûté qui existe encore entier en f montre clairement que le mur i donnait sur le dehors, puisqu'il possède une fenêtre relevée; les murs j du fond du collatéral du transsept existent encore, et l'on retrouve en K les fondations qui indiquent que les constructions de Suger ne s'étendaient pas au delà des pignons actuels.
La nef de l'église de Suger était plus étroite que celle de l'église actuelle, ainsi qu'il est aisé de le reconnaître à l'entrée occidentale et par des fouilles pratiquées en l. Donc le transsept de l'église abbatiale du XIIe siècle, muni d'un bas côté vers le sanctuaire, comprenait l'espace mnop. Ce bas côté AA était d'ailleurs nécessaire pour recevoir les emmarchements qui montaient au sanctuaire et ceux qui descendaient aux cryptes.
Ces constructions, en partie établies sur les restes assez mal bâtis de l'église de Dagobert, ou sur des fondations insuffisantes, ainsi qu'il est aisé de le reconnaître, menaçaient ruine très-probablement vers le milieu du XIIIe siècle. Que cette raison ait été déterminante, ou que l'édifice ne répondit plus parfaitement aux nécessités du moment, on se résolut à le rebâtir presque entièrement, et notamment toutes les parties du transsept, sous le règne de saint Louis (1230 à 1240).
Notre figure indique, en noir, toutes les constructions refaites alors. Un coup d'oeil sur ce plan fait comprendre l'importance nouvelle que l'on donne au transsept et aux collatéraux qui l'accompagnent. La nef fut sensiblement élargie et se raccorda avec le sanctuaire, dont les écartements de piles furent conservés, par des biais, qui paraissent fort étranges si l'on ne se rend compte de l'état des constructions antérieures que l'on prétendait conserver vers l'abside.
Les piles B du sanctuaire furent refaites à neuf, celles T du rond-point sur des socles du XIIe siècle. Celles B furent fondées à nouveau dans la crypte, en passant à travers les voûtes carlovingiennes. On se contenta de rebâtir sur la vieille fondation les piles qui portent sur l'angle de l'abside mérovingienne; mais au lieu des trois travées D, on n'en fit que deux, et les emmarchements montant au sanctuaire furent reportés en E. Des chapelles furent établies en F au niveau du sol du sanctuaire. Une des portes de l'ancien transsept de Suger fut remontée en G 210. Saint Louis voulut refaire à neuf les tombeaux de ses prédécesseurs. Ces tombeaux furent disposés en H, c'est-à-dire sur l'emplacement qu'ils avaient occupé dans les églises précédentes. Celui de Dagobert s'éleva en L, très-probablement sur le lieu où la tradition plaçait sa sépulture 211. Alors le choeur des religieux s'étendit dans la nef depuis le transsept jusqu'au point M, et le public put circuler dans les collatéraux et traverser les bras de croix. Des chapelles furent dédiées en N et en P. Beaucoup plus tard cette dernière fut occupée par le tombeau de François Ier. Au XIVe siècle, on éleva d'autres chapelles le long du collatéral nord en R. Les sépultures des abbés remplirent le croisillon S.
Ces plans superposés ont cela d'intéressant, qu'ils nous font reconnaître les modifications que le temps apporta dans les usages monastiques de l'une des plus puissantes abbayes de France. D'abord, comme dans l'église primitive, le transsept, très-étendu, relativement à la largeur de la nef, est fait pour contenir et enclore les religieux qui n'ont, avec les fidèles, aucune communication. Puis, sous les carlovingiens, tout en maintenant la disposition du transsept primitif, on y ajoute un sanctuaire profond, qui fait comme une seconde église propre à l'exhibition des reliques. Sous Suger, ce sanctuaire s'élargit, se garnit de chapelles nombreuses et le transsept s'ouvre davantage sur la nef. Enfin, au XIIe siècle, la clôture monastique, dans l'église, n'est plus absolue; le choeur des religieux est complétement entouré des fidèles, qui ont accès partout comme dans les cathédrales, excepté dans le sanctuaire occupé par les reliques, et dans le choeur entouré de stalles, clos par un jubé vers la nef, et par des grilles basses sur les deux croisillons. On observera que, dans cette église particulièrement vénérée, ce qui se modifie le moins, c'est le transsept; jusqu'aux derniers travaux entrepris, il demeure à la même place. L'autel reste encore au XIIIe siècle, en V, au-dessus du point consacré par la tradition 212. Ce transsept est mis en communication avec les bâtiments de l'abbaye, par une large porte. Il s'ouvre également du côté extérieur, donnant sur l'ancien cimetière, dit des Valois. D'amples emmarchements permettent aux fidèles de circuler dans le collatéral du sanctuaire et d'assister aux offices des chapelles.
Mais si le transsept a conservé sa position et presque ses dimensions primitives, il ne se trouve plus au XIIIe siècle dans les conditions où il se trouvait au VIe et même au XIIe. Autour de lui, l'église s'est développée, et cela au profit de l'assistance.
Cependant ces transformations ne se manifestaient que dans les églises des grandes abbayes, les petits établissements religieux conservaient à peu près les dispositions anciennes du transsept réservé aux moines. L'église de Saint-Jean aux Bois, près de Compiègne, est un exemple d'une de ces constructions monastiques élevées au XIIIe siècle sur de petites dimensions. Dépourvue de collatéraux, cette église se compose d'une large nef et d'un sanctuaire, séparés par un transsept dont les croisillons sont chacun divisés par une colonne sur le prolongement des murs latéraux 213. Cette jolie disposition, si convenable pour une petite église conventuelle, est présentée dans la vue perspective (fig. 10).

On aperçoit dans cette figure la trabes de l'entrée du sanctuaire 214. Les stalles des religieux étaient adossées aux croisillons, et ceux-ci, derrière ces stalles, laissaient des espaces libres pour les hôtes ou les personnages qui avaient accès dans le monastère. La nef était ainsi réservée aux gens du dehors. On ne pénétrait dans les croisillons que par de petites portes donnant dans l'enceinte du couvent.
Les églises paroissiales subissaient l'influence des abbayes ou cathédrales voisines. Dès une époque reculée, elles possédaient, la plupart, des transsepts, principalement dans les provinces du Nord, du Centre et de l'Est. Dans le Poitou, la Saintonge et l'Angoumois, au contraire, il n'est pas rare de trouver des églises paroissiales des XIIe et XIIIe siècles dépourvues de transsepts. Le centre de la croisée de ces églises paroissiales est habituellement surmonté de tours dans les provinces de l'Île-de-France, de la Normandie, de la Bourgogne et de l'Auvergne. Les croisillons sont, ou percés de portes, ou fermés, surtout quand ils s'ouvrent sur des chapelles orientées, afin que les entrants et sortant ne puissent gêner les fidèles. Nous avons un bel exemple de ces croisillons fermés, de transsepts paroissiaux, dans l'église si remarquable de Notre-Dame de Dijon (fig. 11).

Ici la galerie du triforium s'interrompt pour laisser la place de la rose, simplement garnie d'une armature de fer 215. Le passage sous cette rose est porté sur deux colonnettes et trois arcs bombés.
Un autre passage inférieur se trouve entre ces colonnes et le fenestrage du rez-de-chaussée. La chapelle du croisillon s'ouvre en face du collatéral de la nef qui ne pourtourne pas le sanctuaire, de telle sorte que chacun de ces croisillons laisse un espace libre et tranquille pour les fidèles assistant aux offices dits dans ces chapelles. C'est bien là une disposition convenable pour une église paroissiale de peu d'étendue. Le plan horizontal explique parfaitement l'heureuse composition du transsept de l'église paroissiale de Notre-Dame de Dijon.
Mais ce plan est, à un autre point de vue, intéressant à étudier. Quand on veut connaître une architecture, il ne suffit pas d'en apprécier le style, d'en analyser les formes et les moyens pratiques; il est nécessaire de découvrir les principes généraux qui ont servi à la constituer, à lui donner l'homogénéité résultant de l'emploi d'une méthode. C'est en prétendant étudier l'architecture des anciens, indépendamment de ces lois primordiales, que l'on est tombé dans les plus graves erreurs et que l'anarchie s'est emparée des esprits en raison même de l'étendue de ces études. On nous dit parfois, il est vrai, que ce que nous appelons anarchie, absence de méthode, n'est autre chose qu'une inspiration pleine de promesses, et que l'art de l'avenir sortira tout armé, quelque jour, de ce chaos de styles et de formes adoptés sans critique et sans examen. Cette espérance n'est, suivant notre sentiment, qu'illusion; car les travaux de l'esprit n'atteignent un développement qu'autant qu'ils reposent sur un principe ayant toute la rigueur d'une formule. Quand cette base est bien établie, que l'artiste se livre à l'inspiration:
«S'il a reçu du ciel l'influence secrète.»
C'est pour le mieux; mais il lui faut s'appuyer sur un terrain solide, pour pouvoir s'élever.
Quand il s'agissait de couper les nefs d'une basilique par ce transsept et de couvrir le tout avec des charpentes, ou bien quand des rangs de piliers étaient destinés à porter des berceaux de voûtes, le tracé d'un transsept ne présentait point de sérieuses difficultés: il en était autrement lorsque le système français d'architecture à voûtes en arcs d'ogive fut définitivement adopté au commencement du XIIIe siècle; alors ces tracés demandaient une attention particulière. Il fallait songer aux poussées qui allaient agir en tous sens; dégager ces espaces qui demandaient des points d'appui d'autant plus solides, qu'ils étaient plus larges; combiner l'arrivée des bas côtés dans cette grande nef transversale de manière que leur ordonnance s'accordât avec les croisillons; penser aux retours des galeries supérieures, à un éclairage qui fût en rapport avec l'étendue du vaisseau; proportionner la dimension du choeur à celle du transsept; ordonner, soit les chapelles orientées des croisillons, soit la reprise du collatéral autour du choeur, etc.
Quand, pour remplir ces conditions si diverses, on n'a pour toute méthode que sa propre inspiration, ou le vague souvenir de ce qui a été fait en ce genre avant nous, qu'il faut saisir le crayon et le compas, convenons franchement qu'on ne sait guère par quel bout s'y prendre, et que l'on ne peut arriver à un résultat à peu près satisfaisant qu'après de longs tâtonnements; encore n'a-t-on pas l'esprit bien tranquille, et peut-on craindre que cette inspiration derrière laquelle s'abritent tant de vagues esprits n'ait failli sur quelque point.
Or, si nous prenons des plans d'églises de cette époque, nous reconnaissons que les méthodes de tracés adoptés généralement alors, non sans raison, sont suivies avec plus d'attention encore lorsqu'il s'agit de planter les transsepts.
Nous choisirons donc pour exemple d'une méthode de tracé le plan du transsept de Notre-Dame de Dijon (fig. 12).

Soit en E une échelle de six toises. Toute la partie de l'église, depuis le transsept jusqu'à l'abside, est comprise dans un triangle équilatéral dont la moitié est abc. Les côtés de ce triangle équilatéral ont chacun quatorze toises; donc, la moitié ab a sept toises. Suivant la nécessité imposée par le système d'architecture voûtée, c'est le tracé des voûtes qui détermine le tracé des piles. L'épaisseur du mur b' du transsept étant fixée à trois pieds, la ligne ab, déduction faite de cette épaisseur de mur, a été divisée en trois parties égales: la première ligne de division donnant l'axe p des piles de la nef, et la seconde l'axe des piles de recoupement de la voûte du bras de croix. Le tracé des piles a été arrêté ainsi qu'on le voit en A pour les grosses piles, et en B pour celles de la nef. Bien entendu (voyez TRAIT), ces tracés de piles résultent de la forme et de la dimension des arcs des voûtes, dimensions et formes fixées tout d'abord en raison de la portée de ces arcs. La pile, dont un quart est tracé en A, étant connue, il ne s'agit plus que de faire courir la ligne d'axe de cette pile sur la ligne d'axe p de division, suivant le cas, ainsi que nous allons le voir.
L'épaisseur du mur e de l'abside étant fixée à trois pieds, on a prétendu d'abord obtenir les ouvertures gh, hi, ij, jk, des formerets de la voûte absidale, égales. Pour ce faire, la moitié lj du décagone a été tracée de manière que les rayons i'o soient égaux à la moitié op de la nef, déduction faite de l'épaisseur rs (voyez le détail A), la colonnette r' étant destinée à l'arcature basse et au formeret de la voûte haute. Alors de j en k, on a porté un côté égal à ij. Ce point k connu, le patron de la pile A a été présenté, le point k étant le centre de la colonnette r', toujours l'axe s sur l'axe p. On a eu ainsi l'axe de l'arc-doubleau q. Sur la base ab, à sa rencontre avec l'axe p, le patron de la pile A a été présenté. Restait à déterminer la position de l'axe t. Or, la distance de cet axe à la base ab est égale à la distance de cette base à l'axe V d'un arc-doubleau de travée de la nef, travée qui est plus longue que large de quelques pouces; c'est-à-dire que tu égale uV. Le reste de la plantation s'ensuit naturellement. La distance tq est plus courte que celle tu, ce qui était la conséquence du mode de tracé et ce qui donne d'ailleurs une meilleure proportion que si ces distances eussent été égales, car alors le choeur eût paru trop profond pour le transsept.
Un autre monument de la même époque (1230 à 1240) et de la même province, présente une disposition de transsept fort remarquable, c'est l'église de Notre-Dame de Semur (Côte-d'Or). Mais à Semur le bas côté pourtournant le choeur, l'architecte a établi des chapelles latérales parallèlement aux parties droites de ce bas côté, de manière à laisser (la nef étant très-étroite) la place nécessaire aux fidèles les jours de fêtes 216. Il est rare de rencontrer dans nos églises paroissiales ou collégiales de l'Île-de-France, de la Champagne, de la Picardie et de la Normandie des partis aussi larges et bien appropriés au service. Dans ces dernières provinces, les transsepts des églises paroissiales du XIIe siècle et du commencement du XIIIe sont peu étendus, encombrés par des piliers épais, eu égard aux vides, et ce n'est qu'en 1250 que ces édifices religieux du second ordre prennent de l'ampleur.
Par compensation, les dispositions des transsepts de nos cathédrales du Nord qui en sont pourvues, comme Laon, Reims, Amiens, Chartres, sont tracées avec une largeur et une entente des grandes réunions publiques qui ne laissent rien à souhaiter (voyez à l'article CATHÉDRALE les plans de ces édifices). Largement éclairés par les roses qui s'ouvrent dans les pignons des croisillons et par des galeries ajourées, donnant entrée, du côté du choeur, dans de doubles collatéraux, percés le plus souvent de portes sur les voies publiques, ces transsepts de nos grandes cathédrales sont la plus belle disposition qui ait jamais été adoptée pour réunir sur un point une grande affluence de monde. Aussi les XIVe et XVe siècles n'apportèrent-ils aucun changement à ces dispositions.
Les doubles transsepts, avec doubles absides, l'une à l'orient, l'autre à l'occident, adoptés assez fréquemment par l'école rhénane pendant la période romane et jusqu'au XIIe siècle, ne se trouvent en France que dans les provinces de l'Est. Les cathédrales de Verdun et de Besançon possédaient de doubles transsepts, avec tours dans les angles rentrants des absides, celles-ci n'étant point entourées de bas côtés (voyez ARCHITECTURE RELIGIEUSE, fig. 39; voyez aussi le plan de l'abbaye de Saint-Gall, ARCHITECTURE MONASTIQUE, fig. 1).
En France, beaucoup de nos églises abbatiales et cathédrales du Nord avaient des tours élevées sur les ailes des transsepts. Cette disposition existe à Notre-Dame de Reims, à Chartres, à Laon, aux églises abbatiales de Saint-Denis, de Cluny, de Vézelay, etc. Quelquefois de vastes porches s'ouvrent sur les extrémités des bras de croix, mais ce parti, si franchement adopté à la cathédrale de Chartres, est postérieur de quelques années à la construction du transsept. Après les désastreuses guerres contre les Albigeois, la plupart des églises que l'on rebâtit dans le Languedoc furent élevées sans transsepts. Telle est la cathédrale d'Alby. Les églises de la ville nouvelle de Carcassonne, celles de Montpezal, de Moissac (Tarn-et-Garonne), etc., ne se composent que d'une nef avec chapelles. C'est qu'en effet la construction d'un transsept nécessite des dépenses considérables, et que si l'on prétend élever une église à l'aide de faibles ressources, il faut éviter ces appendices.
Il est rare de trouver dans les églises postérieures à 1250 des dispositions nouvelles dans la construction des transsepts. Cependant une église champenoise, Saint-Urbain de Troyes, fait exception. Son transsept, très-ingénieusement conçu, satisfait entièrement au programme de l'église paroissiale 217. Deux porches abritent, à l'extrémité de chacun des croisillons, des portes doubles, et à l'intérieur les voûtes de ces croisillons sont tracées sur une donnée nouvelle.

La vue intérieure (fig. 13) de l'un de ces croisillons explique la disposition originale de ce transsept. Divisé par un trumeau éclairé dans le pignon par deux fenêtres percées au-dessus du porche extérieur et par deux autres fenêtres ouvertes dans les murs latéraux au-dessus du bas côté de la nef et de la chapelle qui flanque le choeur, chacun de ces croisillons est, dans sa partie supérieure, une véritable lanterne. L'aspect du transsept de Saint-Urbain est saisissant. L'architecte a su éviter la pauvreté de ces revers de pignons éclairés ordinairement par des roses au-dessus de murs pleins percés seulement de portes à rez-de-chaussée. Ce parti nous paraît préférable à celui qui fut adopté dans quelques édifices, tels que les cathédrales de Metz et de Soissons 218, l'église de Moret, etc., et qui consiste à remplacer les roses par d'immenses verrières s'ouvrant sous les formerets des pignons et descendant jusqu'aux archivoltes des portes 219, ou à considérer les roses elles-mêmes, avec la galerie à jour qui les supporte, comme de véritables fenêtres comprenant la largeur totale du croisillon. Mais il faut ajouter que l'église de Saint-Urbain de Troyes est un chef-d'oeuvre, que l'on considère la conception générale ou l'entente des détails.
Très-rarement les transsepts des églises du moyen âge possèdent-ils des tribunes à l'intérieur des pignons des croisillons; et quand ils existent, comme à la cathédrale de Laon et dans l'église d'Eu, par exemple, ces ouvrages datent d'une époque postérieure à celle de la construction primitive de l'édifice.
On doit aussi considérer comme une exception les porches de transsepts surmontés d'une tour. Le croisillon sud de la cathédrale du Mans nous en fournit un exemple datant de la fin du XIIIe siècle.
Note 186: (retour) Nous engageons nos lecteurs à consulter, à ce sujet, l'excellent ouvrage de M. Henri Hubsch: Monuments de l'architecture chrétienne, traduit par M. l'abbé Guerber (1866, Morel éditeur). Ce recueil d'églises des premiers siècles, fait avec un soin rare, montre comme nos voisins d'outre-Rhin sondent scrupuleusement le champ des études archéologiques.
TRAVAISON, s. m. Vieux mot correspondant à ce que l'on entend aujourd'hui par entablement, mais ne s'appliquant qu'aux ouvrages de bois.
TRAVÉE, s. f. Mot employé pour désigner toute ordonnance entre les points d'appuis principaux ou pièces maîtresses d'une construction: ainsi, on dit travée de plancher, pour indiquer le solivage compris entre deux poutres. Travée de pont, est la portion du tablier de bois comprise entre deux files de pieux ou entre deux piles. Travée de salle ou d'église, est l'ordonnance comprise entre deux piles maîtresses, entre deux arcs-doubleaux. Une travée de comble est l'espace entre deux fermes de charpente.
Du moment qu'une salle est divisée par des points d'appuis espacés, dans sa longueur, pour porter soit une voûte, soit des fermes ou des poutres, cette salle se compose d'autant de travées qu'elle contient de divisions.
Dans la structure du moyen âge, en France, l'histoire de la travée est intéressante, parce qu'elle détermine les essais successifs par lesquels, de la basilique romaine couverte en charpente, on arrive à la nef voûtée en arcs d'ogive.
Personne n'ignore que la basilique romaine se composait habituellement d'une nef principale, dont les murs portés sur des rangées de colonnes étaient flanqués latéralement de collatéraux simples ou doubles. Les collatéraux étaient parfois surmontés de galeries ou tribunes au-dessus desquelles s'ouvraient les jours qui éclairaient la charpente lambrissée. Cette disposition fut suivie dans la construction des premières églises et des grandes salles d'assemblée élevées dans les Gaules. Chaque entre-colonnement de la basilique constituait une travée.
Le plan de la basilique romaine fut suivi, dans le nord des Gaules, jusque vers le milieu du XIe siècle; mais déjà, antérieurement à cette époque, le mode de structure avait subi des modifications par suite des rapports fréquents des peuples occidentaux avec l'Orient. Le plus ancien monument de ce temps que nous possédions sur des dimensions considérables, dans la France septentrionale, est certainement la nef de l'église abbatiale de Saint-Rémi de Reims. Cette nef était--ainsi qu'il est facile encore de le reconnaître--primitivement couverte par une charpente apparente, tandis que les collatéraux, voûtés à rez-de-chaussée, étaient surmontés d'une galerie couverte par des charpentes avec arcs-doubleaux.

La figure 1 donne une travée de la nef de l'église abbatiale de Saint-Rémi 220. Le grand mur A repose sur une file de piles composées de colonnes en faisceaux, à rez-de-chaussée, et sur des piliers à section quadrangulaire au niveau de la galerie du premier étage. Des colonnes avec arcatures divisent les ouvertures donnant sur cette galerie. Au-dessus des combles des collatéraux s'ouvrent les deux rangs de fenêtres B et C. Les voûtes des bas côtés, à rez-de-chaussée, se composent d'arcs-doubleaux D et F, portant des berceaux perpendiculaires à la nef et concentriques aux archivoltes E. Les pilettes G, qui formaient comme un second collatéral étroit, avaient pour objet de diminuer l'effet de poussée qu'aurait exercé l'arc-doubleau unique sur le mur de clôture H. Au premier étage, l'arc-doubleau I, ne portant qu'un solivage de bois, ne pouvait exercer sur le mur H une poussée que ce mur renforcé de contre-forts cylindriques ne put maintenir. Le grand mur A se trouvait étrésillonné par ces berceaux du rez-de-chaussée et par les arcs-doubleaux de la galerie. Il n'était décoré, suivant l'usage du temps, que par des peintures 221.
Cet exemple d'une nef construite au commencement du XIe siècle indique un premier effort pour sortir des données de la basilique romaine antique. Ce sont des faisceaux de colonnettes qui remplacent les colonnes monostyles, et des voûtes portent déjà le sol de la galerie supérieure. Cependant ces grands murs n'étaient reliés dans leur développement qu'à leur sommet, par les entraits des charpentes; ils n'étaient pas construits avec les excellents matériaux et mortiers qu'employaient les Romains; ils bouclaient souvent ou se déversaient d'un côté ou de l'autre. Leur aspect ne laissait pas d'être froid, et les peintures dont on les décorait, vues obliquement, poudrées par le temps, perdaient bientôt leur éclat. Les charpentes, à cette hauteur, ne pouvaient être que difficilement réparées, et si le feu y prenait, l'édifice entier était perdu. On songea donc à diviser franchement les nefs par travées apparentes, accusées par de grands arcs-doubleaux. Un autre édifice du milieu du XIe siècle nous fournit un exemple de ce nouveau parti. C'est l'église de Notre-Dame du Pré, au Mans. Dans la nef de cet édifice, chaque travée comprend deux arcades (fig. 2).

Une grosse pile à section quadrangulaire, flanquée de colonnes engagées, alterne avec une pile cylindrique. Au droit de chacune des grosses piles A est bandé un arc-doubleau B. Une ferme de charpente est posée au droit de la pile cylindrique C. Les collatéraux D sont fermés par des voûtes d'arête avec arcs-doubleaux reposant sur les colonnes engagées des grosses piles et sur les chapiteaux des piles cylindriques. Les chevrons de la charpente, posés longitudinalement, comme un solivage, portaient sur les pignons des grands arcs-doubleaux B et sur la ferme intermédiaire. Ce solivage plus ou moins décoré, avec entrevous en madriers, formait lambris sous la couverture. En F est figuré l'un des pignons des grands arcs-doubleaux avec le lambris 222. Il y a tout lieu d'admettre que la nef de la cathédrale du Mans était originairement construite suivant ce principe. À Notre-Dame du Pré, des voûtes ont été refaites au XIVe siècle sous l'ancienne charpente, en supprimant partie des arcs-doubleaux primitifs, dont on retrouve facilement la trace. Prenant ainsi deux arcades de la nef pour faire une travée, il en résultait un plan carré ou approchant, c'est-à-dire que l'espace AA était égal, ou à peu près, à la largeur de la nef principale; de sorte que si l'on voulait définitivement voûter cette nef, il était tout simple d'adopter tout d'abord une voûte sur plan carré, avec arc-doubleau intermédiaire; c'est-à-dire une voûte donnant en projection horizontale le plan tracé en P (fig. 2). Alors les arcs-doubleaux ab, cd, n'étaient que la reproduction des arcs-doubleaux des grosses piles, et l'arc-doubleau intermédiaire ef remplaçait la ferme de charpente; les arcs ogives ad, cb, portaient les remplissages de voûtes bandés à la place qu'occupaient les lambris. Mais avant de passer outre à l'examen des développements de ce principe, il est nécessaire de mentionner un système de travées issu d'un autre mode de structure.
Les Romains n'avaient pas seulement adopté, pour la construction de grandes salles, le système de files de colonnes portant des murs au-dessus des plates-bandes déchargées par des arcs noyés dans ces murs; ils avaient élevé, sur des piles isolées et largement espacées, de grandes archivoltes portant les murs longitudinaux. Des berceaux, concentriques à ces archivoltes, fermaient les collatéraux, et des charpentes ou des voûtes (comme à la basilique de Constantin à Rome) couvraient la nef principale. Le Bas-Empire avait construit des édifices en grand nombre d'après ce système, en conservant parfois les charpentes sur la nef centrale, ainsi que le constatent certaines basiliques de la Syrie septentrionale. De ce système était dérivé, dès les premiers siècles du christianisme, un mode mixte qui consistait à diviser les grandes travées carrées, portant des voûtes d'arête sur la nef principale, en deux arcades, de manière à pouvoir trouver des voûtes d'arête également carrées sur les bas côtés, dont la largeur était ainsi égale ou à peu près à la moitié de celle de la nef principale. C'est sur ce plan que fut conçue, à Milan, la célèbre église de Saint-Ambroise, dès la fin du IXe siècle; du moins le fait paraît-il probable 223. Or, ce type fut adopté dans la construction d'un grand nombre d'églises carlovingiennes, notamment sur les bords du Rhin, et se perpétua jusqu'au XIIIe siècle.
Comme dans l'exemple que nous venons de donner (fig. 2), chaque travée de l'église carlovingienne du Rhin se composait de deux grosses piles et d'une pile intermédiaire d'une section plus faible; mais cette pile intermédiaire ne portait plus que l'arc-doubleau des voûtes du collatéral et elle ne remplissait aucune fonction du côté de la nef principale.

La travée que nous présentons ici (fig. 3), de la nef de la cathédrale de Worms, nef qui date de la moitié du XIIe siècle, explique suffisamment ce système. Une grande voûte d'arête carrée A, à nervures, couvre chaque travée de la nef, sans arcs-doubleaux intermédiaires; et la pile B n'est placée là que pour obtenir, sur le collatéral C, deux voûtes d'arête romaines. La question était d'avoir des surfaces carrées, ou approchant, pour fermer les voûtes, qui dérivaient toujours de la tradition romaine; or, les collatéraux ayant, en largeur, la moitié environ de la largeur de la nef, il fallait, pour avoir des espaces carrés sur ces collatéraux comme sur la nef, doubler les piles. Le tracé T nous dispense de plus longues explications à ce propos. La nécessité de voûter les grands édifices, les basiliques, les églises, était reconnue partout en Occident, aussi bien dans l'Italie du nord qu'en France et sur les bords du Rhin; seulement les diverses écoles d'art de ces contrées ne résolvaient pas le problème de la même façon. Pour ne considérer les choses que d'une manière générale, l'école que nous appellerons carlovingienne, et qui s'inspirait principalement de l'architecture romaine des bas temps, n'avait en vue que la voûte romaine, berceau, voûte d'arête ou coupole; cette école n'abandonna cette tradition que quand elle adopta le système de structure importé de France vers le milieu du XIIIe siècle. L'école proprement française abandonna au contraire de bonne heure le système des voûtes romaines, chercha autre chose, et le trouva: tout est là. Que l'on découvre en Lombardie ou ailleurs des piles cantonnées de colonnes et des archivoltes dans des nefs, quelques détails de décoration analogues et antérieurs à notre architecture romane française, et qu'on en conclue que nous avons pris chez les autres cette architecture romane, nous ne voyons pas trop l'intérêt qui s'attache à cette priorité. Chacun puisait au fonds commun latin pour les arts comme pour les langues d'Occident, du VIIIe au XIe siècle; mais qu'on nous montre ailleurs qu'en France, et qu'au nord de la Loire, avant 1130, un système de voûtes tel que celui admis dans les constructions de Vézelay dès le commencement du XIIe siècle, et à Saint-Denis en 1140, alors nous serons les premiers à reconnaître ce qu'on voudrait si bien nous prouver en France, savoir: que nous n'avons jamais possédé une architecture propre, pas plus au XIIe siècle qu'au XIXe siècle. Jusqu'à ce que cette preuve soit faite, nous continuerons à répéter: Il n'y a d'architecture originale que celle qui s'appuie sur un nouveau principe, sur un principe non encore admis. Le système de voûtes inauguré en France, au nord de la Loire de 1130 à 1150, ne se trouve nulle part avant cette époque; ce système n'est pas seulement une forme, nouvelle alors, ou un procédé; c'est tout un principe qui s'étend aux diverses parties constituant un édifice et qui oblige de coordonner ces parties suivant certaines lois déduites conformément à la logique: or, l'architecture inaugurée en France de 1130 à 1150 était véritablement neuve alors, sans précédents, indépendante des formes acceptées jusqu'alors; donc cette architecture peut, au meilleur titre, être appelée française 224. Laissons pour le moment le système de travées des nefs rhénanes, et reprenons l'étude des édifices qui appartiennent à nos écoles. Nous venons de voir (fig. 2) une travée composée de deux grosses piles portant des arcs-doubleaux sur la nef principale, avec pile intermédiaire plus faible, divisant le collatéral pour le pouvoir fermer par des voûtes carrées, et portant une ferme de charpente sur cette nef principale pour diminuer la portée des lambris de bois. Voici maintenant un autre système moins ancien que celui de la figure 2, et appartenant à une autre province, où les piles sont égales et, divisant le collatéral en voûtes sur plan carré, donnent, sur la nef centrale, des plans barlongs que l'on a prétendu voûter, suivant une donnée déjà complétement étrangère au système romain.

Il s'agit de la nef de l'église abbatiale de Vézelay (fig. 4); premières années du XIIe siècle. Cette nef, dont nous donnons une travée en A, possède des arcs-doubleaux sur les collatéraux comme sur la partie haute, au droit de chacune des piles dont la section est tracée en B. Ces arcs sont plein cintre, ainsi que les formerets, et bien que la naissance de ceux-ci soit relevée, cependant leur clef n'atteint pas le niveau de la clef des arcs-doubleaux. Il en résulte que pour bander la voûte haute, dans chaque travée, et ne pas faire des pénétrations, mais un semblant de voûte d'arête, il a fallu tâtonner et chercher des formes d'ellipsoïdes qui ne sauraient être tracées géométriquement. C'était une première tentative vers une forme de voûtes non encore admise. Trente ans plus tard, vers 1132, on élevait le porche de la même église (voyez en P); les travées de ce narthex, un peu plus larges que celles de la nef, portent sur des piles dont la section est semblable à celles B. De même que dans la nef, des arcs-doubleaux sont bandés au droit de chacune des piles, soit sur la partie centrale, soit sur les collatéraux, mais ces arcs-doubleaux sont en tiers-point 225. Les formerets ont leur naissance au même niveau que celle des arcs-doubleaux. Il en résulte que, la travée étant barlongue, les clefs de ces formerets sont beaucoup au-dessous des clefs de ces arcs-doubleaux. La voûte fermée sur cet espace est annulaire, d'un arc-doubleau à l'autre, pénétrée par des ellipsoïdes dont les formerets sont une section. Cela pouvait être défini géométriquement, et ce système présentait une parfaite solidité. D'ailleurs des voûtes d'arête rampantes, bandées sur la galerie du premier étage 226, contre-butent parfaitement la voûte centrale. Deux des voûtes de ce porche, de la même époque que les autres, possèdent même déjà des arcs ogives. Le constructeur, en fermant ces voûtes d'après la méthode que nous venons d'indiquer (fig. 4, P), sentait bien que, tout en se rapprochant d'un corps ellipsoïde, elles possédaient cependant des arêtes saillantes (ces voûtes étant bâties de moellons irréguliers) maintenues seulement par l'adhérence des mortiers; que, par conséquent, il y avait à bander sous ces arêtes un cintre permanent de pierre, remplaçant le cintre provisoire de charpente destiné à les maçonner. C'était donc un acheminement vers la voûte en arcs d'ogive. Mais revenant à notre figure 2, on allait, dans d'autres provinces, déduire de ce système mixte d'arcs et de lambris un mode complet de voûtes, sur un principe absolument neuf, mode qui devait se fondre bientôt avec celui qu'inaugurait le porche de l'église abbatiale de Vézelay. C'est en 1150 que l'évêque Baudouin Il, comme on sait, entreprit la reconstruction de la cathédrale de Noyon, qui fut achevée bien avant la fin du XIIe siècle. En 1293, un violent incendie réduisit en cendres la ville et, dit la chronique, la cathédrale de Noyon. Il est clair que les charpentes seules furent brûlées et que les voûtes furent peut-être altérées. Aussi les voûtes de la nef, ainsi que l'indiquent les profils des arcs et leur genre de construction, appartiennent-elles à cette dernière époque. À l'origine, c'est-à-dire au XIIe siècle, ces voûtes, comme beaucoup d'autres datant de cette époque, avaient leurs arcs ogives bandés de deux en deux piles avec un arc-doubleau simple intermédiaire (fig. 5).

La pile intermédiaire qui, dans la figure 2, porte seulement la ferme de charpente divisant en deux l'espace entre les arcs-doubleaux, portait alors l'arc-doubleau intermédiaire destiné à remplacer la ferme de charpente. Les arcs ogives (fig. 5) étaient bandés d'une grosse pile à l'autre. La travée était encore constituée comme celle de la figure 2. C'est-à-dire que la pile intermédiaire A, destinée à porter un simple arc-doubleau des grandes voûtes, était plus grêle que les piles B portant les arcs-doubleaux principaux et les arcs ogives. Cela était conforme à la logique. Alors les arcs reposant sur les piles B étaient seuls contre-butés par des arcs-boutants. La coupe C de la nef et du collatéral complète l'intelligence de ce système de constructions. La plupart des premières voûtes bandées d'après le principe admis au XIIe siècle, dans l'Île-de-France, sont ainsi tracées. La travée des nefs centrales est égale, ou à très-peu près, à la largeur même de ces nefs, mais elle se divise en deux, au moyen d'une pile intermédiaire qui sert à porter les arcs des voûtes du collatéral et à recouper les arcs ogives des hautes voûtes.
Mais ce système, justifié dans une construction assez vaste, n'était guère admissible pour de petits édifices. Les piles intermédiaires, dans ces derniers monuments, eussent été trop grêles, inutiles et encombrantes.

Les architectes les suppriment, ils ne conservent que les piles principales A (fig. 6), mais ils ne construisent pas moins les voûtes conformément au principe que nous venons d'indiquer. Cette dernière travée qui appartient à la nef de la petite église de Nesle, près de l'Île-Adam, montre comme le constructeur a seulement élevé la pile destinée à porter l'arc-doubleau intermédiaire I sur la clef de l'archivolte du collatéral 227, parce qu'il eût été inutile, en effet, de faire porter cette pile intermédiaire sur le sol. En B est tracée la coupe de la travée, et en D le détail des bases des colonnettes sur les chapiteaux des piles monocylindriques. Ces deux exemples appartenant à deux édifices de dimensions très-différentes, mais construits à peu près à la même époque, font ressortir une des qualités principales de cette belle architecture française de la fin du XIIe siècle, l'unité d'échelle 228. Les écartements des piles, les hauteurs de galeries de circulation G, les largeurs des baies, les membres des moulures, sont à peu près les mêmes dans les deux monuments. Nous pourrions saisir ces analogies dans les cathédrales de Paris, de Senlis, de Soissons, de Laon, dans les églises de Saint-Leu d'Esserent, de Braisne, etc 229. Examinons maintenant une travée de nef de l'un des plus grands monuments du commencement du XIIIe siècle, la cathédrale de Bourges 230. Ce vaisseau comprend une nef centrale et des doubles collatéraux dont les voûtes sont à des niveaux différents.

Ainsi (fig. 7), les voûtes du premier collatéral sont bandées au niveau A, et celles du second collatéral au niveau B, d'où il résulte que la nef centrale est éclairée par les fenêtres C, percées au-dessus du comble qui couvre les voûtes du second collatéral. Dans la hauteur de ce comble règne une galerie de circulation D, de même qu'il en existe une seconde en E, au-dessus des voûtes du premier collatéral. Les fenêtres F éclairent la voûte haute. Ces voûtes sont construites d'après le système précédemment décrit; et l'on observera que les piles G, qui portent seulement les arcs-doubleaux d'intersection, sont d'un plus faible diamètre que celles H, qui portent les arcs-doubleaux et les arcs-ogives.
La belle disposition de la nef de la cathédrale de Bourges, avec son premier collatéral très-élevé, disposition qui ne se trouve guère répétée en France que dans le tour du choeur de la cathédrale du Mans 231, est évidemment inspirée des églises du Poitou. C'est un compromis entre les systèmes de construction des nefs de cette contrée et de l'Île-de-France. La nef centrale de la cathédrale de Bourges reçoit des jours dans sa partie haute, au-dessus des combles des bas côtés, ainsi que les nefs de nos églises de l'Île-de-France, ce qui n'a pas lieu dans la cathédrale de Poitiers; mais le collatéral intérieur comprend, sous voûtes, une hauteur considérable, et n'est plus, comme à Notre-Dame de Paris, comme autour du choeur de Notre-Dame de Chartres, comme à Cologne, égal en hauteur au second collatéral.
Voici, en effet, une travée de la nef de la cathédrale de Poitiers, dont la construction, un peu antérieure à celle de la cathédrale de Bourges, conforme d'ailleurs aux traditions romanes du Poitou et de la Vendée, accuse l'importance du collatéral dans ces édifices 232.

Notre figure 8 suppose, en A, la coupe faite sur l'axe longitudinal du bas côté, et en B, sur l'axe de la nef centrale. Les voûtes des collatéraux, épaulées par des contre-forts épais, contre-butent les voûtes hautes. Ces collatéraux sont chacun presque égaux en largeur à la nef, de sorte que ce vaisseau est plutôt une grande salle à trois nefs qu'une église suivant la tradition de la basilique transformée. L'arcature porte au niveau C une sorte de balcon, ou chemin de ronde continu, qui passe derrière chacune des piles, dans l'épaisseur des contre-forts. Un seul comble à deux pentes couvre la nef et ses collatéraux. Cette construction, montée avec beaucoup de soins, est remarquable par ses belles proportions et l'heureuse concordance de toutes ses parties. Les voûtes, tracées suivant la méthode du Poitou et de l'Anjou, tiennent de la coupole et de la voûte en arcs d'ogive (voyez VOÛTE). Il y a dans cette composition une ampleur, une raison et une sobriété qui sont la vraie marque de la puissance chez l'artiste. Ce mélange de qualités supérieures, trop rare aujourd'hui, se retrouve dans la composition des travées de vaisseaux voûtés de 1150 à 1250, que ces vaisseaux soient destinés à un service religieux ou civil. Après la composition de la coupe transversale, en effet, c'est celle de la travée qui détermine les proportions et l'aspect de l'intérieur d'un vaisseau, avec ou sans collatéraux. Or, ces larges travées des monuments du Poitou, de l'Anjou, du Maine, de l'Angoumois, surprennent par leur disposition grandiose, bien que la plupart de ces constructions soient d'une dimension médiocre. Paraître grand est certainement une qualité pour un intérieur destiné à contenir la foule. On s'y trouve à l'aise, même quand l'espace vient matériellement à manquer. La cathédrale de Poitiers est d'une dimension médiocre 233, et cependant, grâce à la belle disposition de ses larges travées, l'impression qu'elle laisse est celle d'un très-vaste intérieur.
Certaines églises de la même contrée, de l'Anjou et du Maine, se composent de vaisseaux à une seule nef, et là encore la composition des travées est largement comprise. Nous citerons, entre autres, la nef de l'église abbatiale de Notre-Dame de la Coulture, au Mans (fin du XIIe siècle), divisée par travées sur plan carré, avec balcon relevé, comme à la cathédrale de Poitiers, porté sur de grands arcs de décharge d'un bel effet 234.

Voici (fig. 9) une travée de cette nef, dépourvue de collatéraux.
Il n'est pas besoin d'être architecte pour comprendre le parti que l'on peut tirer de cette disposition grandiose, simple, se prêtant à tous les modes de structure 235. L'influence de ce système de larges travées voûtées, simples ou avec des collatéraux presque égaux à la nef centrale, ne s'étendit guère au delà du Maine et du Berry vers le nord; et, ainsi que nous le disions tout à l'heure, on peut en retrouver un dernier souvenir dans la composition des travées de la cathédrale de Bourges. De ce côté-ci de la Loire, le système indiqué dans les exemples que nous avons donnés (fig. 5 et 6) persiste pendant le XIIIe siècle, mais on abandonne alors (sauf quelques cas assez rares) le mode de voûtes avec arc-doubleau intermédiaire, recoupant les arcs ogives, c'est-à-dire que les travées, au lieu d'être doublées, sont simples et portent chacune leur voûte propre. N'est-il pas évident qu'il règne dans ces compositions de travées, pendant la période comprise entre 1130 et, 1230, une liberté dont on ne saurait méconnaître la valeur et l'étendue? Aucune autre architecture ne se prêterait à des formes et à des aspects aussi variés sans sortir des principes qui la dirigent. Or, cette souplesse n'est-elle pas la conséquence du système de structure admis? Et de ce que ce système de structure se concilie avec la liberté et y conduit, en faut-il conclure que cette architecture n'est autre chose qu'un procédé suranné, n'ayant plus aujourd'hui d'application? L'étude attentive des proportions ne ressort-elle pas des divers exemples qui viennent de passer sous les yeux de nos lecteurs?
À dater de 1220 environ, la travée des nefs à collatéraux, dans les édifices du Nord, est déterminée d'une manière plus précise. Les piliers, égaux en épaisseur, portent chacun les nerfs complets des voûtes d'arête, haute et basse; les murs, entre ces voûtes, s'ouvrent largement, et sont remplacés même par des fenêtres qui prennent toute la surface comprise entre les piliers et les formerets. C'est d'après ce principe qu'est conçue la nef de la cathédrale d'Amiens, bâtie entre 1220 et 1230 236.

Nous donnons (fig. 10) une travée de cette nef, qui n'a pas moins de 42m50 sous clef 237. Le plan des piliers, au niveau du rez-de-chaussée, est tracé en D, au niveau de la galerie (triforium) en C. Cette galerie est fermée par un mur mince M, auquel s'adosse le comble en appentis qui couvre le collatéral. On voit en G la fenêtre du collatéral qui, élevée sur une arcature et mur d'appui, comprend toute la surface qui existe entre les piles engagées et l'arc formeret. Même système pour les fenêtres hautes F. On voulut bientôt supprimer même les pleins qui formaient, derrière le comble du collatéral, le triforium 238; les murs minces M furent ajourés, et les combles couvrant les collatéraux établis en pavillons sur chaque voûte basse, avec chéneau sur les arcs-doubleaux. Alors la fenêtre supérieure se liait au triforium, et la claire-voie vitrée descendait jusque dans la galerie. C'est d'après ce principe qu'en 1240 on reconstruisit la nef de l'église abbatiale de Saint-Denis, le choeur des cathédrales de Troyes et de Beauvais, et un peu plus tard (1260 environ) celui de la cathédrale de Sées, dont nous traçons en A (fig. 11) une des travées 239.

Le sol du choeur est au niveau B, celui du collatéral en C. La galerie (triforium), sous la fenêtre haute, est ajourée jusqu'au niveau d'un appui D, derrière lequel passe le chéneau. La claire-voie postérieure de cette galerie ne reproduit pas exactement le dessin de l'arcature antérieure (voy. TRIFORIUM). Comme à la cathédrale d'Amiens, tous les espaces laissés entre les piliers, sous les voûtes, sont remplis par des fenêtres décorées de vitraux; de telle sorte que ces travées présentent une surface considérable de peinture translucide de l'effet le plus brillant. En O, est donnée la section d'une pile sur plan ovale, afin de laisser aux vides le plus de surface possible. C'est toujours suivant ces données qu'au XIVe siècle on construisit la nef de l'église abbatiale de Saint-Ouen de Rouen (fig. 11), dont nous présentons une travée en B.
Ces trois derniers exemples montrent comment les maîtres des oeuvres tendaient à diminuer les pleins et à augmenter les surfaces des vitraux dans les églises voûtées. Ce principe ne se modifie guère jusqu'au XVIe siècle; les portions des cathédrales d'Auxerre, de Troyes, de Sens, de Beauvais, qui datent des XVe et XVIe siècles, reproduisent, sauf dans les détails, le parti que nous voyons adopté au XIVe siècle à Saint-Ouen de Rouen. Ce parti convenait parfaitement, d'ailleurs, dans notre climat, à de très-grands vaisseaux. Grâce aux vitraux colorés ou grisailles, on atténuait l'effet des rayons du soleil, et cependant partout pénétrait une lumière chaude et douce qui ne laissait aucun point obscur. La répartition de la lumière dans de grands espaces couverts et fermés est une difficulté contre laquelle, trop souvent, le mérite de nos architectes modernes vient se heurter. Aussi la plupart des grandes salles bâties de notre temps ont-elles un aspect froid et triste. De larges places sombres, soit sur les parois, soit sur le sol, coupent ces vaisseaux, les rapetissent aux yeux et ne se prêtent point à la décoration. La foule même, répandue dans ces salles, forme des taches noires d'un aspect désagréable. Au contraire, au milieu de ces anciens édifices entièrement ajourés entre les nerfs principaux de l'ossature, il circule comme une atmosphère lumineuse et colorée qui satisfait les yeux autant que l'esprit. On se sent à l'aise dans ces vastes cages qui participent de la lumière extérieure en l'adoucissant. C'est en grande partie à cette judicieuse introduction des rayons lumineux que ces vaisseaux doivent de paraître beaucoup plus vastes qu'ils ne le sont réellement. Aussi l'église abbatiale de Saint-Ouen, qui n'est, après tout, que d'une dimension très-ordinaire 240, paraît-elle rivaliser avec nos grandes cathédrales.
On se rendra compte de la disposition des travées des salles de palais et châteaux en recourant aux articles CONSTRUCTION, PALAIS, SALLE.
Note 221: (retour) Au XIIe siècle, des voûtes ayant été construites sur cette nef et appuyées sur des colonnettes accolées aux piliers avec assez d'adresse, des arcs-boutants durent les contre-buter. Les berceaux des collatéraux furent détruits, ainsi que les pilettes G, et des voûtes d'arête les remplacèrent. Cependant la disposition des voûtes en berceaux perpendiculaires aux murs fut conservée dans le transsept. Ces travaux ne purent qu'altérer la solidité de l'édifice bâti de matériaux de petites dimensions; si bien qu'on dut (il y a quelques années) reconstruire les voûtes hautes en matériaux légers et restaurer les parties intérieures. Ces travaux ont malheureusement fait disparaître des traces curieuses de la disposition première. On voit encore cependant, sur plusieurs points, les sommiers S des arcs-doubleaux des collatéraux primitifs.
Note 223: (retour) Voyez, à ce sujet, Étude sur l'architecture lombarde par M. de Dartein, ingénieur des ponts et chaussées. Toutefois, si nous ne contestons pas l'ancienneté de la disposition du plan de l'église de Saint-Ambroise de Milan, il nous semble que l'auteur de cet excellent ouvrage, dans la notice qu'il donne sur cette église, ne tient pas assez compte des restaurations qu'elle eut à subir, et qu'il s'appuie d'une manière peut-être trop absolue sur des textes. Combien n'avons-nous pas d'édifices en France, par exemple, dont la reconstruction presque totale n'est mentionnée que d'une manière incidente, ou ne l'est pas du tout! Aucun texte ne fait mention de la reconstruction de la façade de Notre-Dame de Paris, entre autres; en faut-il conclure que cette façade est celle d'Étienne de Garlande, 1140, ou date de l'épiscopat de Maurice de Sully (1160-1190)? Après le grand désastre de 1196, c'est-à-dire après la ruine des voûtes de l'église de Saint-Ambroise de Milan, ce monument dut subir un remaniement presque total. Des voûtes ne s'écroulent pas sans cause; un sinistre aussi grave est habituellement la conséquence d'un déversement des piles; or, les piles actuelles de Saint-Ambroise ne paraissent pas avoir subi des altérations de nature à pouvoir occasionner la chute des grandes voûtes. De l'examen que nous avons fait de cet édifice, il y a peu d'années, il résulte que nous ne pourrions assigner à sa nef (les voûtes non comprises) la date du IXe siècle. Les profils, les sculptures de toutes les parties supérieures, la structure même de ces parties, semblent appartenir au XIIe siècle, époque brillante pour l'art en Lombardie comme en France. Les monuments élevés sur le sol du nord de l'Italie et dont la date carlovingienne ne saurait être discutée, ont un caractère barbare, comme structure, que l'on ne retrouve pas dans Saint-Ambroise de Milan. Toutefois, nous le répétons, nous croyons bien, comme M. de Dartein, que la disposition du plan appartient au IXe siècle, ainsi qu'une partie des constructions inférieures, l'autel, etc.
Note 224: (retour) En 1845, M. Vitet écrivait ceci: «Que tous ceux à qui ces questions inspirent un sérieux intérêt cessent de s'évertuer à prouver, les uns que l'ogive nous est venue d'Orient, les autres qu'elle est indigène: querelles vides et oiseuses! Qu'ils cherchent par qui a été mis en oeuvre le système à ogive; pourquoi l'influence de ce système a été si grande et si universelle, comment pendant trois siècles il a pu exercer sur une moitié de l'Europe une absolue souveraineté; qu'ils cherchent enfin si la naissance et les progrès de ce système ne sont pas inséparablement liés à la grande régénération des sociétés modernes, dont le XIIe siècle voit éclore les premiers germes... Les révolutions architecturales ainsi envisagées ne se confondent plus avec ces fantaisies futiles et éphémères qui font préférer telle étoffe à telle autre pendant un certain temps; elles sont de sérieuses, de véritables révolutions, elles expriment des idées.» (Monographie de Notre-Dame de Noyon, p. 130.)
TRÈFLE, s. m. Nom que l'on donne à un membre d'architecture de forme géométrique, obtenu au moyen de trois cercles dont les centres sont placés aux sommets des angles d'un triangle équilatéral. On dit aussi trilobe (fig. 1). À dater de la fin du XIIe siècle jusqu'au XVIe, on s'est beaucoup servi de cette figure dans la composition des meneaux, des roses, des arcatures, et en général des claires-voies. Quelquefois les points de rencontre des cercles sont terminés par un ornement feuillu A, par une tête humaine ou d'animal.

Il arrive souvent qu'un trèfle inscrit trois autres trèfles, ainsi que l'indique le tracé B. (Voy. BALUSTRADE, FENÊTRE, MENEAU, ROSE.)
Quelques auteurs ont voulu voir dans cette figure un symbole. Rien ne vient appuyer cette opinion. Le trèfle résultait tout naturellement de l'emploi, très-fréquent, du triangle équilatéral, dans l'architecture du moyen âge, comme figure génératrice (voy. PROPORTION). Il avait l'avantage, pour les claires-voies des meneaux, par exemple, de pouvoir inscrire facilement dans un arc en tiers-point ab des figures engendrées par le triangle équilatéral.
TREILLAGE, s. m. Claire-voie composée de lattes ou de bois légers réunis, pendant le moyen âge, par des pointes ou de petites chevilles de bois; puis, vers la fin du XVe siècle, par du fil de fer.
Déjà, vers la fin du XIIe siècle, des treilles étaient établies dans les jardins privés, et, sous saint Louis, ce mode de former des berceaux avec de la vigne était fort répandu. À cette époque, les treilles du jardin du Palais, sur l'emplacement de la place Dauphine actuelle, étaient en grande réputation. Les treillages consistaient habituellement alors, si l'on s'en rapporte aux vignettes des manuscrits, en des bois souples croisés, retenus par des pointes ou des liens d'osier quelquefois entrelacés. La mode des architectures en treillages ne paraît pas remonter au delà du commencement du XVIe siècle. C'était une importation italienne, et non point une des plus heureuses.
TREILLIS, s. m. Clôture de fenêtre de fer léger, mais très-serrée; sorte de grillage (voy. ce mot), mais capable d'opposer une résistance sérieuse. Il est souvent question, dans les romans des XIIIe et XIVe siècles, de fenêtres ainsi treillissées au dehors d'une manière permanente (voy. GRILLE). On donnait aussi le nom de treillis à des grilles en façon de chevaux de frise, pour défendre la contrescarpe des fossés des châteaux. «Tout à l'environ de Plessis, il fist faire (Louis XI) un treillis de gros barreaux de fer, et planter dedans la muraille des broches de fer, ayant plusieurs poinctes, comme à l'entrée par où l'on eu pu entrer aux fossés dudit Plessis 241.»
TRÉSOR, s. m. Pièce réservée, à côté des églises abbatiales et cathédrales, aussi dans les châteaux, pour renfermer les objets les plus précieux; tels que vases sacrés, reliquaires, pièces d'orfévrerie, puis encore les chartes, les titres, etc.
La cathédrale de Paris avait son trésor au-dessus de la sacristie (voy. SACRISTIE, PALAIS). La sainte Chapelle du Palais, à Paris, possédait également un joli édifice annexe, qui contenait les sacristies et le trésor des chartes. De même, à la chapelle du château de Vincennes (voy. CHAPELLE). Souvent aussi les trésors des églises étaient pratiqués dans l'intérieur même de l'édifice. On voit encore à la cathédrale de Reims, dans le bas côté du bras de croix septentrional, le trésor entresolé, grillé, qui renfermait les beaux objets que possédait le chapitre de cette église. À la cathédrale de Rouen, dans celle d'Évreux, le trésor n'était qu'une chapelle grillée. À Sens, à Troyes, les trésors des cathédrales sont annexés à l'église, au côté méridional du choeur, et l'on y accède par des escaliers donnant dans le collatéral. Dans les châteaux, les trésors des chartes étaient placés dans le donjon, ceux de la vaisselle dans une tour, proche de la grand'salle, et celui de la chapelle à côté ou au-dessus de la sacristie. Ces trésors, habituellement voûtés et ainsi à l'abri des incendies, n'étaient éclairés que par des fenêtres élevées au-dessus du sol et soigneusement grillées. Leurs portes étaient de fer et doubles, ou tout au moins munies de deux serrures. On voit encore, dans l'hôtel de Jacques Coeur, à Bourges, la pièce qui servait de trésor.
L'habitude de disposer, dans les châteaux ou hôtels, des pièces spécialement affectées à la conservation des trésors, et particulièrement des archives, ne paraît guère remonter, chez les seigneurs laïques, au delà de Philippe-Auguste. Jusqu'alors il était d'usage, parmi les nobles, d'emporter partout avec soi les titres précieux et la plupart des objets précieux que l'on possédait. C'était une habitude mérovingienne que l'on trouve répandue chez tous les peuples de race indo-européenne. Le chef ne se fiait qu'à lui seul pour garder son bien et sa famille, et pendant l'époque romaine on voit que les armées de barbares ne marchent qu'accompagnées des lourds chariots qui portent les vieillards, les femmes, les enfants et les dépouilles amassées à la guerre. Pendant la campagne de 1194, contre Richard, le bagage de Philippe-Auguste tomba dans une embuscade tendue près de Fréteval, en Vendômois, par le roi d'Angleterre, qui mit ainsi la main, non-seulement sur la vaisselle et les joyaux de son rival, mais aussi sur les registres de cens, de taille, de servage, «bref, le chartrier complet de France, que les rois avaient coutume de porter avec eux dans tous leurs voyages. Ce fut, disent les chroniques de Saint-Denis, une rude tâche que de réparer cette perte et de rétablir toute chose en légitime état 242.» Ce fut à dater de cet événement que les rois français déposèrent les registres d'État dans une résidence fixe. Le chartrier de France, placé d'abord au Temple, fut transféré partie dans la grosse tour du Louvre, partie dans le trésor de la sainte Chapelle, dont nous avons parlé ci-dessus.
TRIBUNE, s. f. (du lat. tribuna). Partie principale des édifices sacrés, suivant les académiciens de la Crusca. En effet, dans les basiliques chrétiennes primitives, la tribune est l'hémicycle qui forme l'abside, où se tenait l'évêque ou l'abbé entouré de son clergé (voy. CHOEUR, TRANSSEPT), en souvenir de la place qu'occupait, dans la basilique romaine antique, le préteur. Des pères de l'Église donnent parfois le nom de tribunal à l'un des ambons placés des deux côtés du choeur, notamment à celui du haut duquel on lisait l'Évangile aux fidèles assemblés dans les nefs 243.
Le dessus des jubés, d'où on lisait également l'Évangile et d'où l'on instruisait les fidèles, prit dès lors le nom de tribune. Par extension; on donna le nom de tribune, dans l'église, à toute partie élevée au-dessus du sol, soit sur des colonnes et des arcs, soit sur des encorbellements 244. C'est ainsi que ces édifices religieux eurent leurs tribunes du jubé, des orgues, de l'horloge, du trésor; parfois aussi des tribunes particulières réservées à quelques fidèles privilégiés, à de grands personnages, aux familles des fondateurs, etc. On monte à ces loges, relevées au-dessus du pavé, par des escaliers donnant, soit dans l'église, soit dans des bâtiments voisins, quand elles sont privées, c'est-à-dire réservées à certains personnages. Les tribunes étaient encore un moyen d'augmenter les surfaces données aux fidèles dans de petites églises. Nous n'avons à nous occuper ici que des tribunes comprises comme annexes intérieures et élevées des églises, non comme sanctuaires, ambons ou jubés (voy. JUBÉ, CHOEUR). Or, l'usage des tribunes remonte assez loin. Galbert raconte comment, en 1127, Charles le Bon fut assassiné dans la tribune où il était monté pour prier avec Thancmar, châtelain de Bourbourg; tribune pratiquée dans l'église de Saint-Donatien, à Bruges. Les corps de ces deux personnages ayant été transportés dans le choeur par les religieux pour être inhumés, le parti qui avait fait consommer le meurtre résolut de les enlever: «La nuit suivante, le prévôt ordonna de munir d'armes l'église et de garnir de sentinelles la tribune (solarium) et la tour, afin qu'il pût s'y retirer avec les siens en cas d'attaque de la part des citoyens. D'après l'ordre du prévôt, des chevaliers entrèrent armés cette nuit dans la tribune de l'église 245... Ces misérables (les partisans) ne pouvant s'emparer des lieux inférieurs de l'église, avaient encombré de bois et de pierres l'escalier qui menait à la tribune, en sorte que personne ne pouvait y monter et qu'eux-mêmes ne pouvaient descendre, et ils cherchèrent seulement à se défendre du haut de la tribune et de la tour. Ils avaient établi leurs repaires et leur demeure entre les colonnes de la tribune, avec des tas de coffres et de bancs, d'où ils jetaient des pierres, du plomb, et toutes sortes de choses pesantes sur ceux qui attaquaient... Enfin, les chanoines de l'église, montant du choeur dans la tribune, par des échelles 246...» Ces curieux passages font connaître que la tribune en question était placée sous une tour de l'église, qu'elle avait un escalier communiquant avec les logis extérieurs, et qu'elle était voisine du choeur. C'était une pièce de premier étage, s'ouvrant sur l'église par des arcatures à claire-voie, comme le sont les galeries supérieures des collatéraux de nos églises des XIe et XIIe siècles. Si cette pièce servait de tribune, c'est-à-dire d'oratoire élevé au-dessus du sol de l'église, elle n'avait point la forme tout exceptionnelle que nous attachons aujourd'hui à cette partie de l'édifice religieux.
On voit une tribune d'un caractère bien franc et d'une époque assez ancienne (1130 environ) dans le narthex de l'église abbatiale de Vézelay 247. Nous en trouvons une autre dans la petite église de Montréal (Yonne), qui est adossée à la façade et regarde le choeur, dont les dispositions sont très-remarquables.

La figure 1 présente en A le plan de cette tribune, et en B la coupe faite sur ab. On monte à cette tribune par deux escaliers donnant dans les collatéraux, et pris aux dépens de pierre l'épaisseur du mur de face. Entièrement construite en belles dalles de dure, elle repose sur une colonne jumelée monolithe et quatre grandes consoles composées de longues pierres en encorbellement.
L'arrangement de la colonne avec un cul-de-lampe et des corbeaux est extrêmement intéressant, comme construction, en ce qu'il se combine avec le trumeau de la porte 248. Une table d'autel portée sur la balustrade pleine et sur une seule colonne jumelée, est placée dans l'axe de la tribune, en C. Les queues des claveaux D d'archivolte de la porte et le tympan E dégagent naturellement, en s'abaissant, les portes d'entrée P de la tribune. Une rose, d'un excellent style, s'ouvre en G, au-dessous des voûtes de la nef.

La figure 2 donne la vue perspective de cette tribune, prise de la nef. Cet ouvrage a été conçu et élevé en même temps que la façade, qui date de la fin du XIIe siècle, puisque la construction des encorbellements se relie intimement à cette façade, et que les deux escaliers ont été réservés dans le mur en le bâtissant. L'église de Montréal est petite, et est terminée par un sanctuaire carré avec un transsept et deux petites chapelles, également sur plan carré, orientées. La tribune, qui peut contenir facilement vingt à vingt-cinq personnes, ajoutait donc à sa surface. Peut-être était-elle réservée au seigneur, car l'église était attenante à un château dont il ne reste plus traces. La position du petit autel C le ferait croire. Cette tribune pouvait ainsi servir de chapelle privée. Construite en magnifiques matériaux taillés avec une pureté remarquable, cette église, et sa tribune (si rare), est, entre les monuments de la Bourgogne, un de ceux qui présentent le plus d'intérêt.
Tout le monde connaît la tribune de la cathédrale de Paris, qui, à l'intérieur, s'élève sous la grande rose occidentale, entre les deux tours, et dont l'arc sert d'étrésillonnement à la base de ces tours. Cette tribune, construite en même temps que la partie inférieure de la façade, et qui date, par conséquent, de 1210 environ, sert aujourd'hui à porter le buffet des grandes orgues. Elle se compose seulement d'un arc qui franchit toute la largeur du vaisseau central, et d'une voûte en arcs d'ogive. En largeur, elle occupe la moitié de l'épaisseur des tours et met en communication les belles salles voûtées du premier étage de ces deux clochers, par de larges arcades. Deux autres arcades semblables, s'ouvrant dans ces salles, donnent directement sur la nef.
Nous ne parlerons pas ici des salles de premier étage, des porches ou clochers posés dans l'axe des nefs principales, et qui, s'ouvrant sur ces nefs, sont de véritables tribunes, parce que nous avons l'occasion ailleurs de signaler ces dispositions 249.
Au XIVe siècle, on éleva, dans l'intérieur de la cathédrale de Laon, trois tribunes sous les pignons de la façade occidentale et des deux bras de croix, pour étrésillonner les piliers des six tours qui flanquent ces pignons. Ces trois tribunes n'ont donc point une destination définie, c'est un moyen de consolidation utilisé. Elles consistent simplement en un arc bombé, avec voûte en arcs d'ogive bandée entre les piliers de la première travée. Pendant la seconde moitié du XVe siècle, une tribune fut élevée entre la première travée de la nef de la cathédrale d'Autun 250. Cette tribune, destinée à porter un buffet d'orgues, est disposée sur un plan original, ainsi que le montre la figure 3, en A.

Elle occupe un trapèze abcd, dont les angles b, c, sont contre-butés par les arcs bf, ce. La voûte, avec arcs ogives, tiercelets, liernes, etc., est compliquée et assez plate. C'est une construction bien conçue, si l'on a égard aux dispositions des piliers anciens que l'on prétendait ne pas modifier. On arrive au sol de la tribune par deux escaliers à vis anciens, qui, primitivement, donnaient accès à une sorte de loge extérieure, qui, vers la fin du XIIe siècle, fut remplacée par un beau porche 251. La vue perspective de cette tribune en fait saisir la construction et le caractère. En B, est un des deux arcs-boutants qui maintiennent la poussée de la voûte, dont l'arc de tête bc est porté sur les deux clefs de jonction oblique b et c. Il y a là une combinaison très-simple dans son principe, dont on pourrait tirer un excellent parti. Les redents et poinçons avec liens courbes n'ajoutent rien à la solidité, et ne sont pas du meilleur style, appliqués à une construction de pierre.
Indépendamment de ces tribunes ouvertes, faites pour recevoir des chanteurs, des jeux d'orgues, ou un public privilégié, on pratiquait parfois, dans les églises abbatiales ou paroissiales, et surtout dans les chapelles de châteaux, de petites tribunes fermées, destinées à certains personnages. Cet usage devint fréquent pendant le XVe siècle. Les abbés ne descendaient plus au choeur et avaient leur tribune. Les seigneurs avaient aussi leur tribune spéciale, soit dans l'église paroissiale, soit dans leur propre chapelle.

Voici (fig. 4) une de ces petites tribunes closes, pratiquée dans le mur de face du bas côté de l'église abbatiale de Montivilliers (Seine-Inférieure). Cette église est romane; mais, au XVe siècle, on rétablit un bas côté, dans le mur duquel est ménagée une tribune 252. En A, est tracé le plan de la tribune avec l'escalier qui y conduit, et en B l'élévation sur le collatéral. Ces claires-voies étaient garnies intérieurement de courtines, afin que les assistants aux cérémonies pussent voir dans l'église sans être vus. Le service des tribunes prenait parfois, dans les chapelles de châteaux, une grande importance 253. L'une était disposée pour le seigneur et les siens, d'autres pour les habitants du château, pour les familiers. La garnison et tout le service se tenaient sur le pavé, à rez-de-chaussée. Il arrivait souvent même que ces tribunes étaient faites de bois. Les grand'salles des châteaux possédaient également de ces sortes de tribunes de menuiserie peinte et décorée d'étoffes. On y plaçait les musiciens les jours de fête et de banquets, les femmes, ou des personnes étrangères auxquelles on voulait faire honneur les jours de plaids. Ces sortes de tribunes étaient élevées dans un angle de la salle, et l'on y arrivait par des escaliers extérieurs.
Dans les églises, on suspendait aussi des tribunes de bois pour recevoir des orgues, des choeurs ou des personnes privilégiées. À la cathédrale de Reims, on voit encore les restes d'une de ces sortes de tribunes accolée au pignon nord du transsept, et qui date du XVe siècle. Au-dessus de la porte d'entrée principale de la cathédrale d'Amiens, il existe également une tribune de bois, dont la construction remonte à 1500 environ, et qui porte sur une ferme armée, masquée derrière trois arcs en menuiserie.

L'église de Saint-Andoche, de Saulieu (Côte-d'Or), possède encore une jolie tribune de bois de la fin du XVe siècle, au-dessus de la porte centrale. La figure 5 en donne l'élévation perspective, prise de l'intérieur de la nef.
En A, est tracé le système de construction de ces tribunes de charpente et menuiserie. L'entrait B est entaillé à mi-bois pour laisser passer le poinçon C, qui s'élève jusqu'à la longrine D et reçoit les deux arbalétriers E. Les liens G soulagent les parties intermédiaires de l'entrait, le pied de ces liens reposant sur les murs latéraux en I et venant s'assembler à l'extrémité inférieure du poinçon C rendu fixe par les deux arbalétriers E. Une doublure décorée masque l'entrait, et la balustrade de menuiserie fixée de B en D sur cette doublure et sur la longrine D roidit tout le système. Le solivage repose sur une lambourde fixée derrière l'entrait. C'est un système analogue qui est appliqué à la cathédrale d'Amiens, quoique la portée soit beaucoup plus grande 254. La forme de charpente, formant le devant de la tribune, est divisée en trois travées (voyez en P). De même les poinçons F sont entaillés à mi-bois dans l'entrait H. Le trapèze KLMN maintient la tête de ces poinçons qui reçoivent les pieds des liens O. Les assemblages des arbalétriers sont maintenus dans l'entrait par des étriers boulonnés et par les deux contre-fiches K, N. Une triple arcature en menuiserie, qui paraît suspendue, masque les poinçons, les liens, et contribue encore à donner du roide à tout l'ensemble. Ces arcatures retombant sur des culs-de-lampe en l'air ne sont donc pas un vain ornement, mais sont la véritable décoration de la structure en charpente.
On élevait aussi des tribunes sur les places pendant les fêtes publiques, pour y placer des choristes et des acteurs qui récitaient des mystères devant la foule. Pendant les tournois, des tribunes de charpente recouvertes d'étoffes et d'écus armoyés étaient construites sur l'un des côtés de la lice et servaient d'abri aux seigneurs et aux dames. Mais ces ouvrages provisoires sortent du domaine de l'architecture.
TRIFORIUM, s. m. Mot en usage dans la basse latinité (formé du grec), introduit dans le vocabulaire de l'architecture par les archéologues anglais, et qui s'applique aux galeries pourtournant intérieurement les églises, au-dessus des archivoltes des collatéraux 255. Le triforium occupe toute la largeur du collatéral, ou n'est qu'une étroite galerie de service adossée aux combles des bas côtés. La plupart de nos grandes églises du Nord possèdent un triforium, qui n'est qu'une tradition de la galerie (ambulatoire) de premier étage de la basilique romaine. Quand le triforium prend toute la largeur du collatéral, il est voûté à dater du commencement du XIIe siècle, et, dès l'origine, sa fonction est déterminée plus encore par une nécessité de stabilité que par les besoins du service de l'église. Tant que les nefs des églises étaient couvertes par des charpentes apparentes, à l'instar de la basilique romaine, si l'architecte élevait une galerie de premier étage, comme à Saint-Rémi de Reims, par exemple 256, il ne pouvait guère songer à la voûter; il se contentait de bander un arc-doubleau au droit de chaque pile, arc-doubleau qui recevait le solivage incliné portant la couverture en appentis, qui étayait les grands murs de la nef, mais qui ne pouvait exercer sur ces murs une poussée que la charge des parties supérieures ne pût neutraliser. Ce fut tout autre chose quand on prétendit remplacer les charpentes apparentes par des voûtes, et par des voûtes en berceau. Ces voûtes s'affaissèrent bientôt entre les murs déversés sous l'action de leur pression oblique; il fallut penser à maintenir ces murs dans leur plan vertical. C'est alors qu'on eut l'idée de jeter longitudinalement sur les galeries de premier étage un demi-berceau ou arc-boutant continu, pour contre-buter la poussée du berceau central. Dès la fin du XIe siècle, l'école auvergnate arrivait à ce résultat, dont on peut encore constater l'efficacité, si l'on visite les églises d'Issoire, de Saint-Nectaire, de Notre-Dame du Port à Clermont, de Saint-Etienne de Nevers, et même de Saint-Sernin de Toulouse. Les arcs-doubleaux des galeries primitives (voyez la figure 1 de l'article TRAVÉE) étaient conservés, et le solivage de bois incliné était remplacé par ce demi-berceau sur lequel on posait à cru la couverture de tuiles ou de dalles.

La figure 1 explique cette modification dans les procédés primitifs. En A, on voit encore la travée de la galerie avec ses arcs-doubleaux au droit des piles, et son solivage portant la couverture; en B, le solivage est remplacé par un demi-berceau contre-butant la poussée continue du berceau central C. N'oublions pas, d'ailleurs, qu'avant de se décider à jeter des voûtes sur les hautes nefs, on avait commencé par se contenter d'arcs-doubleaux portant, en partie, la charpente et la couverture 257. Dans les provinces où l'on osa tout d'abord supprimer les charpentes pour leur substituer des berceaux entre chaque arc-doubleau de la nef, il était naturel de remplacer de même les lambris des combles en appentis des galeries par des demi-berceaux. Mais ce nouveau système de structure obstruait les fenêtres hautes, percées autrefois sous les charpentes des nefs centrales. Aussi ces églises d'Auvergne dont nous parlons, n'en ont-elles point, tandis que de petites baies éclairent le triforium.
Les berceaux des hautes nefs ne furent pas tout d'abord bandés, concentriques aux arcs-doubleaux. On voit que dans les nefs couvertes par des charpentes, pendant le XIe siècle, l'arc-doubleau portait un pignon avec claire-voie, sur les pentes duquel s'appuyait le solivage du comble 258. On laissa donc l'arc-doubleau à sa place, ainsi qu'on le voit en P (fig. 1) 259, en jetant le berceau en D à la place du lambris. Le demi-berceau E du triforium venait contre-buter le berceau central, tandis que l'arc-doubleau G contre-butait l'arc de la nef H. La claire-voie du triforium s'ouvrait alors en I. Cependant on ne gagnait rien à laisser les arcs-doubleaux de la nef centrale au-dessous du berceau, ce n'était là qu'une tradition d'une disposition antérieure des édifices couverts par des charpentes apparentes; on releva donc ces arcs-doubleaux, de manière à rendre leur extrados concentrique au berceau, ainsi qu'on le voit en M 260.

La figure 2 présente l'aspect perspectif du triforium de la nef de l'église d'Issoire. Dans cette nef, qui date des dernières années du XIe siècle, les travées sont doubles, c'est-à-dire que les colonnes engagées A et les arcs-doubleaux B n'existent que de deux en deux piles; la pile C étant seulement destinée à recevoir les arcs-doubleaux et retombées des voûtes des collatéraux. Mais on voit en D un arc-doubleau de galerie comme il en existe un au droit des piles A. En E, est la naissance du berceau continu de la nef haute, et, à travers l'arcature du triforium en G, on aperçoit le demi-berceau qui contre-bute cette voûte centrale. Même disposition à Notre-Dame du Port, à Saint-Étienne de Nevers. Dans ces édifices, le triforium a exactement le caractère qui convient à sa destination. Le mur de la nef est ajouré pour permettre de profiter de cette galerie nécessaire à la stabilité du monument, et qui donne un peu de lumière aux voûtes hautes de l'église. Si ce parti était convenable pour des nefs d'une dimension médiocre,--les fenêtres basses des collatéraux donnant alors assez de lumière, à cause du peu de largeur du vaisseau,--il était inadmissible dans la construction d'une grande église, telle que Saint-Sernin de Toulouse, pourvue de doubles collatéraux; car, dans ce dernier cas, la nef centrale eût été laissée dans l'obscurité. Ne pouvant ouvrir des fenêtres sous les naissances des berceaux, fallait-il au moins que celles des galeries fussent assez hautes et assez larges pour éclairer cette nef centrale à travers l'arcature du triforium; aussi, dans ce dernier édifice, le triforium prend-il une tout autre importance qu'à Issoire et à Notre-Dame du Port. On en jugera par le géométral que nous donnons ici (fig 3).

En A, est tracé le plan de cette galerie avec une pile d'angle B; car le triforium de l'église Saint-Sernin se retourne aux extrémités du transsept. De larges fenêtres C éclairent et la galerie et le milieu du vaisseau. Le demi-berceau avec arcs-doubleaux, qui naît au-dessus de ces fenêtres, contre-bute la voûte centrale en berceau, renforcée d'arcs-doubleaux. C'est le système adopté dans les églises auvergnates, mais plus développé 261.
Le développement du triforium dans l'église de Saint-Sernin de Toulouse ne permettait pas cependant d'ouvrir des jours directs dans la nef. Sous le climat du Midi, ce moyen pouvait suffire; mais, sous le ciel brumeux du Nord, la lumière transmise par ces seconds jours n'éclairait qu'à peine les nefs hautes: il fallait que des fenêtres s'ouvrissent directement sur ces nefs au-dessus du triforium. Aussi, dans les provinces situées au nord de la Loire, on ne cessa point de pratiquer des ouvertures directes sous les charpentes, et, quand on renonça aux charpentes, sous les voûtes qui durent les remplacer. Ce fut une des causes qui empêchèrent les architectes du Nord d'adopter la voûte en berceau (voy. VOÛTE), et qui les contraignirent à chercher des combinaisons de voûtes d'arête. Les tympans sous les formerets des voûtes permettaient, en effet, d'ouvrir des baies dans la hauteur même de ces voûtes. Toutefois on ne renonçait point au triforium voûté, qui était regardé comme un moyen propre à maintenir les murs des hautes nefs dans le plan vertical, et à contre-buter les voûtes qui les surmontaient. Plusieurs églises de l'époque de transition nous montrent les diverses tentatives faites en ce sens par les maîtres des provinces françaises du Nord. Nous citerons en première ligne l'église abbatiale de Saint-Germer (Oise), dont la construction remonte à la moitié du XIIe siècle 262. Les travées du choeur de cette église possèdent, au-dessus du collatéral, un triforium voûté à la romaine, sans arcs ogives. Cette galerie s'ouvre sur l'église par une arcature, et le comble qui la surmonte recouvre des arcs-boutants destinés à maintenir la poussée des voûtes hautes.

La coupe (fig. 4) faite sur cette galerie explique le système de structure adopté. Les demi-pignons AB qui s'élèvent sur les arcs-boutants servaient aussi à porter la couverture, qui se composait d'un solivage avec demi-fermes dans les parties circulaires. Des baies C sont percées sous ce comble en appentis, et donnent dans l'église, au-dessous d'un étroit passage de service ménagé en D, afin de faciliter l'entretien des verrières des fenêtres supérieures F.

La figure 5 donne l'élévation intérieure de ce triforium, avec les fenêtres quadrangulaires E du comble et le passage de service G 263. En H, est tracée une des travées parallèles du choeur, et en L une des travées du rond-point, développée sur plan rectiligne. On observera que la claire-voie à colonnes jumelles repose sur un bahut (voy. la coupe fig. 4). Ce bahut empêchait les personnes qui occupaient la galerie de plonger leurs regards dans l'église, à moins de se mettre à plat-ventre sur ce mur d'appui.
Les architectes des cathédrales de Noyon, de Senlis, de Soissons, de Paris, des églises de Mantes, du choeur de l'abbatiale de Saint-Rémi de Reims, de celui de l'abbaye d'Eu, etc., renoncèrent à ce mur d'appui, et firent porter les bases des colonnes de la claire-voie directement sur le sol de la galerie. Des balustrades de bois ou de fer, placées entre ces colonnes, permirent alors aux assistants, dans les tribunes, de voir le pavé de l'église. Le parti mi-roman, mi-gothique, adopté à Saint-Germer, conserve les fenêtres hautes M (fig. 5) de la basilique primitive, grâce à l'application du système de voûtes d'arête en arcs d'ogive, tout nouveau alors 264. Cependant ces fenêtres supérieures, très-élevées au-dessus du pavé de l'église, n'éclairaient guère que les voûtes; les fenêtres percées dans le mur du triforium (voy. la coupe en P) étaient trop éloignées de la claire-voie pour pouvoir donner de la lumière à l'intérieur du vaisseau sur le sol; d'autant que ce triforium est bas, profond et que le bahut fait écran. L'architecte du choeur de Notre-Dame de Paris adopta résolûment un autre parti; comme nous venons de le dire, il supprima le bahut et éleva la voûte du triforium. Le maître qui, peu après, vers 1195, construisit la nef de la même église, améliora encore, au point de vue de l'introduction de la lumière dans la partie centrale du vaisseau, les dispositions prises par son devancier. Il construisit les voûtes du triforium transversalement rampantes, afin de démasquer complétement les fenêtres de cette galerie pour le public qui se tenait sur le pavé de la nef. À l'article CATHÉDRALE (fig. 2, 3 et 4), nous rendons compte de cette disposition, assez clairement pour qu'il ne soit pas nécessaire d'y revenir ici. À Notre-Dame de Paris, des roses remplacent les fenêtres rectangulaires, qui, dans l'église de Saint-Germer, sont ouvertes dans le mur auquel le comble en appentis est adossé. Le passage de service intérieur qui, à Saint-Germer, surmonte ces fenêtres, n'existe pas à Paris, mais il existe à la cathédrale de Noyon 265; et là, comme dans le croisillon semi-circulaire de la cathédrale de Soissons, c'est un deuxième triforium, ou galerie étroite avec claire-voie en façon d'arcature, qui remplace les roses et les fenêtres rectangulaires 266.
Ces larges triforiums voûtés étaient d'une construction dispendieuse et ne pouvaient convenir qu'à d'assez grands édifices. Ils exigeaient, pour trouver des fenêtres dans les tympans des voûtes hautes, une sur-élévation des murs, afin d'adosser les combles en appentis qui couvraient les galeries de premier étage. Leur utilité ne se faisait sentir que lors des grandes solennités, et encore les deux ou trois premiers rangs de fidèles pouvaient, de ces galeries, voir ce qui se passait dans l'église, si toutefois, comme à Notre-Dame de Paris, à Mantes, à Saint-Rémi de Reims, les bahuts de pierre étaient supprimés. Pour des églises bâties avec plus d'économie et dans lesquelles il n'y avait pas d'occasion de recevoir un grand concours de fidèles, le triforium voûté ne pouvait faire partie du programme. Aussi des églises qui datent de la même époque que celles désignées ci-dessus, et qui appartiennent à la même école d'architectes, n'en sont-elles pas pourvues. Cependant nous retrouvons dans l'Île-de-France une tendance prolongée à conserver ce parti. Ce n'est plus le triforium voûté occupant toute la largeur du collatéral, mais ce n'est pas non plus le triforium laissant une galerie étroite, un passage de service en dedans de l'adossement du comble des bas côtés, comme dans les cathédrales de Reims, d'Amiens, de Bourges et de Chartres. Ce système intermédiaire est adopté dans l'église conventuelle de Saint-Leu d'Esserent (Oise) 267.

Voici (fig. 6) la coupe du triforium de la nef de cette église. Le mur d'adossement du comble A du collatéral ne s'élève pas assez pour interdire l'ouverture de petites fenêtres B. À défaut de la voûte, un arc de décharge C reçoit la partie supérieure du mur, et le passage porte en plein sur la voûte du collatéral. À l'intérieur, cette disposition présente l'aspect reproduit en perspective dans la figure 7.

Comme pour rappeler la voûte des grands triforiums, l'architecte a bandé l'arc D, qui n'est plus qu'un simulacre, puisque le véritable arc de décharge est beaucoup plus bas et simplement bombé (voy. la coupe). Le triforium ainsi rétréci n'ayant plus besoin d'être couvert par un comble en appentis, mais simplement par un dallage G (voy. la coupe), on pouvait ouvrir les fenêtres hautes immédiatement au-dessus de l'arc D (voy. la fig. 7), et même, si le constructeur n'avait pas tenu à la conservation de cet arc, il eût pu descendre l'appui de la fenêtre beaucoup plus bas. Bien entendu, ce parti exigeait impérieusement la structure d'arcs-boutants pour maintenir les hautes voûtes, car on n'avait plus la ressource des demi-pignons noyés sous les combles en appentis du triforium voûté, pour remplir cette fonction, ainsi que cela avait été pratiqué à Saint-Germer.
Un autre monument, contemporain de l'église de Saint-Leu d'Esserent, donne à la fois le triforium avec voûtes et le triforium étroit éclairé par des fenêtres: c'est la petite église de Moret (Seine-et-Marne). Les parties parallèles du choeur de cette église possédaient une galerie de premier étage ou triforium voûté au-dessus des ailes; mais l'abside, semi-circulaire, sans collatéraux, possède, au-dessus d'un rang de fenêtres basses, un triforium dont la composition originale nous montre une suite de lunettes ou roses sans meneaux, entre lesquelles est ménagé un passage.

La vue perspective (fig. 7 bis) explique cette singulière structure. En A, est le triforium projeté conformément à la méthode de l'Île-de-France, c'est-à-dire voûté. Un degré posé derrière le parement B monte au triforium de l'abside, qui n'est plus qu'un passage traversant les piles et s'ouvrant sur le dehors et sur l'intérieur de l'église par des roses. On remarquera que ces roses (voy. le plan en P) ne sont pas percées normalement à la courbe de l'abside, mais sont biaisées de manière à être vues de l'entrée du choeur. Pénétrant un cylindre, ces oeils n'ont jamais été garnis de meneaux; leurs vitraux, qui sont posés dans le cercle extérieur, ne sont maintenus que par des armatures de fer. Les détails de cette partie de l'église de Moret sont du meilleur style des premières années du XIIIe siècle. Il ne faut point oublier qu'à l'église de Mantes (Seine-et-Oise), il existe un large triforium voûté comme celui de la cathédrale de Paris, éclairé par des roses ou oeils circulaires, et que ce triforium, au-dessus du collatéral de l'abside, présente une disposition qui, bien que conçue d'après des données très-monumentales, paraît avoir fourni l'idée de la composition de celui de Moret. Le triforium absidal de Mantes date des dernières années du XIIe siècle. Soit que l'architecte ait voulu éviter les difficultés résultant de la combinaison de voûtes sur plan annulaire, soit qu'il ait craint la poussée de ces voûtes à l'extérieur du cylindre (poussée qui, à Notre-Dame de Paris, est neutralisée par une suite d'arcs-boutants assez compliqués, élevés sur le second collatéral), parce qu'il n'avait qu'un bas côté et que la construction était faite évidemment avec parcimonie; le fait est que cet architecte a voûté le triforium absidal de l'église de Mantes au moyen d'une suite de berceaux convergents.

La coupe (fig. 7 ter) explique ce système de construction; les colonnes A reposent sur l'arc-doubleau inférieur; elles portent des linteaux de pierre dure, sur lesquels reposent les berceaux B. Mais comme ces colonnes sont, en plan, posées normalement à la courbe du rond-point, les travées sont plus larges en C, le long de la claire-voie qui s'ouvre extérieurement; il en résulte que ces berceaux sont ou rampants, ou présentent des surfaces curvilignes gauches. L'architecte de Notre-Dame de Mantes paraît s'être arrêté à cette dernière disposition, après quelques tâtonnements; c'est-à-dire qu'il a voulu maintenir la section ab des clefs du berceau en tiers-point de niveau ou à très-peu près. Alors la trace ac du berceau n'est pas concentrique à la trace bd (voy. en M). Les baies F sont des roses. Il est clair que l'architecte de l'église de Moret n'a fait qu'interpréter à une petite échelle ce qui avait été fait à Mantes quelques années avant lui.
Ces exemples, ces déductions variées, montrent combien ces maîtres cherchaient sans cesse à perfectionner ce qu'ils voyaient faire autour d'eux. Sans abandonner le principe admis, et sans imiter platement ce qui semblait présenter les résultats les plus satisfaisants, ils prétendaient au contraire développer ce principe, en tirer toutes les conséquences; et, avant tout, ils savaient qu'un système de structure doit être modifié en raison de la dimension des édifices.
Mais, dans d'autres provinces, on procédait différemment: le triforium n'était, dès le XIe siècle, qu'une claire-voie ouverte dans le mur d'adossement du comble du collatéral; claire-voie laissant pénétrer le regard, de l'intérieur, sous la charpente. Cependant, à l'origine, ces ouvertures étaient plutôt des fenêtres percées de distance en distance dans les tympans d'une arcature aveugle, qu'une galerie (voy. TRAVÉE, fig. 2). Ce n'est que vers le milieu du XIIe siècle que l'arcature aveugle, avec fenêtres donnant sous les combles des bas côtés, se transforme en claire-voie. Le choeur de la cathédrale de Langres, qui date de cette époque, nous fournit un bel exemple de ces arcatures s'ouvrant dans le mur d'adossement de la charpente du collatéral.

La figure 8 donne le géométral du triforium de la cathédrale de Langres, en supposant la travée développée sur un plan droit, cette abside étant circulaire. En A, est tracé le plan. La voûte B est un cul-de-four en tiers-point dans lequel pénètrent les fenêtres hautes C. Des colonnettes jumelles 268 supportent la double arcade qui compose la galerie entre chaque pilier du rond-point. Ce parti pouvait être adopté dans une abside, là où les travées sont étroites. Il eût été dangereux de faire porter des tympans larges et épais sur une suite de colonnettes. Aussi, dans la nef de la même église, le triforium n'est-il qu'une arcature aveugle percée d'une baie cintrée à chaque travée. Même système adopté à la cathédrale d'Autun, qui est quelque peu antérieure à celle de Langres. Les architectes tenaient cependant à occuper l'espace compris entre les archivoltes des collatéraux et les fenêtres hautes par des claires-voies; les arcatures aveugles ne présentaient qu'une décoration plate et sans utilité. Le maître auquel on doit la cathédrale de Sens, dont la construction présente des dispositions si intéressantes, eut l'idée, vers la fin du XIIe siècle, d'établir un triforium d'après un principe nouveau alors. Afin de bien porter les parties supérieures, qui se composaient primitivement d'un fenestrage avec haut appui et pile intermédiaire, il divisa de même la galerie en deux travées, avec pile intermédiaire portant sur la clef de l'archivolte du collatéral. Puis, dans chacune des travées, il établit une arcature jumelée reposant sur une colonnette et deux pieds-droits.

La figure 9 donne en A le plan et en B l'élévation du triforium de la nef de la cathédrale de Sens. En C, est la colonne qui porte l'arc-doubleau de recoupement de la voûte haute. Des fenêtres refaites, après l'incendie, à la fin du XIIIe siècle, ont remplacé les anciennes baies D, qui étaient jumelées comme l'arcature principale du triforium. Cette construction, qui date de 1180 environ, nous montre un triforium simplement percé dans le mur d'adossement du comble du collatéral, comme à l'abside de la cathédrale de Langres, sans cloison séparative entre ce comble et la claire-voie. Une disposition analogue, mais avec des formes architectoniques très-différentes, se retrouve dans une autre province. À la cathédrale d'Évreux, dans la première travée de la nef, en partie masquée par le buffet d'orgues, est un reste du triforium du XIIe siècle, qui, percé simplement dans le mur d'adossement du comble de l'ancien bas côté, aujourd'hui occupé par un clocher, se compose d'une arcature avec tympans reposant sur des pilettes isolées.

Nous en donnons (fig. 10) l'élévation et le plan horizontal. Ce triforium, à peu près contemporain de celui de Sens, est beaucoup moins bien entendu, au point de vue de la structure; car ces arcs, entrecroisés, constituent une assez médiocre décharge, et ces tympans-linteaux peuvent être brisés facilement, ou briser les portées des chapiteaux au moindre mouvement de la construction. Cependant cet exemple fait ressortir encore une fois les ressources variées dont ces architectes du XIIe siècle savaient profiter. C'est là une disposition toute normande, et que l'on retrouve en Angleterre, dans les monuments de cette époque.
Le triforium, s'ouvrant directement sous le comble du collatéral, présentait des inconvénients qu'il est facile d'apprécier. Il donnait du froid et de l'humidité dans l'église, car les couvertures de tuiles ou d'ardoises, si bien faites qu'elles soient, laissent toujours passer l'air extérieur. La vue des charpentes à travers ces claires-voies n'était pas agréable. Il était difficile d'entretenir la propreté sous ces combles, et, dans les grands vents, la poussière se répandait dans l'église. Aussi on ne tarda guère à isoler le triforium du comble, c'est-à-dire à élever entre celui-ci et la claire-voie une cloison de pierre qui formait ainsi mur d'adossement. On l'avait bien tenté à Saint-Leu d'Esserent, ainsi que nous l'avons vu, mais là c'est un moyen terme entre ce dernier parti et celui du triforium voûté.
La nef de la cathédrale d'Amiens paraît être une des premières constructions religieuses dans lesquelles l'architecte ait cherché à séparer franchement la galerie du triforium du comble en appentis, au moyen d'une cloison fixe.

Voici (fig. 11), en A, le plan d'une demi-travée de ce triforium 269. En B, est le tracé de la pile au niveau de la galerie et au niveau du rez-de-chaussée; en C, le contre-fort qui porte la colonne recevant la tête de l'arc-boutant 270, et en D la cloison de maçonnerie avec arc de décharge. En E est donnée l'élévation de ce triforium sur la nef. On aperçoit en G l'arc de décharge de la cloison. Comme à Sens, la claire-voie est divisée en deux travées, la pilette P portant le meneau central de la fenêtre et reposant sur la clef de l'archivolte du collatéral 271. En H, est tracée, a une plus grande échelle, la projection horizontale de la pilette P, avec les tailloirs des chapiteaux, celle d'une des colonnettes; et en I, la section du profil de l'arc I'. On remarquera que cette galerie étant placée à une grande hauteur, et la largeur de la nef ne pouvant donner beaucoup de reculée, les profils horizontaux, tels que bases et tailloirs, sont très-développés en hauteur et peu saillants, afin de ne pas être masqués par les projections perspectives 272. Souvent les chapiteaux des colonnettes de ces triforiums du milieu du XIIIe siècle sont très-bas d'assises et très-évasés, afin de développer leur corbeille aux yeux des personnes placées sur le sol. On trouve un très-remarquable exemple de ce parti, adopté en raison de l'effet perspectif, dans la cathédrale de Châlons-sur-Marne. À Notre-Dame d'Amiens, on voit que l'architecte, préoccupé de la diminution perspective de son ordonnance de galerie, en a exagéré les proportions, comme hauteur, par rapport à la largeur. C'est à de telles attentions dans la conception des diverses parties d'un édifice, que l'on reconnaît les maîtres. Ceux-ci, en traçant le géométral, se rendaient évidemment compte des déformations produites par la hauteur, l'éloignement et la place relative; ils obtenaient l'effet voulu sans être obligés, comme cela se voit souvent aujourd'hui, de tâtonner et de modifier sur place des portions tout entières des édifices, pour n'obtenir, après ces essais dispendieux, que des proportions indécises ou des effets incomplets.

La coupe du triforium de la nef de la cathédrale d'Amiens (fig. 12), faite sur ab, montre l'habileté du constructeur. Dans cette coupe, on voit en A et B les deux arcs concentriques en tiers-point qui forment archivolte de la galerie. En C, est le renfort intérieur au droit des grosses piles, en D un linteau de liaisonnement. L'archivolte B naît sur le chapiteau du petit renfort intérieur de la pilette P du plan, et vient pénétrer les renforts C. En E, est le plafond du triforium faisant chemin de ronde au-dessus du comble F des collatéraux. En G, la colonne isolée qui reçoit la tête des arcs-boutants 273 et qui porte sur le contre-fort H. En K, est l'arc de décharge marqué G sur le tracé (fig. 11); en I, la cloison fermant le comble, et en L un arc de décharge portant cette cloison et laissant sous son intrados passer la voûte du bas côté; Les grandes fenêtres supérieures s'ouvrent en M immédiatement au-dessus de la galerie 274. Cependant les murs d'adossement du comble des bas côtés, vus derrière la claire-voie du triforium, paraissaient nus; on décida bientôt qu'ils devaient être ajourés, et, dans la même église (Notre-Dame d'Amiens), l'architecte qui éleva l'oeuvre haute du choeur établit sur le collatéral des combles en pavillon, afin de pouvoir ouvrir des jours dans les murs de clôture du triforium. Ces galeries participèrent ainsi bientôt des fenêtres supérieures 275. C'est vers le milieu du XIIIe siècle que ce parti fut adopté dans un grand nombre d'églises du domaine royal, notamment à la cathédrale de Troyes et à l'abbaye de Saint-Denis, en grande partie reconstruite sous le règne de Louis IX. Le triforium de la nef et du choeur de cette dernière église est très-remarquable comme composition.

Nous donnons (fig. 13) le plan A et l'élévation B d'une demi-travée de ce triforium. En C, est tracée la claire-voie postérieure C' du plan, laquelle reçoit le vitrage; de sorte que l'on aperçoit les vitraux de cette claire-voie C à travers l'arcature antérieure. Ici le triforium se relie plus intimement avec les grandes fenêtres supérieures qu'à Amiens, au moyen des colonnettes de meneaux D. Mais les tympans T des deux arcatures sont encore pleins, tandis qu'un peu plus tard, comme à Notre-Dame de Paris, sous les roses du transsept (1260), dans le choeur des cathédrales de Beauvais et de Troyes (1250), dans le choeur de la cathédrale de Sées (1270), dans l'église abbatiale de Saint-Ouen de Rouen (1300), ces tympans sont eux-mêmes ajourés. Alors le triforium n'est que la continuation de la fenêtre supérieure, et n'est séparé de celle-ci que par une dalle formant plafond de la galerie vitrée et sol du chemin de ronde qui la surmonte.

La figure 14 explique cette disposition adoptée dans l'église abbatiale de Saint-Denis. En A, est le sol du triforium; en B, le sol du chemin de ronde. À Saint-Denis, la galerie a partout la même largeur et n'est plus rétrécie par des renforts au droit des piles, comme à la cathédrale d'Amiens. Le contre-fort C porte la colonne D qui reçoit les têtes des arcs-boutants 276. Le collatéral était couvert par des combles en pavillon, avec chéneau E, afin de permettre d'ouvrir les jours dans la cloison G 277.
L'exemple le plus complet et le plus développé peut-être du triforium, se reliant absolument à la fenêtre supérieure, se trouve à Sées, dans le choeur de la cathédrale, dont la construction date de 1270 environ 278. Ce monument, conçu d'une manière très-savante, mais mal fondé, sur un mauvais sol, a beaucoup d'analogie avec le choeur de l'église de Saint-Ouen de Rouen. Les défauts de structure, qui en ont compromis la durée, tiennent à une exécution insuffisante, faute de ressources probablement. Au point de vue de la théorie, le choeur de la cathédrale de Sées dépasserait même en valeur celui de l'église abbatiale de Saint-Ouen, s'il eût été fondé sur un bon sol, et si les matériaux eussent été convenablement choisis et d'une résistance proportionnée aux charges qu'ils ont à porter 279.

La figure 15 donne le triforium d'une des travées parallèles du choeur de la cathédrale de Sées. L'archivolte A du collatéral est surmontée d'un gâble, derrière le rampant duquel s'amorcent les colonnettes qui composent la claire-voie du triforium et la fenêtre haute. L'ordonnance de cette partie supérieure commence donc immédiatement au-dessus des archivoltes (voy. TRAVÉE, fig. 11); et, dès le niveau B, les sections de l'arcature du triforium et des meneaux des fenêtres sont indiquées. Une seule dalle C, qui fait appui des fenêtres, recouvre la galerie du triforium et sert de chemin de ronde extérieur au-dessus de cette galerie. Comme à Saint-Denis, comme dans le choeur de la cathédrale d'Amiens, la claire-voie vitrée extérieure D n'est pas semblable à la claire-voie intérieure, ce qui est fort bien calculé; car si les formes des arcatures à jour sont pareilles à l'extérieur et à l'intérieur, il en résulte en perspective des superpositions de lignes d'un mauvais effet. Au contraire, ces arcatures étant différentes, l'oeil les sépare assez naturellement, et les intersections des courbes produisent des combinaisons variées et riches. À Sées, comme à Saint-Ouen de Rouen, ce n'est plus un bahut plein, mais une balustrade à jour qui forme appui de la galerie, de sorte que, pour les personnes placées sur le sol inférieur, les vitraux de la claire-voie postérieure D se voient à travers cette balustrade. L'intention d'ajourer de plus en plus les travées au-dessus des collatéraux, et d'en faire comme une sorte de tapisserie translucide, sans interruption, devient évidente à dater de la seconde moitié de XIIIe siècle, et se manifeste jusque vers la fin du XIVe siècle, dans l'Île-de-France et les provinces voisines, sauf de rares exceptions. Comme les hautes fenêtres elles-mêmes, les galeries du triforium occupent alors tout l'espace compris entre les piles. Trois monuments religieux de cette époque (fin du XIIIe siècle), dus à un même architecte, très-probablement, font exception à cette règle: ce sont les cathédrales de Clermont (Puy-de-Dôme), de Limoges et de Narbonne, dont les choeurs furent seuls terminés avant le XIVe siècle. Dans ces trois églises, les fenêtres hautes n'occupent pas entièrement tout l'espace libre entre les piles portant les arcs des voûtes; elles sont plus étroites, et la claire-voie du triforium n'occupe également que la largeur des fenêtres. Ces galeries du triforium ne sont point ajourées extérieurement, mais possèdent un mur d'adossement plein, bien que les collatéraux soient couverts en terrasses, disposition qui, à notre avis, n'était d'ailleurs que provisoire. De plus, ces galeries pourtournent les piliers, au lieu de passer à travers, comme dans nos églises du Nord 280. Il s'en faut que ce parti ait la franchise du mode de structure adopté dans nos provinces du Nord. Les arcatures de triforium, isolées des piles et laissant un plein à droite et à gauche de celles-ci, ne produisent pas un bon effet, ne s'expliquent pas nettement. Et, de fait, aucune nécessité de construction ne motive ces sortes de trumeaux alourdissant les piles sans raison.
Pendant que le triforium se développait ainsi en ne faisant plus qu'un avec la fenêtre supérieure dans le Nord, en Bourgogne les architectes procédaient autrement pendant le XIIIe siècle. Ils conservaient le mur d'adossement plein pour appuyer le comble en appentis du collatéral, et, au lieu de réserver au-dessus du triforium un chemin de ronde extérieurement, ils le disposaient intérieurement. La fenêtre supérieure de la travée se trouvait ainsi élevée à l'aplomb de ce mur d'adossement, et non point à l'aplomb de la claire-voie intérieure, comme dans les exemples précédents 281.

Voici (fig. 16) un exemple de cette structure, pris dans la jolie église de Saint-Martin de Clamecy. On voit combien, dans ces monuments bourguignons, le triforium prend d'importance. C'est un véritable portique élevé au-dessus des archivoltes du collatéral. Ce système ne peut conduire à relier la galerie avec le fenestrage supérieur, posé en retraite; aussi ne le voyons-nous adopté en Bourgogne, et dans une partie du Nivernais, que quand, dans ces provinces, on abandonne les traditions locales, vers la fin du XIVe siècle, pour recourir au style de l'architecture du domaine royal. L'ordonnance du triforium-portique bourguignon devait nécessairement entraîner les architectes à décorer d'une manière particulière ces arcatures qui prenaient une si grande importance dans les nefs. Les colonnettes ne reposaient plus ici sur un bahut comme à Amiens, ou sur une balustrade, mais directement sur le sol de la galerie, accusé par un bandeau saillant; disposition qui contribuait encore à donner de la grandeur à cette ordonnance. À Semur en Auxois, les arcatures du triforium de l'église de Notre-Dame sont décorées de têtes saillantes très-habilement sculptées. Dans la nef de la cathédrale de Nevers, de petites caryatides supportent les colonnettes, et des figures d'anges remplissent les tympans (fig. 17).

Ces portiques sont élevés en grands matériaux, et, dans leur hauteur, les piliers eux-mêmes sont souvent composés de monostyles groupés 282. Habituellement, dans les églises bourguignonnes, les fenêtres supérieures n'ont pas l'importance relative (par suite de la grandeur du triforium) qu'elles prennent, au XIIIe siècle, dans les monuments religieux du domaine royal. La figure 16 en est la preuve. Quelquefois même le triforium se confond avec le fenestrage supérieur. L'église abbatiale de Saint-Seine (Côte-d'Or) nous fournit un exemple de cette singulière disposition, datant du commencement du XIIIe siècle (fig. 18).

Ici c'est le formeret de la voûte haute qui circonscrit l'arcature du triforium, qui n'est plus qu'une décoration. Ce dernier parti a été fréquemment adopté dans les églises normandes des XIIe et XIIIe siècles, en France comme en Angleterre. Mais le triforium dans les églises normandes mérite une étude particulière. Il se compose, pendant la première période, c'est-à-dire au XIe siècle, d'un étage élevé au-dessus du collatéral et couvert par une charpente apparente et d'un chemin de ronde supérieur au niveau des fenêtres hautes. On ne peut douter aujourd'hui (depuis les travaux entrepris par M. Ruprich Robert dans les deux églises abbatiales de Caen, l'Abbaye-aux-Dames et l'Abbaye-aux-Hommes) que les nefs de ces églises n'aient été couvertes originairement par des charpentes apparentes 283.

Or, il existe toujours, dans les monuments religieux d'une grande dimension, en Normandie, une galerie de circulation au-dessus du triforium, sous la charpente supérieure. Voici une coupe de la nef primitive de l'Abbaye-aux-Hommes (fig. 19) 284, qui explique clairement ce que nous venons de dire. En A, est le triforium avec sa charpente; en B, le chemin de ronde au droit des fenêtres supérieures, sous la grande charpente C. Il est aisé de se rendre compte de l'usage de ce chemin de ronde. Les charpentes apparentes étaient composées de pièces de bois formant des saillies, des entrevous; elles étaient décorées de peintures. Ces sortes d'ouvrages exigent un entretien fréquent, ne serait-ce même qu'un époussetage, car les araignées ne tardent pas à garnir de leurs toiles les creux laissés entre les chevrons ou solives. Ces bois ont besoin d'être visités pour éviter la pourriture causée par des infiltrations. Le chemin de ronde B facilitait donc cet entretien et cette inspection constante. De plus, il permettait de visiter et de réparer les vitraux des fenêtres supérieures, et de donner passage aux couvreurs pour réparer les toitures. En E, est tracée une travée, ou plutôt une demi-travée intérieure, car, dans la nef de l'église Saint-Étienne de Caen, les travées sont doubles suivant la méthode normande 285. La ligne ponctuée abcd indique la coupe longitudinale du chemin de ronde B. Au XIIe siècle, on remplaça, dans presque toutes les nefs normandes-françaises, les charpentes apparentes par des voûtes. Alors, pour contre-buter ces voûtes, dans le triforium A, on construisit le demi-berceau continu D, avec arcs-doubleaux f au droit des anciens pilastres f'. Ce demi-berceau, non plus que la voûte supérieure, n'exigèrent la destruction du chemin de ronde B; au contraire, ce chemin de ronde fut ouvert plus largement sur la nef et décoré de colonnettes (fig. 20).

Les fenêtres a, ainsi que les passages, furent conservés en relevant leur appui d'une assise, afin de trouver la nouvelle pente du comble. Le sol du chemin de ronde au niveau b, dans la disposition romane, fut abaissé en d, pour donner une proportion plus svelte à la galerie supérieure. L'architecte n'osa pas probablement ouvrir en g de nouvelles arcades, comme il l'avait fait contre la pile centrale de la travée, dans la crainte d'affaiblir les piles principales, et aussi parce que la perspective des arcs ogives les masquait en partie. Ainsi, la raison d'utilité qui avait fait pratiquer les chemins de ronde sous les charpentes supérieures des églises normandes primitives devenait, lorsque ces églises furent voûtées, un motif de décoration qui persiste dans les monuments de cette province jusqu'à la fin du XIIIe siècle.

Le chevet de la cathédrale de Lincoln (Angleterre) nous fournit un exemple des plus remarquables de la persistance de cette tradition (fig. 21). Là le triforium est encore couvert par une charpente apparente comme celui de l'église normande romane, et le chemin de ronde supérieur se combine avec le fenestrage ouvert sous les formerets. Ce chemin de ronde n'a plus alors une utilité réelle, puisque les vitraux pourraient, s'il n'existait pas, être réparés du dehors en passant sur la tablette de recouvrement du comble du triforium. La claire-voie intérieure du chemin de ronde se relie à la fenêtre vitrée au moyen de linteaux formant l'assise du tailloir des chapiteaux. Il y a dans ce parti un désir de produire de l'effet par le jeu de ces deux claires-voies dont l'une, celle intérieure, n'est qu'une décoration. On remarquera, dans cet exemple, combien est chargée de moulures et d'ornements l'arcature du triforium, et combien cette richesse contraste avec l'aspect nu de la charpente apparente. Il est évident que, dans cette architecture normande du XIIIe siècle, la tradition romane conserve son empire et devient souvent l'occasion de formes et de partis qui ne sont plus justifiés par suite des changements introduits dans le mode de structure. Une disposition analogue a été adoptée dans le choeur de la cathédrale d'Ély, disposition qui reproduit plus exactement encore celle des chemins de ronde supérieurs des églises normandes romanes. Dans notre architecture française, au contraire, l'école laïque du XIIe siècle laisse de côté toutes les traditions romanes, et ne s'inspire plus que des nécessités imposées par le nouveau mode de structure; elle procède toujours d'une manière logique, claire, ne met en oeuvre que ce qui est nécessaire, et peut toujours rendre raison de ce qu'elle fait. Il serait à souhaiter qu'on en pût dire autant de nos écoles modernes d'architecture.
Mais nous devons nous borner, les documents abondent, et nous ne pouvons ici que signaler les principaux, ceux qui présentent un caractère tout particulier. Ces exemples suffisent, nous l'espérons, à faire ressortir la variété que nos maîtres du moyen âge savaient apporter dans leurs conceptions, sans jamais abandonner un principe admis.
Nous ne parlerons qu'incidemment du triforium, dont la forme est inusitée. La petite église de Champeaux (Seine-et-Marne) possède un triforium s'ouvrant directement sous le comble du collatéral par des roses, aujourd'hui bouchées, et très-probablement garnies, dans l'origine, par des meneaux dans le genre de ceux qui remplissent les roses percées au-dessus du triforium de la cathédrale de Paris. Dans quelques églises, le triforium ne consiste qu'en une baie simple ou jumelle s'ouvrant également sous le comble. La cathédrale de Béziers, dans les parties de la nef refaites au XIVe siècle, nous montre un triforium ainsi composé (fig. 22).

Sa claire-voie, ouverte sous le comble du collatéral, consiste en deux baies carrées prolongeant les meneaux de la fenêtre supérieure. Quelquefois, mais très-rarement, dans la bonne architecture française, le triforium est simulé et n'est alors qu'une arcature en placage, une simple décoration occupant la hauteur du comble du collatéral. Les dispositions adoptées à Saint-Denis, dans les cathédrales de Troyes, de Beauvais, de Sées, dans l'église abbatiale de Saint-Ouen de Rouen, persistent pendant les XIVe et XVe siècles. Les détails du triforium deviennent plus déliés, les profils plus maigres, mais on ne voit apparaître aucun parti nouveau. Les arcatures se modifient en raison du goût du moment, mais elles continuent à se relier au fenestrage supérieur. À la fin du XVe siècle, cependant, il arrive parfois que la galerie du triforium prend une ordonnance spéciale, chargée de détails, de redents, de contre-courbes, de sculptures, en laissant entre elle et le fenestrage un intervalle plein. An XVIe siècle, on se contente de substituer, comme à Saint-Eustache de Paris, par exemple, des formes se rapprochant de l'architecture romaine aux formes gothiques. Ces tentatives, plus ou moins heureuses, ne constituent pas une invention, un perfectionnement; ce sont là des questions de détail sur lesquelles il ne paraît pas utile de s'étendre.
Note 262: (retour) L'église abbatiale de Saint-Germer est, comme structure, en retard sur l'église abbatiale de Saint-Denis, et sur les cathédrales de Noyon, de Senlis et de Paris; elle appartient a une école moins avancée, qui tient encore par bien des points au système roman: c'est pour cela que nous la mettons ici en première ligne, sinon par la date (car elle ne fut élevée qu'en 1160), mais par le style.
Note 279: (retour) Les fondations du choeur de la cathédrale de Sées ne sont que des maçonneries appartenant à un monument beaucoup plus ancien, sur lesquelles les constructions sont appuyées tant bien que mal, et ces fondations mal maçonnées ne sont pas établies sur le sol résistant. Évidemment il y a eu là une nécessité d'économie.
TRILOBE, s. m. Ornement, baie, rosace à jour, à trois lobes. (Voy. TRÈFLE.)
TRINITÉ, s. f. Le moyen âge a essayé de représenter matériellement le mystère de la sainte Trinité. C'est à l'école d'Alexandrie qu'il faut avoir recours si l'on veut connaître les diverses phases par lesquelles a dû passer la pensée de la Trinité avant d'arriver à l'état de dogme. Nous n'avons pas, bien entendu, à nous occuper de l'exposition du dogme, mais à rendre compte de la forme sensible donnée à la conception de la Trinité dans nos monuments du moyen âge. «Dès le IVe siècle, écrit M. Didron 286, avec saint Paulin, évêque de Nole, qui est né en 353 et est mort en 431, apparaissent les groupes de la Trinité. À l'abside de la basilique de Saint-Félix, bâtie à Nole par Paulin lui-même, on voyait la Trinité exécutée en mosaïque.»
Saint Paulin expliquait, dans les vers qu'il fit à cette occasion, que le Christ était représenté sous la forme d'un agneau, l'Esprit-Saint sous celle d'une colombe, et que «la voix du Père retentit dans le ciel». Le même évêque, dans la basilique élevée à Fondi sous le vocable de Saint-Félix, avait fait représenter le Fils sous la forme d'un agneau avec la croix, le Saint-Esprit en colombe, et le Père sous l'apparence d'une main (probablement) qui couronnait le Fils.
«....., et rutila genitor de nube coronat.»
Comme l'observe très-bien M. Didron 287: «L'anthropomorphisme, qui avait effarouché les premiers chrétiens et qui semblait rappeler le paganisme, ne trouva pas la même résistance pendant le moyen âge proprement dit. Une fois arrivé au IXe siècle, on n'eut plus rien à craindre des idées païennes... Le Père éternel, dont on n'avait osé montrer que la main encore, ou le buste tout au plus, se fit voir en pied. Cependant il ne prit pas une figure spéciale; mais il emprunta celle de son Fils, et, dès lors, il devint fort difficile de les distinguer l'un de l'autre. Le Fils continua d'apparaître tel qu'on l'avait vu sur la terre... La colombe quitta quelquefois aussi son enveloppe d'oiseau, pour prendre la forme humaine. Comme le dogme déclarait nettement que les trois personnes étaient non-seulement semblables, mais égales entre elles, les artistes étendirent aux représentations la similitude et quelquefois même l'égalité des hypostases divines.» En effet, bon nombre de peintures de manuscrits des XIe et XIIe siècles 288 représentent les trois personnes divines sous la forme de trois hommes de même âge et de même apparence. Au portail de l'église collégiale de Mantes, on voit, dans la voussure de la porte occidentale, la Trinité figurée par une croix que portent deux anges (le Fils), par le Père sous forme d'un homme jeune, et l'Esprit en colombe. Mais les artistes prétendirent identifier les trois personnes divines, afin de faire comprendre aux fidèles à la fois leur individualité et leur réunion en une seule puissance. Il existe, sous le porche occidental, non terminé, de Saint-Urbain de Troyes, un bas-relief de bois datant des dernières années du XIIIe siècle, qui représente la Trinité (fig. 1)

Le Père est au milieu, coiffé de la tiare à triple couronne, comme un pape; de la main droite, il bénit; de la gauche, il tient la terre. À sa droite est le Fils couronné d'épines et portant la croix. À sa gauche, l'Esprit, sous la figure d'un jeune homme imberbe, tenant une colombe. Ces trois personnages n'ont ensemble que quatre jambes, adroitement drapées de façon à faire croire qu'ils en ont deux chacun. De petites figures d'un homme et d'une femme agenouillés (les donateurs) sont sculptées aux deux extrémités du groupe. L'impossibilité de séparer les trois personnes divines est ainsi matériellement indiquée par la disposition des jambes. Quelquefois la Trinité est représentée sous la forme d'un homme ayant une tête à trois visages, une de face et deux de profil, et deux yeux seulement; ou bien encore, c'est une figure géométrique ainsi disposée (fig. 2).

Ce triangle mystique était visible
encore sur la façade d'une maison de Bordeaux, il y a peu d'années. Des
vitraux, des vignettes de manuscrits, le représentent assez fréquemment
pendant les XVe et XVIe siècles. À la même époque, dans beaucoup de
portails d'églises, la Trinité se montre ainsi: Le Père assis, coiffé de
la tiare, tient le Christ en croix devant lui. De la bouche du Père
descend la colombe sur le crucifix. Ces diverses représentations ont un
intérêt; elles indiquent la marche de l'art comme expression sensible
des idées théologiques selon le temps. Pendant les premiers siècles, on
redoute évidemment l'expression trop matérielle d'un mystère qui doit
rester impénétrable. Le Fils est un agneau, l'Esprit une colombe, le
Père une voix ou une main sortant d'une nuée. Plus tard, l'artiste se
rassure, il donne aux trois personnes divines l'individualité. Elles
sont séparées, distinctes, mais semblables et assises sur un trône
commun. Puis on cherche à faire comprendre, par un artifice matériel,
l'unité des trois personnes. Au XVe siècle, c'est une sorte de problème
géométrique posé devant la foule et dont la solution est posée comme une
énigme; ou encore c'est un jeu d'artiste, comme cette tête à trois
visages. Au XVIe siècle, on adopte une forme antérieure, mais peu
répandue, celle de la distinction absolue des trois personnes, en raison
du rôle que leur attribue l'idée chrétienne. Le Père est le personnage
immuable; le Fils, le rédempteur; et l'Esprit, l'émissaire émané du
Père; amour, selon saint Augustin et saint Thomas d'Aquin. «Jésus, ayant
été baptisé, sortit de l'eau sur-le-champ, et voilà que les cieux lui
furent ouverts et qu'il vit l'Esprit de Dieu descendant sous la forme
d'une colombe et venant sur lui. Alors une voix du ciel dit: Celui-ci
est mon fils bien-aimé en qui je me suis complu
289.» Il est donc assez
important de faire ces distinctions des caractères donnés à la Trinité
figurée dans les monuments anciens.
Le moyen âge admet aussi une Trinité du mal. De même que les théologiens avaient prétendu trouver le reflet de la Trinité sainte dans l'âme humaine: volonté, amour, intelligence, confondues en une substance, ils supposèrent le mal avec des facultés correspondantes. Des sculptures, des peintures de vitraux et de manuscrits représentent en effet la Trinité satanique (fig. 3) 290. Cette miniature du XIIIe siècle montre le pécheur soumis aux lois de la Trinité du mal, armée d'un glaive et couronnée. Satan est souvent représenté ainsi dans les bas-reliefs du jugement dernier. Outre ses trois visages qui correspondent, dans le mal, aux trois hypostases de Dieu, son corps est couvert parfois d'autres faces humaines, comme pour marquer que la puissance du mal est plus étendue, par ses facultés, que celle du bien.
TROMPE, s. f. Appareil de claveaux, ayant la figure d'une coquille, qui sert à porter en encorbellement, soit un angle saillant sur un pan coupé, soit un parement droit sur un angle rentrant. Les constructeurs du moyen âge ont fait un grand usage des trompes pour porter les flèches de pierre à huit pans sur les tours carrées, des échauguettes sur des parements, des tourelles en encorbellement; ils ont employé les trompes à la place des pendentifs pour établir des coupoles sur des arcs-doubleaux reposant sur quatre piles.

Les trompes sont appareillées, soit au moyen d'une suite d'arcs concentriques, soit en forme de cône. La figure 1 donne une trompe composée d'arcs concentriques biseautés à 45 degrés, de manière à pénétrer les côtés du carré. En A est tracée la projection horizontale d'une de ces trompes, en B son élévation, en C sa coupe. Ces sortes de trompes sont les plus anciennes, on en trouve dans les monuments du XIe siècle; elles sont d'un appareil facile, chaque arc étant indépendant. On en voit souvent à la base des pans des flèches des XIe et XIIe siècles pour passer du carré à l'octogone.

Au XIIe siècle apparaissaient aussi déjà des trompes coniques, ainsi que le montre la figure 2. Pour éviter la réunion des angles très-aigus des claveaux composant la trompe, au sommet du cône, les appareilleurs ont souvent établi un morceau de pierre demi-circulaire à la place de ce sommet en a; ils formaient ainsi un petit cintre sur lequel repose l'intrados des claveaux. Telles sont les trompes que l'on voit encore aux tourelles de l'abbaye de Chailly (Oise) (fin du XIIe siècle) (fig. 3).

Alors cette première pierre posée au sommet de l'angle rentrant en b, évidée en cône, est appelée trompillon.
S'il s'agit, comme dans les deux exemples précédents, d'obtenir un plan à 45 degrés, coupant un angle droit rentrant, en projection horizontale, la construction des trompes ne présente aucune difficulté. Les claveaux, dans ce cas, ont leur extrados tracé sur un cylindre parallèlement à son axe et leur intrados sur un cône; mais si l'on veut établir un angle saillant suspendu sur un angle rentrant, les difficultés se présentent.

Ainsi (fig. 4), soit un angle rentrant ABC, sur lequel il s'agit de suspendre une construction formant l'angle saillant ADC, l'appareilleur commencera par établir une suite de corbeaux suivant la diagonale BD du carré (voyez la projection verticale P), puis il remplira les deux vides AD, CD, au moyen de deux trompes coniques biaises. Le second claveau a formera tas de charge, pour porter l'angle saillant b. La bascule des corbeaux est maintenue par la charge qui porte sur leur queue de d en e et qui s'élève jusqu'au-dessus de l'extrados des arcs.
À la fin du XVe siècle, on se plaisait à soulever des difficultés de coupe de pierre, pour faire preuve de savoir. Les constructeurs cherchèrent alors à supprimer ces corbeaux, et à soutenir les angles saillants sur un angle rentrant ou sur un pan coupé, par un système d'appareil des claveaux. Mais alors il fallait que ces claveaux fussent taillés à crossettes, ce qui, en principe, est une mauvaise méthode, la pierre n'étant plus chargée parallèlement à son lit. Ce sont là des artifices de stéréotomie qui n'ont rien à voir avec l'art sérieux du constructeur, et qui sont faits pour amuser les esprits curieux de problèmes inutiles.
TROMPILLON, s. m.--Voyez TROMPE.
TRONE, s. m.--Voyez CHAIRE.
TROU DE BOULIN, s. m.--Voyez ÉCHAFAUD.
TRUMEAU, s. m. Ce mot s'applique généralement à toute portion de mur d'étage comprise entre deux baies. De même qu'un crénelage se compose de créneaux, qui sont les vides, et de merlons, qui sont les pleins, le mur d'une habitation comprend des trumeaux et des fenêtres à chaque étage. On donne le nom de trumeaux, spécialement dans l'architecture du moyen âge, aux piliers qui divisent en deux baies les portes principales des grandes salles, des nefs d'églises, des courtils, des préaux, etc. Pour les grandes portes monumentales, les architectes du moyen âge ne pensaient pas que les vantaux de bois battant en feuillure l'un sur l'autre, présentassent une fermeture suffisamment solide. Entre ces deux vantaux ils élevaient une pile de pierre formant battement fixe, pile dans la large feuillure de laquelle venaient s'engager les verrous horizontaux, les fléaux ou barres des vantaux de bois 291. Ce parti devint un des beaux motifs de décoration des portes principales; il permettait aussi de porter les linteaux de pierre sous les tympans, lesquels étaient chacun, sauf de très-rares exceptions, d'une seule pièce.
Nous ne trouvons, dans l'antiquité grecque ou romaine, aucun exemple de portes divisées par un trumeau; cette disposition appartient exclusivement, paraîtrait-il, au moyen âge, et ne date que de la fin du XIe siècle. Elle permettait d'établir facilement, par une seule issue, deux courants pour la foule, sans qu'il y eût confusion, l'un entrant, l'autre sortant. Les baldaquins de bois, transportables, recouverts d'étoffes, qu'on appelle dais, et que le clergé, en France particulièrement, fait porter au-dessus du prêtre desservant ou de l'évêque en certaines circonstances, dais qui atteignent les dimensions d'une petite chambre, ne pouvant passer par l'une des deux baies des portes principales des églises, on supprima parfois, dans le dernier siècle, les trumeaux milieux; des objets d'art d'une grande valeur furent ainsi détruits. Ces mutilations, heureusement, exigeaient des dépenses assez considérables pour soutenir les linteaux et tympans; aussi existe-t-il encore un bon nombre de portes garnies de leurs trumeaux. L'une des plus anciennes et des plus remarquables est la grande porte de la nef de l'église abbatiale de Vézelay. Le trumeau de cette porte est franchement accusé et présente un profil d'un très-beau caractère 292. Les baies sont larges; les deux linteaux et le tympan qui les surmontent reposent solidement sur les deux encorbellements de ce pilier central (voyez fig. 1).

La statue de saint Jean-Baptiste, vêtu d'une robe et d'une peau, portant l'agneau dans un nimbe, occupe l'axe du pilier; il précède, pour ainsi dire, l'assemblée qui garnit le tympan. À sa droite et à sa gauche sont deux figures de prophètes, et ses pieds reposent sur un beau chapiteau. L'intention évidente de l'architecte a été de laisser l'espace le plus large possible pour la foule, et de soulager la portée des linteaux au moyen de ces puissantes saillies latérales décorées de figures. Quand les vantaux sont ouverts, l'effet de ce trumeau se détachant sur le vide de la nef est imposant. Rien, dans l'antiquité, ne rappelle ces formes, ces silhouettes d'un effet étrange. L'artiste qui a composé cette porte, qui a su profiler ce trumeau, savait son métier. Là nulle hésitation, la décoration est en parfaite harmonie avec la structure, et, en examinant cette oeuvre, l'idée ne vous vient pas qu'elle pût être conçue autrement. Il est rare que les trumeaux de portes aient cette ampleur magistrale. Pendant le XIIe siècle, ils ne consistent qu'en une pile que l'architecte projette aussi grêle que possible pour ne pas gêner la circulation, et qui est décorée habituellement par la statue du personnage divin ou du saint sous le vocable duquel est placée l'église. C'est sur ces données qu'est composé le trumeau de la porte centrale occidentale de la cathédrale de Sens (fig. 2); cette porte date de 1170 et fut restaurée à la fin du XIIIe siècle.

La statue de saint Étienne, patron de l'église, décore le trumeau, sur les parois duquel s'élèvent des ornements du meilleur style 293. Les bas-reliefs qui décoraient la partie inférieure du pilier ont été mutilés à la fin du dernier siècle. On voit, à la porte Sainte-Anne de la cathédrale de Paris (côté droit de la façade), un trumeau un peu antérieur à celui-ci, sur la face duquel se dresse la statue de saint Marcel. Sous les pieds du saint est représenté le sépulcre de la femme damnée qui servit d'habitation au dragon tué par le saint évêque, dont la tête est protégée par un dais. Les piliers séparatifs des portes étaient traités d'une manière beaucoup plus simple, lorsque l'édifice ne comportait pas une décoration luxueuse. Nous donnons ici (fig. 3) le trumeau de la porte principale de l'église de Souvigny (Yonne), église de la fin du XIIe siècle, bâtie avec une extrême simplicité. Ce trumeau est un monostyle quadrangulaire décoré par une colonnette prise aux dépens de l'épannelage, et surmonte de deux corbeaux qui sont destinés à soulager la portée des linteaux.
Ce n'est certes pas par la richesse des détails que se recommande ce morceau de pierre; cependant la pureté des profils, l'élégance du tracé, en font une de ces oeuvres qui plaisent aux yeux. Les belles époques de l'art ont seules le secret de charmer par leurs productions les plus simples aussi bien que par leurs splendides conceptions. Quand un art n'a plus, pour plaire, d'autres ressources que la profusion de la sculpture et la richesse de la matière, il est jugé: c'est un art de décadence; s'il surprend un instant, la satiété suit bientôt cette première impression. Prenons encore exemple dans ces compositions simples qui ne séduisent que par une heureuse proportion, une étude délicate du tracé.

Voici (fig. 4) le trumeau de la porte de l'église de
la Nativité à Villeneuve-le-Comte (Seine-et-Marne)
294. Une statue
surmontée d'un dais décore seule ce monostyle. L'arcature, formant
linteau, naît sur la pile et encadre des figures bas-reliefs,
représentant la sainte Vierge et les trois rois mages. La statue de
l'évêque repose sur un stylobate à section quadrangulaire, dont la
proportion est étudiée avec beaucoup de soin. On reconnaît, dans la
composition de cette porte, la main d'un de ces maîtres de
l'Île-de-France qui savaient donner à leurs compositions les plus
simples le cachet de distinction particulier à cette école.
Les églises de Bourgogne bâties pendant la première moitié du XIIIe
siècle fournissent de remarquables exemples de portes avec trumeaux. La
beauté des matériaux de cette province permettait de donner à ces
monostyles une faible section, par conséquent une apparence de légèreté
que l'on ne trouve point ailleurs. Malheureusement, les iconoclastes de
1793 ont fait, en Bourgogne, à toute la statuaire, une guerre acharnée;
bien peu de trumeaux ont conservé leurs statues. La composition demeure
toutefois, et c'est ce qui nous préoccupe ici spécialement. Voici (fig.
5) le trumeau de la porte centrale de l'église de Semur (Côte-d'Or). Ce
trumeau, dont la section horizontale est tracée en A, est étroit, mais
profond, de manière à porter deux arcs de décharge au-dessus des deux
baies. La partie extérieure est décorée par une colonnette avec
chapiteau à tailloir circulaire, portant la statue de la sainte
Vierge
295; sur les flancs de la pile sont sculptées les armes de
Bourgogne et la fleur de lis de France entremêlées de quelques petits
personnages finement traités. Deux corbeaux avec figurines soulagent les
linteaux qui descendent en contre-bas de la statue, de telle sorte que
celle-ci se détache en partie sur le tympan, disposition qui donne de la
grandeur à la composition. Cette statue était surmontée d'un dais qui
fut refait vers la fin du XIIIe siècle, ainsi que le montre notre
figure. À l'église Notre-Dame de Dijon, qui date de la même époque
296,
et qui a beaucoup de points de ressemblance avec celle de Semur, le
trumeau de la porte centrale, très-mince, se compose d'une colonnette à
l'extérieur; portant la statue, et d'une seconde colonnette plus haute
intérieurement, formant battement (voyez la section, fig. 6, en A, faite
au niveau de l'adossement de la statue). Sur le fût de la colonnette
intérieure est sculptée une tête servant de gâche 6 aux verrous des deux
vantaux. Ce détail, d'un travail remarquable, indique le soin que les
artistes apportaient jusque dans les menus accessoires, comme ils
savaient prévoir les moindres nécessités de la structure et en faire un
motif de décoration. La pierre employée ici étant d'une extrême dureté,
l'architecte a réduit autant que possible la section du trumeau. La
qualité des matériaux employés a donc évidemment influé sur la forme de
ces piliers séparatifs des baies de portes. Quelquefois un bénitier
tenait au trumeau, à l'intérieur, si celui-ci était assez profond pour
permettre le dégagement des deux vantaux.
Pendant le XIVe siècle, la forme donnée aux trumeaux de portes se modifie peu; le principe admis dès le XIIIe siècle persiste, c'est-à-dire que la pile se compose d'un soubassement plus ou moins riche sur lequel se dresse une statue adossée, surmontée d'un dais (voyez PORTE). On voit de beaux trumeaux séparatifs aux portes des cathédrales de Paris, d'Amiens, de Chartres, de Bourges, de Rouen. À dater de la fin du XIVe siècle, les trumeaux ne s'arrêtent pas toujours sous les linteaux; ils pénètrent le tympan, présentent une décoration saillante sur celui-ci, qui prend beaucoup d'importance. Tels sont, par exemple, les trumeaux des portes de la façade de la cathédrale de Tours qui datent du commencement du XVIe siècle, ceux des églises de Saint-Eustache de Paris, de Saint-Wulfrand d'Abbeville, etc. Les articles PORTE et TYMPAN rendent compte de ces dispositions, qui appartiennent à la fin du XVe siècle.
TUILE s. f. Tablettes de terre cuite employées pour couvrir les bâtiments. Il serait difficile de trouver l'origine de la tuile: les Asiatiques se servaient de ce moyen de couverture avant la civilisation grecque; les Doriens faisaient usage de la tuile et la fabriquaient avec perfection; les Romains ne couvraient guère leurs édifices qu'en tuiles ou en métal, et partout où ils ont passé, on trouve quantité de fragments de ces tuiles, dites romaines, dont la forme est connue de tout le monde.
La couverture romaine se composait de rangs juxtaposés de tuiles-canal plates, à rebords et à recouvrement, sur les joints desquels on posait des tuiles creuses également à recouvrement. La tuile plate romaine, comme la tuile grecque; était de forme rectangulaire; ses dimensions variaient de 0m,40 à 0m,34 de long sur 0m,27 à 0m,23 de largeur. Les longs côtés parallèles munis de rebords se recouvraient au moyen d'encoches pratiquées au-dessous des rebords, à leur extrémité inférieure. Ce système exigeait une main-d'oeuvre assez difficile et beaucoup de soins pendant la mise au four. Les premiers siècles du moyen âge continuèrent tant bien que mal ce procédé de fabrication; mais il est facile de distinguer les tuiles faites depuis le IVe siècle jusqu'au Xe, des tuiles romaines. Ces tuiles des premiers temps du moyen âge sont grossières, gauches, se recouvrent mal et sont d'une dimension plus petite que les tuiles romaines. C'est vers le XIe siècle que l'on renonça aux encoches de recouvrement. On donna, dans les provinces du midi de la France qui avaient conservé les traditions antiques la forme d'un trapèze aux tuiles-canal plates, de manière qu'elles pussent se recouvrir sans encoches et par l'introduction du petit côté dans le plus grand.

La figure 1 explique ce système de couverture de tuiles que nous trouvons adopté, dès la fin du XIe siècle, dans nos provinces du Languedoc et de la Provence. Relativement à leur longueur, ces sortes de tuiles sont plus larges que ne l'est la tuile romaine, afin de laisser un écartement suffisamment dégagé entre les tuiles de couvre-joints, qui elles-mêmes devaient être assez ouvertes pour couvrir l'intervalle occupé par les rebords de la tuile-canal. Les tuiles-canal étaient primitivement posées à cru sur les chevrons, ainsi que l'indique notre figure, sans endôlement. La difficulté dans ces sortes de couvertures était de combiner les arêtiers. Les tuiles d'arêtiers, qui se posent aisément sur un comble dont les pans sont plans, ne peuvent être fixées sur les rencontres de pans composés de tuiles-canal avec recouvrements. C'est à l'aide du mortier que l'on parvient à retenir tant bien que mal ces tuiles d'arêtiers; mais il n'est pas besoin de dire que ce moyen est contraire aux conditions d'une bonne structure. Les charpentes qui reçoivent les tuiles sont sujettes à des mouvements produits par les changements de température; dans ce cas, ces renformis de mortier se brisent, les tuiles d'arêtiers se descellent et sont retournées par le vent. On évitait cet inconvénient, pendant les XIe et XIIe siècles, en posant, lorsque les édifices étaient voûtés, des arêtiers de pierre très-puissants, avec rebords de recouvrement sur les pans des couvertures. On voit encore les restes de l'emploi de ce système dans quelques édifices de la Provence et du Languedoc, notamment dans l'église de sainte Madeleine de Béziers.

La figure 2 explique la disposition de ces arêtiers de pierre 297, terminés à leur extrémité inférieure par un antéfixe A tenant au premier morceau, lui donnant du poids et de l'assiette à l'angle de la corniche. En B est tracé le profil de l'arêtier, et en C son plan, avec la position des tuiles-canal à rebords. Les tuiles biaises étaient moulées exprès pour la place ou simplement coupées. L'espace ab était suffisant pour loger l'épaisseur de la tuile-canal plate et de la tuile couvre-joints. Sur le dos de l'arêtier, une entaille e rejetait l'eau de pluie sur la couverture et empêchait qu'elle ne lavât les joints, simplement garnis de ciment 298. Si ce système de couverture était entièrement posé sur des charpentes sans voûtes sous-jacentes, il n'était pas possible d'employer les arêtiers de pierre que donne la figure 2; ces arêtiers devaient être, comme les tuiles des pans, de terre cuite. Alors, pour les constructions faites avec soin, on fabriquait des tuiles d'arêtiers spéciales, en raison de la pente de la toiture. Ces tuiles d'arêtiers étaient munies d'oreillons qui s'emboîtaient sur les tuiles couvre-joints des pans (voy. la fig. 3) 299.

Ainsi n'était-on pas obligé de sceller ces arêtiers à l'aide du mortier. Il ne faut pas omettre les tuiles gouttières posées à la base des combles en guise de chéneaux, pour recevoir les eaux pluviales et les conduire dans des tuyaux de descente de terre ou dans des gargouilles saillantes. Il n'est pas besoin de dire que ces tuiles gouttières n'étaient employées que dans les constructions les plus ordinaires élevées en brique ou en moellon. C'était un moyen de recueillir les eaux de pluie et de les approvisionner dans des citernes. Les tuiles gouttières que l'on trouve encore dans le midi et l'ouest de la France sont très-grandes; elles mesurent en longueur 0m,65 (2 pieds), et ont d'un côté un rebord A prolongé qui servait à les sceller à la tête du mur sous l'égout du toit (voy. fig. 4).

Bien entendu, ces tuiles étaient posées suivant un plan incliné, et se trouvaient ainsi plus éloignées de l'égout du comble, à l'extrémité inférieure du chenal qu'à son point le plus élevé. Ce moyen ne pouvait donc convenir qu'à des façades de peu d'étendue.
C'est vers la fin du XIIe siècle que les terres cuites pour couvertures, pour carrelages, pour cintres et faîtières, atteignent un assez grand développement. Les moyens de fabrication se perfectionnèrent encore pendant le XIIIe siècle. La tuilerie de cette époque est remarquablement belle et bonne. Les terres, soigneusement épurées et corroyées, sont bien cuites et souvent en très-grandes pièces.
Dans les provinces du nord de la France, dès la fin du XIe siècle, on avait abandonné le système romain pour les couvertures de tuiles. C'est qu'en effet ce système ne convient guère aux climats brumeux. Bientôt la poussière arrêtée dans ces canaux, l'humidité aidant, développe des mousses et des végétations qui envahissent les toitures. Par les bourrasques d'hiver, la neige s'introduit sous les couvre-joints et pourrit les charpentes; son poids augmente beaucoup celui de ces couvertures déjà très-lourdes, et fatigue les chevronnages. Si la pente est très-faible, par les temps de pluie fine chassée par le vent, l'eau s'introduit entre les tuiles, qui se recouvrent seulement d'un tiers. Si la pente est assez prononcée pour assurer l'écoulement des eaux, les tuiles, ébranlées par le vent, glissent les unes sur les autres, et il faut sans cesse les relever. On chercha donc un autre système de couverture de terre cuite, et l'on commença par fabriquer de grandes tuiles plates de 0m,33 (1 pied) de long sur 0m,27 (10 pouces) de largeur, et d'une épaisseur de 0m,022 (10 lignes). Ces premières tuiles plates (nous disons premières, parce que ce sont les plus anciennes que nous ayons pu trouver et dont la fabrication remonte à la fin du XIe siècle) paraissent avoir été fort en usage en Bourgogne et dans une partie du Nivernais pendant le XIIe siècle. Elles sont bien planes, avec un rebord à la tête par-dessous, formant crochet continu.

Ce rebord (voy. fig. 5) reposait sur des lattes de merrain, épaisses, larges et formant presque un endôlement (voyez en A). À Cluny, à Mâcon, à Vézelay, on trouve encore de ces sortes de tuiles depuis longtemps hors d'usage et employées comme tuileaux, ou abandonnées dans les débris qui remplissent les reins des voûtes d'anciens édifices.
Mais la province où la tuile paraît avoir été étudiée avec le plus de soin, est la Champagne. Il y a la tuile dite ordinaire et la tuile dite du comte Henri. La première a 0m,35 sur 0m,215 de largeur (13 pouces sur 8). Ces tuiles (dont les plus anciennes remontent au XIIIe siècle) sont percées d'un trou et munies d'un crochet par-dessous. Nous allons expliquer pourquoi. Alors les chevronnages étaient posés, tant pleins que vides; c'est-à-dire que l'espace laissé entre chaque chevron était égal à la largeur même du chevron. Ces chevrons avaient, lorsqu'il s'agissait de couvrir en tuiles, 0m,11 (faible) de large (4 pouces); ils laissaient donc entre eux un intervalle de 4 pouces.

Mais ces chevrons n'étaient pas égaux d'épaisseur (voy. fig. 5 bis): les maîtres chevrons portant fermes avaient 0m,14 (de 5 à 6 pouces); les chevrons intermédiaires, ou chanlattes, n'avaient que 0m,08 (3 pouces: voy. en A).
L'espace entre les axes a, b ,c était donc de 0m,22 (faible). Sur ces chevrons étaient clouées les lattes de chêne, espacées les unes des autres de 0m,115. Or, la tuile (voy. en B) possède, comme nous l'avons dit, un crochet e par-dessous, et un trou t, crochet et trou ménagés au tiers de la largeur de la tuile. Donc, lorsque l'ouvrier voulait couvrir, il accrochait la tuile à la latte de manière que le trou se trouvât sur le chevron, puis il enfonçait un clou ou même une cheville de bois, par ce trou, pénétrant dans le chevron. Les trous se trouvant tantôt à la droite, tantôt à la gauche, les rangs de tuiles superposés avaient toujours les trous et les crochets sur une même ligne; c'est-à-dire, les crochets au droit des lattes, les trous au droit des chevrons (voy. en C une portion de couverture où les tuiles sont présentées la pose en train, et en C' le géométral de la couverture avec la pose des tuiles). Ces tuiles, que l'on trouve encore fréquemment sur les édifices de la Champagne, et particulièrement à Troyes, sont très-bien faites, les crochets bien soudés avec empattements latéraux (voy. en B). Elles sont légèrement convexes pardessus pour bien pincer la pente et ne donner point de prise au vent. Les crochets ont 0m,016 de saillie. Ceux-ci, se trouvant toujours entre les chevrons, mordaient complétement la latte; la tuile était déjà maintenue toute seule, sans que le couvreur eût besoin d'y mettre la main. Il pouvait alors enfoncer le clou ou la cheville dans le trou, clou ou cheville qui mordait en plein bois du chevron. Nous avons dit que l'espace entre les chevrons d'axe en axe était de 0m,22 (faible). Or les tuiles ayant 0m,215, en tenant compte des 0,002 ou 0,003 de jeu entre chaque tuile, on voit que la largeur de ces tuiles correspondait exactement aux entre-axes des chevrons. On comprend combien devait être durable une couverture ainsi faite, les tuiles étant d'excellente qualité. Le pureau de ces tuiles n'est que de 0m,115. Or ces tuiles ayant 0m,35 de longueur, il y a toujours, sur le comble, trois épaisseurs de lames de terre cuite. L'épaisseur de ces tuiles champenoises est de 0m,022 (10 lignes). Il était fabriqué des tuiles en forme de trapèze pour la partie des couvertures le long des arêtiers, et encore aujourd'hui les tuiliers champenois sont tenus de fournir ces tuiles biaises sans augmentation de prix (voy. en D).

Voici quelles étaient la dimension et la forme de la tuile dite du comte Henri (fig. 6). Cette tuile, plus petite que la précédente, est habituellement émaillée sur le pureau, c'est-à-dire de a en b. Sa rive inférieure d est biseautée pour donner une couverture plus unie et ne laisser aucune prise au vent. Son crochet est bien taillé au couteau, avec une légère encoche au-dessus, en e, afin que le couvreur, dans le tas, puisse avec la main reconnaître, sans les retourner, quelles sont les tuiles du rang qu'il pose. Ces dernières tuiles s'attachaient sur des chevronnages plus délicats que ceux de la tuile ordinaire, et parfois sur un endôlement, c'est-à-dire sur de fortes lattes équivalant à des voliges, posées presque jointives, de manière à laisser seulement le passage du crochet. Alors les clous étaient enfoncés dans ces lattes épaisses et larges, sans tenir compte du chevronnage 300.
La tuile du comte Henri est fabriquée avec plus de perfection encore que la tuile ordinaire de Champagne. On remarquera que le trou est plus large par-dessous que par-dessus et carré. Cela était fait pour empêcher le clou de fendre la tuile, si celle-ci éprouvait quelques oscillations par l'effet du vent, ou lorsqu'on clouait la tuile sur l'endôlement. Cet élargissement laissait alors une certaine liberté à la tuile (voy. en A, fig. 6).
Les tuiles d'arêtiers de ces couvertures en tuiles plates sont de même fabriquées avec une grande perfection; elles étaient maintenues sur la fourrure d'arêtier de la charpente par des clous ou chevilles, et rendues solidaires souvent par un crochet soudé extérieurement sur le dos du rampant (voy. fig. 7).

Les tuiles de noues étaient faites de même que celles d'arêtiers, si ce n'est qu'elles ne portaient pas de crochets et qu'elles étaient naturellement tournées leur surface concave à l'extérieur. Quant aux faîtières, nous leur avons consacré un article spécial (voy. FAÎTIÈRE).
On voit en Champagne, et en Bourgogne (pays de la tuile par excellence) des tuiles à crochet dont les angles intérieurs, vus, sont abattus, comme ceux des bardeaux, et biseautés. Ces sortes de tuiles étroites, émaillées au pureau, sont fabriquées principalement pour couvrir les combles coniques (voy. fig. 8). En effet, les tuiles larges ne peuvent convenir à ces sortes de toitures, et leurs angles, suivant des tangentes à la courbe, donnent beaucoup de prise au vent et produisent un mauvais effet. Pour couvrir en tuiles des combles coniques, il est nécessaire de modifier les largeurs de ces tuiles tous les quatre ou cinq rangs, suivant le diamètre de la base du cône et sa hauteur, afin de couper toujours les joints. À cet effet, les tuiliers du moyen âge fabriquaient des tuiles de largeurs variées, et leur donnaient la forme d'un trapèze plus ou moins accusé, suivant que le comble conique était plus ou moins trapu (voy. fig. 8). C'était au couvreur à donner au tuilier la forme de la tuile, quand le comble était tracé, ce qui était facile à faire. C'était aussi au couvreur à profiter des dimensions différentes (en largeur) des tuiles, pour raccorder les joints et faire qu'à chaque rang, ils tombassent au milieu des tuiles du rang inférieur.
Dans quelques contrées du centre, sur les bords de la Loire, du Nivernais, du Poitou, on fabriquait aussi, vers la fin du XIIe siècle, des tuiles plates en forme d'écailles 301. Ces tuiles, plus étroites que les tuiles de Champagne et de Bourgogne, sont parfois émaillées et creusées sur le pureau de trois cannelures qui facilitent l'écoulement des eaux (fig. 9).

Elles sont percées de deux trous, sont munies, par-dessous, d'un crochet qui s'appuie sur la tête de la tuile inférieure, et étaient posées sur un endôlement de merrain. Ces sortes de tuiles sont épaisses (la terre de ces contrées n'étant pas très-dure), et n'ont pas résisté aux agents atmosphériques aussi complétement que les tuiles de Champagne et de Bourgogne. Toutes les tuiles dont nous venons de donner les formes et les dimensions étaient moulées sur sable, à la main, coupées au couteau, et non moulées dans des moules, comme le sont la plupart des tuiles façonnées modernes; leur cuisson (au bois) est régulière et complète. Les tuiles de Bourgogne anciennes sont inaltérables et aussi bonnes aujourd'hui qu'au moment de leur mise en place. L'émail qui les couvre (surtout l'émail noir brun) et la couverte transparente qui fait ressortir leur teinte rouge ont résisté au temps. Les émaux jaunes et verts sont ceux qui se sont le plus altérés. Dans les provinces du Nord-Est, dans les Flandres, on employait, dès le XVe siècle, la tuile en forme d'S, encore en usage aujourd'hui et connue sous le nom de tuile flamande. Cette tuile n'est bonne que pour des couvertures légères et qui n'ont pas à préserver absolument les parties sous-jacentes. Par les grands vents, elles laissent passer l'eau de pluie et se dérangent facilement. Dès une époque ancienne, peut-être le XIIIe siècle, on cessa d'employer dans les ouvrages ordinaires des provinces méridionales la tuile-canal avec couvre-joints, que donne la figure 1. On se contenta d'employer les tuiles creuses, c'est-à-dire que les tuiles formant couvre-joints, en les retournant, remplacèrent les tuiles-canal plates. Ce genre de couverture est encore usité dans tout le midi de la France, à partir du Lyonnais, de l'Auvergne, d'une partie du Limousin, du Périgord et en remontant jusqu'en Vendée; il n'est pas sans inconvénients. La tuile creuse étant moulée sur sable, la partie sablonneuse se trouve dans la concavité, c'est-à-dire dans le canal. Cette surface sablonneuse qui reçoit toute l'eau de pluie, est plus poreuse que la surface convexe; elle conserve l'humidité, arrête la poussière, et développe des végétations qui encombrent les rigoles, ce qui nécessite un entretien fréquent. Ce mode n'est bon que dans les contrées où la chaleur du soleil est assez puissante pour empêcher ces végétations de se former. En adoptant le système de tuiles plates pour les combles à fortes pentes, les constructeurs du Nord avaient évidemment reconnu les inconvénients du système antique romain et de ses dérivés, savoir: la persistance de l'humidité sur les charpentes et le développement des mousses dans les concavités des toitures. Le soin avec lequel ils ont fabriqué ces tuiles plates, l'emploi de l'émail qui empêchait la pénétration de l'humidité et la naissance des mousses, le système d'attaches, indiquent que les maîtres, en véritables architectes, ne dédaignaient pas ces détails importants de la construction. Les tuiles plates données dans les deux figures 5 bis et 6 font ressortir l'intelligence prévoyante de ces constructeurs des XIIIe et XIVe siècles. Il est à remarquer que cette industrie du tuilier ne fit que décroître à dater de la fin du XVe siècle jusqu'au commencement de celui-ci. Les tuiles de Bourgogne et de Champagne fabriquées pendant le dernier siècle sont relativement grossières et inégales de cuisson, et ce n'est guère que depuis une dizaine d'années que l'on s'est occupé en France de cette partie si intéressante de l'art de bâtir. Nous avons été poussés dans cette voie nouvelle de l'emploi de la terre cuite aux couvertures par nos voisins les Anglais et les Allemands, qui nous avaient devancés, ou plutôt qui n'ont jamais cessé de pratiquer ces utiles industries, dédaignées généralement chez nous par les artistes, trop préoccupés de leurs conceptions grandioses et peu pratiques pour entrer dans ces menus détails de la bâtisse.
TUYAU, s. m.--Voy. CONDUITE.
TYMPAN, s. m. Partie pleine comprise entre le cintre d'une porte (archivolte) et le linteau. On donne aussi le nom de tympan aux surfaces pleines comprises entre les extrados d'une arcature et le bandeau qui les couronne.

La surface A (fig. 1) est un tympan de porte; la surface B, un tympan d'entre-deux d'arcature. Les tympans de porte, étant posés sur le linteau, peuvent être faits de diverses manières; composés de petits matériaux en façon de remplissage, ou de grands morceaux de pierre parementés décorés de peintures ou de bas-reliefs. Il arrive aussi que les tympans de porte sont à claire-voie, donnent des jours d'impostes; mais cette disposition n'est guère adoptée qu'à dater du milieu du XIIIe siècle, notamment dans les monuments de la Champagne. La place occupée par le tympan, sous les archivoltes des portes, était particulièrement favorable à la sculpture. Dans cette position, les bas-reliefs ne pouvaient pas manquer de produire un grand effet, et n'avaient pas à redouter (protégés qu'ils étaient par la saillie des voussures ou des porches) l'action destructive de la pluie et de la gelée. Beaucoup de nos églises conservent encore de magnifiques tympans sculptés (voy. PORTE). Nous citerons parmi les plus remarquables, datant du XIIe siècle, ceux des portes des églises de Vézelay, de Saint-Benoît-sur-Loire, de Charlieu, du portail occidental de la cathédrale de Chartres, de la porte Sainte-Anne de Notre-Dame de Paris, de la porte centrale de la cathédrale de Senlis; parmi ceux du XIIIe siècle, les tympans des portes latérales des cathédrales de Chartres, de Reims, des portails des cathédrales de Paris, d'Amiens, de Bourges, etc. Jusque vers le commencement du XIIIe siècle, le tympan de porte, s'il est sculpté, ne comporte guère qu'un sujet; quelquefois, s'il est très-grand, il se compose de deux zones, ainsi qu'on peut le voir à la porte centrale et à la porte de la Vierge de Notre-Dame de Paris, rarement d'un plus grand nombre. À dater de 1240 environ, les tympans se composent généralement de plusieurs zones. Les sujets se superposent et se multiplient, ou bien ils sont enfermés dans des compartiments architectoniques. La statuaire perd ainsi de son importance magistrale, elle est soumise à une échelle plus petite. Au parti si large qui consistait à placer un linteau possédant sa sculpture, et au-dessus un grand bas-relief, on substitua une superposition de linteaux (voy. PORTE), plusieurs bandes de bas-reliefs dont les figures sont d'autant plus petites d'échelles que ces linteaux superposés sont plus multipliés. Au XIVe siècle, la sculpture des tympans est de plus en plus absorbée par les formes géométriques de l'architecture. Vers la fin du XVe siècle, les trumeaux se développent en avant des tympans, par des statues et des pinacles qui s'élèvent jusque sous la clef des archivoltes. Le trumeau n'est plus seulement alors un support, mais une sorte de contre-fort, de pilier très-orné qui coupe la porte, son linteau et son tympan en deux parts.
Malgré la rigidité de ses principes, l'architecture du moyen âge (et l'on a occasion de le reconnaître dans le cours de cet ouvrage) évite la monotonie, la banalité, ce qu'on appelle dans le langage des arts, les poncifs. Rarement trouve-t-on, dans les conceptions, même les plus vulgaires, ces chevilles, ces remplissages insignifiants, si fréquents dans les monuments que nous élevons aujourd'hui à grands frais. Le luxe des matériaux, l'exagération de la dépense, ne rachètent pas le défaut d'invention, la pauvreté de l'idée; nos maîtres des XIIe et XIIIe siècles étaient, semble-t-il, bien pénétrés de cette vérité. Aussi, tout en restant soumis aux principes fondamentaux de leur art, ils savaient en déduire les conséquences les plus variées; partant, les plus attrayantes, les plus nouvelles aux yeux du vulgaire.
À l'article PORTE, nous donnons d'assez nombreux types de tympans, disposés déjà d'une façon assez variée; mais, ici, force nous est de suivre une méthode, et d'exclure les cas exceptionnels qui, cependant, fournissent des exemples précieux de ce que le véritable génie sait tirer de l'application raisonnée d'un principe vrai. Nous allons procéder, à propos d'un de ces exemples, comme a dû procéder l'architecte du XIIIe siècle, afin de faire saisir la méthode critique de ces maîtres, auxquels on ne saurait refuser, avec le savoir, une modestie que nous n'avons pas le courage de leur reprocher 302.
On sait que pour soulager les linteaux des portes, les architectes terminaient les pieds-droits par des corbeaux qui diminuaient de toute leur saillie la portée de ces linteaux monolithes (voy. fig. 2).

Bien que ces linteaux A fussent déchargés par les archivoltes B, cependant ils avaient encore à porter le tympan C; parfois ils se brisaient sous cette charge, surtout lorsqu'ils ne pouvaient être faits de pierre résistante.
Si, à la place des corbeaux D, nous plaçons deux goussets de pierre E se contre-butant en F, il est évident que le linteau est complétement soulagé, que sa hauteur entre lits peut être singulièrement réduite au profit du tympan. C'est en raisonnant ainsi, que l'architecte auteur du portail méridional de l'église de Saint-Séverin à Bordeaux a dû procéder (fig. 3).

Le linteau de cette porte est en effet réduit à la hauteur d'un bandeau. Au-dessous, les corbeaux sont remplacés par une arcature trilobée avec demi-tympans couverts d'une délicate sculpture de ceps de vigne au milieu desquels se jouent des oiseaux. Une inscription qui donne la date de cette porte (1247) pourtourne l'orle du trilobe. Au-dessus se place, dans le linteau, le bas-relief du Jugement dernier; puis dans le tympan supérieur, le Christ assis sur un trône, montrant ses plaies, assisté des deux anges qui portent les instruments de la passion, et imploré par la Vierge et par saint Jean. Dans les voussures, des cordons de feuillages, les martyrs et les vierges. Sur les jambages en ébrasement, et développés latéralement entre les colonnettes, dans la hauteur, des demi-tympans de l'arcature, les Apôtres, l'Église et la Synagogue.
Cette porte est accompagnée de deux arcades aveugles avec tympans dans lesquels sont figurées des scènes de la vie de saint Séverin. L'ensemble de cette composition, que donne la figure 3, est fort remarquable et produit un grand effet. En A nous présentons, à une grande échelle, l'un des demi-tympans du trilobe, d'un dessin à la fois original et gracieux. La sculpture en est plate, en façon de broderie, mais délicatement traitée, et devait produire tout son effet, avant que ce portail eût été abrité sous un porche plus récent. Le programme est d'ailleurs celui de beaucoup de portes d'églises; on voit cependant que l'architecte, grâce à ce développement des corbeaux supportant le linteau, a su en tirer un parti entièrement neuf. L'auteur du portail de Saint-Pierre-sous-Vézelay n'avait-il pas aussi tiré un parti nouveau de la composition du tympan de la porte centrale (voy. PORTE, fig. 65), en supprimant cette fois le linteau et en le remplaçant par un développement des corbeaux? Plus tard, vers la fin du XIVe siècle, les linteaux supportant les tympans furent fréquemment remplacés par des arcs surbaissés. Les corbeaux étaient ainsi supprimés; ces arcs surbaissés s'appuyaient sur les jambages et sur le trumeau ayant une saillie prononcée et découpant son couronnement en avant du tympan, le plus souvent ajouré et garni de vitraux. Les sujets en ronde-bosse qui remplissaient ordinairement les tympans du XIIIe siècle faisaient ainsi place à un fenestrage garni de vitraux. Comme nous l'avons dit, la Champagne avait, la première, adopté ce parti dès le XIIIe siècle. Les portes de la façade occidentale de la cathédrale de Reims le prouvent. Dans ce cas, le linteau portait une véritable fenêtre avec ses vitraux colorés, à la place des bas-reliefs. Il semble toutefois que la disposition des tympans pleins, décorés de sujets en ronde bosse, est préférable à ces fenestrages. En effet, les voussures garnies de statuettes forment un entourage, une sorte d'assistance au sujet principal décorant le tympan; si ce tympan est vide, ces rangées de voussures n'ont plus de raison d'être au point de vue de l'iconographie. Les maîtres de la meilleure période du XIIIe siècle dans l'Île-de-France l'avaient compris ainsi. Mais les belles conceptions iconographiques s'altèrent déjà dans les provinces voisines dès le milieu de ce siècle, et les architectes n'admettent plus, souvent alors, la sculpture que comme un motif de décoration, sans trop se préoccuper de l'unité des compositions d'ensemble. Ce n'est pas à nous à leur en faire un reproche, car, dans les édifices religieux que nous élevons, il est rare que la statuaire sortie des ateliers de divers artistes et faite sur commandes isolées, présente un ensemble iconographique dirigé par une pensée. Admettant que chaque figure ou chaque bas-relief soit un chef-d'oeuvre, ce défaut dans la conception générale, ce manque d'unité dans l'intention produit un assez triste effet. Il faut dire que le clergé, peu familier avec ces questions, préoccupé d'autres intérêts, plus importants peut-être au point de vue religieux, ne donne plus ces beaux programmes d'imageries qui sont si complets et si largement conçus dans les grandes églises du domaine royal de 1180 à 1240. Son goût ne le porte plus à aimer la belle et grave statuaire si bien ordonnée pendant notre meilleure période du moyen âge. Le joli, un peu fade, inauguré au XVIe siècle par l'école des Jésuites, ou le style italien de la basse renaissance, dominent toujours dans l'esprit des personnages qui, par leur situation dans l'Église, pourraient contribuer à rendre aux ouvrages de statuaire religieuse la virilité et le beau style qu'ils ont perdus.
Il est cependant quelques-unes de ces compositions de tympans du XVe siècle qui ne manquent pas de grandeur. Nous citerons, entre autres, les tympans du portail principal de la cathédrale de Tours, qui date de la fin de ce siècle.

Celui de la porte centrale (fig. 4) est à claire-voie, avec une sorte de double linteau ou plutôt de double imposte en arcs surbaissés. Le trumeau central, saillant, découpe la statue, son dais et la croix archiépiscopale qui le surmonte, en avant de la claire-voie vitrée. C'est là, nous le répétons, un parti souvent adopté à la fin du moyen âge et jusqu'au XVIe siècle. On trouve, dans notre article PORTE, un assez grand nombre de compositions de tympans pour qu'il ne soit pas utile d'insister ici sur le système décoratif de ces membres de l'architecture du moyen âge. Nous ne dirons que quelques mots des tympans d'arcatures compris entre leurs archivoltes. La sculpture d'ornement ou la statuaire jouent un rôle important sur ces sortes de tympans, d'une petite dimension généralement. Ces sculptures, faites pour être vues de près, sont traitées avec amour et habilement composées en vue de la place qu'elles occupent. On voit de très-remarquables tympans d'arcatures: aux portails de l'église de Notre-Dame la Grande, à Poitiers; à la cathédrale d'Angoulême (XIIe siècle); à la sainte Chapelle du Palais, à Paris; aux portails des cathédrales de Paris, de Bourges, d'Auxerre (XIIIe siècle); dans les chapelles de la nef des cathédrales de Bordeaux et de Laon (XIVe siècle), etc. (voyez ANGE, ARCATURE, AUTEL, CLOÎTRE, SCULPTURE, TRIFORIUM). Souvent ces tympans, lorsqu'ils sont d'une petite dimension, sont remplis par des animaux fantastiques.
Note 302: (retour) Peu d'architectes du moyen âge en France ont gravé leurs noms sur les monuments qu'ils élevaient, contrairement à l'habitude de leurs confrères italiens. Cette indifférence, ou cet excès de modestie leur a été reproché par un célèbre critique comme un aveu d'infériorité. Cependant il semblerait que c'est l'oeuvre qui doit être jugée, et que le nom de son auteur ne fait rien à l'affaire.

UNITÉ, s. f. Dans toute conception d'art, l'unité est certainement la loi première, celle de laquelle toutes les autres dérivent. En architecture, cette loi est peut-être plus impérieuse encore que dans les autres arts du dessin, parce que l'architecture groupe tous ces arts pour en composer un ensemble, pour produire une impression. L'architecture tend à un résultat suprême: satisfaire à un besoin de l'homme. La pensée de l'artiste, en composant un édifice quelconque, ne doit jamais perdre de vue ce but à atteindre, car il ne suffit pas que sa composition satisfasse matériellement à ce besoin, il faut que l'expression de ce besoin soit nette: or, cette expression, c'est la forme apparente, le groupement en faisceau, de tous les arts et de toutes les industries auxquels l'architecte a recours pour parfaire son oeuvre. Plus une civilisation est compliquée, plus la difficulté est grande de composer d'après la loi d'unité; cette difficulté s'accroit de la masse des connaissances d'arts antérieurs, des traditions du passé, auxquelles la pensée de l'artiste ne peut se soustraire, qui l'obsèdent, s'imposent à son jugement, et entraînent, pour ainsi dire, son crayon dans des sillons déjà tracés.
Un de nos prédécesseurs, dont les écrits sont justement estimés, a dit: «Aussi faut-il qu'un monument émane d'une seule intelligence qui en combine l'ensemble de telle manière qu'on ne puisse, sans en altérer l'accord, ni en rien retrancher, ni rien y ajouter, ni rien y changer 303.» On ne saurait mieux parler, mais on comprendra qu'il est difficile à un architecte qui, pour exprimer sa pensée, va puiser à des sources très-diverses, de remplir ce programme. Nous reconnaissons volontiers que beaucoup d'architectes, de nos jours, n'admettent pas la loi d'unité, qu'ils en nient la puissance, et préconisent une sorte d'éclectisme vague, permettant à la pensée de l'artiste d'aller chercher dans le passé, au nord et au midi, les expressions propres à donner une forme à cette pensée. Ces artistes affirment que, de cet amas de documents mêlés, il sortira l'architecture de l'avenir. Peut-être; mais, en attendant, celle du présent n'exprime le plus souvent que le désordre et la confusion dans les idées.
Nous ne sommes pas de ceux qui nient l'utilité de l'étude des arts antérieurs, d'autant qu'il n'est donné à personne d'oublier ou de faire oublier la longue suite des traditions du passé; mais, ce que tout esprit réfléchi doit faire en face de cet amas de matériaux, c'est de les mettre en ordre, avant de songer à les utiliser. Que fait celui qui hérite d'une riche bibliothèque, si ce n'est d'abord d'en classer les éléments suivant un ordre méthodique, afin de pouvoir s'en servir le jour où il en aura besoin? Faut-il encore, qu'après ce premier classement, il ait fait au moins un résumé analytique de chacun des ouvrages de cette bibliothèque, dans son cerveau, afin de pouvoir choisir et profiter judicieusement de ses choix. Parmi toutes les architectures qui méritent d'être signalées dans l'histoire du monde, il n'en est pas une qui ne procède d'après la loi d'unité. Sur quoi s'établit cette loi d'unité? C'est là d'abord ce qu'il convient de rechercher. Les besoins auxquels l'architecture se propose de satisfaire ne sont pas très-variés. Il s'agit toujours d'abriter l'homme, soit en famille, soit en assemblée, et de lui permettre, sous ces abris, de vaquer à des occupations, ou de remplir des fonctions plus ou moins étendues, suivant que son état social est plus ou moins compliqué. Si ces premières conditions diffèrent peu, la manière d'y satisfaire est très-variée. En effet, l'abri peut être fait de bois ou de pierre; il peut être creusé dans le tuf ou façonné en terre; il peut se composer de parties juxtaposées ou superposées; il peut n'avoir qu'une destination transitoire ou défier l'action du temps. C'est alors que l'art intervient et que la loi d'unité s'établit, et s'établit naturellement, parce que tout, dans l'ordre créé, n'existe que par l'unité d'intention et de conception. On veut faire une cabane de bois, on coupe des arbres: unité d'intention. On réunit ces arbres en utilisant leurs propriétés: unité de conception. Quoi qu'on puisse dire et faire, c'est donc sur la structure, d'abord, qu'en architecture la loi d'unité s'établit, qu'il s'agisse d'une cabane de bois ou du Panthéon de Rome. La nature n'a pas procédé autrement, et il est plus que téméraire de chercher des lois en dehors de celles qu'elle a établies, ou plutôt de nous soustraire à ces lois, nous qui en faisons partie. Les découvertes dans les sciences physiques nous montrent chaque jour, avec plus d'évidence, que si l'ordre des choses créées manifeste une variété infinie dans ses expressions, il est soumis à un nombre de lois de plus en plus restreint à mesure que nous pénétrons plus avant dans le mystère du mouvement et de la vie; et qui sait si la dernière limite de ces découvertes ne sera pas la connaissance d'une loi et d'un atome! En deux mots, la création, c'est l'unité; le chaos, c'est l'absence de l'unité.
Sur quoi établirait-on, en architecture, la loi d'unité, si ce n'était sur la structure, c'est-à-dire sur le moyen de bâtir? Serait-ce sur le goût? Mais le goût, en architecture, est-il autre chose que l'emploi convenable des moyens? Serait-ce sur certaines formes adoptées arbitrairement par un peuple, par une secte? Mais alors, si nous avons à côté de ces formes d'autres formes arbitrairement adoptées par un autre peuple ou une autre secte, nous aurons deux unités. Nous voyons l'architecture des Hellènes parfaitement conforme aux lois de l'unité, parce que cette architecture ne ment jamais à ses moyens de structure; de même, chez les Romains (quand il s'agit des monuments bâtis suivant le mode romain); de même chez les Occidentaux du moyen âge, pendant les XIIe et XIIIe siècles. Cependant ces monuments sont fort dissemblables, et ils sont dissemblables parce qu'ils obéissent à la loi d'unité établie sur la structure. Le mode de structure changeant, la forme diffère nécessairement, mais il n'y a pas une unité grecque, une unité romaine, une unité du moyen âge. Un chêne ne ressemble point à un pied de fougère, ni un cheval à un lapin; végétaux et animaux obéissent cependant à l'unité organique qui régit tous les individus organisés.
De fait, l'unité ne peut exister dans l'architecture que si les expressions de cet art découlent du principe naturel. L'unité ne peut être une théorie, une formule; c'est une faculté inhérente à l'ordre universel, et que nous voyons adaptée aussi bien aux mouvements planétaires qu'aux plus infimes cristaux, aux végétaux comme aux animaux. M. Quatremère de Quincy, dans son Dictionnaire d'architecture 304 distingue, dans l'art de l'architecture, «différentes sortes d'unités partielles, d'où résulte l'unité générale d'un édifice». Cet auteur divise ainsi ce qu'il appelle les unités partielles, sans définir, d'ailleurs, ce que peut être une unité partielle:
«Unité de système et de principe.
Unité de conception et de composition.
Unité de plan.
Unité d'élévation.
Unité de décoration et d'ornement.
Unité de style et de goût.»
L'illustre auteur du Dictionnaire d'architecture ne nous dit pas comment l'unité de système se distingue de l'unité de conception, ni comment ces deux unités peuvent se séparer de l'unité de style et de goût; comment l'élévation d'un édifice, qui semblerait dériver nécessairement du plan, possède cependant son unité distincte de celle qui régit la composition de ce plan. Nous pensions que l'unité possédait cette propriété de ne pouvoir être divisée, et que ce qu'on peut diviser est pluralité. Cette colonne de six unités (et nous ne voyons pas pourquoi on s'en tiendrait à ce nombre) précède le paragraphe où il est dit que l'unité de système et de principe ne permet pas de poser des arcs sur des colonnes, ni un chapiteau corinthien sur un style ionique. C'est, semble-t-il, un préambule bien solennel pour une mince conclusion. Plus loin, cependant, l'auteur du Dictionnaire, à propos de l'unité d'élévation, écrit ces lignes que l'on ne saurait trop soumettre aux méditations de l'architecte: «Ce qui constitue particulièrement, dans l'architecture, l'unité d'élévation, c'est d'abord une telle correspondance de l'extérieur de sa masse avec l'intérieur, que l'oeil et l'esprit y aperçoivent le principe d'ordre et la liaison nécessaire qui en ont déterminé la manière d'être. Le but principal d'une façade ou élévation de bâtiment n'est pas d'offrir des combinaisons ou des compartiments de formes qui amusent les yeux. Là, comme ailleurs, le plaisir de la vue, s'il ne procède pas d'un besoin ou d'une raison d'utilité, loin d'être une source de mérite et de beauté, n'est plus qu'un brillant défaut. Mais là, comme ailleurs, le plus grand nombre se méprend en transportant les idées, c'est-à-dire en subordonnant le besoin au plaisir. De là cette multitude d'élévations d'édifices, dont les formes, les combinaisons, les dispositions, les ordonnances, les ornements, contredisent le principe d'unité fondé sur la nature propre de chaque chose. Ce qui importe donc à l'unité dont nous parlons, ce n'est pas qu'une élévation ait plus ou moins de parties, plus ou moins d'ornements, c'est qu'elle soit telle que la veulent le genre, la nature et la destination de l'édifice; c'est qu'elle corresponde aux raisons, sujétions et besoins qui ont ordonné de sa disposition intérieure; c'est que l'extérieur de cet édifice soit uni par le lien visible de l'unité à la manière d'être que les besoins du dedans auront commandée.» Nous n'avons pas à essayer, heureusement, d'accorder les opinions de l'ancien secrétaire perpétuel de l'Académie des beaux-arts avec les enseignements qui découlent des oeuvres d'architecture laissées par les membres passés et présents de la docte assemblée. Ce sont affaires de famille; nous constatons seulement que cette définition de l'unité des élévations, quant au fond, peut s'appliquer à l'unité dans les oeuvres d'architecture, sans qu'il soit utile de diviser cette unité. Ne mentir jamais au besoin, à l'ordonnance qu'impose ce besoin, aux moyens que fournit la matière en oeuvre, aux nécessités de la structure, ce sont les premières conditions de l'unité en architecture, et ces conditions ne sauraient séparer le plan de l'élévation, la conception du style 305. Nous ne concevons pas plus un architecte faisant un plan sans prévoir les élévations que donne ce plan, que nous ne concevrions l'ombre sans la lumière, ou la lumière sans l'ombre. D'ailleurs qu'entend-on par l'unité de plan? Est-ce que chaque partie de l'édifice projetée sur un plan horizontal possède les dimensions nécessaires, qu'elles soient placées en raison des besoins exprimés, qu'elles satisfassent pleinement à ces besoins en même temps qu'aux nécessités de la stabilité, de l'économie, de la durée, de l'orientation, de l'aspect intérieur et extérieur? Que chaque partie ne puisse être arbitrairement augmentée, diminuée, changée, sans qu'il en résulte quelque chose de moins bon? Que les pleins soient en raison de ce qu'ils doivent porter et que le mode de bâtir soit en rapport avec les matériaux à employer et avec les usages locaux? Si c'est là ce que l'on entend par l'unité de plan, c'est fort bien, à notre avis; mais nous ne pourrions comprendre la conception d'un plan ainsi dressé sans la conception simultanée des élévations; car, à prendre les choses à la lettre, le plan n'est que la projection horizontale de ce qu'on appelle l'élévation: or, comment concevoir et tracer la projection horizontale d'une chose qui serait à créer, qui n'existerait pas? Mais si, par l'unité de plan, on entend une image tracée sur le papier suivant certaines données symétriques, une sorte de dessin de broderie plaisant aux yeux par certaines pondérations de masses, de pleins et de vides, en torturant d'ailleurs les besoins auxquels tout édifice doit satisfaire, afin de rendre cette image plus agréable, alors nous avouons ne rien comprendre à cette unité; mais nous comprenons que cette unité peut être distincte de l'unité d'élévation, puisqu'elle n'a rien à voir avec les nécessités auxquelles il faut satisfaire, avec le mode de bâtir, avec la nature des matériaux à employer, avec l'économie et le bon sens, qui commande, paraît-il, de ne rien faire en architecture qui n'ait une raison d'être et dont on ne puisse justifier.
Il est un seul moyen de donner à une oeuvre d'architecture l'unité: c'est le programme et les forces connues--nous entendons par forces les ressources en hommes, argent et matériaux,--de trouver les combinaisons qui permettent de satisfaire à ce programme, et d'employer ces forces de manière à leur faire produire le résultat le plus complet. Il est évident que si, pour satisfaire à sa fantaisie, l'artiste jette une notable partie des ressources dont il dispose sur un point d'un édifice pour produire un effet, au détriment des autres; que si son édifice présente des échantillons de tous les moyens de structure et d'ornementation par amour de l'éclectisme; que s'il ment à la structure que lui fournit son temps pour imiter des formes appartenant à un mode passé; que si le monument qu'il élève n'a aucun lien avec les moeurs du temps; s'il choque ces moeurs par des dispositions appartenant à une civilisation différente ou à un autre climat, son oeuvre ne peut prétendre à l'unité.
L'unité n'existe qu'autant qu'il y a relation intime entre l'architecture et l'objet. Un temple dorien présente un type de l'unité architectonique; mais, si vous faites d'un temple dorien une bourse ou une église, l'unité est détruite: car, pour approprier cet édifice à une destination autre que celle pour laquelle on l'a élevé, il faut torturer ses dispositions, détruire ce qui constitue son unité.
Nous ne saurions trop le répéter, ce n'est qu'en suivant l'ordre que la nature elle-même observe dans ses créations que l'on peut, dans les arts, concevoir et produire suivant la loi d'unité, qui est la condition essentielle de toute création. Si, dans l'ordre des choses créées, on a cru voir parfois des déviations au principe de l'unité, l'étude plus approfondie a fini toujours par faire connaître que l'exception, au contraire, confirme la règle; et c'est une des gloires de la science moderne d'avoir rattaché de plus en plus, par l'observation, l'organisme universel à la loi d'unité, ce qui ne fait pas et ne peut faire que cet organisme ne soit varié à l'infini.
Nous disons: en architecture, procédez de même; partez du principe un, n'ayez qu'une loi, la vérité; la vérité toujours, dès la première conception jusqu'à la dernière expression de l'oeuvre. Nous ajoutons: voici un art, l'art hellénique, qui a procédé ainsi à son origine et qui a laissé des ouvrages immortels; voilà un autre art, sous une autre civilisation, la nôtre, sous un autre climat, le nôtre, l'art du moyen âge français, qui a procédé ainsi à son origine et qui a laissé des ouvrages immortels. Ces deux expressions de l'unité sont cependant dissemblables. Il faut donc, pour produire un art, procéder d'après la même loi.
Avec cette persistance aveugle, qui donne souvent au défaut de compréhension les allures de la mauvaise foi, on nous répète: Vous prétendez nous faire adopter aujourd'hui les formes admises par les maîtres du moyen âge; et pourquoi celles-là plutôt que d'autres? toutes nous sont bonnes, toutes peuvent nous servir, car elles sont toutes du domaine de l'humanité. Nous répondons: L'objection part d'une pensée première à laquelle l'analyse fait défaut. Depuis le XVIe siècle, nous avons pris en France des formes produites en architecture par l'application du principe d'unité, dans certains milieux, pour l'unité même, sans recourir à la loi d'où découlaient ces formes. On a cru remplir les conditions d'unité parce qu'on adoptait plus ou moins fidèlement certaines formes des architectures antérieures à notre temps, formes qui étaient les conséquences du principe d'unité, mais qui, par cela même qu'elles étaient les conséquences d'un principe, ne sont pas le principe. Ceux qui ont pris l'habitude de procéder ainsi, c'est-à-dire de prendre la forme sans tenir compte du principe qui l'avait fait éclore, ne sauraient admettre qu'on puisse procéder autrement; et, nous voyant étudier et analyser les applications de la loi générale faite par les maîtres du moyen âge, ils admettent que nous devons procéder ainsi qu'eux-mêmes le font, c'est-à-dire que, prenant la forme, l'apparence purement plastique de l'architecture du moyen âge, nous considérons cette forme comme notre unité préférée, non comme une conséquence de la loi générale d'unité, et que, dès lors, nous aurions cette prétention de prescrire l'emploi de cette forme.
Pour être plus clair, ayons recours à une comparaison que chacun peut saisir. Il y a, dans la nature inorganique que nous avons sous les yeux, une quantité innombrable de cristaux qui sont la conséquence d'une loi de la cristallisation. Reproduire l'apparence plastique de ces cristaux en n'importe quelle matière, ou établir des conditions physiques ou chimiques à l'aide desquelles ces cristaux peuvent se former d'eux-mêmes sous l'empire de la loi générale, sont deux opérations très-distinctes. La première est purement mécanique et ne donne qu'un résultat sans portée; la seconde met un attribut de la création au service de l'intelligence humaine. La question est donc ainsi réduite à sa plus saisissante expression: copier en une matière quelconque des cristaux qui sont le produit d'une loi régissant la cristallisation; ou chercher la loi, afin qu'en l'appliquant, il en résulte naturellement les cristaux propres à la matière employée. Pour trouver cette loi, il faut nécessairement définir les qualités de ces cristaux, analyser leur substance et les conditions sous lesquelles ils prennent la forme que nous leur connaissons. Et serait-on bien venu, dans le domaine de la science, de dire à un chimiste qui cherche la loi de la cristallisation, qu'il prétend nous faire vivre dans une géode?
Malheureusement, ce qu'on ne se permettrait pas dans le domaine de la science, on se le permet, sans scrupules, dans le domaine de l'architecture, par suite de l'obscurité que l'on s'est complu depuis longtemps à jeter sur l'étude de cet art et ses principes. L'architecture n'est pas une sorte d'initiation mystérieuse; elle est soumise, comme tous les produits de l'intelligence, à des principes qui ont leur siége dans la raison humaine. Or, la raison n'est pas multiple, elle est une. Il n'y a pas deux manières d'avoir raison devant une question posée. Mais la question changeant, la conclusion, donnée par la raison, se modifie. Si donc l'unité doit exister dans l'art de l'architecture, ce ne peut être en appliquant telle ou telle forme, mais en cherchant la forme qui est l'expression de ce que prescrit la raison. La raison seule peut établir le lien entre les parties, mettre chaque chose à sa place, et donner à l'oeuvre non-seulement la cohésion, mais l'apparence de la cohésion, par la succession vraie des opérations qui la doivent constituer. Si large qu'on veuille faire la part à l'imagination, elle n'a, pour constituer une forme, que la voie tracée par la raison. Les génies n'ont pas procédé autrement, et leurs ouvrages ne nous charment que parce qu'ils s'emparent de notre esprit ou de notre coeur, en passant par le chemin de notre raison.
Nos monuments du moyen âge possèdent par excellence l'unité: 1° parce qu'ils remplissent exactement, scrupuleusement, servilement, les programmes donnés, et qu'ils sont ainsi la plus vive expression de la civilisation au sein de laquelle ils ont été construits; 2° parce que leur forme n'est que le résultat combiné des moyens employés; 3° parce que toutes leurs parties sont conçues de manière à satisfaire aux besoins pour lesquels ils sont élevés, et à assurer leur stabilité et leur durée; 4° parce que leur décoration procède suivant un ordre logique et est toujours soumise à la structure; 5° parce que cette structure elle-même est sincère, qu'elle ne dissimule jamais ses procédés et n'emploie que les forces nécessaires.
Nos monuments du moyen âge n'ont pas six unités, ils ont l'unité. Les articles du Dictionnaire font assez ressortir cette qualité, pensons-nous, pour qu'il ne soit pas nécessaire de s'étendre plus longtemps sur son importance.

VANTAIL, s. m. (ventail, wis, huis). Valve de menuiserie, tournant sur des gonds ou pivots, fermant la baie d'une porte. Il était d'usage, dans l'antiquité grecque, de suspendre souvent les vantaux au moyen de deux tourillons tenant au montant de feuillure. Ces tourillons entraient dans deux trous cylindriques ménagés sous le linteau et à l'extrémité du seuil. Ce procédé primitif obligeait de poser le vantail en construisant la porte. On voit encore des vantaux ainsi suspendus aux portes de monuments de la Syrie septentrionale qui datent des IVe et Ve siècles. Il faut savoir que ces vantaux sont de pierre (basalte généralement), et qu'il n'était pas possible de les suspendre autrement, puisqu'on ne pouvait y attacher des pentures. Toutefois ce procédé fut appliqué dans les Gaules aux portes de bois, et nous retrouvons cette tradition. conservée jusque vers la fin du XVIe siècle pour les constructions rustiques, notamment dans le Nivernais et en Auvergne.

Ces vantaux primitifs se composent d'un montant de feuillure A (fig. 1), pris dans un arbre branchu, de manière à trouver la traverse haute B dans le même morceau. Cette traverse haute s'assemble en C dans un montant de rive D, qui reçoit également le tenon E d'une traverse basse. Des planches épaisses sont chevillées sur cette membrure, qui n'est apparente qu'à l'intérieur. Les deux tourillons a et b entrent dans les trous cylindriques a', b', ménagés dans le seuil et dans une pierre tenant au jambage. Dans cette structure, il n'y a pas un clou; le tout est maintenu par des chevilles de bois. Ces sortes de vantaux sont doubles habituellement, et leurs montants de rive battent sur un arrêt tenant au seuil et sur une traverse haute de bois. Ils étaient fermés, à l'intérieur, par une barre de bois entrant dans les chantignoles G chevillées sur les montants de battement. Il y a tout à croire que cette façon de vantail remonte aux Gaulois, puisqu'on trouve encore la trace, dans des constructions privées de l'époque gallo-romaine, de ces trous cylindriques destinés à recevoir les tourillons des montants. On comprend sans peine combien ce grossier moyen de suspension des vantaux était défectueux. Les tourillons de bois roulaient difficilement dans leurs douilles de pierre b'; si les portes étaient d'une assez grande dimension, il fallait employer beaucoup de force pour faire pivoter les vantaux. Dès l'époque gallo-romaine, les pentures étaient en usage, puisqu'on en retrouve encore, et ce moyen de suspendre les huis fut généralement adopté à dater de la période carlovingienne (voyez SERRURERIE). Toutefois les vantaux furent composés au moyen de membrures sur lesquelles on appliquait des frises, si les portes étaient d'une assez grande dimension.
Le système de décharges pour empêcher les vantaux de donner du nez, c'est-à-dire de fléchir dans le sens de leur largeur sous leur propre poids, est toujours admis; on se sert même encore parfois, pendant le XIIe siècle, de bois branchus pour former ces décharges, ou du moins l'une d'elles; et les pentures de fer sont, ou apparentes à l'extérieur sur les frises, ou prises entre celles-ci et la membrure, comme dans l'exemple que nous donnons ici (fig. 2), qui est tiré d'une porte de l'ancienne église de Saint-Martin d'Avallon. On voit, dans cette figure qui présente l'un des vantaux vu du côté intérieur, que le montant de feuillure A est taillé dans un arbre branchu.

Des épaulements B et C, ménagés dans ce montant, reçoivent les pieds des décharges qui soulagent encore l'extrémité de la traverse haute D et le montant de battement E. Un gousset G réunit ce montant à la traverse basse H. Les pentures de fer sont prises entre cette membrure et les frises extérieures de revêtement, qui ne laissent voir que les chevilles qui les retiennent aux décharges et les têtes de clous qui les attachent à ces pentures. Ce travail assez grossier est cependant fort bien entendu au point de vue de la solidité et de l'usage. Bientôt l'exécution devint plus délicate, et les vantaux reçurent extérieurement diverses sortes de décorations, soit par l'application de pentures de fer forgé, soit par des revêtements de bois finement travaillés, soit par des peintures, des têtes de clous, des plaques de bronze ou de fer battu. Habituellement ces décorations dépendent de la structure.

Ainsi, par exemple, dans la figure 3 que nous donnons ici 306, on voit que le système de structure du vantail, composé d'un treillis de décharges compris entre les montants et les traverses, reproduit extérieurement, sur les frises, un treillis de moulures fines, perlées, avec têtes de clous aux rencontres (voyez le détail A). Ces clous s'engagent de quelques millimètres dans la saillie de ces moulures, ainsi que l'indique le profil B en C. Les têtes de clous sont garnies d'une rondelle de fer battu ornée (voy. en G). Les pentures sont, comme dans l'exemple précédent, prises entre la membrure et les frises de revêtement. Bien entendu la membrure est à l'intérieur. Les moulures en treillis sont clouées sur ces frises et correspondent au treillis des décharges. Les frises sont donc parfaitement maintenues par le parti décoratif, et les clous consolident les assemblages à mi-bois de la membrure treillissée. Ces bois croisés en tous sens, cloués ensemble, ne peuvent jouer, et la solidité de l'ouvrage est complète. Ces décorations rapportées extérieurement sur les frises ne sont pas toujours la reproduction de la structure des membrures; elles consistent souvent en des moulures clouées suivant certains compartiments géométriques, ainsi que l'ont pratiqué de tout temps les Arabes, en des formes empruntées à l'architecture, telles que frises, arcatures, gâbles, etc. 307. On voit encore, sur les vantaux des portes occidentales de la cathédrale de Sées des applications de ce genre qui figurent une sorte de grille composée de rangs de petites arcatures finement travaillées. Les rangées d'arcatures, au nombre de six, dans la hauteur du vantail, y compris le couronnement (voy. fig. 4), sont simplement clouées sur les frises qu'elles maintiennent planes.

En A, est tracé le détail en coupe d'une de ces arcatures avec sa colonnette, et en B la section de celle-ci. Les colonnettes, leurs chapiteaux et bagues sont faits au tour. Les rangs d'arcatures sont évidés dans une planche, et cloués, ainsi que l'indique notre tracé. Toute cette décoration était peinte, ainsi que le fond, de vives couleurs.
On trouve dans l'article MENUISERIE une assez grande variété de ces vantaux décorés, soit par application, soit par la combinaison des assemblages 308. Nous ne croyons donc pas nécessaire de nous étendre plus longuement ici sur ces ouvrages de bois.
Il arrivait aussi que l'on recouvrait les vantaux de portes au moyen de plaques de métal, bronze ou fer, et cela indépendamment des pentures 309. On voyait encore à la porte de gauche de la façade occidentale de l'église abbatiale de Saint-Denis, au commencement du dernier siècle, des vantaux de portes rapportés de Poitiers par Dagobert, et qui étaient recouverts de lames de bronze ajourées représentant des rinceaux avec des animaux. Ces vantaux avaient été replacés sur cette façade lors de sa reconstruction sous l'abbé Suger, comme des ouvrages dignes d'être conservés 310. Les moines et les chapitres détruisirent bon nombre de ces précieux objets depuis le règne de Louis XIV, et la révolution de 1792 jeta au creuset ce qui restait, si bien qu'aujourd'hui on a grand'peine, en France, à retrouver quelques traces de ces vantaux garnis de métaux plus ou moins habilement décorés. Quelques débris d'ouvrages de fer ont seuls échappé, à cause de leur peu de valeur, à ces dévastations. Des portes de trésors, de sacraires, laissent encore voir leurs revêtements de fer battu. Ces revêtements sont toujours faits au moyen de bandes de fer, car on ne fabriquait pas alors de la tôle: c'était au marteau que l'on pouvait obtenir des fers minces en pièces d'une faible dimension. Ces bandes étaient, le plus souvent, posées en treillis avec un clou à chaque point de rencontre.

La figure 5 présente un de ces vantaux bardés de bandes croisées de fer battu et reliées par des clous avec rosaces formant rondelles. En A, est donnée l'une de ces rosaces; en B, la section avec le croisement des fers, et en C, la section de la bordure d'encadrement 311. Ces sortes de vantaux n'ont que des dimensions médiocres. Dans la figure 5, entre les bandes croisées, on aperçoit le bois, mais il n'en était pas toujours ainsi: des ornements de fer battu découpés étaient parfois posés dans les intervalles de ces bandes (fig. 6); ils formaient des rosaces maintenues au centre par un clou et par les bandes, sous lesquelles leurs extrémités étaient pincées.

Ainsi le bois du vantail
était presque totalement couvert par une armature solide qui composait
une riche ornementation. Le fragment que nous donnons ici paraît dater
du XIVe siècle, et provient de la collection des dessins de feu
Garneray
312. On bardait aussi les vantaux de bandes de fer
horizontales posées à recouvrement.
Ces bandes étaient unies ou découpées en manière d'écailles ou de lambrequins (fig. 7), maintenues les unes sur les autres, ainsi que l'indique la section A, avec force clous qui pénétraient dans le bois. Ce vantail était attaché à une porte de l'abbaye de Saint-Bertin, à Saint-Omer 313. Il paraît également remonter au XIVe siècle. C'était ainsi (sauf les ornements) qu'étaient habituellement bardés des vantaux de poternes des châteaux, quelquefois même des habitations privées. On se contentait le plus souvent, pour les vantaux de portes des maisons et hôtels, de garnitures de têtes de clous plus ou moins ouvragées (voyez CLOU), posées en quinconce ou suivant la trace des traverses et décharges contre lesquelles les frises s'appliquaient.
Ainsi que nous l'avons dit plus haut, il ne nous reste, en France, aucune trace de vantaux de portes du moyen âge revêtus de bronze; cependant plusieurs églises en possédaient. Dom Doublet 314 parle des portes faites d'après les ordres de l'abbé Suger pour la façade occidentale de la nouvelle église. Ces portes étaient, paraîtrait-il, très-richement décorées de lames de bronze doré et émaillé. «Il fit venir (Suger), dit D. Doublet, plusieurs fondeurs et sculpteurs expérimentés, pour orner et enrichir les battans de la porte principale de l'entrée de l'église, sur laquelle se void la Passion, Résurrection, Ascension, et autres histoires (avec la représentation dudit abbé prosterné en terre), le tout de fonte; et qu'il luy a convenu faire de grands frais, tant pour le métail, que pour l'or qui y a esté employé pareillement aussi pour les battans de la porte de main droite, en entrant, qu'il a fait enrichir de métail, or et esmail, laissant les anciens battans de la troisiesme porte de main gauche, qui estoient an premier bastiment de l'église.» Une inscription en vers était apparente sur le bronze de la porte principale. Nous la transcrivons ici d'après dom Doublet:
«Portarum quisquis attollere quæris honorem,
Aurum nec sumptus, operis mirare laborem,
Nobile claret opus, sed opus quod nobile claret;
Clarificet mentes, ut cant per lumina vera,
Ad verum lumen, ubi Christus janua vera,
Quale sit intus in his determinat aures porta,
Mens hebes ad verum per materialia surgit,
Et demersa prius bac visa Ince resurgit.»
Et sur le linteau au-dessus des vantaux:
«Suscipe vota tui judex districte Suggeri,
Inter oves proprias Cac me clementer haberi.»
Si le latin est médiocre, les pensées sont assez belles et bien appropriées à l'objet.
Nous ne chercherons pas, en l'absence de tout document graphique, à donner une restauration de ces monuments qui devaient être si intéressants.
On connaît les belles portes de bronze de la basilique normande de Monreale près Palerme, celles de la cathédrale de Pise, celles de Vérone. Ces vantaux sont composés par panneaux dans lesquels sont inscrits des sujets en bas-relief, avec ouvrages niellés et damasquinés. Il est à présumer que les vantaux des portes principales de l'église abbatiale de Saint-Denis étaient conçus de la même manière. On voit aussi sur le flanc méridional de la cathédrale d'Augsbourg des vantaux de portes revêtus de bronze, par panneaux, qui datent du XIIe siècle, mais qui contiennent des fragments provenant d'un monument beaucoup plus ancien. Si l'on s'en rapporte à certaines vignettes de manuscrits, on pourrait croire aussi que le moyen âge posait, sur les vantaux de portes, des revêtements de bronze par bandes horizontales, comme des frises superposées, décorées d'ornements et de figures.
Quant aux vantaux de bois composés par panneaux, nous renvoyons le lecteur à l'article MENUISERIE.
Note 310: (retour) «Sur les anciens battans de la porte ancienne de l'église que fit bastir le Roy Dagobert, cecy est escrit en lettres très antiques et entrelacées l'unes dans l'autres, assez difficiles à lire: Hoc opus Airardus coelesti munere fretus. Offert ecce tibi Dyonysi pectore miti.» (D. Doublet, Antiq. et recherches de l'abbaye de St-Denys en France, liv. I, chap. XXXIII.)
Note 311: (retour) Il existe encore des vantaux de ce genre à Sens, à Rouen (cathédrales). Nous en avons vu dans beaucoup d'églises, d'où ils ont été enlevés depuis une vingtaine d'années, à cause probablement de leur état de vétusté. L'exemple donné ici à été dessiné par nous, dans un magasin de ferrailles à Rouen.
VERGETTE, S. f. (tringlette). Barre de fer carrée ou ronde, mince, qui sert à maintenir les panneaux des vitraux entre les barlotières. Les panneaux de vitraux s'attachent aux vergettes au moyen de petites bandes de plomb soudées aux plombs de sertissure des verres (voyez VITRAIL).
VERRIÈRE, s. f.--Voyez VITRAIL.
VERROU, s. m.--Voyez SERRURERIE.
VERTEVELLE, s. f.--Voyez SERRURERIE.
VERTU, s. f. L'iconographie du moyen âge met souvent en parallèle la personnification des vertus et des vices. L'antagonisme du bien et du mal est, comme on sait, une de ces idées admises chez presque tous les peuples de races supérieures. Nous la voyons se manifester dans les Védas, chez les Iraniens, chez les Égyptiens, et pendant l'antiquité païenne. Le monothéisme sémitique devait nécessairement repousser cette double influence, qui était, pour ainsi dire, le fondement du panthéisme. Les Juifs n'admettaient pas une puissance rivale de leur Jéhovah. Le péché, pour les Juifs, n'était qu'une infirmité attachée à l'homme, mais n'était pas supposé inspiré par une puissance supérieure à lui. La Genèse fait intervenir, il est vrai, entre le premier homme et la première femme, le serpent 315: «Le serpent étoit plus rusé que tous les animaux de la terre que l'Éternel Dieu avoit faits; il dit à la femme... etc.» Dans cet exemple, il n'est nullement question d'une puissance rivale, de l'Esprit du mal. Le serpent donne un conseil perfide; il n'est pas dit qu'un esprit ait revêtu sa forme, qu'il y ait un intérêt, qu'il en doive profiter; aucun esprit ne conseille à Caïn de tuer son frère. L'Éternel, voyant Caïn abattu lorsque son sacrifice est repoussé, lui dit: «Certes, si tu te conduis bien, tu seras considéré; si tu ne te conduis pas bien, le péché t'assiége à la porte, il veut t'atteindre, mais tu peux le maîtriser 316.» Pour les Grecs comme pour tous les peuples de race aryenne, le Mal était une force naturelle comme le Bien, force rivale, vaincue nécessairement, mais immortelle, luttant sans trêve, indépendante et vénérée, à cause de sa qualité divine. L'homme n'était qu'un jouet entre ces deux puissances, invoquant l'intervention de la bonne contre les actes de la mauvaise, mais ne croyant pas que sa volonté personnelle pût lutter contre cette dernière. Le panthéisme--nous parlons du panthéisme primitif appuyé sur l'observation des phénomènes naturels, et non du panthéisme énervé et superstitieux des derniers temps--considérait l'action des forces divines comme agissant bien au-dessus de la frêle humanité, comme engageant des luttes et exerçant sa puissance dans une sphère très-supérieure aux intérêts humains. L'homme était fatalement soumis à des décrets dont il ne pouvait pénétrer les motifs, et s'il invoquait les dieux, ce n'était jamais avec l'espoir de leur faire modifier en sa faveur le cours des choses. L'égoïsme sémitique admet que Jéhovah arrête la marche du soleil pour permettre à Josué d'écraser ses ennemis; on ne trouverait pas une légende analogue dans toute l'histoire religieuse des Aryas. Pour eux, les forces de la nature agissent dans la plénitude de leur puissance indépendante. Une divinité peut lutter contre le soleil, elle ne saurait lui commander d'arrêter son cours.
Ce préambule était nécessaire pour expliquer un phénomène philosophique qui se produit dans l'iconographie chrétienne de l'Occident, vers la fin du XIIe siècle. Alors les artistes, évidemment inspirés par les idées du temps, ne font plus intervenir, absolument, l'Esprit du mal; ils admettent des qualités bonnes et mauvaises, qualités inhérentes à l'homme; ils les personnifient. C'est un panthéisme circonscrit dans l'âme humaine au lieu d'avoir pour siége l'univers. Il est évident que le mot panthéisme ici ne peut rendre entièrement notre pensée; on n'adorait pas la Charité ou le Courage, on les personnifiait; on leur donnait un corps, des attributs, le nimbe même parfois; et si l'on ne rendait pas un culte à ces abstractions métaphysiques, la foule arrivait à les considérer comme des forces possédant une apparence sensible, des émanations divines. Il faut observer d'ailleurs que si les vertus sont personnifiées, les vices ne le sont point. Les vices, en opposition avec les vertus, sont représentés par un fait, non par un personnage; du moins est-ce le cas le plus habituel. Avant l'école laïque de la fin du XIIe siècle, les vertus comme les vices sont figurés par des faits tirés des Écritures. Dans la représentation des vices, le diable intervient toujours; c'est lui qui conseille et préside à l'exécution de l'acte mauvais, tandis que l'Esprit du mal n'intervient plus dans la représentation du vice opposé à la vertu, à dater de la fin du XIIe siècle. Ainsi, sur les ébrasements de la porte centrale de Notre-Dame de Paris, sont sculptées dans des médaillons douze Vertus, représentées par douze femmes drapées portant certains attributs; les Vices, en opposition, sculptés au-dessous de ces médaillons, sont figurés par des scènes. Exemples: La Foi, la première placée à la droite du Christ, porte un écu rempli par une croix. Au-dessous, un homme est agenouillé devant une idole. Le Courage, la première Vertu à la gauche au Christ, est vêtu d'une armure complète: cotte de maille sur sa robe, heaume sur la tête, bouclier sur lequel est un lion rampant à son bras gauche, épée nue dans sa main droite. Au-dessous, la Lâcheté: c'est un homme qui fuit devant un lièvre; il se retourne effaré et laisse tomber son épée 317.
C'est seulement vers la fin du XIIe siècle, ainsi que nous le disions, qu'apparaissent, sur nos monuments, ces représentations des Vertus, et, parmi ces sculptures, on peut citer comme des plus anciennes celles qui décorent les soubassements de la porte de gauche de la façade de la cathédrale de Sens. Elles montrent la Largesse, et en regard l'Avarice.

La Largesse (fig. 1) est une femme drapée, couronnée, assise. De ses deux mains, elle ouvre deux coffres remplis de sacs et d'écus. Deux lampes en forme de couronne sont suspendues à ses côtés; à ses pieds sont deux vases de fleurs.

L'Avarice (fig. 2) est une des belles sculptures de cette époque (1170 environ). Les cheveux épars sous un lambeau d'étoffe, la main gauche crispée, crochue, elle est assise sur un coffre qu'elle a fermé violemment de la main droite; sous ses pieds sont des sacs pleins d'écus. L'Avarice est ici personnifiée 318.
Guillaume Durand dit que les Vertus sont représentées sous la figure de femmes, parce qu'elles nourrissent et caressent l'homme 319; mais encore les artistes du moyen âge leur donnaient-ils un caractère énergique et militant. Dans les vitraux de la grande rose occidentale de Notre-Dame de Paris, les Vertus sont armées de lances et combattent les Vices, représentés par des personnages historiques parfois. Sardanapale représente la Folie; Tarquin, la Dissolution; Néron, l'Iniquité; Judas, le Désespoir; Mahomet, l'Impiété, etc.
C'est à la cathédrale de Chartres que les artistes du XlIIe siècle ont donné aux représentations des Vertus le plus complet développement. Là 320 les Vertus ne sont point opposées aux Vices, elles se déroulent sur les voussures, en pied, et sont divisées en trois ordres: les Vertus publiques et les Vertus privées. Les Vertus de l'homme privé sont placées dans la voussure intérieure, les Vertus de l'homme social dans la voussure extérieure; dans la voussure intermédiaire sont sculptées les Vertus domestiques. Chaque rang contient quatorze figures, en commençant par le voussoir de droite. À Chartres, les Vertus publiques présentent un grand intérêt iconographique. La première a perdu son titre; son bouclier est chargé de roses. Didron 321 la considère comme personnifiant la Mémoire.

La deuxième (fig. 3) représente la Liberté (Libertas): son écu est chargé de trois couronnes; elle tenait une lance dans sa main droite. La troisième est l'Honneur (Honor); son écu est chargé de mitres. La quatrième, qui a perdu son titre, est, d'après Didron, la Prière (Oratio); en effet, sur son écu est sculpté un ange tenant un livre. La cinquième, l'Adoration; un ange tenant un encensoir charge son écu. La sixième, la Vitesse, la Promptitude (Velocitas); trois flèches chargent son écu. La septième, le Courage (Fortitudo); sur son écu est un lion rampant. La huitième, la Concorde (Concordia); son écu est chargé de deux paires de colombes. La neuvième, l'Amitié (Amicitia); mêmes armes. La dixième, la Puissance; un aigle tenant un sceptre charge son écu. La onzième, la Majesté (Majestas); trois sceptres sur son écu. La douzième, la Santé (Sanitas) 322; trois poissons sur son écu. La treizième, la Sécurité (Securitas); un donjon sur son écu. La quatorzième, dont l'inscription est effacée, est désignée par Didron comme étant la Religion: un dragon mort sur son écu; un dragon vivant (le symbole du démon) sous ses pieds. Cette figure tient un étendard, et nous la désignerions plus volontiers comme représentant la Foi. Toutes ces statues tiennent des lances, des croix ou des étendards dans leur main droite, sont couronnées et nimbées. La sculpture est d'un beau style; leur allure est fière, les têtes expressives et les draperies jetées avec art. Remarquons, en passant, que la Liberté et la Promptitude, l'Activité, si l'on aime mieux, sont considérées comme des vertus du premier ordre, des vertus publiques; et avouons sincèrement qu'au milieu du XIXe siècle, nous ne les placerions pas sur nos églises. Pourrions-nous les sculpter même sur nos édifices civils? Nous y figurons l'Abondance, la Justice, l'Industrie; ou bien encore, la Religion, la Charité, la Foi, l'Espérance, et nous leur donnons l'apparence famélique et un peu niaise que l'on considère de notre temps comme l'attribut convenable à ces personnifications. Les oeuvres de nos artistes du XIIIe siècle nous paraissent plus vraies, plus vigoureuses et plus saines. Personne n'ignore que la plupart des critiques qui, par hasard, veulent dire un mot des arts du moyen âge, confondant volontiers les écoles et les époques, sans avoir pris la peine d'en examiner les produits, ne fût-ce que pendant un jour, reproduisent ce cliché accepté sans contrôle, savoir: que la sculpture du moyen âge est ascétique, maladive et comprimée sous une théocratie énervante... Nous n'avons nul désir de voir revenir la société vers ces temps, la chose serait-elle possible; mais nous voudrions que nos artistes montrassent dans leurs oeuvres, et dans la pensée qui les dirige, quelque chose de cette virilité si profondément empreinte dans la statuaire française des XIIe et XIIIe siècles. S'il s'agit de sculpture religieuse, on cherche aujourd'hui à satisfaire à nous ne savons quelle pensée pâle, étiolée, malsaine, sans vie, sorte de compromis entre des traditions affadies, mal comprises, et un canon classique; tandis que nous trouvons, dans cette statuaire de notre architecture du XIIIe siècle, un débordement de séve, un besoin d'émancipation de l'intelligence qui raffermit le coeur et pousse l'esprit en avant. Peu devrait nous importer qu'alors les évêques fussent des seigneurs féodaux, et que les seigneurs féodaux fussent de petits tyrans, si, sous ce régime, les artistes savaient relever le côté moral de l'homme et préparer des générations viriles. Ces artistes étaient dès lors en avant sur les nôtres, qui, trop peu soucieux de leur dignité, subissent la mythologie abâtardie et sénile de l'Académie, ou la religiosité fade des sacristies, sans oser exprimer une pensée qui leur soit propre. Si l'exécution, de nos jours, est belle, tant mieux, mais elle n'est qu'un vêtement qui doit couvrir une idée vivante, non des mannequins sortis d'un Olympe fané ou de l'oratoire des dévotes; Certes, les statuaires du moyen âge ont fait beaucoup de sculpture religieuse, ou du moins attachée à des édifices religieux, puisqu'on en élevait un grand nombre. Jamais cependant--que cela dépendît d'eux ou des inspirations auxquelles ils obéissaient--ils ne sont descendus à ces mièvreries avilissantes ou à ces platitudes que l'on donne aujourd'hui pour de l'art religieux. Les mâles sculptures de Chartres, de Reims, d'Amiens, de Paris, en sont la preuve. Il suffit de les regarder... sans avoir d'avance son siége fait.
Au XIIIe siècle, l'Église ne repoussait point du portail de ses édifices ces vertus civiles, le Courage, l'Activité, la Largesse, la Liberté, la Justice, l'Amitié, la Santé de l'esprit: près d'elles, les labeurs journaliers étaient représentés, comme à Notre-Dame de Chartres; au-dessous d'elles les Vices; puis les sciences, les arts, les travaux de l'intelligence. Ainsi se complétait le cycle encyclopédique que montrait au peuple la cathédrale française, autant que le permettait l'état des connaissances de l'époque.
En un mot, l'Église alors vivait et était digne de vivre, puisqu'elle entrait dans le mouvement social qui tendait à constituer une grande nation aux confins de l'Europe occidentale. C'était sa première vertu, à elle, d'être vraiment nationale, d'activer les développements intellectuels. Qu'elle ait pu s'en repentir; que, se sentant débordée par des esprits trop avancés suivant ses vues, elle ait essayé d'arrêter le mouvement qu'elle-même avait provoqué au coeur des diocèses, il n'en est pas moins certain qu'alors elle prenait l'initiative, que les arts s'en ressentaient, et que ces arts ne sauraient être considérés comme énervés, étouffés sous une théocratie tracassière et mesquine.
Les Vertus n'étaient pas seulement représentées sur les portails des églises; elles avaient leur place encore aux portes des palais, dans les grand'salles des châteaux, sur les façades des hôtels. Les preux sculptés sur les tours du château de Pierrefonds, les preuses sur celles du château de la Ferté-Milon, sont des personnifications de vertus héroïques, guerrières. Ces figures donnaient leurs noms aux tours. Ainsi, à Pierrefonds, les preux sont au nombre de huit, comme les tours. Ces statues de 3 mètres de hauteur et d'un beau travail, sont celles de César, de Charlemagne, de David, d'Hector, de Josué, de Godefroy de Bouillon, d'Alexandre et du roi Artus.
Sur la façade de l'hôtel de la chambre des comptes bâti par Louis XII, en face de la sainte Chapelle du Palais à Paris, on voyait quatre statues des Vertus, qui étaient: la Tempérance, tenant une horloge et des lunettes; la Prudence, tenant un miroir et un crible; la Justice, ayant pour attributs une balance et une épée; le Courage, qui embrassait une tour et étouffait un serpent 323. Le combat des Vertus et des Vices était le sujet de beaucoup de peintures et de tapisseries qui décoraient les salles des châteaux. Les romans, les inventaires, font souvent mention de ces sortes de tentures désignées sous le nom de moralités.
Note 317: (retour) Voici quelles sont les Vertus représentées sur ces ébrasements, avec les actes vicieux en opposition.--À la droite du Christ: 1° La Foi. Au-dessous, l'adoration d'une idole.--2° L'Espérance, femme drapée portant un étendard sur son écu. Au-dessous, un homme se transperce avec son épée.--3° La Charité, tenant une brebis sur son giron (figure mutilée). Au-dessous, l'Avarice, tenant une bourse et enfermant des sacs dans un coffre.--4° La Justice: une salamandre couvre son écu (symbole du juste éprouvé par l'adversité). Au-dessous, l'Injustice (figure détruite).--5° La Prudence: son écu porte un serpent enroulé autour d'un bâton. Au-dessous, un homme errant, les vêtements déchirés, tenant une torche de la main droite et de la gauche un cornet: c'est la Folie.--6° L'Humilité: sur l'écu, un aigle au vol abaissé. Au-dessous, l'Orgueil, représenté par un homme emporté par un cheval fougueux qui le jette â la renverse.À la gauche du Christ: 1° La Force.--2° La Patience: un boeuf couvre son écu. Au-dessous, la Colère: une femme, les cheveux épars, chasse un religieux avec un bâton.--3° La Mansuétude: un agneau est sculpté sur son écu. Au-dessous, la Dureté: femme couronnée assise sur un trône, pousse du pied un suppliant agenouillé devant elle.--4° La Concorde: sa main droite déroule une banderole sur laquelle elle jette les yeux; sa gauche tient un cartouche sur lequel sont gravés un lis et une branche d'olivier. Au-dessous, deux hommes se battent.--5° L'Obéissance: un chameau agenouillé se voit sur son écu. Au-dessous, un homme fait un geste de mépris devant un évêque qui l'exhorte.--6° La Persévérance, une couronne suspendue sur l'écu. Au-dessous, un religieux quitte son monastère. (Voyez la Descript. de Notre-Dame de Paris, par MM. de Guilhermy et Viollet-le-Duc, 1856.)
Note 318: (retour) C'est ainsi qu'un trouvère du XIIIe siècle décrit la Largesse et l'Avarice:«Les .il. choses vi vis à vis:
L'une fu grande et bien taillie,
D'un blanc samit appareillie;
Cote en ot, sorcot et mantel
Afubli .i. poi en chantel;
La face ot doucement formée,
Qui fu si à point colorée
Com nature le pot miex fère.
Bouche et vermeille, et par miex plère
Ot vairs iex, rians et fenduz,
Les braz bien fez et estenduz,
Blanches mains, longues et ouvertes.
Aux templières que vi aperte.
Apparut qu'ele et teste blonde,
Je croi, plus que nule du monde.
Corone et bele ou chief assise
Qui li sist bien à grant devise.
Son non enquis en tele manière:
--Je vous pri, douce dans chière,
Que me le diez de vous le non.
-- Sire, fist-ele, mon renon
Fu jadis chièri et amè;
Mon non est LARGUECE clamé.--
De l'autre errez je la manière:
Ele et forme et grande plenière;
Noire estoit et descolorée,
Fade en tout, et fu afublée
D'une robe de vert esreuse;
A véir fu pou deliteuse:
«D'une vielle pane l'orrée
De menu vair entrepelée.
Tenues levres et bouche unquaise
Ot; je ne sai s'el fu pusnaise;
Ou nez ot estroites narrines
Qu'ele ot gresle et lone et verrines;
Les vaines parmi son visuge
Qu'elle ot traités à grant outrage,
Le col ot lonc, nervu et gresle,
Noirs cheveus dont l'un l'autre mesle;
Si ot granz mains et longue brache
Dont el tient fort cels qn'ele embrache.
Corone ot d'or trop merveilleuse,
Mainte pierre i ot précieuse;
Ele ot noirs iex, fens et poingnanz.
A regarder mult resoingnanz.
Quant je l'oi grant pose esgarder
Et sa contenance avisée,
Je enquis ma dame Larguece
Qui estoit cele déablesse
El me dist estoit AVARICE,
Qui perist chascun par son visce.»
(Additions aux poésies de Rutebeuf, édition des OEuvres de Rutebeuf, par A. Jubinal, 1839.)
VIERGE (SAINTE). C'est vers le milieu du XIIe siècle que le culte voué à la sainte Vierge prend un caractère spécial en France. Jusqu'alors les monuments sculptés ou peints donnent à la sainte Vierge une place secondaire: c'est la femme désignée par Dieu pour donner naissance au Fils. Elle est un intermédiaire, un moyen divin, mais ne participe pas à la Divinité. Si au XIIe siècle, le dogme, en cela, ne change pas, les arts en modifient singulièrement le sens; et les arts ne sont, bien entendu, qu'une expression d'un sentiment populaire qui exagérait ou dépassait la pensée dogmatique. Les évêques, en faisant rebâtir leurs cathédrales dans le nord de la France, vers la fin du XIIe siècle, sous une inspiration essentiellement laïque 324, crurent devoir abonder dans le sens religieux des populations. La plupart de ces grands édifices furent placés sous le vocable de Notre-Dame; et la place de la mère de Dieu prit une importance toute nouvelle dans l'iconographie religieuse. À Notre-Dame de Senlis, l'histoire de la sainte Vierge occupe le portail principal; à Notre-Dame de Paris, deux des portes furent réservées aux représentations de la Vierge, celle de gauche de la façade occidentale, et celle du transsept du côté septentrional. À Reims, la statue de la sainte Vierge occupe le trumeau de la porte centrale. À Notre-Dame de Chartres, une des portes du XIIe siècle est consacrée à la Vierge, etc. Le sentiment populaire, qui tendait déjà à considérer la Vierge comme un personnage quasi divin, ne fit que croître. Des églises et des chapelles sans nombre furent élevées à la mère du Sauveur. Les statues abondaient non-seulement dans les monuments religieux, mais dans les carrefours, au coin des maisons, sur les façades des hôtels, sur les portes des villes, des châteaux. La représentation du Christ était, avant cette époque, admise dans les monuments comme personnage divin, visible et tangible, tandis que celle de Dieu le Père n'était que très-rarement reproduite (voy. TRINITÉ). Cela était d'ailleurs conforme au dogme catholique; il était naturel de représenter le Fils de Dieu, puisque le Père avait voulu qu'il descendît sur la terre et se fît homme.
On voit, par exemple, sur un grand nombre de sarcophages chrétiens du Ve au VIIIe siècle, le Christ représenté au milieu des apôtres, sous la figure d'un jeune homme imberbe. Le Père n'est figuré, dans ces sculptures, que par une main qui sort d'une nuée. Quant à la Vierge, il n'en est guère question, ou, si elle apparaît, elle occupe une place infime, inférieure même à celle des apôtres. Les artistes se conformaient en cela à la lettre des Évangiles. La Vierge ne commence à prendre une place apparente qu'au moment où l'on représenta le crucifiement, c'est-à-dire, en Occident, vers le VIIIe ou IXe siècle. Alors, conformément au texte de l'Évangile de saint Jean, elle occupe la droite de la croix et saint Jean la gauche. Dans les scènes du jugement dernier du commencement du XIIe siècle, comme à Vézelay, par exemple, et un peu plus tard à Autun, la Vierge n'intervient point; tandis que nous la voyons agenouillée à la droite de son fils, priant pour les humains, dans les scènes du jugement qui datent du commencement du XIIIe siècle.
Mais, avant cette époque, c'est-à-dire vers 1140, déjà elle est assise sur un trône, tenant le Christ enfant entre ses genoux. Elle est couronnée; des anges adorateurs encensent l'Enfant divin. Nous voyons la Vierge ainsi représentée aux portes du côté droit des façades des cathédrales de Chartres et de Paris, dans les tympans, portes qui datent de cette époque 325.

La figure 1 reproduit la Vierge de la cathédrale de Paris, mieux conservée que celle de Notre-Dame de Chartres, mais semblable, quant à la pose et aux attributs. La mère du Sauveur maintient, de la main gauche l'Enfant dans son giron; de la droite, elle porte un sceptre terminé par un fruit d'iris. Elle est nimbée, ainsi que le Christ; celui-ci bénit de la main droite, et tient de la gauche le livre des Évangiles. L'exécution de cette figure, beaucoup plus grande que nature, est fort belle, et les têtes ont un caractère qui se rapproche beaucoup de la sculpture grecque archaïque.
Cette manière de représenter la sainte Vierge était empruntée aux artistes grecs; c'était une importation byzantine due aux ivoires et peintures qui furent, en si grand nombre, rapportés d'Orient par les croisés. Dans ces représentations peintes ou sculptées grecques, il est évident que le Christ, par la place qu'il occupe, par son geste bénissant, est le personnage principal; que la Vierge, toute vénérée qu'elle est, n'est là qu'un support, la femme élue pour enfanter et élever le Fils de Dieu. Le milieu du XIIe siècle ne sort pas de cette donnée, et l'on voit encore, dans l'église abbatiale de Saint-Denis, une Vierge de bois de cette époque, provenant du prieuré de Saint-Martin des Champs, qui reproduit exactement cette attitude 326. L'archaïsme grec, dont ces objets d'art étaient empreints, ne pouvait longtemps convenir aux écoles laïques de la fin du XIIe siècle. On voit encore la Vierge assise tenant le divin Enfant, au milieu de son giron (dans l'axe), suivant le mode grec, dans quelques édifices du commencement du XIIIe siècle, comme à la cathédrale de Laon, comme à l'une des portes nord de Notre-Dame de Reims; puis c'est tout. À dater de cette époque, la Vierge n'est plus représentée assise et tenant son fils dans son giron que dans les scènes de l'adoration des mages. Si elle occupe une place honorable, elle est debout, couronnée, triomphante, tenant son fils sur son bras gauche, une branche de lis (arum) ou un bouquet dans la main droite, ou bien encore elle étend cette main comme pour accorder un don. Sa physionomie est calme, elle regarde devant elle; c'est à elle que les hommages sont adressés. Le Christ est un enfant qui, dans les monuments les plus anciens, bénit encore de sa petite main droite et tient une sphère ou un livre dans sa main gauche, mais qui, plus tard, passe son bras droit derrière le cou de sa mère et joue avec un oiseau. Alors le visage de la mère sourit et se tourne parfois vers la tête de l'enfant. C'est la mère par excellence, la femme revêtue d'un caractère divin, et c'est bien à elle, en effet, que la foule s'adresse; c'est elle qu'elle implore, c'est en son intervention toute-puissante qu'elle croit, et l'Enfant n'est plus dans ses bras que pour marquer l'origine de cette puissance.
Bien entendu, nous ne prétendons ici, en aucune façon, discuter la question dogmatique; nous ne faisons que rendre compte des transformations qui furent la conséquence de l'intervention laïque dans la représentation de cette partie de l'iconographie sacrée. Le mouvement des esprits religieux vers le culte de la Vierge acquit, pendant le XIIIe siècle, une importance telle, que parfois le haut clergé s'en émut; mais il n'était pas possible d'aller à l'encontre. On ne s'adressait plus, dans ses prières, qu'à la Vierge, parce qu'elle était, aux yeux des fidèles, l'intermédiaire toujours compatissant, toujours indulgent et toujours écouté entre le pécheur et la justice divine. On conçoit combien ce sentiment fut, pour les artistes et les poëtes, une inépuisable source de sujets. Cela convenait d'ailleurs à l'esprit français, qui n'aime pas les doctrines absolues, qui veut des palliatifs à la loi, et qui croit volontiers qu'avec de l'esprit, un heureux tour, un bon sentiment, on peut tout se faire pardonner.
Pour le peuple, la Vierge redevenue femme, avec ses élans, son insistance, sa passion active, sa tendresse de coeur, trouvait toujours le moyen de vous tirer des plus mauvais cas, pour peu qu'on l'implorât avec ferveur 327. Dans les légendes des miracles dus à la Vierge, si nombreuses au XIIIe siècle, parfois poétiques, souvent puériles, il y a toujours un côté gaulois. C'est avec une dignité douce et fine que la Vierge sait faire tomber le diable dans ses propres piéges. Les artistes, particulièrement, semblent posséder le privilége d'exercer l'indulgente sollicitude de la mère du Christ; musiciens, poëtes, peintres et sculpteurs lui rendent-ils aussi à l'envi un hommage auquel, en sa qualité de femme, elle ne saurait demeurer insensible.
Toujours présente là où son intervention peut sauver une âme ou prévenir un danger; exigeant peu, afin de trouver plus souvent l'occasion de faire éclater son inépuisable charité; ses conseils, quand parfois elle en donne, sont simples et ne s'appuient jamais sur les récriminations ou les menaces. Telle est la Vierge que nous montrent les légendes, les poésies, et dont les sculpteurs et les peintres ont essayé de retracer l'image. C'est là, on en conviendra, une des plus touchantes créations du moyen âge et qui en éclaire les plus sombres pages.
La Vierge possède d'ailleurs les priviléges de la Divinité, car c'est de son propre mouvement, et sans recourir à son fils, qu'elle accomplit ses actes miséricordieux; elle paraît pourvue de la procuration la plus étendue sur les choses de ce monde. En s'étendant ainsi, le culte rendu à la Vierge devenait un motif d'oeuvres d'art innombrables. Les statues de la sainte Vierge faites pendant les XIIIe, XIVe et XVe siècles se comptent par centaines en France, et beaucoup sont très-bonnes; toutefois celles de ces statues qui remontent à la première moitié du XIIIe siècle doivent être considérées comme étant du meilleur style. La fin de ce siècle et le commencement du XIVe nous ont laissé plusieurs de ces ouvrages, qui, au point de vue de la grâce et du naturalisme le plus élégant et le plus délicat, sont des chefs-d'oeuvre. Nous citerons les statues du portail nord de la cathédrale de Paris 328; celle du portail dit de la Vierge dorée à Amiens; une vierge d'albâtre oriental (cathédrale de Narbonne); une vierge de marbre (demi-nature), dans l'église abbatiale de Saint-Denis, etc.

Pour faire saisir ces transformations, vers le naturalisme, de l'image de la sainte Vierge, nous donnons, figure 2, celle de la porte de droite de la face occidentale de Notre-Dame d'Amiens, qui date du commencement du XIIIe siècle, et figure 3, celle du portail de la Vierge dorée de la même église, qui date de la fin de ce siècle.

La première figure est grave, elle étend la main en signe d'octroi d'une grâce. L'Enfant bénit; sa pose est, de même que celle de la mère, calme et digne. La seconde est tout occupée de l'Enfant, auquel s'adresse son sourire. La première a l'aspect d'une divinité; elle reçoit les hommages et semble y répondre; de son pied droit elle écrase la tête du dragon à tête de femme, et, sur le piédestal qui la porte, sont représentées la naissance d'Ève et la chute d'Adam. La seconde statue est une mère charmante qui semble n'avoir d'autre soin que de faire des caresses à l'enfant qu'elle porte sur son bras. En examinant ces deux oeuvres de sculpture, on mesure le chemin parcouru par les artistes français dans l'espace d'un siècle. Ce qu'ils perdent du côté du style et de la pensée religieuse, ils le gagnent du côté de la grâce, déjà un peu maniérée et du naturalisme. L'exécution de la statue de la Vierge dorée est merveilleuse. Les têtes sont modelées avec un art infini et d'une expression charmante; les mains sont d'une élégance et d'une beauté rares, les draperies excellentes. Mais cette Vierge est une noble dame tout heureuse de s'occuper de son enfant, et qui ne semble point attaquée de cette maladie de langueur dont une certaine école de critiques d'art entend gratifier la statuaire du moyen âge. Plus de dragon sous les pieds de la Vierge dorée d'Amiens; son nimbe, richement orné de pierreries et de cannelures gironnées, est soutenu par trois angelets d'un charmant travail.

Pendant le moyen âge, la Vierge n'est représentée sans l'Enfant que dans les sujets légendaires où elle intervient directement, ou dans la scène de l'Assomption. Mais alors elle tient dans la main un livre des Évangiles, comme pour la rattacher toujours à la vie du Christ. Tous les amateurs quelque peu éclairés connaissent la charmante sculpture de Notre-Dame de 329, et dont nous reproduisons ici la partie principale, c'est-à-dire la figure de la Vierge. Six anges enlèvent l'auréole de nuées qui entoure la figure; deux autres l'encensent à la hauteur de la tête. Le voile de la mère du Sauveur s'enroule dans la partie supérieure du nimbe nuageux. La Vierge est dépourvue de la couronne au moment où son corps est enlevé par les anges, puisqu'à cette apothéose succède le couronnement par son fils, qui l'attend à sa droite. Les couronnements de la Vierge sont très-fréquemment représentés, soit en sculpture, soit en peinture. C'est un des sujets affectionnés par les artistes des XIIIe et XIVe siècles. La cathédrale de Paris en possède deux qui sont très-remarquables: celui de la porte de gauche de la façade occidentale, qui date des premières années du XIIIe siècle 330, et celui de la porte dite Rouge, du côté nord, qui date de 1260 environ. On voit aussi, sur les tympans des cathédrales de Senlis et de Paris, de très-beaux bas-reliefs qui représentent la mort de la Vierge. À cette scène le Christ est présent, et reçoit l'âme de sa mère dans ses bras 331.
Le nombre et la nature des vêtements que les artistes du moyen âge donnent à la Vierge ne se modifient pas du XIIe au XVe siècle. La différence n'est que dans la manière de porter ces vêtements, qui se composent toujours d'une robe de dessous, ample et longue, montant jusqu'au cou, avec manches étroites et ceinture, d'un manteau et d'un voile par-dessus les cheveux, sous la couronne. Ce voile descend sur les épaules jusqu'au milieu du dos.
Pendant les XIIe et XIIIe siècles, le manteau laisse voir le devant de la robe et se drape plus ou moins amplement sur les bras; mais, vers la fin du XIIIe siècle, le manteau revient d'un bras sur l'autre sur le devant, et masque la robe, dont on n'aperçoit plus que le sommet et le bord inférieur.
Les couleurs données aux vêtements de la Vierge sont le rouge et le bleu: le rouge, quelquefois le blanc, pour la robe, le blanc pour le voile, et le bleu pour le manteau. Les broderies qui sont figurées en or sur ces étoffes sont: le lion de Juda rampant, dans un cercle; des petites croix fichées, et la rose héraldique.
VIERGES SAGES ET FOLLES. La parabole des Vierges sages et des Vierges folles est sculptée sur un grand nombre de nos monuments religieux. Dans nos cathédrales, les Vierges sages sont presque toujours sculptées sur le jambage de la porte principale, à la droite du Christ; les Vierges folles, sur le jambage de gauche. Au-dessous des Vierges sages, qui, habituellement, sont au nombre de cinq, est figuré un arbre feuillu, et au-dessous des Vierges folles, en nombre égal, un arbre au tronc duquel mord une cognée. Au-dessus des Vierges sages, une porte ouverte; au-dessus des folles, une porte fermée. À la cathédrale de Sens, les jambages de la porte principale possèdent leur collection de vierges, qui datent de 1170 environ, bien que sur le trumeau soit élevée la statue de saint Étienne; mais tout porte à croire que cette statue de saint Étienne a été posée là après la chute de la tour méridionale, au moment où, par suite de cette chute, on dut remanier une bonne partie de la façade occidentale, et que l'on refit le tympan de la porte principale. Pour nous, cette statue de saint Étienne occupait le trumeau de la porte de droite avant la ruine de la tour. Sa position au trumeau central dérange complétement toute l'iconographie de la partie ancienne de cette porte, faite pour accompagner la statue du Christ.
À la cathédrale d'Amiens, on voit les Vierges sages et folles sculptées sur les jambages de la porte centrale, des deux côtés du Christ; de même à Notre-Dame de Paris. À la cathédrale de Strasbourg, les Vierges sages et folles sont sculptées, non pas en bas-reliefs sur des jambages, mais occupent des ébrasements. Ce sont de charmantes statues 332 qui datent du commencement du XIVe siècle.
Ces statues des Vierges sages et des Vierges folles sont particulièrement intéressantes à étudier, parce qu'elles reproduisent minutieusement l'habit des femmes du temps où elles ont été sculptées; car il ne faudrait pas croire que toutes les statues du moyen âge reproduisent les vêtements de l'époque où elles ont été faites. Si quelques personnages légendaires, quelques saints du diocèse, des évêques, des religieux et des donateurs sont revêtus de l'habit que l'on portait au moment où ils ont été sculptés, la Vierge, les apôtres, les personnages de l'Ancien Testament, ceux dont il est fait mention dans le Nouveau, sont vêtus d'après une tradition dont l'origine se trouve dans les premiers monuments chrétiens et chez les artistes byzantins.
Note 325: (retour) Il ne faut pas perdre de vue que le tympan de la porte de droite de la façade occidentale de Notre-Dame à Paris provient de l'église du XIIe siècle bâtie par Étienne de Garlande, et fut replacé, lors de la construction de cette façade, au commencement du XIIIe siècle.On voit dans le baptistère de Saint-Valérien, à Rome, une peinture qui ne paraît pas d'ailleurs antérieure au IXe siècle, et qui représente la Vierge tenant l'enfant Jésus dans son giron; elle n'est pas couronnée, mais sa tête est couverte d'un voile bleu très-ample, par-dessus une coiffe blanche. L'enfant tient un volumen dans la main gauche, et bénit de la droite, à la manière grecque. (Voyez les Catacombes de Rome, par L. Perret, pl. LXXXIII.)
VITRAIL, s. m. (verrière, verrine). Nous ne sommes plus au temps où de graves personnages prétendaient que le verre était inconnu aux Grecs et aux Romains. Tous les musées de l'Europe, aujourd'hui, possèdent des objets de verre qui remontent à une haute antiquité, et qui, par la perfection de la fabrication, ne le cèdent en rien à ce que Byzance et Venise ont vendu à toute l'Europe pendant le moyen âge.
Les Asiatiques et les Égyptiens obtenaient des pâtes de verre colorées de diverses couleurs, et les tombes gauloises nous rendent des objets de cuivre ou d'or sertissant de petits morceaux de verres colorés, des bracelets, des bulles et des grains de collier en pâtes vitrifiées.
Les Romains employaient le verre pour garnir les fenêtres de leurs habitations. Garnissaient-ils des châssis de croisée de verres colorés? Nous savons qu'ils employaient des matières naturelles translucides, des albâtres, des talcs, des gypses, qui tamisaient, dans les intérieurs des appartements ou des monuments, une lumière nuancée; mais jusqu'à présent il n'a point été découvert de panneaux de vitrages antiques composés de verres de diverses couleurs.
Il faut dire que, dans les monuments des Romains et de la Grèce antique, les fenêtres étaient petites et rares. Dans les grands édifices, comme les thermes, par exemple, la lumière du jour était habituellement tamisée par des claires-voies de métal ou de marbre sans interposition de verres. L'immensité de ces vaisseaux, l'orientation bien choisie, permettaient l'emploi de ce procédé sans qu'on eût à souffrir de l'action de l'air extérieur; d'autant que ces baies étaient percées à une grande hauteur, et qu'elles n'influaient sur l'air ambiant des parties inférieures que comme moyen de ventilation. Outre que les Romains, aussi bien que les Grecs, étaient habitués à vivre dehors, le climat de la Grèce et de la partie méridionale de l'Italie ne nécessitait pas des précautions habituelles contre le froid.
Mais si l'on ne peut affirmer que les Grecs et les Romains de l'antiquité aient employé les verres colorés pour les vitrages, on peut admettre que les Asiatiques possédaient ce mode de décoration translucide dès une époque reculée. C'est à dater des rapports de Rome avec l'Asie que nous voyons introduire en Italie les mosaïques composées de cubes de pâtes de verre colorées. Quand l'empire s'établit à Byzance, c'est d'Orient que viennent ces vases de verre coloré auxquels, en Occident, on attachait, dès le VIIe siècle, un si grand prix. Les choses se modifient peu en Orient, et les claires-voies de stuc ou de marbre sertissant des morceaux de verre de couleurs variées, que nous voyons attachées à des monuments des XIIIe et XIVe siècles en Asie et jusqu'en Égypte, doivent être une très-ancienne tradition dont le berceau parait être la Perse.
Quoi qu'il en soit de ces origines plus ou moins lointaines, on fabriquait des vitraux colorés en grand nombre dès le XIIe siècle en Occident, et le moine Théophile, qui appartient à cette époque, ne présente pas les moyens de fabrication de ces objets comme étant une nouveauté. Son texte, au contraire, dénote une longue pratique de ce genre de peinture translucide, et les vitraux que nous possédons encore, datant de ce siècle, sont, comme exécution, d'une telle perfection, qu'il faut bien supposer, pour obtenir ce développement d'une industrie dont les moyens sont passablement compliqués, une longue expérience.
Il est étrange, objectera-t-on, qu'il ne reste pas un seul panneau de vitrail coloré authentique avant le XIIe siècle, tandis que nous possédons encore des objets bien antérieurs à cette époque. Mais quand on sait avec quelle facilité, chez nous, on laisse périr les choses qui ne sont plus de mode, et comment les vitraux se détruisent aisément dès qu'ils sont déplacés, cette objection perd beaucoup de sa valeur.
De toutes les verrières qui, pendant la révolution, avaient été transportées au musée des monuments français, que reste-t-il? Une dizaine de panneaux à Saint-Denis, quelques-uns à Écouen et à Chantilly, et c'est tout 333.
Il nous faut donc prendre l'art du verrier au moment où apparaissent les monuments, c'est-à-dire vers 1100; et l'on peut dire que ces monuments du XIIe siècle sont les plus remarquables, si l'on considère cet art au point de vue décoratif.
L'ouvrage du moine Théophile est le plus ancien document écrit que l'on possède sur la fabrication des vitraux, et ce religieux vivait dans la seconde moitié du XIIe siècle 334 du moins les recettes qu'il donne, le goût de l'ornementation qu'il prescrit, semblent-ils indiquer cette date.
Ce n'est pas en théoricien que Théophile écrit son livre, mais en praticien; aussi a-t-il pour nous aujourd'hui un intérêt sérieux, d'autant que les procédés qu'il indique concordent exactement avec les monuments qui nous restent de cette époque. Il nous faut donc analyser ces documents. Il commence 335 par donner la manière de composer les verrières.
«D'abord, dit-il, faites une table de bois plane et de telle largeur et longueur que vous puissiez tracer dessus deux panneaux de chaque fenêtre.» Cette table est enduite d'une couche de craie détrempée dans de l'eau et frottée avec un linge. C'est sur cette préparation bien sèche que l'artiste trace les sujets ou ornements avec un style de plomb ou d'étain; puis, quand le trait est obtenu, avec un contour rouge on noir, au pinceau. Entre ces linéaments, les couleurs sont marquées pour chaque pièce au moyen d'un signe ou d'une lettre.
Des morceaux de verre convenables sont successivement posés sur la table, et les linéaments principaux, qui sont ceux des plombs, sont calqués sur ces verres, lesquels alors sont coupés au moyen d'un fer chaud et du grésoir 336.
Théophile ne dit pas clairement s'il indique sur la table (que nous appellerons le carton) le modelé complet des figures ou ornements. Il ne parle que du trait; cependant, lorsqu'il s'agit de peindre, c'est-à-dire de faire le modelé sur les verres découpés, il dit qu'il faudra suivre scrupuleusement les traits qui sont sur le carton. Ce passage s'explique naturellement, si l'on examine comment sont peints les vitraux du XIIe siècle.
Sur ces morceaux de verre, le modelé n'est autre chose qu'une suite de traits dans le sens de la forme.
Nous allons revenir tout à l'heure sur cette partie importante de l'art du verrier.
Théophile 337 indique la recette pour faire la grisaille, le modelé, le trait répété sur les verres. Tous ceux qui ont regardé de près des vitraux fabriqués pendant les XIIe et XIIIe siècles, savent que les verres employés sont colorés dans la pâte, et que le modelé n'est obtenu qu'au moyen d'une peinture noire ou noir brun appliquée au pinceau sur ces verres et vitrifiée au feu. C'est de cette couleur noire que parle Théophile dans son chapitre XIX. Il la compose de cuivre mince brülé dans un vase de fer, de verre vert et de saphir grec. Il ne nous dit pas ce qu'il entend par saphir grec. Était-ce une substance naturelle ou artificielle, un fondant, un oxyde? Il y a tout lieu de croire que le saphir grec était un verre bleuâtre des fabriques de Venise qui avait une propriété fondante. Et en effet, les verres de Venise possèdent cette qualité à un degré très-supérieur à nos anciens verres. Ces trois substances sont broyées sur une tablette de porphyre, mêlées en parties égales; savoir un tiers de cuivre, un tiers de saphir grec, un tiers de verre vert, et délayées avec du vin ou de l'urine. Cette couleur, placée dans un pot, est appliquée au pinceau, soit claire, soit plus sombre, soit épaisse, pour faire des traits noirs et fins; ou bien elle est étendue sur le verre en couche mince et est enlevée avec un style de bois, de façon à former des ornements très-déliés ou des touches se détachant en lumière sur un fond obscur, mais encore translucide.
Les verres, ainsi préparés, sont mis au four afin de vitrifier cette peinture monochrome. D'après Théophile, ce serait donc à l'aide d'un oxyde de cuivre que cette couleur brune serait obtenue. Cependant les morceaux de vitraux peints des XIIe et XIIIe siècles, que nous avons pu faire analyser, n'ont donné, pour cette coloration vitrifiée noire-brune, que des oxydes de fer, et c'est encore le protoxyde de fer que l'on emploie aujourd'hui pour cet objet 338. Du reste, un protoxyde de cuivre calciné donne une poudre brune qui, mise au four avec un fondant, peut produire un effet analogue à celui que présente le protoxyde de fer, mais avec une nuance verdâtre.
Une question importante dans la fabrication des vitraux, en dehors de celles qui concernent l'artiste, c'est la manière d'obtenir les feuilles de verre. Au XIIe siècle, d'après Théophile, les plaques de verre étaient obtenues à l'aide de deux procédés qu'on n'emploie plus de nos jours.
Avec la canne à souffler, l'ouvrier cueillait dans le creuset une masse de verre incandescent; il soufflait de manière à obtenir une bouteille en forme de vessie allongée. Approchant l'extrémité de cette vessie de la flamme du fourneau, cette extrémité se liquéfiait et se perçait. Avec un morceau de bois, l'ouvrier dilatait cette ouverture de façon qu'elle arrivât au diamètre le plus large de la vessie.
Alors de ce cercle inférieur, en rapprochant les deux bords opposés, il
formait un huit. Le verre, ainsi préparé, était détaché de la canne au
moyen du frottement d'un morceau de bois humide sur le col de la
bouteille. Faisant chauffer l'extrémité de la canne au four, avec les
parcelles de verre incandescent qui y tenaient encore, il collait le
bout de la canne au milieu du huit.
L'extrémité supérieure de la
bouteille était alors présentée à la flamme; puis on opérait comme
précédemment en élargissant l'ouverture. Le morceau de verre ainsi
disposé, on le séparait de la canne et on le portait au four de
refroidissement. Ces verres, qui avaient la forme que donne la figure 0,
étaient remis au feu pour être dilatés, fendus et aplanis
339. On
employait aussi le procédé des verres en boudines, plus rapide et plus
simple. L'ouvrier soufflait une vessie; il en présentait l'extrémité
inférieure à la flamme, comme il est dit plus haut; puis, dilatant cette
extrémité, il faisait pivoter très-rapidement la canne: les bords
dilatés du verre, par l'effet de la force centrifuge, tendaient à
s'éloigner du centre, et l'on obtenait ainsi un disque concentriquement
strié, plus épais au centre que vers les bords. Les verres ainsi
aplanis, soit d'après la première méthode, soit d'après la seconde,
étaient primitivement colorés dans le creuset au moyen d'oxydes
métalliques. Théophile ne parle pas de verres doublés; et, en effet,
les vitraux des XIIe et XIIIe siècles n'en montrent point, sauf pour le
rouge. Encore voit-on des morceaux d'un beau rouge orangé du XIIe
siècle, qui sont teints dans la masse
340, ou tout au moins à moitié
environ de leur épaisseur. Cette fabrication du rouge doit être une
tradition antique.
En effet, les cubes de verre qui composent les mosaïques de l'intérieur de l'église Sainte-Sophie de Constantinople, et sur lesquels une feuille d'or est appliquée, sont généralement d'un beau rouge chaud, translucide, avec strates d'un ton sombre opaque. Les strates rouges translucides ont 3 ou 4 millimètres d'épaisseur, et donnent une belle coloration qui rappelle celle de certains verres rouges du XIIe siècle. Mais dès cette époque on obtenait le verre rouge par un autre procédé. L'ouvrier souffleur avait deux creusets remplis de verre blanc verdâtre au four. Dans l'un des deux on jetait des raclures ou paillettes de cuivre rouge, et l'on remuait; immédiatement le souffleur cueillait une boule de verre blanc dans l'un des creusets, et il la plongeait dans le second creuset tenant en suspension des lamelles de cuivre. Il égalisait la prise sur une pierre chaude, soufflait et opérait comme il est dit ci-dessus. Ainsi obtenait-on des verres doublés, dans la moitié, au plus, de l'épaisseur desquels la coloration rouge se présente comme fouettée. Si l'on casse un de ces morceaux de verre, la coloration rouge se montre par stries ou paillettes inégalement réparties dans cette doublure du verre blanc verdâtre, ainsi que l'indique la section (fig. 1).

Ce procédé de coloration par paillettes s'entrecroisant inégalement donne au ton rouge un aspect jaspé, miroitant, d'une grande puissance. On comprendra, en effet, que la lumière passant à travers le verre et venant frapper les lamelles de rouge fouettées dans la pâle, se reflétant réciproquement, doive produire une coloration d'une intensité et d'une transparence sans égales. Chaque lamelle de pâte rouge produit l'effet d'un paillon, et l'on voit à la fois une coloration rouge translucide et un éclat rouge reflété des lamelles voisines. Plus tard, à dater du milieu du XIVe siècle, le verre rouge est obtenu au moyen d'une doublure extrêmement mince sur un verre blanc verdâtre; le rouge n'est plus fouetté dans la pâte, mais apposé sur elle, en faisant la boudine.
Aussi ce verre rouge donne-t-il une coloration plus égale et, de près, plus puissante que celle des verres des XIIe et XIIIe siècles: mais, à distance, l'éclat de ces verres doublés est moins lumineux, moins fin; il est souvent lourd, écrasant dans l'ensemble; en un mot, l'effet décoratif est moins bon. Cependant l'opération de la doublure des boudines donnait encore certaines inégalités, des stries plus ou moins colorées, qui conservaient au ton une certaine transparence. Aujourd'hui, les verres rouges doublés sont parfaitement égaux de ton, et pour les employer, les peintres verriers sont obligés, s'ils veulent obtenir une coloration fine à distance, de les jasper par des moyens factices. Au XIIe siècle, on n'avait pas les jaunes obtenus avec des sels d'argent; les jaunes étaient des verres blancs enfumés, et c'était le hasard qui les donnait, ainsi que l'indique Théophile 341.
Les jaunes de sels d'argent ne datent que du XIVe siècle; ils ne sont qu'appliqués sur le verre blanc.
Au point de vue décoratif, les verres en boudines, ou grossièrement étendus, présentaient un avantage. Comme ces verres étaient teints dans la masse, au moins pendant les XIIe et XIIIe siècles (sauf le rouge), les différences d'épaisseur de la feuille de verre laissaient apparaître des dégradations de tons que les artistes verriers employaient avec beaucoup d'adresse, en coupant le verre de manière que la partie la plus mince se trouvât du côté du clair. Même pour les fonds unis, ces différences d'épaisseur donnaient à toute coloration un aspect chatoyant qui, à distance, augmente singulièrement l'intensité des tons.
Tous les coloristes savent que pour donner à un ton toute la valeur qu'il doit avoir, il faut qu'il ne se présente à l'oeil que par parcelles, par échappées, si l'on peut ainsi parler. Les Vénitiens, les Flamands, connaissaient bien cette loi, et, pour s'en convaincre, il suffit de regarder leurs peintures.
Ce qui est vrai pour la peinture appliquée sur un panneau ou sur un mur est encore plus rigoureux, s'il s'agit de peinture translucide. Dans les vitraux, les couleurs participent de la lumière qui les traverse, et ont un éclat tel, que la moindre parcelle colorée prend, à distance, par le rayonnement, une importance prodigieuse. Mais il faut dire que les rayonnements des couleurs translucides ont des valeurs très-différentes. Ainsi, en ne prenant que les trois couleurs fondamentales, celles du prisme, le bleu, le jaune et le rouge, ces trois couleurs appliquées sur des verres, et translucides par conséquent, rayonnent plus ou moins. Le bleu est la couleur qui rayonne le plus, le rouge rayonne mal, le jaune pas du tout s'il tire vers l'orangé, un peu s'il est paille.

Ainsi, supposons un dessin de vitrail composé d'après la figure 2. Les traits noirs indiquent les plombs (voy. en A). Les compartiments R sont rouges, les compartiments L sont bleus, et les filets C, blancs. Voici l'effet qui se produira à une distance de 20 mètres environ (voy. en B).
Les compartiments circulaires l, bleus, rayonneront jusqu'à la circonférence ponctuée, et le rouge ne restera franc que dans les milieux de chacun des compartiments r. Il résultera de ceci: que toutes les surfaces o seront rouges glacées de bleu, c'est-à-dire violettes; que les blancs isolateurs entre les tons, mais n'ayant pas de rayonnement colorant, seront glacés légèrement en bleu en v, ainsi que les plombs eux-mêmes; que l'effet général de cette verrière sera froid et violacé dans la plus grande partie de sa surface, avec des taches r rouges, criardes si vous n'êtes pas très-éloigné de la verrière, sombres si vous êtes séparé d'elle par une grande distance. Mais si (voy. en A) nous diminuons le champ des disques bleus L par de la peinture noire, ainsi qu'on le voit en D, nous neutralisons en partie l'effet de rayonnement de ces disques. Si à la place des filets blancs C, nous mettons des filets blanc jaunâtre ou blanc verdâtre, et si nous traçons sur ces filets des lignes comme il est marqué en e, ou des perlés comme il est marqué en f, alors nous obtenons un effet beaucoup meilleur. Les bleus, ainsi puissamment entourés de dessins noirs et redessinés en noir intérieurement, perdent de leur faculté rayonnante. Les rouges sont beaucoup moins violacés par leur voisinage. Les tons jaunâtres ou blanc verdâtre des filets acquièrent de la finesse par le glacis bleu qui, mordant sur chacune de leurs extrémités, laisse entre ces extrémités une partie chaude qui s'allie avec le rouge, surtout si nous avons eu le soin d'augmenter la valeur des plombs par ces perlés ou par de simples traits intérieurs.
Admettons, au contraire, que les carrés R (voy. en A) soient bleus et les disques L rouges. À distance, le rayonnement puissant de ces grandes surfaces bleues, relativement aux taches rouges, sera tel, que ces taches rouges paraîtront noires ou violet sombre, et qu'on ne pourra soupçonner la présence du rouge. Les filets blancs paraîtront gris sale, ou verts, s'ils sont jaunes, ou vert azuré, s'ils sont blanc verdâtre. L'effet sera mauvais, sans oppositions. Le rayonnement du bleu affadissant et salissant les autres tons, ceux-ci n'auront plus la puissance de donner au bleu sa finesse et sa transparence. La coloration générale sera froide, laqueuse, d'une tonalité fausse; car, dans les vitraux, plus encore que dans la peinture, chaque ton n'acquiert une valeur que par l'opposition d'un autre ton. Un bleu clair près d'un vert jaune devient turquoise; ce même bleu près d'un rouge est azuré. Un rouge près d'un jaune-paille a un aspect orangé, tandis qu'il sera violacé près d'un bleu.
Ces principes élémentaires, et d'autres que nous aurons l'occasion de développer, étaient mis en pratique par les peintres verriers du XIIe siècle, avec une sûreté et une expérience telles, qu'il faut bien admettre chez ces artistes une longue suite d'observations. Nous ne pensons pas qu'ils eussent établi, sur ces relations des couleurs translucides, une théorie écrite, une sorte de traité scientifique, comme on le pourrait faire de nos jours; ils procédaient par la méthode expérimentale, et les traditions acquises se perpétuaient dans l'atelier.
Comme style du dessin applicable à la peinture sur verre et comme entente de l'effet simultané des couleurs translucides, le XIIe siècle a sur le XIIIe une supériorité incontestable. Alors, au XIIe siècle, le dessin procède d'après la méthode grecque byzantine; le nu impose la forme, les draperies ne font que l'envelopper, rien n'est laissé au hasard; l'ensemble et les détails sont conçus et exécutés suivant des principes établis sur une observation profonde: tandis que plus tard on constate souvent, au milieu de belles oeuvres, des négligences ou des oublis de ces principes.
Les verres employés par les artistes du XIIe siècle peuvent être classés ainsi:
BLEUS 342
1º Bleu limpide légèrement turquoise.
2º Bleu saphir, mais verdissant.
3º Bleu indigo, intense.
4º Bleu azuré, très-clair, gris de lin.
JAUNES
1º Jaune-paille, fumeux.
2° Jaune safran ou or bistré.
ROUGES
1° Rouge non doublé, orangé très-doux et égal de ton.
2° Rouge intense, jaspé.
3º Roux clair, fumeux.
VERTS
1º Vert jaune, limpide.
2º Vert-émeraude. Ce ton, à la main, paraît se rapprocher plutôt du gris que du vert; il prend son éclat à distance, et surtout par l'opposition des tons bleus et rouges.
3° Vert-bouteille. À la main, ce vert paraît froid; il prend sa qualité comme le précédent.
POURPRES
1° Pourpre clair, chaud.
2° Pourpre limpide, azuré.
3° Pourpre sombre, vineux.
4° Pourpre très-clair, fumeux, pour les chairs.
TONS RARES
1° Mordoré, couleur vin d'Espagne.
2° Vert sombre, chaud.
BLANCS
1° Blanc jaunâtre, fumeux.
2° Blanc gris, glauque.
3° Blanc nacré.
Toutes les opérations chimiques des verriers du moyen âge étant empiriques, le compte des imprévus, des variétés, était long. Théophile laisse assez comprendre que le hasard seul donnait certains tons, dont l'artiste savait profiter. La palette du verrier était ainsi très-étendue, et il ne faudrait pas prendre la classification que nous donnons ici comme absolue. Nous n'avons fait qu'indiquer les valeurs; mais comme tonalité, ces valeurs présentent des variétés nombreuses. Le talent des verriers consistait surtout à ne jamais juxtaposer deux valeurs égales et à profiter avec un sentiment réel de coloriste des variétés tonales.
Nous l'avons dit déjà, tous ces tons, sauf le rouge, sont répartis dans la masse du verre, et non doublés, ainsi qu'on les fabriqua plus tard.
Cette palette composée, les verriers procédaient comme l'indique le moine Théophile. Ils traçaient sur un carton les linéaments principaux des figures et ornements. Ces linéaments principaux donnaient les plombs; ou plutôt les plombs n'étaient que le dessin scrupuleux de toutes les parties. En composant son carton, l'artiste pensait à la mise en plomb; cela ressort clairement de l'examen attentif des verrières du XIIe siècle, puisque les contours sont toujours appuyés par un plomb qui fait ainsi le trait général. Sur ces cartons, les artistes peignaient-ils toutes les ombres, demi-teintes et linéaments intérieurs? Nous ne le croyons pas, pour deux raisons: la première, c'est qu'il arrive parfois que des pièces de verre n'ont été que découpées, et, par manque de temps ou par oubli, elles n'ont point été achevées de peindre; la seconde, que parfois aussi un même carton a servi pour deux figures, en pendant par exemple, et que le modelé intérieur diffère dans ces deux figures. Il y a tout lieu d'admettre que le maître traçait les contours sur le carton, avec quelques linéaments intérieurs principaux; que les ouvriers coupaient les verres sur ce carton en calquant les linéaments principaux comme points de repère, et que les verres assemblés provisoirement sur le châssis, à l'opposé de la lumière du jour, on les peignait d'inspiration, sans recourir à un carton opaque modelé d'avance.

La figure 3 343 fera comprendre cette façon de procéder. En A, nous avons tracé le carton préparé par le maître; en B, le modelé fait sur les verres mêmes, lorsqu'ils ont été coupés et assemblés provisoirement sur le châssis à contre-jour. On conçoit comment avec un dessin aussi précis, donnant les plombs, il n'était guère nécessaire d'indiquer sur le carton tout le modelé. Les lignes ponctuées sur la figure A donnent les plombs de jonction qui contrarient les contours. Pour éviter de trop grande, pièces de verre, le maître a tracé, sur le manteau, la bande a, qui est d'une autre couleur et que les plombs dessinent franchement.
Il fallait nécessairement que les ouvriers peintres chargés d'apposer la grisaille ou le modelé sur les morceaux de verre découpés d'après le carton, sussent dessiner. Il est vrai de dire qu'alors en Occident, comme dans les écoles byzantines, on avait de véritables procédés pour peindre une tête ou un vêtement 344; et ces procédés étaient, à tout prendre, établis sur une longue et profonde observation des effets décoratifs. Il suffisait donc, dès que le maître avait tracé le carton (et alors le style lui appartenait), de trouver des ouvriers habiles de la main et assez imbus des procédés traditionnels pour peindre sur les verres coupés le modelé convenable. Nous ne comprenons pas l'art de la peinture de cette façon aujourd'hui, et il ne faut pas le regretter, s'il s'agit de tableaux faits pour être placés en dehors d'un effet décoratif général, comme des objets possédant leurs qualités propres indépendamment de ce qui les entoure. Mais si la peinture participe d'un ensemble, si elle entre dans le concert d'harmonie générale que tout édifice semble devoir offrir aux yeux, elle est nécessairement soumise à des lois purement physiques que l'on ne peut méconnaître et qui sont supérieures au talent ou au génie de l'artiste. En effet, le génie d'un maître ne peut modifier les lois de la lumière, de la perspective et de l'optique. Nous savons bien qu'un assez grand nombre d'artistes de notre temps sont doués d'un sentiment trop fougueux ou indépendant pour se soumettre à d'autres lois que celles dictées par leur fantaisie; mais nous savons avec non moins de certitude que la lumière, l'optique, la perspective, n'ont pas encore modifié les lois qui les régissent pour complaire à ces esprits insoumis. Si la lumière, l'optique et la perspective sont des conditions physiques d'un autre âge, si elles ont régné dans des temps de barbarie, elles règnent encore à l'heure qu'il est, et ne paraissent pas encore disposées à abdiquer, ni même à vieillir. Or, les artistes qui ont composé les verrières des XIIe et XIIIe siècles manifestaient au contraire leur soumission absolue à ces lois, ils s'en aidaient avec autant d'intelligence que de modestie. Cette soumission nous donne un enseignement dont nous ne profitons guère, mais qui, pour cela, n'en est pas moins bon et vaut la peine d'être examiné.
Personne n'ignore les tentatives faites depuis une trentaine d'années pour rendre à la peinture sur verre un éclat nouveau. Nos verriers les plus habiles ont fait parfois d'excellents pastiches; ils ont complété d'anciennes verrières avec une perfection d'imitation telle, qu'on ne saurait distinguer les restaurations des parties anciennes. Ils ont donc ainsi pris ample connaissance des procédés, non-seulement de fabrication matérielle, mais d'art, appliqués à ces sortes de peintures 345. Ils ont pu reconnaître les qualités remarquables des anciens vitraux comme effet décoratif et harmonie, et la perfection, difficile à atteindre, de certains procédés d'exécution, l'habileté matérielle des ouvriers, et apprécier le style des maîtres, si bien approprié à l'objet. Cet art du verrier n'est donc pas un mystère, un secret perdu.
Ce qui a été oublié pendant plusieurs siècles, ce sont les seuls et vrais moyens qui conviennent à la peinture sur verre, moyens indiqués par l'observation des effets de la lumière et de l'optique; moyens parfaitement connus et appliqués par les verriers des XIIe et XIIIe siècles, négligés à dater du XVe, et dédaignés depuis, en dépit, comme nous l'avons dit, de ces lois immuables imposées par la lumière et l'optique. Vouloir reproduire ce qu'on appelle un tableau, c'est-à-dire une peinture dans laquelle on cherche à rendre les effets de la perspective linéaire et de la perspective aérienne, de la lumière et des ombres avec toutes leurs transitions, sur un panneau de couleurs translucides, est une entreprise aussi téméraire que de prétendre rendre les effets des voix humaines avec des instruments à cordes. Autre procédé, autres conditions, autre branche de l'art. Il y a presque autant de distance entre la peinture dite de tableaux, la peinture opaque, cherchant à produire l'illusion, et la peinture sur verre, qu'il y en a entre cette même peinture opaque et un bas-relief. Le bas-relief serait-il peint, que jamais il ne pourrait rendre l'effet d'une peinture opaque sur un mur ou sur une toile; ce bas-relief ainsi enluminé ne sera jamais qu'un assemblage de figures sur un seul plan. Dans une peinture opaque, dans un tableau, le rayonnement des couleurs est absolument soumis au peintre qui, par les demi-teintes, les ombres diverses d'intensité et de valeur suivant les plans, peut le diminuer ou l'augmenter à sa volonté. Le rayonnement des couleurs translucides dans les vitraux ne peut être modifié par l'artiste; tout son talent consiste à en profiter suivant une donnée harmonique sur un seul plan, comme un tapis, mais non suivant un effet de perspective aérienne. Quoi qu'on fasse, une verrière ne représente jamais et ne peut représenter qu'une surface plane, elle n'a même ses qualités réelles qu'à cette condition; toute tentative faite pour présenter à l'oeil plusieurs plans détruit l'harmonie colorante, sans faire illusion au spectateur: tandis qu'une peinture opaque a et doit avoir pour effet de faire pénétrer l'oeil dans une série de plans, de présenter une succession de solides. N'y eût-il qu'une figure dans une peinture, et cette figure fût-elle posée sur un fond uni, que le peintre prétend donner à cette figure l'apparence d'un corps ayant une épaisseur. Si le peintre n'atteint pas ce résultat dès ses premiers essais, il n'est pas moins certain que c'est le but vers lequel il tend, aussi bien dans l'antiquité, grecque que dans les temps modernes. Transposer cette propriété de la peinture opaque dans l'art de la peinture translucide est donc une idée fausse. La peinture translucide ne peut se proposer pour but que le dessin appuyant aussi énergiquement que possible une harmonie de couleurs, et le résultat est satisfaisant comme cela. Vouloir introduire les qualités propres à la peinture opaque dans la peinture translucide, c'est perdre les qualités précieuses de la peinture translucide sans compensation possible. Ce n'est point ici une question de routine ou d'affection aveugle pour un art que l'on voudrait maintenir dans son archaïsme, ainsi qu'on le prétend parfois; c'est une de ces questions absolues, parce que (nous ne saurions trop le répéter) elles sont résolues par des lois physiques auxquelles nous ne pouvons rien changer. Vous ne ferez jamais chanter une guitare comme Rubini, et si quelques personnes prennent plaisir à entendre jouer l'ouverture de Guillaume Tell sur le flageolet, cela ne peut être du goût des amateurs de musique.
Nous croyons que cette discussion est ici à sa place, parce que nous avons entendu maintes fois répéter: «Que si les vitraux des XIIe et XIIIe siècles sont beaux, ce n'est pas une raison pour reproduire éternellement les meilleurs types qu'ils nous ont laissés; qu'il faut tenir compte des progrès faits dans le domaine des arts; que ces figures archaïques ne sont plus dans nos goûts, etc.» Certes, il n'est point nécessaire de calquer éternellement ces types des beaux temps de la peinture sur verre, de faire des pastiches en un mot; mais ce qu'il ne faut point perdre de vue, ce sont les procédés d'art si habilement appliqués alors à cette peinture; ce qu'il faut éviter (parce que cela n'est pas un progrès, mais bien une décadence), c'est cette transposition d'une forme de l'art dans une autre qui lui est opposée. Avec plus de persistance que de bonne foi, on affecte souvent de nous ranger parmi les fanatiques du passé, parce que nous disons: «Profitez de ce qui s'est fait; faites mieux si vous pouvez, mais n'ignorez pas les chemins déjà parcourus, les résultats déjà obtenus dans le domaine des arts. Or, ce que vous nous donnez souvent comme une inspiration pleine d'avenir, n'est qu'un oubli de longs et utiles travaux, ou un assemblage incohérent de formes mal comprises ou de procédés faussement appliqués.»
Les vitraux du XIIe siècle sont maintenus en place, comme ceux du XIIIe, par des plombs qui sertissent chaque morceau de verre, en composent des panneaux; des vergettes on tringlettes maintiennent ces panneaux dans leur plan et les empêchent de s'affaisser sous leur propre poids. Ces panneaux sont posés dans des armatures de fer (voyez ARMATURE).
Il est clair que ces panneaux ne peuvent dépasser certaines dimensions, puisqu'ils doivent résister à la pression du vent. La mise en plomb laisse une élasticité très-nécessaire à la conservation de ces panneaux. Le compositeur verrier doit tenir compte de ces éléments matériels de l'oeuvre. Ce sont là des conditions non moins impérieuses que celles imposées par la lumière et l'optique. Ce sont des conditions de solidité, de durée, et qui, par cela même, doivent influer sur la conception de l'artiste, et dont il s'aide, s'il est habile. Les armatures de fer dessinent les grandes divisions décoratives et donnent l'échelle de l'objet, chose plus utile qu'on ne le pense généralement. Les plombs accusent le dessin et séparent les couleurs par un trait ferme, condition nécessaire à l'effet harmonieux des tons translucides. Reste le modelé intérieur. C'est là que les verriers du XIIe siècle, particulièrement, ont montré leur profonde observation des effets de la peinture translucide. Ces artistes savaient: 1° que les tons n'ont qu'une valeur relative; 2° que le rayonnement de certaines couleurs translucides est tel, qu'il altère ou modifie même la qualité de ces couleurs; 3° que le modelé appliqué sur le verre doit, dans les parties les plus ombrées, laisser apparaître le ton local, non à travers un glacis, mais par échappées pures; car une ombre qui couvre un verre coloré donne à distance un ton opaque qui ne participe pas de la couleur de ce verre qu'elle couvre, mais du rayonnement des couleurs voisines, en raison de la propriété rayonnante de ces couleurs.

Ainsi, pour rendre notre explication claire: supposons (fig. 4) un disque de verre rouge A entouré de verre bleu; si nous avons posé autour de ce disque une ombre (fût-elle translucide elle-même, comme un glacis un peu opaque), cette ombre participera, non du ton local rouge du verre, mais du rayonnement bleu du verre d'entourage. Cette ombre prendra dès lors un ton faux et sale, mélange de brun et de bleu, qui fera paraître le bleu creux, sans solidité, et le ton rouge criard. Si, au contraire (voy. en B), nous avons eu le soin de poser cette ombre sur le disque, non à plat, mais par hachures et en laissant un orle rouge pur tout autour, cet orle et les interstices laissés entre les hachures donneront à l'ombre une localité rouge, et le bleu conservera sa qualité. L'orle et les interstices des hachures prendront assez de valeur, à cause de l'opposition des traits noirs, pour lutter contre le rayonnement du ton bleu et laisser à l'ombre du disque sa localité rouge.

Voyons l'application de cette formule. Voici (fig. 5) un fragment de la belle verrière de la cathédrale de Chartres 346, qui représente un arbre de Jessé. Cette verrière date du milieu du XIIe siècle 347. Le fond est bleu, de ce bleu limpide, un peu nuancé de vert, qui appartient à la fabrication de cette époque, et qui rappelle la couleur de certains ciels d'automne, entre la bande orangée du soleil couchant et la pourpre voisine du zénith. La robe du roi est d'un ton vineux, pourpre chaud, le manteau vert d'émeraude, le pallium et la couronne sont jaune fumée, les chaussures et les parements des manches rouges. On voit que le modelé peint sur ces vêtements ne se compose que d'une succession de hachures laissant entre elles, et notamment près des bords percer le ton local; de telle sorte que le rayonnement du verre bleu du fond est neutralisé par ces échappées des tons locaux des vêtements à travers les interstices des hachures. Ces observations, qui sembleraient contredire en partie la démonstration qui accompagne la figure 2, n'en sont cependant qu'un corollaire. Dans la figure 2, nous avons vu que pour neutraliser l'effet du rayonnement des tons bleus sur les tons rouges, nous avons diminué la surface de ces tons bleus par une peinture opaque, une sorte d'écran découpé qui soumet leur contour à des formes redentées. Or, à distance, lorsque les couleurs translucides sont très-rayonnantes, on diminue bien la propriété de ces couleurs à l'aide d'écrans découpés; mais, par l'effet de cette propriété rayonnante, les écrans découpés paraissent diffus, et les interstices laissés purs perdent simplement de leur valeur colorante relative. L'effet contraire se produit pour les couleurs à faible rayonnement, leur intensité colorante augmente en raison du peu de surface que vous laissez pur entre les découpures d'un écran. Exemple (fig. 6): soit un verre bleu A, dont on a diminué la surface rayonnante par la peinture opaque ou écran B.

À distance, ce verre bleu produira l'effet indiqué en C. Plus on l'éloignera, plus la peinture écran sera confuse, mais aussi plus le bleu tendra à grisonner. Soit un verre rouge peint de la même manière: plus on s'éloignera, plus la peinture écran prendra d'étendue, en perdant un peu de sa qualité opaque; si bien qu'à une grande distance, on ne distinguera plus le rouge que par touches aiguës, ainsi qu'on les voit figurées en E, mais ces touches gagneront en intensité colorante ce qu'elles perdent en étendue. Nous admettons que le verre rouge est fouetté; s'il était uni, à distance il paraîtrait lie de vin ou marron. D'après ce principe, chaque couleur translucide doit donc recevoir une peinture écran en raison de sa propriété rayonnante. Les verriers du XIIe siècle prouvent par les oeuvres qu'ils nous ont laissées qu'ils avaient une parfaite connaissance de ces lois, et nous avouons, quant à nous, ne les connaître que par l'étude attentive de ces oeuvres. Qu'ils soient arrivés à ces résultats par un empirisme prolongé ou par des observations savantes recueillies en Orient, cela, au fond, nous importe assez peu; le fait donne raison à leurs méthodes. Car, de toutes les verrières connues, celles du XIIe siècle possèdent seules cette harmonie claire et sûre qu'on ne peut se lasser d'admirer; harmonie si franche, qu'à une très-grande distance, et sans avoir besoin d'examiner le style des dessins, on reconnaît une de ces verrières au milieu de beaucoup d'autres 348. Connaissant donc les propriétés plus ou moins rayonnantes des verres colorés, les verriers du XIIe siècle ont posé et peint ces verres en raison de ces propriétés, et aussi de l'influence que les couleurs translucides exercent les unes sur les autres.
Sachant, par exemple, que ce bleu limpide dont nous parlions tout à l'heure a, par-dessus toutes les autres couleurs, une qualité rayonnante, ils ne l'ont employé en grandes parties que dans des fonds; et pour empêcher le rayonnement de ces surfaces bleues d'influer d'une manière fâcheuse sur les tons voisins (tous moins rayonnants, à des degrés différents), ils ont chargé ceux-ci de linéaments, de hachures, de détails opaques en façon d'écrans, afin de rendre à ces tons une intensité plus grande en vertu de la loi expliquée figure 6; mais, d'ailleurs (toujours en vertu de cette loi et de celle expliquée également. figure 4), ils se sont bien gardés de salir ces tons par des ombres unies, eussent-elles été même translucides, et ont laissé toujours percer des parcelles du ton local à travers les réseaux ombres les plus chargés. Ces artistes ont encore usé des verres blancs (nacrés), comme appoint indispensable pour donner aux couleurs leurs rapports relatifs. Ainsi, dans l'exemple donné (fig. 5), le branchage de l'arbre de Jessé, quelques feuilles des bouquets, sont coupés dans du verre blanc; mais ces parties lumineuses sont chargées de détails peints qui en atténuent l'éclat et la dureté 349.

Le fond bleu qui entoure l'arbre, sujet principal, et qui occupe tout le milieu de la fenêtre, est combattu par deux larges bordures dont voici (fig. 7) la répartition; car c'est par l'ensemble autant que par les détails que se recommande cette composition. En A, règne le fond bleu sur lequel se détachent en vigueur les tons des personnages et en lumière les branchages de l'arbre. En B, sont des prophètes sur fond rouge. Ces prophètes sont principalement vêtus de bleu et de jaune fumée, ils tiennent des phylactères blancs. Cette tonalité chaude (car le bleu n'est plus ici le même que celui du fond, mais plus intense ou plus vert) donne une transparence lumineuse au fond bleu du centre. Pour relier ces fonds rouges des prophètes, l'artiste a drapé le Jessé couché en C d'un large manteau rouge; il repose sur un lit tendu de blanc qui sert de point de départ, de souche à la tonalité de l'arbre. Une robe bleu sombre qui revêt le haut du corps du Jessé, ce blanc et quelques franges jaunes, donnent un éclat incomparable au rouge du manteau. Les demi-cercles rouges qui servent de champ aux prophètes sont sertis d'une bande bleue dans le ton du fond A et d'un liséré blanc chargé de détails; puis les écoinçons G sont sur fond d'un beau vert d'émeraude chaud et limpide.

Autour se développe une bordure splendide comme composition et éclat, dont nous donnons (fig. 8) le détail au sixième de l'exécution. En A, sont les fonds rouges des prophètes; en B, le filet bleu qui rappelle le ton du fond du Jessé, puis le liséré blanc ondé, enlevé au style sur un ton bistré apposé sur le verre; en C, le fond vert des écoinçons. Ceux-ci sont chargés d'un carré bleu bistré de peinture, avec des détails extrêmement délicats enlevés au style, conformément à la méthode indiquée par Théophile. Ces carrés bleus sont coupés par des ornements pourpre chaud qui mordent sur le fond vert. Un liséré blanc, également bistré et enlevé, entoure le carré bleu. Le rouge apparaît de nouveau en R. Un perlé jaune fait le bord intérieur de la bordure; il est doublé d'un filet bleu F, du même ton que le fond du Jessé. Le rouge réapparaît en G, et le bleu du fond du Jessé en L. Pour l'entrelacs perlé, il est fait sur verre blanc. Les cercles et les feuilles en lancettes sont jaune fumée; les feuilles, vertes et pourpre; le perlé extérieur est jaune douteux. Dans cette verrière, il n'y a donc que les verres dont voici les tons:
1° Blanc nacré; blanc fumeux;
2° Bleu limpide;
3° Bleu intense verdâtre, et par exception indigo;
4° Vert d'émeraude;
5° Vert se rapprochant du ton de la turquoise;
6° Pourpre chaud;
7° Rouge;
8° Jaune deux tons;
9° Les tons des chairs sont pourpre clair, fumeux.
Il était donc facile au maître, suivant ce que dit Théophile, de marquer sur son carton les couleurs par des lettres, et d'établir ses rapports harmoniques plus sûrement qu'il ne l'eût pu faire en tâtonnant avec une palette de tons. Le ton bleu du sujet principal à commandé toute la tonalité du reste. Il fallait laisser éclater la splendeur lumineuse dans ce milieu. Cette donnée a commandé les fonds rouges des prophètes, le rappel du bleu du fond principal sur les filets demi-circulaires. Pour faire valoir, et la vigueur de la coloration rouge et la transparence rayonnante du bleu, on a placé les fonds vert d'émeraude des écoinçons. Puis encore a-t-on rappelé le fond bleu, mais en lui donnant une valeur solide par l'adjonction de cette délicate ornementation des carrés. Enfin, la bordure résume tous les tons répartis dans les sujets principaux, mais par petits fragments; de manière que cette bordure, d'un effet solide et puissant, ne rivalise pas cependant avec les larges dispositions des parties centrales. Ces entrelacs blancs perlés sont comme une marge brillante aux peintures principales; marge qui se rattache aux sujets par ces carrés bleus délicatement niellés et sertis de lisérés blancs.
Si maintenant nous examinons les détails de cette bordure (fig. 8), nous observons que les feuillages pourpres, verts et jaunes, qui se détachent sur le fond bleu L, sont modelés conformément à la méthode indiquée par la figure 4, c'est-à-dire que ce modelé laisse toujours voir des parties pures du verre entre les hachures, et notamment sur les bords de l'ornement, afin de lutter contre le rayonnement du fond bleu, qui, d'ailleurs, n'est visible qu'en pièces relativement petites.
On croit trop facilement que les peintures sur verre anciennes doivent en partie leur harmonie à la salissure que le temps a déposée sur leur surface; et nous avons souvent entendu des peintres verriers mêmes prétendre que ces vitraux des XIIe et XIIIe siècles devaient produire un effet criard lorsqu'ils étaient neufs. Cette opinion peut être soutenue s'il s'agit de certaines verrières de pacotille, comme on en a fabriqué dans tous les temps, et surtout pendant le XIIIe siècle; elle nous semble erronée s'il s'agit des verrières du XIIe siècle que nous possédons encore, en trop petit nombre malheureusement, et des bonnes verrières du XIIIe. En examinant les figures 3, 5 et 8, il est facile de reconnaître que les peintres ont parfaitement paré aux effets criards par la multiplicité et la disposition des traits ou hachures composant le modelé. En laissant les fonds limpides, et choisissant pour ces fonds des tons francs, mais d'une belle qualité colorante, lumineuse, ils ont eu le soin d'occuper tous les tons entrant dans la composition des figures et ornements, par un modelé serré ou des détails délicats qui donnent à ces tons la valeur relative convenable. On remplace habituellement aujourd'hui ce travail délicat et si bien entendu pour faire valoir la qualité de chaque ton, par une salissure factice mise de façon à laisser apparaître par échappées les tons purs, et l'on obtient ainsi parfois une harmonie à bon compte. Mais il faut avouer que ce procédé est barbare, et permet de supposer que nos verriers n'ont pas une théorie bien nette des conditions de l'harmonie des vitraux. C'est à peu près comme si, pour dissimuler le défaut d'accord entre des instrumentistes exécutant une symphonie, on faisait dominer, du commencement à la fin, une basse continue, une sorte de ronflement neutre, avec quelques rares intervalles laissant entendre par échappées une ou deux mesures débarrassées de cet accompagnement monotone. Faire de la peinture, translucide surtout, c'est-à-dire d'un éclat sans rival, pour la salir sous prétexte de l'harmoniser, est une idée qui peut entrer dans le cerveau d'amateurs passionnés de la patine des objets d'art plutôt que de ces objets mêmes, mais ne pouvait venir à l'esprit d'artistes qui cherchaient par tous les moyens sincères et profondément étudiés à rendre leurs conceptions. Il est évident toutefois que déjà au XIIIe siècle, on apposait certains glacis par parties sur des verrières communes 350; mais ces légers glacis apposés à froid, et probablement sur la verrière mise en place, ont des expédients pour obtenir un effet d'ensemble, et non une salissure mise au hasard sur les panneaux.
Les verrières du XIIe siècle des cathédrales de Chartres et du Mans, de l'église abbatiale de Saint-Denis, de Vendôme et d'Angers, pouvaient et peuvent se passer de cette patine, puisque (sauf les fonds qui, ne l'oublions pas, sont faits avec des verres d'une qualité harmonieuse incomparable) tous les détails de l'ornementation et des figures sont couverts d'un travail au pinceau. Il y avait donc alors pour les artistes verriers deux opérations distinctes propres à obtenir l'harmonie générale d'un vitrail quand le carton était dessiné: 1° la désignation des tons des verres sur ce carton; 2° le travail au pinceau sur ces verres, qui complétait l'harmonie en donnant à chaque ton l'importance relative convenable.
La méthode adoptée par les artistes du XIIe siècle pour la première partie de ce travail est donnée par Théophile; c'était au moyen de lettres que le maître indiquait les couleurs sur le carton.
Or, cette méthode devait se rapprocher de celle que nous allons indiquer en nous appuyant sur les exemples de verrières de cette époque. En supposant les cinq voyelles exprimant:
|
A = le blanc. E = le pourpre foncé. I = le pourpre clair. O = le vert d'émeraude. U = le vert bleu turquoise. |
|
couleurs composées |
les consonnes exprimant:
|
B = le bleu. J = le jaune. R = le rouge |
|
couleurs simples 351. |
nous partons de cette première loi: que toute couleur simple dominant dans un sujet, formant le fond, par exemple, il faut, avec elle, employer en majorité les couleurs composées; que si, avec cette couleur simple du fond, on met d'autres couleurs simples, il faut, ou que ces couleurs soient en petites parties, ou isolées par un appoint blanc important. Exemple: dans la figure 5 de l'arbre de Jessé de Chartres (premier roi), le fond étant B, les voyelles doivent dominer dans la composition. En effet, l'artiste a mis: manteau, O; robe, I; branchage, A; fleurs, E, U, I, O. Les consonnes n'apparaissent plus que pour de petites parties: couronne, pallium, deux feuilles inférieures dans les bouquets du haut, feuille centrale dans les bouquets du bas, J; agrafe, manchettes, souliers du roi, R. Si nous prenons les autres rois au-dessus du premier et la Vierge du sommet, la loi est la même, c'est-à-dire que le fond étant la consonne B, ce sont les voyelles qui composent les personnages et ornements. Dans le bas, le Jessé est couvert d'un ample manteau rouge, pour une raison d'harmonie indiquée plus haut, mais ce manteau est entièrement entouré de la consonne A, c'est-à-dire de blanc. Même règle pour la bordure: le fond des bouquets est B, les bouquets sont I, O, la lancette centrale et la rouelle sont J; mais la lancette centrale est très-menue, se rattache au blanc, ainsi que la rouelle. Cependant les fonds des prophètes sont R, et le B entre pour une forte part dans les vêtements de ces prophètes, ainsi que le J; mais c'est là un de ces procédés d'harmonie fréquents à cette époque et qui confirme la règle ci-dessus donnée. D'abord le B ou le bleu employé est, dans la plupart de ces vêtements, ou verdâtre ou azuré clair, ce qui n'en fait plus une couleur simple; le J est ou paille ou très-fumeux. Il y a ici un cas particulier, la donnée harmonique de l'artiste était celle-ci: obtenir un milieu brillant, limpide, léger, doux à l'oeil. Pour arriver à ce résultat, il fallait avoir autour de cette partie centrale une coloration vigoureuse, un peu dure même, une sorte de dissonance qui fît repoussoir. De là ces alliances de rouge et de bleu. Mais si l'on regarde cette belle verrière, avec quel art de coloriste cet effet est-il obtenu! Dans ces vêtements bleus des prophètes passent des bandes pourpres; puis, sur des parties voisines d'un bleu azuré, des tons vert d'émeraude très-lumineux; de longs phylactères blancs, même des robes blanches, viennent détruire ce qu'il y aurait de trop forcé dans les tons de ces deux bordures des prophètes. La puissance du fond vert d'émeraude des écoinçons, séparé du fond rouge des prophètes par un filet blanc et un filet B pur qui est le B du fond des rois, ajoute encore à l'effet solide de la tonalité, et ce vert d'émeraude est rendu fin et doux cependant par les larges feuilles pourpres qui mordent dessus et qui partent des carrés bleus niellés (voy. la fig. 8).
Les peintres verriers du XIIe siècle ont employé parfois ces fonds verts, mais seulement pour des parties accessoires, des ornements, et pour faire participer ces fonds à un système de bordure dans le genre de celui que nous venons de décrire. D'ailleurs, pour les sujets, pendant les XIIe et XIIIe siècles, les fonds bleus et rouges; c'est-à-dire des couleurs simples d'une coloration puissante, sont seuls employés, et cela se conçoit. Dès l'instant que les verriers avaient reconnu qu'avec une couleur dominante, comme un fond, il ne faut plus qu'exceptionnellement des couleurs de même ordre, c'est-à-dire qu'avec une couleur consonne dominante (pour en revenir à notre théorie), il ne faut employer que des couleurs voyelles, et vice versa, force était de prendre pour les fonds les couleurs simples; car, en supposant qu'on eût pris un fond pourpre (couleur composée); par exemple, les objets compris dans ce fond ne pouvaient être que le bleu, le rouge et le jaune (couleurs simples). Cela diminuait les ressources de la palette du verrier à trois couleurs et au blanc, pour tous les vêtements, nus et ornements du sujet, ce qui présentait une harmonie monotone et bornée. En adoptant les fonds bleus et rouges, bleus surtout, le peintre verrier avait, pour colorer les sujets et ornements, deux verts, deux pourpres, le bleu gris de lin et le bleu turquoise, c'est-à-dire six couleurs, sans compter le blanc et les blancs rompus. D'ailleurs, avec le fond bleu, il pouvait, au moyen de quelques artifices, employer encore le rouge et le jaune, et avec le fond rouge, le bleu et le jaune. Il est encore une autre considération: le bleu et le rouge seuls peuvent, comme ton de fond, se passer de peinture, sans paraître creux. Le jaune est trop absorbant, non par son rayonnement, puisqu'il n'en a pas, mais par son éclat; quant aux tons composés et rompus, s'ils ne sont pas chargés de peinture, c'est-à-dire modelés, ils ne se soutiennent pas: le regard, pour ainsi parler, passe à travers et cherche quelque chose au delà. Le bleu et le rouge translucides seuls, dépourvus de peinture, de modelé, offrent à l'oeil une surface colorée solide, intense, sur laquelle il s'arrête.
Nous avons vu (fig. 2 et 6) que les peintres atténuaient le rayonnement du bleu par l'apposition, sur le bleu, d'une peinture écran qui en diminuait la surface et qui altérait sa tonalité au profit des couleurs voisines moins rayonnantes. Mais pour les fonds des sujets, au XIIe et au XIIIe siècle, il était très-rare que les fonds bleus fussent chargés d'une peinture écran; aussi, pour lutter contre le rayonnement de ces fonds bleus, les verriers avaient-ils le soin de placer beaucoup de filets ou de détails blancs ou bleu gris très-clair dans les sujets enveloppés par ces fonds. En effet, le blanc gris bleu, qui a un rayonnement égal au bleu saphir, conserve auprès de ce bleu saphir toute sa valeur; il en est de même, ou à peu près, de certains pourpres pâles et lilas, de certains verts glauques. Aussi ces tons sont-ils très-fréquemment employés dans les sujets ou ornements se détachant sur fond bleu franc. Pour empêcher les fonds bleus de rayonner en dehors de leur périmètre, les artistes des XIIe et XIIIe siècles ont usé d'un moyen qui ne manque jamais son effet. Ils plaçaient autour de ce fond un filet rouge, puis un filet blanc. Voici le phénomène qui se produit alors: la présence du filet blanc empêche le rouge d'être violacé par le rayonnement du bleu.

Soit (fig. 9) un sujet A sur fond bleu; si ce fond bleu est entouré d'un filet rouge B, et celui-ci enveloppé d'un filet blanc C, le rayonnement du bleu n'a pas d'action sur le filet rouge, ne le rend pas violet; ce rouge conserve toute sa pureté et fait d'autant mieux valoir la finesse du ton bleu. L'action du filet blanc sera encore plus efficace, si ce filet est perlé, comme il est indiqué en P, parce que le blanc, réduit à des touches répétées, prend d'autant plus de fermeté. Mais si l'on fait le contraire, c'est-à-dire si l'on met le filet blanc en B, à l'intérieur, et le filet rouge en C, à l'extérieur, le blanc sera quelque peu azuré par le voisinage du bleu, et ne présentera plus, pour le rouge, une opposition qui fera ressortir son éclat; partant le rouge sera terni par le rayonnement du bleu passant à travers le blanc.
Il est facile, par une expérience que chacun peut faire, de se rendre compte de cet effet. Si le filet rouge est compris entre deux filets blancs (perlés surtout), il conserve de même sa valeur, et l'on obtient une harmonie d'une extrême délicatesse; car alors entre le rouge, qui ne perd rien de sa qualité, et le bleu, il s'interpose un orle nacré qui fait une transition des plus heureuses entre le rouge et le bleu. En effet, la juxtaposition du rouge et du bleu est périlleuse; elle est une véritable dissonance, et c'est avec beaucoup d'adresse que les peintres verriers des XIIe et XIIIe siècles s'en sont servis. Si par l'extraposition du blanc, le rouge conserve sa qualité et n'est plus soumis au rayonnement du bleu, l'harmonie est dure; si le blanc fait défaut, le rouge est violacé et prend une qualité fausse: l'interposition d'un blanc verdâtre ou jaunâtre entre le rouge et le bleu (à la condition d'avoir du blanc également à l'extérieur du rouge) produit l'effet le plus heureux. Les peintres qui ont fait les belles verrières de Chartres, de Bourges, etc., ont usé largement de ce moyen de sertir les fonds bleus.
Après avoir étudié nos plus belles verrières françaises, on pourrait établir qu'au point de vue de l'harmonie des tons, la première condition pour un artiste verrier est de savoir régler le bleu. Le bleu est la lumière dans les vitraux, et la lumière n'a de valeur que par les oppositions. Mais c'est aussi cette couleur lumineuse qui donne à tous les tons une valeur. Composez une verrière dans laquelle il n'entrerait pas de bleu, vous n'aurez qu'une surface blafarde ou crue, que l'oeil cherchera à éviter; répandez quelques touches bleues au milieu de tous ces tons, vous aurez immédiatement des effets piquants, sinon une harmonie savamment conçue. Aussi la composition des verres bleus a-t-elle singulièrement préoccupé les verriers des XIIe et XIIIe siècles. S'il n'y a qu'un rouge, que deux jaunes, que deux ou trois pourpres et deux ou trois verts au plus, il y a des nuances infinies de bleu, depuis le bleu clair gris de lin jusqu'au bleu foncé violacé, et depuis le bleu glauque et le bleu turquoise jusqu'au bleu saphir verdissant; or, ces bleus sont posés avec une très-délicate observation des effets qu'ils doivent produire sur les autres tons et que les autres tons doivent produire sur eux. Il y a, par exemple, des harmonies très-heureuses produites avec des tons bleus glauques et des rouges (le rouge comme fond, bien entendu), avec ces mêmes bleus, et des bleus indigo et avec des verts d'émeraude. L'association du vert et du bleu, si périlleuse, donne à ces artistes coloristes des tonalités d'une finesse extraordinaire, et dont on ne peut trouver d'exemples que dans certains émaux persans et dans les fleurs de nos champs. Tout le monde a pu reposer ses regards sur l'harmonie si douce de la fleur du lin sur la verdure. Mais de même que la nature a mis toujours des verts assortis à chaque coloration de fleur, de même ont fait ces artistes, et peut-être s'inspiraient-ils de ces modèles. Toujours est-il que, dans les grands vitraux ou dans les vitraux à sujets légendaires des XIIe et XIIIe siècles, jamais le regard n'est heurté par ces taches qui apparaissent dans les verrières des époques postérieures. L'harmonie n'est jamais dérangée par une touche mise mal à propos; tout se tient, se lie, comme dans les beaux tapis d'Orient.
Il y a évidemment, pour chaque composition, pour chaque vitrail, une tonalité admise par le compositeur; on pourrait presque dire qu'il y a des verrières en ton mineur, des verrières en ton majeur. Cela est sensible dans les édifices où il existe un grand nombre de ces verrières, comme les cathédrales de Sens, de Bourges, du Mans, de Chartres, de Tours, de Troyes, d'Auxerre.
Jamais cependant ces verrières anciennes n'affectent ces colorations rousses, revêtues d'un glacis ambré que l'on a donné parfois à certains vitraux du XVIe siècle, que nos verriers modernes prennent pour une coloration chaude, mais qui a le grand inconvénient de manquer de lumière et de donner aux intérieurs un ton faux, sans air et sans profondeur; si bien que dans un vaisseau tamisant cette coloration de lampe, il semble qu'on étouffe et que tous les objets se rapprochent de l'oeil.
C'est en partie au judicieux emploi des bleus dans leurs vitraux que les artistes des XIIe et XIIIe siècles doivent de donner aux vaisseaux vitrés une profondeur et une atmosphère nacrée qui les font paraître plus élevés et plus vastes qu'ils ne le sont réellement. Le bleu est donc la base de la coloration des vitraux; mais c'en est aussi l'écueil, écueil sur lequel les artistes du XIIIe siècle ont parfois échoué en donnant à quelques-unes de leurs verrières une tonalité violette désagréable ou une tonalité froide à l'excès, qui affecte le sens de la vue comme un acide affecte le palais 352.
Dans les vitraux du XIIe siècle; les bordures prennent beaucoup d'importance, comme on peut le reconnaître par l'exemple que nous avons donné (fig. 7 et 8); quant aux fonds entre les sujets, ils sont réduits autant que possible, et se composent d'ornements plutôt que de semis ou quadrillés, ainsi qu'on le pratiqua au XIIIe siècle. À cette époque, où l'on multiplia les vitraux légendaires, c'est-à-dire composés de petits sujets compris dans un même vitrail et jetés sur une sorte de tapisserie uniforme, on prétendit donner à cette tapisserie formant fond, et sur laquelle brochaient les panneaux à sujets, un ton qui ne pût rivaliser avec les couleurs dont ces sujets étaient composés. Pour ces sujets légendaires, le rouge ne convenait guère. Son intensité absorbait les détails répandus dans ces sujets; il rendait l'emploi des pourpres très-difficile, sinon impossible, et s'alliait mal avec le jaune; de telle sorte que pour colorer sur les fonds rouges les vêtements des personnages, les peintres en étaient réduits aux nuances du bleu, à certains verts et au blanc. Ils adoptèrent donc, sauf de très-rares exceptions, pour les sujets légendaires, les fonds bleus, qui permettaient l'emploi de tous les tons composés, et même du jaune et du rouge, quand on les posait avec adresse pour la tapisserie sur laquelle brochaient les sujets, il fallait donc trouver une coloration relativement neutre, qui laissât briller les médaillons. Voulant atteindre cet effet, la coloration ne pouvait que chercher une tonalité relativement sourde, mais en même temps veloutée, pleine. Le rouge et le bleu étaient les couleurs qui devaient remplir le mieux cet objet par leur mélange, mais en évitant les tons violacés, lesquels détruisent toute harmonie. Voici donc quelques-uns de ces fonds du commencement du XIIIe siècle, choisis parmi ceux qui sont les mieux réussis (fig. 10) 353.

Le premier, A, présente une alternance égale de verres rouges et bleus, c'est-à-dire que les carrés r sont rouges et les carrés b bleus. Le verrier a laissé en contact les rouges purs et les bleus purs, séparés seulement par les plombs; il a obtenu ainsi un rayonnement du bleu sur le rouge et un ton violacé, mais il a peint au milieu de chacun des carrés un ornement écran dont les noirs sont assez puissants pour arrêter le rayonnement, de sorte que les touches rouges vues à l'intérieur des écrans restent très-franchement rouges et que le rayonnement du bleu est diminué. À distance, la teinte violacée des bords des carrés est rendue neutre, sourde, par l'éclat vif des verres rouges réduits au moyen des peintures écrans, et par la fraîcheur des tons bleus également réduits. Ainsi, l'effet général est celui-ci: ton neutre, pourpré, tenant du bleu et du rouge, sur lequel étincellent des touches rouges et bleues très-pures. Comme ce ton neutre pourpré n'est que le produit des deux couleurs juxtaposées dont on retrouve l'éclat pur sur quelques points, il en résulte un ton général harmonieux et velouté (quoique un peu sombre) d'un bon effet. Le second exemple, B, présente des carrés bleus séparés par des bandes rouges. Les rouges sont laissés purs, tandis que les carrés bleus sont couverts d'une grisaille écran qui atténue beaucoup leur rayonnement. Grâce à cette peinture, le bleu prend lui-même un ton sourd, et ce sont les bandes rouges seules qui conservent un éclat quelque peu pourpré sur les bords par le voisinage des lisérés bleus laissés le long des plombs.
La bordure du premier exemple, A, est composée de fleurs bleues au sommet, et blanches ou jaunes alternées, pour la partie inférieure, se détachant sur un fond rouge. On observera que le rouge est pur; que le bleu, le blanc ou le jaune sont couverts d'ornements. Les filets a sont blancs, et les filets b bleus. La bordure du second exemple présente des losanges blanches et jaunes alternées, séparées par des disques bleus sur fond rouge; les filets sont de même qu'au-dessus. Le rouge, dans ces bordures, par la présence du blanc et du jaune, est complétement soustrait au rayonnement du bleu, lequel, d'ailleurs, est atténué par la peinture écran. Ces bordures prennent ainsi un éclat très-vif qui assourdit encore les fonds et les relègue au second plan de l'harmonie générale.

Présentons encore deux autres exemples de ces fonds (fig. 11), dans lesquels le blanc et le jaune interviennent. Dans le premier exemple, A, les écailles peintes sont bleues, leur naissance est jaune et leur cerné rouge; le rouge n'est éteint que par un simple trait. Quant au bleu, la grisaille écran atténue son rayonnement, pas assez cependant pour que le rouge ne soit point pourpré. Mais les touches jaune-paille, voisines de la réunion des bordés rouges, rendent à ceux-ci leur éclat près de ces rencontres. L'effet est singulièrement harmonieux et chaud.
Dans le second exemple, B, les écailles sont également bleues, les bordés rouges et les petits disques fleuronnés blanc verdâtre; toujours les bleus sont peints, et ce sont ces points blancs qui atténuent, avec cette peinture, le rayonnement du bleu.
On observera donc que les principes de coloration posés plus haut sont suivis avec un tact parfait dans ces fonds. Les grisailles sur les bleus laissent toujours un cerné bleu pur près du plomb, afin de profiter du rayonnement d'une valeur suffisante pour adoucir les bords du rouge. Mais pour que ce ronge, à distance, ne paraisse point trop pourpré par les bleus, ou le rouge est occupé par un dessin noir, comme dans l'exemple A (fig. 10), ou le blanc et le jaune-paille viennent lutter contre le rayonnement du bleu, comme dans la figure 11.
Mais si, dans la composition des vitraux, comme dans toutes les branches de l'architecture du moyen âge, il est des principes dont les artistes ne s'écartent pas, lorsqu'il s'agit d'appliquer ces principes, ils font preuve d'une grande liberté et d'une fertilité peu ordinaire. Ces fonds entre les sujets légendaires, ces tapisseries, ne se composent pas seulement de ces semis, de ces quadrillés, de ces squamatures, mais aussi d'enroulements, d'entrelacs disposés, comme dessin et couleur, de manière à laisser les sujets se détacher nettement.

Voici (fig. 12) un exemple de ces sortes de fonds 354. Le bleu sert de fond aux sujets, le rouge à la tapisserie, les médaillons A sont jaunes éteints par une grisaille, entourés d'un orle blanc également atténué par de la grisaille. Pour les enroulements, ils se composent de verres blanc verdâtre, bleu (cendre bleu), bleu verdâtre, blanc, blanc bleuté, jaune, bleu intense, et vert d'émeraude, ces trois derniers tons en petite quantité. Ces bleus de diverses nuances rayonnent d'une manière suffisante, malgré la peinture qui les couvre, pour violacer un peu le rouge sur les bords, ce qui donne à cette tapisserie l'éclat velouté nécessaire, tout en restant brillant. Les sujets sont entourés d'un filet rouge cerné de deux perlés blancs. Le perlé qui sépare la bordure de la tapisserie est vert pâle, la bordure est sur fond bleu, les feuillages alternativement blancs et pourpre sombre. Le filet d'entourage, suivant l'usage, est blanc. Ici, la bordure est dans une tonalité froide, nacrée, et fait briller les tapisseries à fond rouge. Les sujets sont généralement tenus aussi dans une tonalité froide et nacrée, de sorte qu'ils se détachent par la délicatesse de leur coloration sur le fond puissant de la tapisserie qui leur sert de fond; et cette délicatesse de coloration des sujets est rappelée par la bordure. Les médaillons jaunes servent de liaison entre la puissance de coloration de la tapisserie et l'éclat fin des sujets et bordures.
Nous voudrions abréger ces détails infinis de l'art du verrier, mais il est difficile d'être plus court, si l'on prétend en faire une critique pouvant conduire à un résultat pratique. Nous sommes assez porté à croire que dans ces questions de coloration, l'instinct joue le principal rôle; il peut être utile de faire connaître que l'observation et la connaissance de certaines lois sont non moins essentielles à l'artiste, d'autant que jamais cette connaissance n'a été une gêne pour ceux qui, étant naturellement doués des qualités du coloriste, sont appelés à décorer les édifices.
Avant de pousser plus avant l'étude des transformations des procédés de coloration des vitraux, il paraît nécessaire de revenir sur la partie si essentielle de la composition et du dessin des cartons.
Le peu que nous avons dit à ce propos suffit cependant, pensons-nous, à faire ressortir un point important, savoir: que les procédés de composition et de dessin des vitraux s'écartent des procédés de composition et de dessin de la peinture opaque. L'art dit verrier diffère essentiellement de l'art du peintre. La lumière passant à travers des surfaces colorées a, sur les rapports de ces couleurs entre elles, une influence différente de celle qu'elle exerce sur des surfaces opaques; la lumière passant à travers un dessin modifie également ses contours, fait qui ne se produit pas, si elle frappe directement une surface dessinée. Supposons, par exemple, deux inscriptions identiques comme dimension et forme, l'une enlevée en blanc dans un écran noir, l'autre tracée en noir sur un verre blanc ou bleu très-clair. Si la lumière du jour passe à travers ces deux inscriptions juxtaposées, la distance qui permettra de lire encore l'inscription se détachant en clair sur un fond noir ne permettra plus de déchiffrer l'inscription tracée en noir sur un fond clair. La différence sera telle, que si l'inscription tracée en noir se lit (comme dernière limite de distance) à 10 mètres, l'inscription claire sur fond noir se lira encore à 15 mètres. Si l'on s'éloigne davantage, l'inscription noire disparaîtra tout à fait, et l'inscription claire tracera une lueur blanche sur le fond noir, mais ne disparaîtra point entièrement tant que l'objet sur lequel elle se détache sera visible. C'est l'effet du rayonnement de la lumière, dont nous avons indiqué déjà les effets, lorsqu'elle traverse des surfaces colorées. À propos du dessin, il nous faut revenir un instant sur ces effets.
Le rayonnement de la lumière, passant à travers un verre blanc sur lequel on appose un écran, fait paraître les parties réservées à travers cet écran plus grandes qu'elles ne le sont réellement, et cela aux dépens des bords du vide. Passant à travers un verre bleu, le rayonnement de la lumière rend les bords de l'écran confus et bleuit une zone de la surface opaque environnante. Passant à travers un verre rouge jaspé, le rayonnement se manifeste par étincelles très-vives, mais sans colorer les bords opaques d'une manière diffuse; si ce verre rouge est d'un ton uni et intense, la teinte réelle disparaît presque entièrement à distance et semble être une tache d'un brun livide. Passant à travers un verre jaune, le rayonnement détache les contours du vide bien nets, sans bavures, ne modifie pas sa dimension à l'oeil, mais la teinte jaune paraît plus obscure au centre que sur les bords. Suivant que les tons verts et pourpres se rapprochent du bleu, du jaune ou du rouge, l'espace vide laissé dans l'écran participera plus ou moins à ces trois qualités.

La figure 13 donne une idée de ce phénomène. Le carré C est le vide réel laissé au milieu de l'écran. Le blanc et les trois couleurs simples produiront dans ce vide, à une certaine distance, les apparences que nous présentons ici. Ces apparences ont donc sur le dessin une influence dont il faut tenir compte, et dont les artistes verriers des XIIe et XIIIe siècles se sont fort préoccupés. Ainsi ont-ils employé le blanc et le jaune pour cerner, rendre nettes, les formes principales du vitrail, et notamment pour faire autour des verrières une marge de 2 ou 3 centimètres de largeur qui les détache des tableaux ou meneaux de maçonnerie; ainsi ont-ils procédé autour des panneaux, des vitraux légendaires. S'ils peignent les traits de dessin et d'ombres sur un bleu, ils ont le soin de les tenir plus larges et plus fermes que sur un rouge, et surtout que sur un jaune ou un blanc. D'ailleurs, ils se servent des influences des tons les uns sur les autres pour neutraliser les effets du rayonnement trop puissants. Sur les filets blancs, ils peindront des perles ou un filet noir droit ou trembloté. Pour les vêtements des figures, ils se garderont d'employer les qualités du bleu limpide des fonds; qui, par son rayonnement, fait disparaître les traits que l'on appose dessus; ils emploieront des bleus gris, des bleus turquoise ou verdâtres. Le plus ou moins de fermeté à donner aux hachures peintes produisant les ombres, n'étant pas indiqué sur le carton; si, comme nous l'avons expliqué plus haut, le maître faisait couper le verre sur un trait avant l'indication de ces hachures, les verres étant coupés et assemblés sur le châssis à peindre opposé à la lumière du jour, le peintre forçait ou diminuait le modelé en raison de la qualité plus ou moins rayonnante de chaque pièce.
L'influence des tons sur le dessin étant ainsi reconnue, nous allons examiner comment les maîtres procédaient pour composer, tracer et modeler les figures et les ornements des verrières.
Dans leurs compositions, ils évitaient, autant que faire se pouvait, les agglomérations de personnages ou de parties d'ornement, afin de laisser deviner le fond dans toute l'étendue d'un motif. En cela la composition du vitrail diffère de celle de la peinture opaque. Autant il convient, dans cette dernière, de grouper les personnages d'une scène de manière à les détacher, le plus souvent, les uns sur les autres, autant il est nécessaire, dans un vitrail, de distinguer ces personnages en faisant apparaître fréquemment le fond autour de chacun d'eux. À distance, par suite de la vivacité des tons translucides, si des personnages sont groupés en assez grand nombre, il devient difficile, pour l'oeil, de les comprendre séparément. L'absence de toute perspective linéaire ou aérienne, l'impossibilité d'éteindre les tons, à moins de les pousser à l'opacité, ce qui fait tache, produisent la confusion, si l'on ne retrouve pas, au moins par échappées, le fond qui dessine le contour de chaque figure. De même pour les ornements; non-seulement le plomb doit les dessiner nettement, mais aussi le ton de fond. Les peintres verriers des XIIe et XIIIe siècles n'ont guère failli à cette règle élémentaire.
Par une raison analogue, les mouvements, les gestes des personnages sont vivement accentués, exagérés, les formes des ornements très-vigoureusement dessinées. La translucidité des tons tend à amollir les contours; à les brouiller: il fallait donc parer à cet effet par un dessin très-ferme, exagéré, détaché; il fallait augmenter souvent le trait vigoureux du plomb par un cerné noir; et, afin d'éviter la lourdeur, laisser entre ce cerné noir et le plomb un filet pur du ton local, ainsi que nous l'avons vu pratiquer dans les exemples du XIIe siècle (fig. 5 et 8).
Le procédé de dessin adopté au XIIe siècle, tout empreint encore des traditions de l'école grecque-byzantine, procédé qui convient d'ailleurs si bien à la peinture sur verre, ne pouvait se perpétuer en France à une époque où se développaient les écoles laïques, qui, en peinture comme en sculpture, penchaient vers le naturalisme.
Les peintres verriers du XIIe siècle, comme les gréco-byzantins dans leurs peintures, cherchaient toujours à faire apparaître le nu en dépit des draperies qui le couvrent; les vêtements les plus amples paraissaient, dans ces oeuvres, collés sur les parties saillantes du corps, et se développaient en dehors de la forme humaine comme entraînés par le vent. On sent, dans cette manière de traduire la nature, une tradition antique, un souvenir de l'importance que les Grecs donnaient au nu dans leurs ouvrages d'art. Les idées chrétiennes ne permettaient plus la reproduction du nu; on le recouvrait d'étoffes, mais de manière à faire comprendre qu'on n'oubliait pas entièrement ce qui avait fait la gloire de l'art grec antique. Les artistes verriers, comme les sculpteurs du XIIIe siècle, étudiaient la nature telle qu'elle se présentait à leurs yeux, et n'avaient pas de raisons pour conserver l'hiératisme si cher aux byzantins. Dès le commencement de ce siècle, on reconnaît, dans les peintures sur verre, l'influence de l'étude de la nature par la manière dont sont traitées les draperies, dans la physionomie des têtes, l'expression vraie du geste. Ces modifications apportées dans l'art du verrier par l'école laïque ont une telle valeur, que nous croyons nécessaire d'insister par des exemples. La figure 3 a fait voir un fragment d'un vitrail de la première moitié du XIIe siècle tout empreint du faire grec-byzantin. La figure 5 montre déjà un progrès accompli, une tendance vers l'observation de la nature, dans la manière dont les draperies sont tracées. Or, ce roi de Juda représenté figure 5 ne peut avoir été peint avant 1145, puisqu'il appartient à la partie de la cathédrale de Chartres qui date de 1140.

Voici maintenant (fig. 14) un panneau d'un vitrail de la cathédrale de Bourges, replacé dans les verrières du XIIIe siècle, mais qui provient évidemment de l'église bâtie pendant la seconde moitié du XIIe siècle 355. Le dessin de ce panneau, qui représente les deux apôtres Pierre et Paul, affecte encore de soumettre les plis des draperies aux nus; cependant il y a, dans les poses, les gestes et le faire des draperies, une tendance à s'affranchir de l'archaïsme gréco-byzantin. Cette tendance vers l'étude de la nature, en abandonnant les traditions grecques, est marquée d'une manière définitive dans les figures d'anges qui accompagnent la représentation de la sainte Vierge du vitrail de la cathédrale de Chartres, dit Notre-Dame de la belle verrière. Ce vitrail nous montre la figure de la Vierge assise, appartenant à l'école du XIIe siècle. Mais ce sujet a été entouré de bordures et d'anges qui datent d'une restauration faite pendant les premières années du XIIIe siècle.

Les tentatives vers le naturalisme sont évidentes dans ces restaurations ou adjonctions. Nous prenons, de cette verrière, un panneau (fig. 15), représentant un des anges qui tiennent des flambeaux aux pieds de la Vierge toute empreinte du style archaïque du XIIe siècle 356. Les plis du vêtement de cet ange ne sont plus traités suivant la tradition hiératique de l'école byzantine; il n'y a plus l'affectation à faire apparaître le nu en dépit du mouvement naturel des draperies. L'artiste d'ailleurs s'est efforcé de laisser voir le fond, afin de profiler nettement la silhouette de la figure. Les jambes, les bras, les ailes, se détachent autant que possible.
Avec le style du dessin, le mode d'exécution change également. Dans les vitraux du XIIe siècle, les plus anciens, les demi-teintes sont employées; et cette partie essentielle du modelé des vitraux mérite un examen attentif, d'autant qu'elle a été le sujet de discussions plus étendues que concluantes. Théophile 357 indique clairement le procédé employé pour poser les demi-teintes. Il dit: «Lorsque vous aurez fait les ombres principales (priores umbras) sur les draperies de ce genre, et qu'elles seront sèches, tout ce qui reste de verre sera couvert d'une teinte légère, non aussi dense que la seconde ombre, non aussi claire que la troisième, mais qui tienne le milieu entre deux. Cela sec, avec la hampe du pinceau, vous ferez, de chaque côté des premières ombres posées, des traits fins (enlevés), de sorte qu'il reste des linéaments délicats (clairs) entre les premières ombres et la seconde teinte.» Théophile admet donc trois opérations pour faire le modelé: une première, qui consiste à tracer avec le pinceau les premières ombres ou plutôt les ombres principales, une seconde, qui consiste à passer une légère demi-teinte comme un glacis; puis une troisième, qui consiste à poser une demi-teinte lavée assez intense à côté de ces ombres, en enlevant des clairs, pour laisser entre cette demi-teinte et l'ombre des traits déliés, aussi pour obtenir les grandes lumières. Voilà le procédé sommairement indiqué; voyons, en examinant les vitraux du XIIe siècle, comment on obtenait ce résultat. Sur ces vitraux, on remarque en effet un premier travail d'ombres fait par hachures, non absolument opaques, très-fines et transparentes à leur naissance, très-pleines aux points où l'ombre prend de l'importance, mais encore transparentes. Après ce premier travail, le verre a dû subir une première cuisson, ce que ne dit pas Théophile, mais ce qu'indiquent parfaitement les anciens verres. Cette première ombre, étant ainsi vitrifiée, ne pouvait se délayer par l'apposition d'une deuxième teinte. Le peintre posait donc cette seconde teinte, qui faisait la demi-teinte forte, et il avait le soin de limiter son étendue, de dessiner son contour, en grattant le verre avec la hampe du pinceau, notamment entre cette demi-teinte forte et l'ombre. Il n'avait pas à craindre d'enlever celle-ci déjà vitrifiée, ce qui facilitait l'exécution de ce travail délicat. Posait-il la demi-teinte la plus légère avant celle plus intense? Cela est probable, rien ne l'empêchait de le faire; mais ce qui est important, et ce dont Théophile ne dit mot, c'est que, par-dessus l'ombre principale cuite, sombre, mais transparente, le peintre posait des traits opaques, le pinceau étant chargé d'une couleur épaisse, pour obtenir des renforts d'ombres sans aucune translucidité. Les verres étaient de nouveau remis au four, et les demi-teintes, ainsi que les traits de force, se vitrifiaient 358. Ceux-ci ont une saillie très-sensible au toucher, sont empâtés; en un mot, parfaitement nets, sans bavures ni fusion avec la première ombre. C'est ainsi que sont modelés les beaux vitraux du XIIe siècle, de Notre-Dame de Chartres, de l'église abbatiale de Saint-Denis, de la cathédrale de Bourges (anciens).

Prenons (fig. 16) un morceau d'un vitrail du XIIe siècle que nous reproduisons grandeur d'exécution. Avec la couleur brune, sombre, mais encore translucide, le peintre a tracé les plis principaux de cette manche, puis la pièce a été mise au four. Cette première préparation vitrifiée, il a posé les demi-teintes en enlevant les clairs avec un style, et sur l'ombre vitrifiée les traits opaques épais, empâtés. À la partie inférieure du coude, le peintre a posé une demi-teinte par hachures fondues par-dessus la première ombre évidemment vitrifiée, car autrement les linéaments déliés de cette première ombre auraient été détrempés et brouillés par le liquide tenant la demi-teinte en suspension. On voit que, suivant l'indication de Théophile, des filets clairs ont été enlevés parfois entre la demi-teinte et l'ombre pour retrouver la localité du ton, ainsi qu'il est dit ci-dessus. La pose des demi-teintes sur les vitraux du XIIe siècle avait donc une grande importance; elle exigeait deux cuissons et augmentait d'autant le prix de ces ouvrages. Aussi, dès le commencement du XIIIe siècle, lorsque la dimension plus grande des fenêtres donna aux artistes verriers des surfaces énormes à couvrir, on chercha des procédés à la fois plus rapides et moins dispendieux. Les verres ne sont cuits au four qu'une fois; les demi-teintes se posent à côté et sur les ombres, et se fondent un peu avec elles, parce que le pinceau, si légèrement manié qu'il soit, entraîne des parcelles de cette ombre en posant cette demi-teinte. On se sert toujours d'ailleurs du style ou de la hampe du pinceau pour nettoyer les bords des demi-teintes et pour obtenir des filets purs, mais ils ne peuvent plus avoir la netteté de ceux qui sont tracés sur les verres du XIIe siècle. C'est ainsi qu'est modelé l'ange de la belle verrière de Chartres (fig. 15). Le détail A (fig. 16) explique ce procédé. Plus tard la demi-teinte est posée à plat, le trait d'ombre étant sec, comme on ferait un lavis rapidement passé avec le pinceau peu chargé de ton. L'ombre se fond à peine avec ce lavis léger. Ces moyens matériels se modifient encore vers la fin du XIVe siècle et pendant le XVe, comme nous le verrons tout à l'heure.
Il n'est pas besoin d'avoir vu beaucoup de peintures gréco-byzantines, soit dans des manuscrits, soit dans des monuments de l'Orient, pour constater les rapports intimes qui existent entre les procédés employés par les artistes grecs et ceux d'Occident au XIIe siècle. C'est le même mode archaïque de tracé des plis, c'est le même faire. On peut donc facilement constater la différence profonde qui sépare ces procédés de peinture de ceux adoptés au commencement du XIIIe siècle pour les vitraux. Le style du dessin subit de même une transformation complète; la tendance vers l'idée dramatique, vers l'expression, vers l'élude de la nature, apparaît dans l'art du verrier lorsque cet art est pratiqué par les écoles laïques. Le geste perd son allure archaïque, les têtes ne sont plus dessinées suivant un type de convention, les vêtements sont ceux du temps et fidèlement rendus; l'exécution est plus libre, moins sévère, moins fine et serrée, elle vise à l'effet. Elle dénote une expérience approfondie des moyens pratiques pour obtenir le résultat le plus complet à l'aide des moyens les plus simples. La préoccupation dramatique est surtout marquée chez les artistes du commencement du XIIIe siècle. La cathédrale de Bourges, si riche en très-beaux vitraux de cette époque, est, à ce point de vue, une mine inépuisable. Plusieurs de ces vitraux sont exécutés avec perfection, d'autres à la hâte, évidemment, mais sur des cartons de maîtres habiles.

Prenons un de ces panneaux (fig. 17), qui représente les enfants de Jacob apportant les vêtements ensanglantés de Joseph à leur père. On retrouve bien ici quelques traces du faire byzantin; les draperies accusent encore les nus sur quelques points. Mais le naturalisme occidental, l'intention dramatique, percent dans cette composition. La figure de Jacob notamment n'a plus rien d'archaïque; elle est tout entière inspirée par un sentiment vrai, l'observation de la nature prise sur le fait; plus de réminiscences de l'antiquité. Si nous examinons les détails de ces derniers vitraux, nous serons plus vivement convaincus encore des changements que le XIIIe siècle apportait dans l'art du verrier comme dans l'architecture même.

La figure 18 est une tête de femme provenant d'une verrière du milieu du XIIe siècle 359. Dans cet exemple, on ne peut méconnaître l'influence antique transmise par la tradition byzantine. La ressemblance entre cette image et certaines peintures des catacombes de Rome est frappante. Ce sont des arts frères.

La figure 19 est le calque, grandeur d'exécution, de la tête du saint Paul du panneau (fig. 14). Ces deux exemples montrent une exécution cherchée pour obtenir un effet en raison de la distance du spectateur et du rayonnement du verre pourpre clair bistré. Mais, quand les verriers du XIIe siècle voulaient atteindre à une plus grande perfection, soit parce que les vitraux étaient vus de près, soit parce que ces verriers tenaient à employer toutes les ressources de leur art, ils sont arrivés à des résultats qui, jusqu'à présent, n'ont pas été dépassés; car, sans abandonner les principes de la peinture sur verres colorés et le style large du dessin qui convient à ce genre de peinture, ils ont obtenu des finesses de modelé qui rivalisent avec les oeuvres les plus délicates. M. A. Gérente, dont les amateurs connaissent la collection choisie, possède une tête provenant d'un vitrail du XIIe siècle, qui est un véritable chef-d'oeuvre.

Il a bien voulu nous la confier, et nous en donnons ici (fig. 19 bis) un calque fait avec le soin le plus scrupuleux. On constate parfaitement dans cette pièce le procédé de la double cuisson. Le peintre a posé d'abord les demi-teintes les plus fortes, comme un camaïeu léger, qui indiquait les masses du modelé; on a passé la pièce au four; puis on est revenu avec de la peinture épaisse, empâtée, pour former les traits principaux, les ombres noires des cheveux, de la barbe, et des enlevures très-fines ont été faites au style. Les plus délicates parmi ces enlevures ont à peine l'épaisseur d'un cheveu. On en voit sur les sourcils, sur la barbe et même sur le sommet de la tête. Il est certain que ces ombres épaisses, empâtées, très-appréciables au toucher, ont été posées après une première cuisson; car, sur quelques points, cet émail opaque s'est écaillé, et dessous on aperçoit la première couche de demi-teinte qui adhère au verre. Les demi-teintes les plus légères ont dû être posées de même après la première cuisson; car, passées sur la première demi-teinte en quelques points, elles n'ont pas délayé cette première demi-teinte. Du reste, avec les moyens de peinture actuellement en usage, nous ne pouvons obtenir de pareils résultats, ces demi-teintes lavées, fondues, dont le grain n'est pas appréciable, même à la loupe; nos grisailles d'oxyde de fer sont toujours un peu graveleuses, si bien broyées qu'elles soient. La grisaille posée sur cette tête (19 bis) est transparente, chaude, ton de bistre, et ne refroidit pas le ton local pourpre clair bistré du verre, comme le ferait la grisaille du XIIIe siècle, ou celle qu'emploient nos verriers. Il n'est pas besoin, pensons-nous, de faire ressortir la grandeur de style de cette peinture, qui, à une distance de 10 mètres, conserve toute son énergie. On ne voit plus trace, dans cette tête, des formes de convention de l'école byzantine. La bouche, les yeux, sont dessinés par un maître avec une savante observation de la nature, non plus avec les procédés ou recettes que nous avait transmis l'école grecque dégénérée. Aussi regardons-nous cette oeuvre comme appartenant à la fin du XIIe siècle, à l'époque où l'art tendait à s'affranchir de l'hiératisme, sans abandonner complétement les moyens d'exécution si parfaits employés pendant la première moitié de ce siècle. Dans cette image, comme dans celle du saint Paul, l'artiste cherche l'expression personnelle, il s'affranchit (surtout dans la dernière, figure 19 bis) des types consacrés par les Byzantins. Cependant, entre cette image et celle que nous donnons (fig. 20), qui est calquée sur la tête du Jacob du panneau fig. 17, il y a toute une révolution dans l'art.

Ici l'expression atteint l'exagération. Ce dessin est évidemment conçu de manière à produire l'effet cherché en raison de la distance et de la lumière translucide 360. Ce trait hardi, puissant, étrangement vrai dans son exagération, n'a plus rien de l'art byzantin, et rappellerait bien plutôt certaines peintures de vases grecs de la haute antiquité. C'est là le moment de l'apogée de la peinture sur verre, le point de contact entre les derniers vestiges des arts inspirés par les Byzantins, et les tendances vers le naturalisme.

Déjà (fig. 21) cette tête calquée sur un vitrail de la sainte Chapelle, de Paris (1240 environ) indique l'abandon du vrai style décoratif, et celle-ci (fig. 22), provenant du vitrail de la légende de saint Thomas de la cathédrale de Tours (1250 environ) 361, incline visiblement vers le dramatique.

Il est évident que pendant cette période comprise entre 1190 et 1250, les artistes abandonnent les types admis, et bientôt les procédés décoratifs inhérents à la peinture sur verre. Ils procèdent toujours par traits, la sertissure en plomb accusant le dessin des contours, mais la touche remplace le modelé large qui seul donne de la solidité à ces images translucides. Parfois même, comme dans l'exemple fig. 22, lorsque les vitraux étaient exécutés très-rapidement, la demi-teinte fait défaut.

Pour mieux faire saisir la différence d'exécution entre les vitraux du milieu du XIIIe siècle et ceux du XIIe, nous donnons (fig. 22 bis, en A) une tête copiée aux deux cinquièmes de la grandeur, sur un fragment de 1180 environ, qui se trouve compris dans la rose septentrionale de la cathédrale de Paris, et qui appartenait très-probablement aux verrières de l'ancien transsept commencé sous l'épiscopat de Maurice de Sully. Comme l'exemple figure 22, cette tête dépendait d'une verrière placée à une grande hauteur, destinée par conséquent à être vue de loin et se détachant en plein sur le ciel. On voit comme les procédés employés par les peintres diffèrent dans ces deux exemples. De près, la tête A (fig. 22 bis) est d'une brutalité d'exécution qui dépasse tout ce qu'on pourrait oser en ce genre. Cependant cette tête, vue à une distance de 10 mètres, se traduit par l'apparence B. Le verre employé est un pourpre clair bistré. Ce ton, dont le rayonnement est faible, produit, avec les ombres opaques qui y sont apposées, un effet singulier que nous laissons à expliquer aux savants compétents. Ces ombres, à distance, se fondent en gagnant sur les clairs minces et en perdant dans le voisinage des clairs larges. On peut se rendre compte de ce fait en décalquant la tête 22 bis sur l'original, et en reportant ce décalque, ainsi que M. Gérente a bien voulu le faire pour faciliter cette étude, sur un verre de la nuance indiquée ci-dessus; on apposera ce fragment contre une vitre, en ayant soin qu'il se détache sur la partie moyenne du ciel. À 4 ou 5 mètres de distance, déjà les plombs ont disparu et se sont fondus avec les ombres; les ombres du côté de fuite du masque ont influé sur la demi-teinte, la bouche est déjà modifiée. À 10 mètres de distance, l'apparence est exactement celle que donne l'image B. Ainsi le plomb qui dessine l'os maxillaire, compris entre les deux grands clairs de la joue et du cou, est réduit à un trait léger, tandis qu'il prend une grande largeur sous le menton, là où les clairs voisins ont peu d'étendue. De même le plomb qui sépare les cheveux du front gagne sur celui-ci et se change en une ombre portée, ce clair du front étant étroit. Une partie du clair des paupières se fond dans l'ombre des sourcils, de même que l'extrémité claire fuyante de la lèvre inférieure, tout entourée d'ombres, se fond entièrement dans cette ombre. Les demi-teintes aident à produire ces illusions, car si on les fait disparaître et qu'on se borne aux ombres opaques, l'effet n'est plus le même; tous les clairs rongent les ombres, qui se réduisent simplement d'épaisseur et ne se fondent plus. Il faut nécessairement que dans le voisinage de l'ombre, le verre soit moins translucide, par l'apposition d'une demi-teinte, afin que la lumière rayonne avec moins de vivacité, ou que son rayonnement éclaircisse les ombres sans leur rien faire perdre de leur largeur. Nous ne savons si les études récemment faites sur la lumière peuvent donner sur ces phénomènes des explications scientifiques, mais les expériences sont pour nous des démonstrations auxquelles chacun peut recourir. Il est certain que ces artistes tant dédaignés avaient acquis une longue pratique de ces propriétés lumineuses des verres colorés, et que sous ce rapport, comme sous quelques autres, ils pourraient en remontrer à ceux qui, aujourd'hui, semblent faire si peu de cas de leurs oeuvres. Voilà en quoi consiste ces secrets perdus de la peinture sur verre; perdus parce qu'on ne prend pas la peine d'analyser les moyens et procédés employés par les anciens maîtres.
C'est surtout dans les peintures sur verre représentant des personnages d'une grande dimension qu'apparaît d'une manière évidente la science d'observation des peintres verriers. Il ne nous reste pas, malheureusement, de figures du XIIe siècle à une échelle au-dessus de la taille humaine; mais, du XIIIe siècle, on en possède un grand nombre dans les verrières de Bourges, de Chartres, d'Auxerre, de Reims, et ces figures sont traitées avec cette connaissance approfondie des effets de la lumière sur des surfaces translucides colorées. Souvent dans ces personnages de dimension colossale, pour les nus comme pour les draperies, les demi-teintes n'existent pas. La grisaille est presque opaque, et n'acquiert un peu de transparence que vers les bords des touches d'ombre. On peut citer parmi les plus anciennes figures d'une grande dimension, un certain nombre de fragments du choeur de l'église abbatiale de Saint-Rémi de Reims. Beaucoup de ces vitraux datent de l'époque de la construction du choeur, c'est-à-dire de la fin du XIIe siècle ou des premières années du XIIIe. Ces verrières, qui, à plusieurs reprises, ont été fort maladroitement remises en plomb avec des interpositions de panneaux, furent exécutées évidemment par des maîtres d'un talent consommé. Plusieurs fragments sont d'un beau caractère et conçus avec une adresse rare pour produire à distance un effet complétement satisfaisant.

Nous avons eu entre les mains une de ces têtes, qui était déposée avec d'autres panneaux dans les greniers du presbytère, et nous en donnons la copie (fig. 22 ter, A), au cinquième de l'exécution. Le masque est composé de huit morceaux pris dans un verre pourpre chaud. Les yeux sont coupés dans du vert blanc verdâtre; les cheveux, dans un verre pourpre violacé. La couronne est jaune, avec pierres bleues et rouges. Elle est complétement couverte d'une teinte de grisaille, et les clairs sont enlevés au style, conformément au procédé du XIIe siècle. À la distance de 20 mètres, cette tête, d'une exécution si brutale, prend un tout autre caractère. Ce sont les traits d'un jeune homme à la barbe naissante. Nous présentons cette apparence, figure 22 ter, B.

Le plomb qui, du coin de l'oeil droit, rejoint l'aile du nez, disparaît entièrement en passant sur les grandes lumières, et ne fournit qu'une légère demi-teinte à ses points de contact avec les ombres. La touche violente du nez du côté du clair passe à l'état de demi-teinte se perdant vers l'extrémité inférieure. Le sourcil de l'oeil droit s'adoucit grâce au filet clair qui passe dans l'ombre. La bouche se modèle avec une douceur toute juvénile, ainsi que le menton. Quant à la couronne, elle semble, grâce à ces enlevures déliées, un joyau modelé avec la plus exquise délicatesse.
Les grands personnages représentés sur les verrières du XIIIe siècle, comme ceux de Notre-Dame de Chartres, présentent souvent ces phénomènes, bien qu'ils soient généralement d'une exécution très-inférieure à celle de l'exemple que nous venons de donner: cependant le principe est le même. Le sentiment décoratif ne fait jamais défaut, jusque vers le milieu du XIIIe siècle; quant à la composition du dessin, au geste, les artistes inclinent vers la donnée dramatique. Cette tendance nouvelle alors est bien sensible dans les compositions des vitraux de la sainte Chapelle de Paris, de Notre-Dame de Chartres, des cathédrales de Tours et de Bourges, qui datent de la fin de la première moitié du XIIIe siècle.

Voici (fig. 23) un panneau tiré d'une des verrières de cette cathédrale de Bourges, et qui représente le martyre de saint Étienne. Il est difficile, dans un petit espace, de mieux exprimer, par la composition, la scène de la lapidation du saint. Les gestes sont exprimés avec une vérité absolue. Les personnages, cependant, conformément à notre précédente observation, se détachent autant que possible sur le fond, tout en formant groupe. Le dessinateur ne s'est pas astreint d'ailleurs à rester dans les limites du cadre, il les franchit; ce qui contribue encore à donner plus de vivacité à la scène. Plus rien d'archaïque dans les plis; leur dessin est fidèlement interprété d'après la nature. Les vêtements sont ceux du temps, et abandonnent les traditions byzantines encore si marquées dans les draperies des personnages sculptés et peints vers la fin du XIIe siècle.
Ces qualités nouvelles sont surtout appréciables dans les vitraux de notre école de l'Île-de-France, toujours contenue, même dans les oeuvres les plus ordinaires. Les vitraux de la sainte Chapelle de Paris, si remarquables comme effet d'ensemble, ont dû être exécutés avec une grande rapidité; y découvre-t-on aussi bien des négligences: verres mal cuits, sujets tronqués, exécution souvent abandonnée à des mains peu exercées. Cependant on peut reconnaître partout la conception d'un maître dans la composition des cartons. Les scènes sont clairement écrites, les personnages adroitement groupés; le dessin est parfois pur et le geste toujours vrai.

Ce guerrier assis (fig. 24) en fournit la preuve, bien que l'exécution des détails soit insuffisante. Il faut avoir eu entre les mains un grand nombre de vitraux, les avoir analysés, pour ainsi dire, pièce par pièce, pour se rendre un compte exact des procédés de cet art. La lumière translucide dévore si facilement les parties opaques, comme les fers, les plombs, et les traits chargés, que le peintre doit tenir grand compte de ce phénomène. Or, ce n'est pas en élargissant les ombres outre mesure qu'il peut combattre cette influence de la lumière, car alors il n'arrive qu'à faire des taches obscures qui détruisent la forme, au lieu de l'accuser 362. Cependant, malgré cette l'acuité dévorante de la lumière, le moindre trait faux, à côté de la forme, choque plus les yeux qu'il ne le ferait sur une peinture opaque. Ce qui démontre que si délicats qu'ils soient, les traits, dans la peinture sur verre, ont leur valeur. S'ils sont à leur place, à peine les aperçoit-on; s'ils sont posés contrairement à la forme, ils tourmentent l'oeil. Souvent les vitraux du XIIIe siècle, exécutés avec précipitation et négligence, laissent voir un travail insuffisant ou grossier, mais jamais ce travail n'est inintelligent; chaque trait porte coup, accuse la forme, et cela avec les procédés qui sont inhérents à ce genre de peinture. Ce n'est pas sans motifs que les peintres donnent, par exemple, aux extrémités des membres, une maigreur exagérée; la lumière se charge de parer à ce défaut, qui est apparent lorsqu'on tient le morceau de verre près de l'oeil, mais qui disparaît si ce morceau est à sa place.

Exemple: voici une main (fig. 25, en A) calquée sur un panneau du XIIIe siècle. La main dessinée sur la nature donnerait le trait B. Si le peintre s'était contenté de la tracer ainsi sur le verre avec le modelé, à distance ce dessin, admettant qu'il fût parfait, ne présenterait qu'une masse confuse, molle, sans forme; toute la délicatesse mise dans le trait et le modelé serait peine perdue. En accentuant la forme, en amaigrissant la lumière, en exagérant certains détails, l'artiste du XIIIe siècle obtenait l'effet voulu à distance, le geste et la silhouette étaient compris.

Encore cet exemple, que nous avons choisi exprès, est-il de ceux qui se rapprochent le plus de la forme réelle. Mais en voici un autre (fig. 26) qui est bien mieux dans la donnée de la peinture translucide. La courbure exagérée de l'index, la grosseur de l'extrémité du pouce, sont observées pour accuser le geste et pour contraindre la lumière à faciliter la compréhension de la forme. C'est grâce à l'emploi de ces procédés que les sujets de nos vitraux légendaires du XIIIe siècle, généralement d'une très-petite dimension, sont si visibles, que les scènes se peuvent lire, et que les personnages qui les composent semblent prendre vie, qu'ils sont en action. Il nous est arrivé fréquemment de toucher du doigt des panneaux qui, à distance, produisent un excellent effet, et d'être surpris des moyens employés par les artistes verriers pour obtenir cet effet, des exagérations, des tricheries qu'ils se sont permises. Les figures qui paraissent les plus parfaites sont, vues de près, d'une étrangeté singulière, au point de vue du dessin rigoureux. Des parties de ces figures sont d'une maigreur hors de toute proportion, d'autres sont dessinées avec exagération; des gestes sont forcés jusqu'à l'impossibilité, des traits accusés jusqu'à la charge. Le panneau de Bourges que nous donnons fig. 17 et 20, et dont l'aspect est excellent à distance, présente de près tous les moyens d'exécution forcés que nous signalons. La tête, figure 20, est, sous ce rapport, une des oeuvres les plus intéressantes à étudier. Il fallait une longue pratique de ces effets de la lumière et de la distance pour en arriver à cette exagération de la forme, à ces hardiesses justifiées par l'effet obtenu. Il est clair que plus les sujets sont compliqués et les scènes vives, plus les artistes ont du recourir à ces procédés qui consistent à jouer avec la lumière pour obtenir un effet voulu; car dans les figures d'une composition simple ils sont restés bien plus près de la réalité.

Le personnage que nous donnons ici (fig. 27) est dans ce dernier cas 363. La peinture sur verre est le tracé A, l'apparence à distance est le tracé B. Les plombs se fondent dans la lumière; la dureté des traits disparaît et compose un modelé doux et clair. Cependant les demi-teintes comme les ombres sont posées à plat, sans être fondues; mais le voisinage des parties laissées pures de tout travail, le voisinage des lumières, influent sur ces teintes et en dévorent les bords, si bien qu'à distance, on supposerait un modelé très-délicat, une succession de nuances entre l'ombre et le clair, qui, de fait, n'existe pas. Si, au contraire, ce modelé était fondu; si, au lieu de se composer de touches d'ombres d'une même valeur et d'une très-petite quantité de demi-teintes égales d'intensité, le peintre avait suivi toutes les transitions que la nature donne entre l'ombre et la lumière, cette figure, à distance, ne présenterait qu'une masse confuse, ou plutôt des formes émoussées, molles, rondes, sans accent. Or, ce défaut choque dans les vitraux qui, beaucoup plus tard, furent traités comme on traite la peinture opaque. Les traditions du XIIe siècle persistèrent dans certaines provinces jusque vers le milieu du XIIIe siècle. Si, dans l'Île-de-France et en Champagne, l'art du verrier penche vers l'étude plus attentive de la nature, en Bourgogne, par exemple, on retrouve encore, au milieu du XIIIe siècle, des traces de ce dessin et de ce modelé gréco-byzantin. Les vitraux de Notre-Dame de Dijon, ceux de Notre-Dame de Semur, qui datent de 1240 à 1250, qui, par conséquent, sont contemporains de ceux de la sainte Chapelle de Paris, ont un caractère archaïque perdu déjà dans les provinces françaises.

Ce saint Pierre (fig. 28) tiré d'un vitrail de la chapelle de la Vierge de Notre-Dame de Semur (Côte-d'Or) nous fournit un exemple de la continuation peu altérée des procédés de dessin du XIIe siècle. D'ailleurs ces vitraux sont exécutés avec un soin minutieux. Les artistes redoutent les grandes surfaces des lumières; ils multiplient le travail des plis des draperies, les traits, pour atténuer l'effet de la coloration translucide; il en résulte une harmonie un peu sourde, mais d'une valeur soutenue. Les verres choisis par cette école sont particulièrement beaux et épais, d'une coloration veloutée. Malheureusement il ne reste pas un grand nombre de ces vitraux bourguignons du XIIIe siècle, car les verrières de la cathédrale d'Auxerre n'appartiennent pas franchement à cette école, et se rapprochent plutôt de la facture champenoise. Disons aussi que dans les vitraux d'un même édifice et d'une même époque, on observe le travail de mains très-différentes. Des artistes vieux et des jeunes travaillaient en même temps, et si les jeunes introduisaient dans ces ouvrages une exécution avancée, nouvelle, les peintres appartenant aux écoles du passé continuaient à employer leurs procédés. C'est ainsi, par exemple, qu'à la sainte Chapelle de Paris, on signale des panneaux qui ont encore conservé des traces de la facture du commencement du XIIIe siècle. Peut-être au XIIe siècle fabriquait-on des vitraux de pacotille d'une exécution hâtive et négligée. De ces sortes de vitraux il ne reste pas trace. Il est vrai que les verrières de cette époque qui sont conservées furent replacées au XIIIe siècle ou laissées en place exceptionnellement 364, ce qui ferait supposer que cette conservation est due à leur perfection, tandis que les oeuvres d'un ordre inférieur auraient été remplacées. Toujours est-il que nous ne connaissons du XIIe siècle que des vitraux d'une beauté incomparable, soit comme choix de verre, soit comme composition ou exécution des sujets d'ornements, soit comme mise en plomb; on n'en peut dire autant des vitraux fabriqués pendant le XIIIe siècle, et surtout de ceux qui appartiennent à la seconde moitié de ce siècle. Leur harmonie n'est pas toujours heureuse, leur composition est souvent négligée et l'exécution défectueuse; les verres peints sont irrégulièrement cuits et grossièrement mis en plomb. Ces négligences s'expliquent, si l'on a égard à la quantité prodigieuse des vitraux demandés alors aux peintres verriers.
Il ne faut pas croire d'ailleurs que ce procédé décoratif fût obtenu à bas prix, les vitraux devaient coûter fort cher. Telle corporation réunissait des ressources pour fournir une verrière 365, et généralement ces verrières données par un corps de métier sont les plus belles comme exécution parmi celles qui décorent les fenêtres de nos grandes cathédrales. Un prince donnait une verrière, ou un chanoine, ou un abbé. C'étaient donc là des objets de prix. La valeur de la matière première était considérable, et l'on attachait beaucoup d'importance, non sans raison, à la bonne qualité et à la beauté des verres. La mise en plomb devait naturellement atteindre des prix élevés. Les plombs étaient obtenus, non à la filière, comme on les obtient aujourd'hui, mais au rabot, ce qui exigeait beaucoup de temps et de soin. Or, quand on suppute la quantité de mètres linéaires de plombs qui entrent dans un panneau de vitrail légendaire, par exemple, on reconnaît qu'il y a là, comme matière et main-d'oeuvre, une valeur assez considérable. Aujourd'hui, la mise en plomb d'un mètre superficiel de vitraux légendaires bien faits, avec des verres épais, coûte environ 50 francs. Les verres étant, pendant les XIIe et XIIIe siècles, beaucoup moins égaux que les nôtres, ce prix, eu égard à la valeur de l'argent, ne pouvait être au-dessous de cette somme. Ainsi que nous l'avons dit, cette inégalité d'épaisseur des verres, qui rend la mise en plomb si difficile, est une des conditions d'harmonie et de vivacité des tons. Quand les verres sont plans et égaux comme épaisseur, la lumière les frappe tous, sur une verrière, suivant un même angle, d'où résulte une réfraction uniforme; mais quand, au contraire, ces verres sont bossués et inégaux comme épaisseur, ils présentent, extérieurement à la lumière, des surfaces qui ne sont pas toutes sur un même plan vertical; d'où résulte une réfraction variée qui ajoute singulièrement à l'éclat relatif des tons, et qui contribue à l'harmonie. C'est ainsi que la perfection des produits est souvent en raison inverse de la qualité de l'effet, en matière d'art.

Pour sertir ces verres inégaux d'épaisseur et bossués, les verriers des XIIe et XIIIe siècles employaient des plombs peu larges, mais ayant beaucoup de champ (fig. 29), poussés au rabot sur lingots. Les ailes de ces plombs, épaisses, permettaient à l'ouvrier metteur en plomb de les rabattre sur les inégalités du verre, de manière à maintenir parfaitement leurs bords, comme on fait de la bâte qui sertit un chaton. La section de ces plombs, quelquefois très-fins, donne ou des plans droits, ou des surfaces externes convexes (voy. en B). Leur champ, prononcé relativement à l'épaisseur, permettait de les contourner facilement pour suivre toutes les sinuosités des pièces de verre. Ils étaient réunis par des points de soudure. Les plombs que nous possédons encore, datant du XIIe siècle, sont très-étroits; ils deviennent généralement plus larges aux XIIIe siècle, surtout dans les verrières à grands sujets, et, entre eux et le verre, on constate souvent la présence d'un corps gras résineux, qui était destiné à calfeutrer les interstices.
Si les artistes de la seconde moitié du XIIIe siècle ont exécuté parfois des verrières avec négligence, il faut reconnaître cependant qu'ils en ont produit une grande quantité dont l'aspect, au point de vue de l'harmonie des tons, du dessin et de l'exécution, ne laisse rien à désirer. Parmi ces dernières, nous citerons les panneaux de fenêtres de la galerie du choeur de l'église de Saint-Urbain de Troyes (1295 environ). Trois de ces panneaux placés du côté du nord sont exécutés avec une rare perfection. Ils se détachent sur une grisaille; leurs fonds rouge, vert et bleu sont damasquinés de dessins d'une délicatesse extrême, enlevés sur une teinte posée en dehors du vitrail, et non du côté de la peinture, ce qui donne un flou particulier à ces dessins. Les trois sujets représentés sont: l'entrée de Jésus à Jérusalem, le lavement des pieds, et Jésus discutant dans la synagogue.

Voici (fig. 30) une copie de ce dernier sujet. Ce panneau n'a que 0m,55 de largeur; les figures sont modelées avec des demi-teintes en partie posées en dehors et les traits peints à l'intérieur, suivant l'usage. Les têtes cherchent l'expression individuelle et dramatique, mais manquent de la grandeur et du style que l'on trouve dans les vitraux antérieurs à cette époque; les draperies sont évidemment étudiées sur la nature et ne laissent plus apercevoir trace de la recherche du nu encore apparente au milieu du XIIIe siècle.

La figure 31 reproduit la tête du Christ grandeur d'exécution: on croirait difficilement qu'un siècle à peine sépare cette peinture de celle donnée figure 20. Il est vrai de dire que ces trois panneaux de l'église de Saint-Urbain sont exceptionnels, que ce sont des miniatures sur verre. Ils n'en constatent pas moins le degré d'avancement de l'art du verrier, l'abandon complet de traditions du XIIe siècle, les tendances de la nouvelle école vers le naturalisme et même le maniéré.
Jusqu'alors il était peu ordinaire que les panneaux colorés fussent entourés par des fonds en grisaille. M. Steinhel, dont les connaissances en peinture sur verre sont connues, signale cependant des panneaux colorés de la fin du XIIe siècle se détachant sur des ornements également colorés, mais sur fond blanc.
Ces vitraux appartiennent à la cathédrale de Châlons, qui, bien que datant en presque totalité du XIIIe siècle, conserve d'assez nombreux fragments de vitraux du XIIe siècle, entre autres de fort belles bordures. Nous reproduisons ici le dessin de ces ornements sur fond blanc qui entourent des panneaux à sujets légendaires sur fond bleu. L'ensemble de la verrière donne les compartiments présentés en A (fig. 32).

Les sujets sont répartis dans les quarts du cercle C. En B, est tracé un détail des écoinçons d. Nous avons indiqué par des lettres, conformément à la méthode précédemment donnée, les tons des verres dans ce détail: c'est-à-dire que les lettres b, r et j indiquent le bleu, le rouge et le jaune; les lettres a, e, i, o, u, le blanc, le pourpre foncé, le pourpre clair, le vert d'émeraude et le vert bleu turquoise; le jaune du cercle est paille celui j de l'ornement est plus chaud. L'harmonie est sévère, nacrée, et fait ressortir puissamment les médaillons à sujets. Ce fait rare aujourd'hui,--les vitraux du XIIe siècle étant peu communs,--devait, pensons-nous, se présenter assez fréquemment à cette époque, la tendance des peintres verriers du XIIe siècle étant de trouver les harmonies claires et limpides d'aspect. Il existe à la cathédrale d'Augsbourg des vitraux dont les grandes figures, qui paraissent dater de la fin du XIIe siècle, se détachent sur des fonds blancs damasquinés de grisailles.
Les vitraux légendaires ou à grandes figures du XIIIe siècle sont au contraire d'une tonalité puissante, et les artistes de cette époque ne pensaient pas que cette coloration montée pût s'allier à la clarté des grisailles. Cependant, si étendues que fussent les surfaces vitrées dans les monuments, leur coloration rendait les intérieurs des vaisseaux très-sombres. Dès la seconde moitié du XIIIe siècle, on songea donc à donner plus de lumière dans l'intérieur des édifices en composant des verrières partie en grisailles, partie en panneaux colorés. On conçoit sans peine que cette innovation dut changer complétement les conditions d'harmonie. Les surfaces blanc nacré des parties en grisailles devaient faire paraître lourdes et obscures les surfaces colorées-voisines. On introduisit donc dans ces dernières de grandes parties claires, des bleus limpides et verdâtres, des jaunes, des rouges et pourpres très-clairs, des blancs verdâtres ou rosés. D'ailleurs les panneaux légendaires ou les grandes figures isolées étaient toujours entourés d'un fond bleu, le plus souvent avec filets d'encadrement. Outre la plus grande masse de lumière, on obtenait ainsi une économie notable sur la vitrerie des grands édifices, car les grisailles, même les plus chargées, ne coûtent pas la moitié du prix de revient des vitraux colorés. Dans les fenêtres hautes de la cathédrale d'Auxerre, qui datent de la seconde moitié du XIIIe siècle, on avait déjà tenté l'emploi de ce moyen; mais là les grisailles sont d'un dessin très-large et ferme qui combat la trop grande lucidité de ces surfaces claires, incolores, opposées, dans une même fenêtre, à des surfaces colorées. La grisaille n'occupe qu'une faible partie du vitrail, et compose comme une marge entre le sujet principal et la bordure toujours colorée. Voici un exemple tiré des hautes fenêtres du choeur de cette cathédrale (fig. 33) 366. Le fond de la figure et du dais qui la surmonte est bleu; les tons du dais sont: le blanc, le jaune, le vert pâle avec touches rouges dans les deux petites baies latérales. Cette harmonie très-claire sert de liaison entre les deux bandes B de la grisaille. Il en était de même du socle, détruit aujourd'hui et remplacé par un panneau du XVIe siècle; le personnage porte une robe vert d'émeraude, un manteau pourpre clair, un bonnet vert, un phylactère blanc. La bordure est composée de feuilles vert bleuâtre et jaunes sur fond rouge. La lumière donnée par ces sortes de verrières est d'autant plus brillante, qu'elles se détachent sur la partie supérieure du ciel. Pour combattre l'effet dévorant de cette lumière dans les bandes en grisailles, celles-ci sont peintes en traits épais avec treillissé très-fourni entre les ornements, si bien que, près de l'oeil, la surface des lumières est moins importante que celle occupée par la grisaille opaque. Dans le même fenestrage du choeur de la cathédrale d'Auxerre, des grisailles occupant la même place sont mêlées de touches et de filets en couleur. L'effet est moins franc, moins compréhensible. C'est cependant à ce dernier parti que les peintres verriers de la fin du XIIIe siècle s'attachèrent dans la composition de beaucoup de fenêtres à grands sujets ou personnages. Les charmants panneaux des fenêtres de la galerie du choeur de l'église de Saint-Urbain de Troyes, dont nous avons donné un échantillon (fig. 30), sont compris entre des compartiments de grisailles avec filets colorés. Les fenêtres hautes du choeur de cette même église présentent une série de grandes figures de prophètes surmontées de dais, se détachant sur un fond bleu et comprises entre des panneaux de grisailles avec filets colorés (voyez fig. 34).

Les vêtements de ces grandes figures sont généralement clairs et vifs. Les bordures sont larges et solides de ton. Celle de la verrière que nous donnons ici se compose des armes de France; c'est-à-dire d'un fond bleu chargé de fleurs de lis d'or (jaunes) sans nombre, et d'un écu de gueules à la croix d'argent (blanche) et de quatre clefs de même dans les quatre cantons, les pannetons opposés. Contrairement au parti adopté à Auxerre quarante ans auparavant environ, la grisaille de Saint-Urbain est fine, claire, peu chargée, de manière à laisser briller les filets et les touches de couleur. Ce parti a été adopté dans beaucoup de monuments de la fin du XIIIe siècle et du commencement du XIVe, notamment à Saint-Ouen de Rouen, dans les cathédrales de Narbonne, d'Amiens 367, de Cologne, etc. Quelquefois les dais d'architecture prenaient une grande importance et se composaient de tons clairs, blancs, jaunes, vert d'eau, avec des taches rouges et bleues. Pendant le XIIIe siècle, ces dais, bien que tenus toujours dans des tons clairs, sont simples comme dessin, assez peu importants comme dimension. Ils prennent plus de place à la fin du XIIIe siècle, et occupent souvent pendant le XIVe autant de surface que les figures qu'ils couvrent. Ils se chargent de détails d'architecture, tels que clochetons, gâbles, roses, fenêtres à meneaux, crochets et fleurons. Jusqu'alors les formes d'architecture représentées dans les vitraux sont traduites d'une manière toute de convention; mais vers le commencement du XIVe siècle, les artistes verriers affectent de rechercher l'imitation plus réelle de ces formes. On peut citer, comme un premier exemple de ces tentatives, des verrières des chapelles de la cathédrale de Beauvais qui datent de 1310 environ.

La figure 35, au quart de l'exécution, donne une partie des décorations architectoniques qui accompagnent les sujets de ces verrières et qui sont d'une extrême finesse. Les tons de cette architecture sont blancs et jaunes avec quelques touches rouges, sur un fond bleu. L'éclat non rayonnant du jaune acquiert la netteté et la délicatesse de lumières métalliques à travers ces larges redessinés noirs, ce qui produit un effet saisissant 368. Mais cette recherche, ce dessin maigre et découpé, font regretter les fonds richement colorés, les bordures larges, les ornements si grassement composés qui donnent aux vitraux des XIIe et XIIIe siècles cette harmonie veloutée et profonde qui n'a son égale nulle part. Les bordures du XIVe siècle sont généralement étroites et composées de dessins trop petits d'échelle. Les meneaux qui alors divisaient les fenêtres en compartiments verticaux d'une largeur de deux pieds à deux pieds et demi (0m,65 à 0m,75) obligeaient les verriers à réduire les bordures et à diminuer les figures isolées. Les pages données à ces artistes n'avaient plus l'ampleur que nous leur voyons prendre pendant le XIIe siècle et jusque vers 1230. Les armatures de fer ne se composaient plus que de barlotières, c'est-à-dire de barres horizontales, et les panneaux comprenaient la composition centrale et la bordure. L'exemple fig. 34 est déjà pour cette époque une exception; mais, à Saint-Urbain de Troyes, les vides prennent une surface énorme; il est rare que les travées de vitraux entre meneaux aient cette largeur à dater de la seconde moitié du XIIIe siècle.
Les vitraux légendaires du XIVe siècle sont beaucoup moins communs que ceux du XIIIe. Cet art déclinait alors visiblement; les principes de la peinture translucide que nous avons exposés, et qui avaient dirigé les artistes pendant deux siècles, se perdaient comme se perdaient les principes de la sculpture monumentale. Deux causes contribuaient à cet affaissement de l'art du verrier: la recherche du réel, de l'effet dramatique, et les ressources moins abondantes, au milieu d'une société chez laquelle se développait chaque jour davantage la vie civile. Les corporations, préoccupées de leurs intérêts matériels, ne donnaient plus ces belles verrières qui avaient décoré les cathédrales et les églises paroissiales pendant la première moitié du XIIIe siècle; les évêques et les chapitres avaient, grand'peine à terminer leurs cathédrales restées inachevées et ne pouvaient consacrer des sommes importantes à l'exécution de ces peintures merveilleuses. La féodalité laïque était déjà fort appauvrie et ne songeait qu'à se fortifier dans ses châteaux. Puis, dans l'architecture religieuse alors en honneur, on avait tellement développé les surfaces des fenêtres, qu'il devenait impossible, à moins de dépenses exagérées, de garnir ces vides de vitraux à sujets. Aussi est-ce une fortune rare de trouver une église du XIVe siècle qui soit entièrement garnie de ses vitraux. Nous n'en connaissons qu'une en France qui présente un spécimen complet, ou à bien peu près, d'une suite de verrières faites d'un jet de 1320 à 1330: c'est l'église de Saint-Nazaire, ancienne cathédrale de Carcassonne (voyez CATHÉDRALE, fig. 49, et CONSTRUCTION, fig, 109 et 111). Le choeur et le transsept de cette église présentent une énorme surface de baies toutes garnies de leurs vitraux du commencement du XIVe siècle 369. Ces vitraux à sujets légendaires sont d'une harmonie brillante sans être crue, ce qui se rencontre rarement à cette époque, et appartiennent à une école dont nous ne connaissons pas le centre, mais que nous serions disposés à placer à Toulouse, et dont on retrouve les produits jusqu'à Beziers.

Le panneau (fig. 36) provenant de la fenêtre qui contient la légende de saint Nazaire donne une idée du style de cette école 370; les compositions sont assez bonnes, le sentiment dramatique est cherché, et le geste, par suite, tombe souvent dans la manière. Les draperies sont moins bien entendues que dans nos écoles du Nord, mais le choix des tons, l'entente de l'harmonie générale, l'emportent de beaucoup sur ce qui se faisait au nord de la Loire à cette époque. Les verres sont grossièrement étendus, inégaux à l'excès, épais, mais d'une valeur de ton très-belle. Quelques parties qui semblent peintes par des mains habiles, comme par exemple la figure de la femme du panneau (36), sont exécutées avec beaucoup d'entrain et d'adresse. Parmi ces verrières de Saint-Nazaire, il faut citer celle qui représente le Christ en croix, avec la tentation d'Adam, les prophètes tenant des phylactères sur lesquels sont écrites les prophéties relatives à la venue et à la mort du Messie, comme une des plus remarquables par sa composition, le choix des tons et le dessin ferme, solide, très-modelé, digne des verrières les plus belles du XIIIe siècle.
À dater de cette époque (le commencement du XIVe siècle), hormis quelques vitraux assez remarquables comme entente générale de l'effet, le dessin incline visiblement vers le maniéré. Comme couleur, les belles harmonies des XIIe et XIIIe siècles sont perdues, et les peintres recherchent les tons brillants faisant contraste avec des tons de grisaille. Les jaunes d'argent, nouvellement trouvés, prennent une trop grande place et donnent un aspect fade aux verrières. On cherche à remplir les fonds de damasquinages, pour éviter leur rayonnement sur les figures traitées avec maigreur et dont le modelé est trop cherché. On évite les grandes figures, et les grisailles prennent chaque jour plus d'importance. On ne savait plus comme précédemment établir une différence tranchée entre l'art du peintre sur mur ou panneau et l'art du peintre verrier; au contraire, la peinture sur verre tendait chaque jour davantage à chercher les effets qui conviennent à la peinture opaque.
L'état désastreux de la France pendant les dernières années du XIVe siècle et la première moitié du XVe ne permit guère aux peintres verriers d'exercer leurs talents. Aussi les vitraux de cette époque sont-ils fort rares, et le peu qui nous reste de ces oeuvres est-il d'une médiocre valeur. On fabriquait cependant des grisailles, et l'art ne se perdait pas, puisque vers la fin du XVe siècle, on le voit reprendre une nouvelle vie, mais dans des conditions étrangères à l'art ancien. Trois écoles principales se relevèrent alors, l'école de l'Île-de-France, celle de Troyes et celle de Toulouse; cette dernière, la plus élevée certainement au point de vue où l'on doit se placer lorsqu'il s'agit de la peinture translucide. L'école de l'Île-de-France reporte sur verre des compositions qui conviendraient aussi bien et mieux même, peintes sur surfaces opaques. Tels sont, par exemple, les vitraux de la rose de la sainte Chapelle, qui datent de la fin du XVe siècle. L'école de Troyes est moins éloignée des conditions qui conviennent à la peinture translucide; elle possède encore un sentiment assez juste de l'harmonie des tons, et les sujets sont traités de façon à profiter des qualités essentielles au vitrail. Quant à l'école de Toulouse, elle atteint parfois à la perfection: son style, comme dessin, est large, élevé; sa valeur, comme emploi des couleurs translucides, rivalise avec les belles oeuvres du XIIIe siècle. Mais ce n'est guère qu'au commencement du XVIe siècle que cette école atteint l'apogée. Les vitraux de la cathédrale d'Auch 371, ceux des églises de Lombez, de Fleurance, sont réellement fort beaux et d'une tonalité puissante et harmonieuse. D'ailleurs les verriers de cette époque, au nord et au midi, avaient trouvé des perfectionnements dans le détail de la fabrication, qui leur permettaient de produire des effets inconnus jusqu'alors. Ils doublaient certains verres, le rouge, le vert, le bleu pâle, le pourpre mordoré, et en enlevant à la molette partie de ces doublures, ainsi qu'on le fait aujourd'hui pour les verres dits de Bohême, ils obtenaient des broderies, des détails délicats, qu'ils pouvaient encore colorer avec le jaune d'argent ou certaines couleurs d'émail 372. Toutefois ces délicatesses, charmantes dans des vitraux d'appartement, sont complétement perdues dans la grande décoration monumentale et n'ajoutaient rien à l'effet. La palette des verriers s'était enrichie de tons nouveaux. Ces moyens de doublage leur permettaient d'obtenir certains tons d'une puissance inconnue jusqu'alors: ils avaient des verres violets obtenus avec un doublage rouge sur un bleu pâle, des verts obtenus au moyen de plusieurs couches de verres blanc, jaune et bleu superposés 373, des mordorés obtenus avec une couche jaune sur un pourpre; ils employaient déjà aussi les couleurs d'émail sur le blanc, de manière à obtenir des colorations douces et fondues, des bleus pâles, des roses (pourpre d'or), des lilas. La rose de la sainte Chapelle de Paris fournit maint exemple de ces applications de couleur d'émail qui tiennent bien, ce que l'on ne sait faire aujourd'hui.
Tous ces perfectionnements de fabrication ne pouvaient cependant relever un art qui abandonnait ses véritables principes. Les derniers beaux vitraux de la renaissance que l'on voit à Bourges, à Paris, à Vincennes, à Sens, à Troyes, ne sont que des cartons de peintres reportés sur verre. Ces oeuvres peuvent avoir de grandes qualités comme composition, comme dessin et modelé, elles n'en ont aucune au point de vue décoratif. Leur aspect est confus, blafard ou dur; l'oeil cherche péniblement un dessin qu'il préférerait voir sur une surface opaque; les plombs, au lieu de faciliter la compréhension, la gênent, parce que le dessin a été conçu sans en tenir compte. La perspective, la succession des plans, manquent absolument leur effet et ne produisent que la fatigue.
Nous convenons volontiers que le maniéré du XVe siècle et même du XIVe était une déviation funeste de l'art chez les verriers, mais alors cependant les grands principes décoratifs de cet art n'étaient pas oubliés. Nous préférons encore ces défauts ou ces faiblesses à la pédanterie des artistes du XVIe siècle, qui prétendaient transporter sur le verre des compositions plus ou moins inspirées des peintures des écoles italiennes de ce temps, et qui, pour montrer leur savoir comme dessinateurs, négligeaient absolument d'observer les conditions qui conviennent seules à la peinture translucide.
Nous ne devons pas omettre de parler d'une école de peinture sur verre qui, tout en n'appartenant pas à la France, n'a pas été cependant sans exercer une influence sur les écoles des provinces voisines de l'Est. De même que l'architecture rhénane du XIIe siècle a poussé des rameaux jusque dans la Lorraine et même la basse Champagne, de même l'école des verriers rhénans s'est quelque peu infusée dans nos ateliers français. Au sein de cette école rhénane les traditions du XIIe siècle se prolongent très-tard, soit comme style, soit comme procédés de fabrication. Au XIIIe siècle encore, on fabriquait à Strasbourg des vitraux qui semblent appartenir à une époque très-antérieure. Les figures conservent leur caractère archaïque, et l'ornementation est tout empreinte d'un style roman très-prononcé. En France, dès le milieu du XIIe siècle, l'ornementation possède son allure particulière, qui se distingue parfaitement du dessin encore admis dans la sculpture; il n'en est pas ainsi même au commencement du XIIIe siècle en Alsace. L'ornementation peinte des vitraux s'inspire des mêmes modèles qui ont servi à la composition des ornements de l'architecture. Les procédés employés dans la peinture sur verre ont une rigidité qui ne se rencontre pas dans nos vitraux. À dater du XIIIe siècle, la grisaille, destinée à former le dessin et les traits d'ombres, est absolument noire et opaque, les demi-teintes sont faites par hachures et n'ont pas la translucidité chaude de nos teintes.

Voici (fig. 37) une bordure d'un des vitraux de la nef de la cathédrale de Strasbourg qui montre combien les traditions romanes s'étaient conservées encore au milieu du XIIe siècle, et combien ce dessin se rapproche des formes admises dans l'ornementation sculptée. Les tons de ces vitraux se rapprochent d'ailleurs de la coloration habituelle du XIIe siècle: ils sont clairs; les blancs, les bleus, les jaunes et les verts clairs dominent. Ainsi les têtes d'animaux sont bleu clair, les cercles blancs, les feuilles vert d'émeraude et jaune-paille. Les fonds sont rouges; le filet de gauche, turquoise, et le filet perlé à côté, jaune or; le filet à droite commence par un blanc, puis des plaques pourpres alternent avec des bagues jaunes entre lesquelles est un vert; un filet bleu est accolé à cette bordure, et, près des cercles, un filet blanc. Le bleu saphir et le rouge occupent les moindres surfaces; les tons rompus clairs sont en majorité. Une architecture dans les tons verts, blancs, jaunes et bleus clairs, composée de deux colonnes avec une archivolte, ajoute à ces bordures et enveloppe le fond rouge sur lequel se détachent les personnages, tenus également dans des tons limpides 374. Pour les chairs, les verriers rhénans emploient généralement des verres moins colorés que ceux choisis par nos artistes français.

Nous reproduisons ici (fig. 38) une tête d'un personnage (saint Timothée) qui se voit dans une fenêtre de la chapelle de Saint-Sébastien accolée à l'église de Neuwiller. Ce vitrail, dont il ne reste que la partie supérieure, paraît appartenir, comme style, à une époque très-ancienne; cependant la forme des lettres de l'inscription placée au-dessus du nimbe ne saurait faire remonter ce vitrail au delà du milieu du XIIe siècle. Le caractère de la tête du saint est tout empreint de la tradition grecque et rappelle les plus anciennes mosaïques de Saint-Marc de Venise 375; ici les demi-teintes sont posées par hachures, retouchées sur quelques points au grattoir. Au total, l'exécution de ce vitrail n'indique pas l'habileté que l'on observe dans l'exemple que nous avons donné (fig. 29 bis).
C'est à la fin du XIIIe siècle seulement que les verriers rhénans paraissent abandonner entièrement les traditions de l'art du XIIe siècle. C'est aussi à cette époque, ainsi que le prouve la construction du choeur de la cathédrale de Cologne, que le style dit gothique s'empare de l'architecture. Les maîtres architectes, comme les maîtres peintres, veulent alors dépasser les modèles français qui leur servent de types, ils prétendent aller au delà, et à cette époque déjà ils tombent dans le style maniéré, que nous ne voyons apparaître dans nos provinces que cinquante ans plus tard. Cependant certains vitraux (anciens) du choeur de la cathédrale de Cologne possèdent des qualités de dessin et de style qu'on ne peut méconnaître; quant à l'harmonie des tons, elle semble livrée au hasard, et ne tient aucun compte des règles si bien observées encore par nos artistes pendant cette période.
Comment expliquer que nous ayons perdu en France ces qualités de coloristes si évidentes dans nos vitraux et nos peintures des XIIe et XIIIe siècles; qualités dont on peut suivre la trace jusqu'au XVIe siècle, et qui, à dater de ce moment, disparaissent de jour en jour de nos édifices pour se réfugier, très-rarement d'ailleurs, dans quelques toiles de chevalet de nos peintres? C'est peut-être à l'étude mal comprise ou mal dirigée des oeuvres de l'antiquité et de la décadence italienne que nous devons la perte de cette faculté possédée par nos devanciers. Dédaignant leurs oeuvres, il était tout simple de ne pas tenir compte des enseignements qu'elles fournissent. Plutôt que d'y revenir, on a préféré admettre une bonne fois que les Français ne sont pas nés coloristes. On aime chez nous donner aux préjugés une sorte de consécration dogmatique, cela va bien à la paresse d'esprit; c'est un arrêt fatal contre lequel nous nous persuadons aisément que notre volonté ou notre réflexion ne saurait réagir: les consciences se rassurent, ainsi on se dispense de tout effort. Il est bien certain que le sentiment et l'expérience de l'harmonie colorante sont perdus en France depuis plus de deux siècles, et les pâles tentatives faites de nos jours pour colorer l'architecture en sont une preuve sans réplique. N'est-ce pas, par exemple, se méprendre sur les conditions de l'harmonie colorante appliquée à l'architecture, que de supposer qu'on obtiendra un effet heureux en faisant intervenir le marbre comme élément de couleur au milieu d'une structure de pierre? Le marbre, dont la tonalité est chaude et dure souvent, qui prend des reflets heurtés, ne peut s'allier aux tons légers et transparents de la pierre; c'est pis encore si, avec le marbre, on emploie le métal aux lumières étincelantes. Alors la pierre perd à l'oeil toute solidité, ses tons et ses formes mêmes s'émoussent, s'alourdissent. On voudrait la fouiller, redessiner ses arêtes, ses contours.
Aucun peuple ayant laissé des oeuvres d'architecture recommandables n'est tombé dans une erreur aussi profonde. Les Grecs ont coloré le marbre blanc, qu'ils employaient à cause de la finesse de sa contexture; mais ils l'ont coloré en totalité, et n'ont jamais tenté de placer des marbres de couleur à côté de marbre blanc, et surtout à côté d'une pierre calcaire. Les Romains, qui n'avaient pas d'ailleurs un sentiment bien élevé de l'harmonie, n'ont jamais employé les marbres de couleur simultanément avec la pierre laissée dans son état normal. Saint-Marc de Venise, qui présente extérieurement comme intérieurement une harmonie colorée d'un si heureux effet, est entièrement revêtu de plaques de marbre d'un ton très-fin, de mosaïques et de dorures; de la pierre on ne voit pas trace. Les artistes du moyen âge ont admis la peinture à l'extérieur et à l'intérieur de leurs édifices; mais la peinture n'a pas la rigidité du marbre; on ne subit pas sa tonalité, on la cherche et on la trouve. Ils avaient, pour les intérieurs des grands vaisseaux, la peinture. La coloration des vitraux avait l'avantage de jeter sur les parois opaques un voile, un glacis colorant d'une extrême délicatesse, quand, bien entendu, les verrières étaient elles-mêmes d'une tonalité harmonieuse. Si les ressources dont ils disposaient ne leur permettaient pas d'adopter un ensemble de vitraux colorés, ou s'ils voulaient faire pénétrer d'une manière plus pure la lumière du jour dans les intérieurs, ils avaient adopté cette belle décoration des grisailles qui est encore une harmonie colorante obtenue à l'aide d'une longue expérience des effets de la lumière sur des surfaces translucides. Beaucoup de nos églises conservent des verrières en grisailles fermant soit la totalité de leurs baies, soit une partie seulement. Dans ce dernier cas, les grisailles sont réservées pour les fenêtres latérales qu'on ne peut apercevoir qu'obliquement, et alors les verrières colorées ferment les baies du fond, les ouvertures absidales que l'on aperçoit de loin, en face. Ces grisailles latérales sont toutefois assez opaques pour que les rayons solaires qui les traversent ne puissent éclairer en revers les vitraux colorés. Ces rayons solaires cependant jettent, à certaines heures de la journée, une lueur nacrée sur les vitraux colorés, ce qui leur donne une transparence et des finesses de tons indescriptibles. Les vitraux latéraux du choeur de la cathédrale d'Auxerre, mi-partie grisailles, mi-partie colorés, répandent ainsi sur la fenêtre absidale, entièrement colorée, un glacis d'une suavité dont on ne peut se faire une idée. La lueur d'un blanc opalin qui passe à travers ces baies latérales, et qui forme comme un voile d'une extrême transparence sous les hautes voûtes, est traversée par les tons brillants des fenêtres du fond qui produisent les chatoiements des pierres précieuses. Alors les formes semblent vaciller comme les objets aperçus à travers une nappe d'eau limpide. Les distances ne sont plus appréciables, elles prennent des profondeurs où l'oeil se perd. À chaque heure du jour ces effets se modifient, toujours avec des harmonies nouvelles dont on ne peut se lasser d'étudier les causes, quand toutefois on tient à étudier les causes des effets perçus par les sens: or, plus cette étude est approfondie, plus on demeure émerveillé de l'expérience acquise par ces artistes, dont les théories sur les effets des couleurs (admettant qu'ils en eussent) sont pour nous inconnues, et que les plus bienveillants d'entre nous traitent en enfants naïfs. N'admettant pas que la naïveté toute seule puisse arriver à des résultats aussi complets dans les choses d'art; étant bien convaincu, au contraire, qu'il faut aux artistes une connaissance très-supérieure des causes et des effets pour produire des oeuvres toujours réussies, et cela dans de vastes monuments, nous allons essayer de donner un aperçu du système adopté par les verriers du moyen âge dans la composition et la fabrication des grisailles.
Les plus anciennes grisailles connues ne remontent pas au delà du XIIIe siècle, et ces premières grisailles ne sont mêlées d'aucune partie colorée.
Il existait certainement au XIIe siècle des vitraux simplement composés d'ornements qui étaient fort clairs d'aspect, et dans lesquels par conséquent la grisaille remplissait un rôle important. Mais de ces sortes de vitraux nous ne connaissons qu'un seul exemple, et cet exemple a-t-il été tellement défiguré par des restaurations grossières, que nous ne pourrions le considérer comme complet. Il s'agit de la célèbre verrière de l'église abbatiale de Saint-Denis, dans laquelle on voit des griffons au milieu de médaillons carrés. Si l'on s'en rapporte au dessin que Percier fit de cette verrière à Saint-Denis avant qu'elle eût été transportée au Musée des monuments français, ces griffons formaient le milieu de la verrière, qui possédait trois larges bordures d'ornements dans lesquelles le blanc tenait une grande surface. Mais ce dessin ferait supposer que les griffons du XIIe siècle et leurs médaillons avaient été encadrés beaucoup plus tard, peut-être au XVIe siècle 376. On peut conclure néanmoins, de l'existence de ces fragments, qu'au XIIe siècle on fabriquait des vitraux d'ornements avec coloration.
Les grisailles pures, dont nous n'avons d'exemples qu'au commencement du XIIIe siècle, devaient cependant exister avant cette époque, car le dessin de celles que nous possédons accuse la trace de traditions antérieures au XIIIe siècle. Dans les magasins de Saint-Denis, à Châlons-sur-Marne, à Saint-Rémi de Reims, on retrouve encore des fragments de verres blancs peints qui proviennent très-probablement de grisailles du XIIe siècle. Ces anciens débris sont puissamment modelés, avec demi-teintes, suivant la méthode adoptée pour les ornements de couleur. Le dessin en est plein, large, fortement redessiné avec fonds relativement réduits et remplis d'un treillis en noir ou enlevé au style sur noir. Les verres employés alors sont épais, légèrement verdâtres ou enfumés, souvent remplis de bouillons, ce qui leur donne une qualité chatoyante très-précieuse. Habituellement ces verres blancs sont peu fusibles et ont été moins altérés par les agents atmosphériques que les verres colorés, lesquels sont profondément piqués, surtout à l'orientation du midi 377.

Voici (fig. 39) une grisaille qui provient de l'église abbatiale de Saint-Jean au Bois près Compiègne. Elle est complétement dépourvue de verres colorés et date de 1230 environ, bien qu'elle conserve encore, surtout dans sa bordure, le caractère de dessin du XIIe siècle. C'est surtout dans ces compositions de grisailles que l'on peut reconnaître combien les artistes verriers savaient profiter de la mise en plomb pour appuyer le dessin. Les plombs forment les compartiments principaux, combinés de manière à éviter les angles aigus trop fragiles.

À ce point de vue, le beau panneau que nous retraçons ici (fig. 40), provenant de la chapelle de la Vierge de la cathédrale d'Auxerre, est un chef-d'oeuvre de composition. Cette grisaille est de même dépourvue de verres colorés; elle occupe une large fenêtre, et chaque carré porte d'angle en angle 0m,55. Une bordure blanche à filets unis l'encadre. Son aspect est blanc nacré, d'un ton extrêmement fin et doux. Dans ces deux exemples, les fonds sont couverts par un treillis noir assez ferme, fait au pinceau; quelques demi-teintes sont posées sur les ombres des feuilles en hachurés larges. Le dessin est une grisaille opaque noir brun, un peu transparente sur les bords. La cathédrale de Soissons possède dans la nef de belles grisailles du XIIIe siècle sans couleur, d'un grand effet décoratif; les traits du dessin sont larges, fournis; quelques verres présentent des variétés de blanc pour mieux accuser la charpente principale de la composition. C'était là une ressource dont les verriers du XIIIe siècle ne se privaient pas. Mais ce n'était pas uniformément qu'ils plaçaient ces verres blancs de qualités différentes. Parfois, par exemple, la charpente de la composition se détache sur le fond verdâtre par un ton légèrement enfumé, puis à côté le contraire a lieu; de telle sorte que l'artiste obtenait ainsi les effets chatoyants des damas de soie dans lesquels suivant que la lumière frappe les surfaces, le dessin se détache en ton obscur sur un fond clair ou en clair sur un fond obscur.

La fin du XIIIe siècle employa encore les grisailles sans couleur. La cathédrale de Troyes nous fournit de beaux exemples de ces vitraux incolores. Nous en donnons ici deux panneaux (fig. 41 et 42), dont l'exécution est d'une extrême délicatesse et la composition charmante.

Ces grisailles paraissent dater des dernières années du XIIIe siècle. Mais déjà des bordures colorées les accompagnent, en laissant toujours entre elles et le tableau de la baie un filet blanc. Nous avons vu qu'à cette époque, les verriers employaient souvent les grisailles avec les figures colorées sur fond de couleur; mais, avant le XVIe siècle, nous ne connaissons en France aucun exemple de figures peintes en grisaille sur verres blancs. Les artistes du XIVe siècle avaient cependant employé la peinture opaque en camaïeu pour les figures, dans certains cas; il paraît donc surprenant qu'ils n'aient pas eu l'idée de le faire pour la peinture translucide, ou que, s'ils l'ont fait, il ne nous en reste pas des fragments. En observant attentivement les effets de la peinture translucide en grisaille, on se rend cependant compte des raisons qui ont dû empêcher ces artistes d'appliquer ce procédé aux figures. Si clairement composée que soit une verrière d'ornements en grisaille, si vigoureux que soit le dessin, si bien accusés que soient les fonds, il résulte toujours de ces compositions un effet miroitant à l'oeil, qui rappelle l'aspect d'une étoffe damassée, c'est-à-dire un ensemble vibrant dont il est difficile, à moins d'une attention fatigante, de démêler la trame. La condition essentielle de toute grisaille incolore, c'est qu'il ne reste sur aucun point une surface de verre qui ne soit recouverte par le travail du pinceau. Il faut une répartition égale, régulière, de ce travail, pour qu'en apparence l'oeil ne croie pas voir un trou, un vide dans la surface translucide. Or, en peignant des figures, il fallait nécessairement laisser des surfaces claires inégales et plus ou moins larges, en raison du modelé de la forme. Il en résultait une suite de taches lumineuses et obscures réparties sans ordre, qui produisaient un très-fâcheux effet, et n'invitaient pas à reposer les yeux sur ces surfaces. À distance, les blancs prenaient une importance démesurée, et les ombres, réduites, faisaient taches. On peut se rendre compte de l'aspect désagréable de ces sujets en grisailles translucides si l'on examine certains vitraux de la renaissance où l'on a cherché à rendre des cartons très-lisiblement colorés. L'oeil a grand'peine à démêler les figures, à suivre leurs contours et le modelé à travers ces éclairs entremêlés de points obscurs.
Il n'en est pas du vitrail en grisaille comme du vitrail coloré; on peut sans fatigue porter les yeux sur ce dernier, si sa coloration est harmonieuse, tandis que la grisaille n'est faite que pour donner une tapisserie translucide qui ne préoccupe pas. Le regard ne saurait longtemps se reposer sur cette surface chatoyante, qui semble vibrer, et qui cause des éblouissements si l'on persiste à démêler le dessin qui la compose. Tous ceux qui ont essayé de dessiner des grisailles en place ont pu éprouver cet effet, tandis qu'on peut copier sans fatigue une verrière colorée. Il était donc sensé de ne point peindre des sujets en grisaille.
On peut admettre que le phénomène de vibration causé par les verrières incolores, et aussi la nécessité de ne pas avoir, à côté des surfaces colorées, des surfaces absolument incolores, engagèrent les peintres verriers à entremêler des filets de couleur dans les grisailles. Cet appoint les rendait plus faciles à comprendre, les dessinait plus nettement, et leur ôtait cet aspect chatoyant qui devenait insupportable si les fenêtres occupaient une grande surface. C'est en effet au moment où les baies vitrées occupent tous les espaces laissés entre les piles et les formerets des voûtes que l'on renonce aux grisailles incolores. Les derniers panneaux que nous venons de donner, et qui appartiennent à la cathédrale de Troyes, occupent des fenêtres étroites, sans meneaux; mais quand il s'agit de garnir de larges baies à meneaux, comme celles qui s'ouvrent sur nos vaisseaux à dater du milieu du XIIIe siècle, les peintres verriers renoncent à la grisaille incolore; ils la zèbrent de filets rouges ou bleus, ils y sèment des rosaces et l'entourent de bordures colorées. Parmi ces grisailles on peut considérer comme étant des plus anciennes celles qui garnissent les fenêtres à meneaux de la chapelle absidale de l'église abbatiale de Saint-Germer. La construction de cette chapelle suit de peu celle de la sainte Chapelle du Palais à Paris, c'est-à-dire qu'elle remonte au commencement de la seconde moitié du XIIIe siècle. Bâtie d'un jet, ses vitraux en grisaille datent de l'époque de sa construction, et déjà ils montrent des bordures, quelques filets et des semis de rosaces colorés.

Dans l'exemple (fig. 43), la bordure est composée de feuilles jaune safran sur fond bleu avec filet intérieur rouge. Les quatre lobes R sont également rouges.

Dans l'exemple (fig. 44), la bordure se compose de fleurs de lis jaunes sur fond rouge sans filet intérieur coloré, et les rosaces sont formées d'un carré vert entouré de quatre demi-cercles rouges 378. On remarquera que déjà dans ces grisailles les filets blancs ne sont plus cernés par un plomb que d'un seul côté, l'autre côté étant peint. C'était une simplification sur le procédé du commencement du XIIIe siècle, mais l'effet général perd l'ampleur et la fermeté de ces premières grisailles. Les fonds sont toujours un treillis très-fin fait au pinceau. Cependant, à la fin du XIIIe siècle, les filets de couleur deviennent plus nombreux, les rosaces plus importantes; les treillis des fonds sont remplacés par un ton uni assez inégal, sorte de glacis qui a l'inconvénient de colorer ces fonds en bistre, ce qui ôte de la finesse aux grisailles. Parmi les plus belles grisailles de cette époque, ou du commencement du XIVe siècle, il faut citer celles de la cathédrale de Narbonne.

Voici (fig. 45 et 46) deux de ces panneaux variés. Dans le premier, la bordure est composée de carrés jaunes peints, J, entre lesquels sont placés un verre bleu et un verre rouge, B, R. Pour le corps de la grisaille, les filets rectilignes sont bleus, les filets courbes, rouges, les rosaces ont le coeur jaune, le trilobe circulaire rouge et le trilobe angulaire vert, ou le contraire. Sur les verres blancs, l'ornement peint laisse entre lui et les filets de couleur une marge dépourvue de grisaille, qui fait ressortir très-habilement les tons rouge et bleu des entrelacs. Le tracé de cette verrière est à mentionner. La largeur du panneau AX entre les bordures a été divisée en six parties. De chacun des points diviseurs ont été tirées des lignes à 45°; les centres des courbes, les filets courbes aussi bien que les filets rectilignes, se trouvent sur ce quadrillé diagonal. Ainsi les centres des courbes ab se trouvent aux points c; etc. Il va sans dire qu'un filet blanc cerne extérieurement la bordure.

Dans le second exemple (fig. 46), les couleurs occupent une grande partie de la surface. La bordure se compose de fleurs de lis jaunes sur fond bleu; puis est posé un filet interne rouge. Les armoiries sont d'argent à la croix de gueules; ou mi-parties au premier coupé d'argent à la croix pattée de gueules et d'or chargé d'une tour de sable; au second d'or à trois fasces de gueules. D'autres écus décorent ce vitrail: le premier se découpe sur un fond jaune perlé entouré de deux carrés croisés vert et pourpre violet; le second est posé sur un fond bleu avec carrés de même que dessus, mais les tons alternés. L'effet de cette grisaille est très-beau; si toutefois on peut donner le nom de grisaille à une verrière où les couleurs occupent plus de la moitié de la surface.
La cathédrale de Saint-Nazaire de Carcassonne conserve aussi de très-remarquables grisailles du commencement du XIVe siècle, où la couleur remplit un rôle très-important. Dans les deux roses nord et sud notamment, ces grisailles sont de véritables mosaïques colorées.
Vers le milieu du XIVe siècle, alors qu'on était arrivé à appliquer le jaune au moyen de sels d'argent, on rehaussa parfois les grisailles blanches avec des touches jaunes. On voit de jolies grisailles de ce genre dans la chapelle de Vendôme de la cathédrale de Chartres. Les magasins de Saint-Denis en possèdent également un très-joli panneau, qui a été reproduit par M. A. Gérente. Il faut dire que ce genre de grisaille convient mieux à des baies d'appartements qu'aux fenestrages des grands vaisseaux. Ces moyens décoratifs sont trop maigres pour produire de l'effet de loin sur de grandes surfaces translucides.
Au XVe siècle, le mode des grisailles tapisseries se perd, et est remplacé par des tracés d'architecture blanche et jaune, avec quelques figures colorées d'un effet médiocre.
Le XVIe siècle fit beaucoup de grisailles, ou plutôt des camaïeux avec sujets et arabesques. Nous ne croyons pas nécessaire de revenir sur ce que nous avons dit de ce procédé de peinture sur verre.
On sait que les cisterciens n'admettaient pas dans leurs églises les peintures et la sculpture des figures. Privés de ces moyens décoratifs, ces religieux fermèrent les baies de leurs églises au moyen de verres blancs disposés de manière à former de riches dessins par la mise en plomb. Dès l'année 1842 nous avions pris note de vitraux de ce genre datant des premières années du XIIIe siècle, dans l'église abbatiale de Pontigny, qui dépendait de l'ordre de Cîteaux. Plus tard, en 1850, M. l'abbé Texier signala des vitraux de ce genre dans les églises de Bonlieu (Creuse) et d'Obasine (Corrèze) 379, toutes deux cisterciennes. Ces vitraux incolores et non peints datent du XIIe siècle. Les dessins des vitraux de l'église de Bonlieu sont peut-être de quelques années antérieurs à ceux de l'église d'Obasine, mais d'ailleurs le système adopté est le même dans l'un et l'autre monument. Ces dessins sont bien composés, larges, d'un beau caractère. On peut en juger par l'exemple que, nous donnons ici (fig. 47), tiré de l'église de Bonlieu.

Sur quelques points, ainsi que le remarque M. l'abbé Texier, le plomb ne sertit pas le verre, mais est apposé dessus sur un seul côté 380. Il n'était là que pour compléter le dessin et faire éviter des coupes trop difficiles. C'est d'ailleurs un expédient très-rarement employé.
M. Amé a relevé une partie des vitraux blancs de l'église cistercienne de Pontigny. Quelques-uns de ces vitraux se rapprochent beaucoup, comme dessin, de ceux d'Obasine, mais d'autres en diffèrent essentiellement et présentent des combinaisons en partie rectilignes.

Voici (fig. 48) un de ces panneaux dont la disposition rappelle celle des belles grisailles du commencement du XIIIe siècle 381. Une fois sur la voie, M. E. Amé découvrit des vitraux de ce genre dans un certain nombre d'édifices du département de l'Yonne, particulièrement dans les églises de Mégennes, de Châblis, dans la chapelle de l'ancien hôpital de Sens. Nous en avions dessiné également en 1842 dans la petite église de Montréal, qui datent d'une époque beaucoup plus récente, XVe ou XVIe siècle.
Ce système de vitrage n'était donc pas seulement employé par les cisterciens, puisque ces derniers édifices ne dépendaient pas de cet ordre. Il dut être adopté toutefois lorsque les ressources manquaient pour faire exécuter des vitraux colorés ou en grisailles peintes. Depuis que notre attention a été portée sur ce genre de vitrerie, nous en avons découvert beaucoup de fragments dans des églises des XIIIe, XIVe, XVe et XVIe siècles; fragments qui présentent des combinaisons à l'infini. On en voyait encore des panneaux entiers et variés, en 1843, dans l'église abbatiale de Beaulieu, près de Saint-Antonin (Tarn-et-Garonne), qui date de la fin du XIIIe siècle, et qui alors dépendait d'un fermage.

Voici (fig. 49) un de ces panneaux d'une disposition originale. Les verres de ces vitraux ne sont pas d'une transparence blanche égale, mais inégaux comme épaisseur, et plus ou moins verdâtres ou jaunâtres, ce qui contribue à l'effet de ce genre de vitrerie. La mise en plomb de ce dernier exemple est très-soignée. Dans la partie supérieure de notre figure est indiqué le mode de tracé, le moyen de trouver les centres des quarts de cercle qui constituent le compartiment.
Il n'y a pas à douter que la vitrerie des fenêtres d'habitations ne fût ainsi composée dans le plus grand nombre de cas, puisque les vignettes des manuscrits nous montrent toujours des verres blancs mis en plomb suivant des compartiments variés, dans les intérieurs d'appartements. Souvent un écusson armoyé brochait sur le milieu de ces panneaux blancs, dans les vitrages des châteaux et palais, ou une devise, ou un emblème, et donnaient quelques points de couleur qui égayaient la surface blanche des grandes fenêtres, sans rien enlever à la lumière nécessaire dans toute pièce servant à l'habitation.
La peinture sur verre exigerait, certes, de plus longs développements, si l'on voulait en faire une histoire complète et indiquer les différents procédés employés par les diverses écoles françaises, pendant l'espace de trois ou quatre siècles. Il y a dans l'étude de cet art ou de cette industrie, si l'on veut, reprise depuis peu par quelques artistes distingués, un champ d'observation très-étendu à parcourir. Nous ne pouvons qu'indiquer les points saillants de cette étude pour rester dans les limites du Dictionnaire. Peut-être même trouvera-t-on que nous nous sommes étendu trop longuement sur une des parties de la décoration architectonique; mais il nous paraît qu'il y a, dans cet art de la décoration translucide, des ressources qu'on pourrait utiliser d'une manière plus large qu'on ne le fait de nos jours. Dans un climat comme le nôtre, où la lumière du soleil est souvent voilée, où les intérieurs des édifices et des habitations ne sont éclairés que par un jour blafard, il était naturel que l'on cherchât à colorer cette lumière pâle. C'était là un sentiment de coloriste. Nous avons laissé étouffer ce sentiment sous un classicisme étroit dans ses vues, prétentieux dans ses expressions, qui ne demande pas que l'on comprenne, mais qu'on admire de confiance ce qu'il admet comme licite dans l'art. Il faudrait, certes, une longue expérience et des études sérieuses pour retrouver les traces négligées de cette industrie du peintre verrier.
Quelques hommes dévoués ont fait des efforts et des sacrifices considérables, de nos jours, pour retrouver ces traces. Ils ont même ainsi ouvert, pour notre pays, une source de production assez riche; mais, mal secondés par les fabricants de verre, qui ne se préoccupent pas des conditions nécessaires à la coloration translucide; obligés de lutter contre une concurrence de produits à bon marché qui déprécient ce bel art aux yeux des gens de goût; repoussés systématiquement des grands travaux publics par de puissantes coteries, c'est à grand'peine s'ils peuvent maintenir leurs ateliers ouverts. Qu'ils ne se découragent pas cependant; leur industrie doit, dans un temps où l'architecture tend de plus en plus à élever de vastes édifices largement éclairés, trouver une belle place; mais qu'ils emploient les loisirs que leur fait une opposition systématique à connaître les véritables ressources de cet art décoratif par excellence. Le jour de la réaction contre l'insignifiance académique arrivé, ils seront prêts.
Note 333: (retour) Sachant que beaucoup de ces vitraux avaient été transportés dans les magasins de Saint-Denis, après la dispersion du musée des Petits-Augustins, nous demandâmes, dès que nous fûmes chargés des restaurations de l'église abbatiale, où étaient déposés ces vitraux... On nous montra trois ou quatre caisses contenant des milliers de morceaux de verre empilés... À peine s'il en restait trois morceaux unis par des plombs... Les caisses sont encore à attendre la fée qui voudra bien débrouiller ce chaos.
Note 338: (retour) M. Oudinot, peintre verrier, a fait analyser de son côté des fragments de verrières des XIIe et XIIIe siècles, peints; et l'analyse n'a également donné que du protoxyde de fer. Aujourd'hui cette peinture est obtenue au moyen de battitures de fer que l'on ramasse chez les forgerons, que l'on tamise pour en séparer les parcelles métalliques et que l'on broie avec un fondant. On employait aussi autrefois et l'on emploie encore un minerai de fer appelé ferret d'Espagne, qui est un oxyde de fer naturel plus brun que la sanguine. Cette substance donne à la grisaille un ton plus chaud que la battiture de fer des forgerons.
Note 342: (retour) Les verres bleus du XIIe siècle possèdent une qualité particulière et qui les fait reconnaître entre tous ceux des autres époques: c'est qu'ils paraissent bleus à la lumière de la lampe, tandis que ceux des époques postérieures passent au gris laqueux, au vert ou au violet. Cette observation nous a été suggérée par des peintres verriers, habiles praticiens, et l'expérience nous l'a confirmée.
Note 345: (retour) On peut citer, entre ces fac-simile, comme remarquables: les panneaux des restaurations de la sainte Chapelle, dus à MM. Lusson et Steinheil; ceux des fenêtres du XIIe siècle de l'abbaye de Saint-Denis, dus à M. A. Gérente; des restaurations des vitraux de Bourges et du Mans faites par M. Coffetier.
Note 349: (retour) Voyez, pour la coloration générale de cette verrière, la Monographie de Notre-Dame de Chartres, par J. B. Lassus. Cette verrière est très-fidèlement copiée par M. P. Durand. L'exactitude du dessin et du modelé ne saurait être plus complète, mais la coloration donnée par la chromolithographie ne peut rendre l'effet des rapports des couleurs translucides. Ainsi les bleus sont lourds et sombres, les verts durs, etc.
Note 351: (retour) Les peintres verriers employaient plusieurs valeurs de chaque ton, comme nous l'avons indiqué plus haut. Il était facile de désigner chaque valeur par un signe: ainsi, le B (bleu) pouvait être B 1, B 2, B 3, indiquant ainsi le bleu limpide, clair, turquoise; le bleu saphir, le bleu indigo, etc.
Note 373: (retour) Nous avons entre les mains un de ces verres verts, provenant d'une de ces verrières du XVIe siècle de la cathédrale de Carcassonne (Saint-Nazaire), qui est composé d'une assiette blanche verdâtre, d'une couche jaune, d'une couche blanche, d'une couche bleue, d'une fine lamelle blanche et d'une couche jaune. Nous inclinons à croire que ces verres sont de fabrication vénitienne.
Note 374: (retour) Ces vitraux de la cathédrale de Strasbourg se voient encore aujourd'hui dans les fenêtres du bas côté septentrional de la nef, qui date du XIIIe siècle; mais ils ont évidemment été replacés là et appartenaient à l'église du XIIe siècle. Le style des figures ne laisse pas de doute à ce sujet.
Note 375: (retour) Le fac-simile de ce vitrail nous a été communiqué par M. Steinheil. La chapelle à laquelle il appartient passe pour avoir été bâtie sous Charlemagne, et en effet sa construction peut remonter à cette époque; mais nous ne pensons pas que la verrière donnée ici puisse avoir été peinte avant le commencement du XIIe siècle.
Note 376: (retour) La verrière dont il est ici question a été fidèlement reproduite dans l'ouvrage de M. J. Gailhabaud, l'Architecture et les arts qui en dépendent, tome II. Mais cette reproduction donne, avec les griffons et leur entourage du XIIe siècle, les restaurations sans aucun caractère et d'une harmonie de ton déplorable qui ont été faites il y a trente ans.
Note 377: (retour) À la cathédrale de Chartres notamment, certains verres sont tellement piqués et recouverts de lichens, qu'ils ont perdu toute translucidité. Il faut observer que les verres du XIIIe siècle sont plus altérés que ceux du XIIe, ce qui ferait supposer qu'au XIIIe siècle déjà on avait cherché à rendre les verres plus fusibles par des fondants. À ce compte, les vitraux que nous faisons aujourd'hui seront perdus dans deux ou trois siècles.
VOIRIE, s. f. Sous le régime féodal, les routes et chemins appartenaient au seigneur sur la terre duquel s'ouvraient ces voies publiques. Le seigneur avait donc le droit de changer la direction de ces voies et de percevoir les péages destinés à leur entretien. Dans les villes, la voirie dépendait, soit de la municipalité, soit du suzerain, soit du seigneur possesseur de droits féodaux.
À Paris, avant le XIIIe siècle, la voirie ne dépendait que du roi et de l'évêque dans la circonscription de sa juridiction. Ce n'est qu'à dater du règne de Philippe-Auguste que la législation de la voirie passe entre les mains du prévôt.
Dans la plupart des villes du Languedoc qui avaient conservé presque intactes leurs formes municipales romaines, le droit de voirie appartenait aux consuls qui, dès lors, exerçaient la police des rues et places. Souvent la police de la voirie appartenait en commun à deux pouvoirs dans une même ville. Cette police consistait à empêcher qu'on ne fît des caves sous les rues, qu'on n'établit des perrons pouvant gêner la circulation, des saillies d'auvents préjudiciables aux passants ou aux voisinages, qu'on y déposât des ordures. Les voyers veillaient à l'entretien du pavage et à l'écoulement des eaux, à la réparation des puits banals et des fontaines, à la conservation des chaînes. On comprendra comment les droits de voirie, souvent partagés dans une même localité entre plusieurs seigneurs, furent l'occasion de nombreux conflits. Les Olim contiennent en effet bon nombre d'arrêts intervenus à propos de ces discussions. Nous donnons ici un de ces arrêts datant de 1312, qui explique clairement la nature de ces conflits et comment ils étaient tranchés par la cour du roi. «Item de l'article ou quel li dit religieux disoient que li habitant de ladite ville (de Saint-Riquier) ne povoient edefier, faire, refaire, rapparelier (réparer), ni empeschier (encombrer) les fros (terrains publics, places, voies) de ladite ville en faisant, edefiant, refaissant ou rappareillant issues, saillies, huisseries, huvrelas (auvents), appentiz, estaures (baies) ou manoueles à puys, ne autres manières de ouvrages ou edefices, viez ou noviaus, es fros desus diz ne sur yceaus, ne es lieus marchissans (aboutissant) as diz fros senz prendre congie au froquier (voyer) de ladite eglise (du monastère de Saint-Riquier); les diz maieur, jurez et commune proposanz au contraire: Oyes les raisons proposees d'une partie et d'autre, veu et considere la vertu de leurs privileges, termine est, et par droit, que li habitant de la dite ville ne povent ne pourront des ore en avant faire edefier, refaire, ne rapparelier tels manieres de edefices ne de ouvrages comme desus est dit, senz requerre le congie dou dit froquier; et se li requis, il n'en woloit donner congie, il le pourront faire, mais il l'en doivent premierement requerre, excepte que se il avenoit par aucune aventure que les manoueles des puis, seans es fros de la dite ville, cheoient ou brisoient, et touz li autres edefices de celluy puis demourast en son estat, et se aucune des parois des maisons de la dite ville, tenanz es fros desus diz, estoient percee ou crevee par faute de closture de verge, de late ou de mortier, le sueil, les potiaus, et toute l'autre charpenterie et mazçonnerie de ladite paroy demoranz en leur estat; termine est et esclarci que li habitant de la dite ville pourront refaire, rapparelier, mettre et remettre les dites manoueles des puis, et refaire les pertuis des parois et edefices desus diz en la maniere que il est desus devise, et faire huis et fenestres, senz requerre le congie dou dit froquier, sauf ce que se toute la charpenterie et mazçonnerie demouroient en leur estat, et les parois entre deuz cheoient jusques en la terre, li habitant de la dite ville ne le povent faire ne refaire sans requerre congie ou dit froquier, en la manière desus ditez. Et n'est mie oblier que se li mur et les portes dont la dite ville est fermee, joignanz as fros, depezçoient en aucune partie ou cheoient dou tout jusques au reys de terre, li habitant desus dit les porront faire et refaire senz requerre le congie dou dit froquier, pour ce que la fermete de la dite ville est nostre 382.»
Il résulte de la teneur de cet arrêt que, malgré les prétentions de l'abbé de Saint-Riquier possédant sur la ville des droits féodaux, les habitants peuvent réparer les maisons donnant sur les voies et places de ladite ville, en prévenant le voyer de l'abbaye, à moins d'un cas de force majeure, tel que la ruine d'un mur, d'une maison, d'une manivelle de puits, auxquels cas les habitants peuvent immédiatement procéder à la réédification sans avertissement préalable. En tout état, l'avis donné au voyer est inutile lorsqu'il s'agit de réparer les défenses de la ville. C'est ainsi que le pouvoir royal, sans détruire au fond les droits de voirie des seigneurs féodaux, les annulait de fait en bornant ces droits à une simple déclaration faite au voyer féodal, déclaration qui d'ailleurs ne pouvait être suivie d'une opposition aux réparations déclarées. Quant aux murs de ville, considérés par le suzerain comme lui appartenant, s'il y avait lieu de les réparer, il n'était même pas nécessaire de prévenir le voyer du seigneur ayant des droits féodaux sur les terrains de la cité. Ce n'était que peu à peu que le pouvoir royal parvenait ainsi à prendre possession de la voirie des routes et des cités, et les ordonnances des rois de France à dater du XIIIe siècle sont remplies de décisions qui tendent à centraliser entre les mains du suzerain les questions de viabilité. Avant cette époque, les charges de voyers sont créées dans les villes érigées en communes par le seigneur qui octroie la charte. À Auxerre, par exemple, en 1194, la charte du comte de Nevers qui institue la commune, crée une charge de voyer et fixe la juridiction de cette charge 383. Toutes les contestations déférées à la cour du roi provoquaient généralement un arrêt qui pouvait être considéré comme un empiétement du suzerain sur les droits féodaux ou des communes.
VOLET, s. m. Fermeture de bois plein d'une fenêtre posée à l'intérieur ou à l'extérieur (voyez MENUISERIE).
VOUSSOIR, s. m.--Voyez CLAVEAU.
VOUSSURE, s. f. Rangs de claveaux d'archivoltes qui enveloppent le tympan d'une porte (voyez PORTE). On donne aussi aujourd'hui le nom de voussures à des surfaces cintrées qui forment la transition entre les murs d'une salle et le plafond; mais ce genre de construction n'était pas admis pendant le moyen âge: il ne date que de la fin du XVIe siècle.
VOÛTE, s. f. Nous avons, dans l'article CONSTRUCTION, expliqué d'une manière générale comment, du système admis par les Romains pour voûter leurs édifices, les architectes du moyen âge étaient arrivés à des combinaisons de voûtes entièrement nouvelles et se prêtant à tous les plans. Nous n'avons pas à revenir ici sur ce que contient cet article, sur les moyens employés pour résister à la poussée des voûtes, mais à développer les divers procédés admis en France du XIe au XVIe siècle pour tracer ces voûtes et les établir sur leurs points d'appui.
Tout d'abord un fait doit fixer l'attention de l'observateur qui examine les voûtes construites sous l'empire par les Romains: c'est l'économie apportée dans la construction de ces voûtes. Si grands bâtisseurs qu'ils fussent, les Romains apportaient dans leurs travaux des principes d'économie que nous ne saurions trop méditer. Or, puisqu'il s'agit ici des voûtes, personne n'ignore que les causes de dépenses les plus importantes peut-être dans la construction des voûtes, ce sont les cintrages de bois qui sont nécessaires pour les porter jusqu'au moment où elles sont fermées et où elles peuvent se soutenir par la juxtaposition complète des matériaux qui les composent. Quand on examine quelques-uns de ces grands édifices romains voûtés, tels que les thermes d'Antonin Caracalla, de Dioclétien, la basilique de Constantin à Rome, etc., on est tout d'abord disposé à croire qu'il a fallu, pour former ces vastes concrétions, un énorme cube de bois, des cintrages d'une puissance prodigieuse; par suite, des dépenses provisoires perdues, considérables. Cependant une étude plus attentive de ces voûtes fait bientôt reconnaître qu'au contraire, ces bâtisseurs, pratiques avant tout, avaient su fermer ces énormes concrétions à l'aide de moyens économiques et d'une grande simplicité. Si l'on prend la peine d'analyser ces larges voûtes romaines, berceaux, voûtes d'arête, coupoles, on constate que ces surfaces courbes, en apparence uniformes et homogènes, sont formées d'une suite de nerfs et même de cellules de brique dont les intervalles sont remplis par un blocage composé de pierres légères et de mortier. Ainsi, pour fermer une très-grande voûte, suffisait-il de poser un certain nombre de cintres de charpente, relativement restreints et d'une force médiocre, de les réunir par une forme de planches sur lesquelles la voûte était construite, ainsi que nous allons le voir.
Il arrivait même que, pour ne pas faire subir aux cintres légers de charpente une pression à laquelle ils n'eussent pu résister, les constructeurs formaient les nerfs principaux de rangs de briques superposés, le premier servant de cintre à demeure pour les suivants et déchargeant ainsi le cintre provisoire de charpente. Souvent même le constructeur bandait sur des cintres très-espacés, réunis seulement par des planches, une voûte en grandes briques posées à plat, voûte qui n'avait qu'un poids insignifiant, et sur cette voûte, sur cette coque légère, mais déjà très-résistante, il formait les nerfs principaux, les cellules de brique, et remplissait de blocage les intervalles.

Notre figure 1 expliquera cette méthode de construire les voûtes. Soit un berceau à voûter. Des cintres légers de charpente A, relevés, ont été posés à intervalles égaux, leurs courbes commençant au niveau de la portion de voûte qui a déjà pu être élevée sans le secours d'un cintrage, mais à l'aide d'une simple tige de bois ou de cerces. Ces cintres ont été réunis par des planches ou couchis B, qu'il n'a pas été nécessaire de poser jointifs, planches assez épaisses pour ne pas plier sous la charge d'un homme. Sur ces planches, les maçons ont fait le carrelage C avec de grandes briques plates, comme on construit encore de nos jours des voûtes en tuiles ou carreaux de terre cuite, ciment ou plâtre 384. Dès lors les ouvriers opéraient sur une croûte solide, homogène et pouvant résister à une charge. Les nerfs D ont été posés à l'aplomb de chaque cintre et formés de grandes briques carrées. Ces nerfs ont été disposés ainsi que l'indique le détail X, avec des doubles briques ab, de distance en distance, de manière à pouvoir couler dans la rainure laissée entre elles des planches P normales à la courbe. Le long de ces planches considérées comme dossiers, ont été posées les entretoises E en grandes briques se chevauchant. Après la prise du mortier maintenant les briques de ces entretoises, les planches P ont été enlevées, puis les cellules restant vides ont été remplies d'un blocage de tuf ou de pierre ponce et de mortier. Il est évident que si, à partir du niveau N, les maçons avaient dû bander une voûte de 0m,40 à 0m,50 d'épaisseur en briques ou moellons par le procédé ordinaire, c'est-à-dire en montant peu à peu les rangs de claveaux à partir de ce niveau N jusqu'à la clef, il aurait fallu des cintres de charpente et des couchis très-résistants; car, ayant atteint le niveau M de la voûte, la pression de la bâtisse sur le cintrage eût été très-considérable et aussi forte sur les couchis que sur les cintres eux-mêmes. D'ailleurs les cintres de charpente se dessèchent, jouent toujours quelque peu dans leurs assemblages, et conservent difficilement leur courbure pendant plusieurs semaines, s'ils sont coupés sur un grand diamètre. Le carrelage C devant être fait très-rapidement et formant à lui seul un cintrage, les cintres de charpente pouvaient, sous ce carrelage, se dessécher et se déformer sans inconvénients. Ils n'étaient plus maintenus en place avec leurs couchis, que comme un surcroît de précautions. On voit encore les traces de ce carrelage, simple ou doublé, dans beaucoup de voûtes romaines 385. Il recevait les enduits intérieurs qui adhéraient à sa surface au moyen des bavures du plâtre ou du mortier qui réunissait les briques posées à plat. Si la voûte était d'arête, le système employé était le même, et des arcs diagonaux de brique marquaient la pénétration des demi-cylindres.

Ces arcs diagonaux (fig. 2) ne pouvaient être posés à la fois dans les deux plans courbes, qui ne donnent un angle droit qu'à la naissance de l'arête. En effet, lorsque deux demi-cylindres se coupent à angle droit, on sait que l'angle de rencontre des courbes devient de plus en plus obtus à mesure qu'on s'approche du sommet ou de la clef de la voûte. Un arc de brique ne pouvait mouler cette forme, puisqu'il eût fallu autant d'angles différents qu'il y avait de briques dans une branche d'arc. Les constructeurs romains posèrent donc les cintres de charpente diagonaux suivant la ligne vraie de pénétration, puis ils placèrent sur la courbe des cintres des veaux de bois b (voyez en A), laissant entre eux, de distance en distance, des intervalles c de moins en moins profonds à mesure qu'on approchait du sommet de l'arc. Sur ces veaux le maçon posait alors l'arc diagonal perpendiculaire au plan diagonal (voy. en B). La section de cet arc est figurée par le carré efgh, les veaux comblant la différence ij, et le cintre étant en k. Dans les intervalles c, des briques doubles écornées étaient posées, ainsi que l'indiquent les trapèzes opqr, leur bord suivant la direction horizontale des deux cylindres. On obtenait ainsi la structure indiquée en E. Deux rangs de ces briques parallèles aux plans des voûtes permettaient de poser en l les planches qui (comme il a été montré dans l'exemple précédent) permettaient de bander les entretoises m formant le cloisonnage dans lequel on maçonnait les remplissages de blocage. Les saillies des briques espacées parallèles aux plans des voûtes servaient à tracer et à maintenir l'arête, faite en même temps que l'enduit. S'il s'agissait d'une coupole, ou les nerfs de brique formaient comme des côtes engagées dans la portion de sphère, ainsi qu'on peut le voir à la voûte du temple dit de Minerva Medica, à Rome, ou ces nerfs composaient une suite d'arcs en façon d'imbrication, comme dans la voûte de la petite salle ronde des thermes de Dioclétien.
Cette structure des voûtes présentait donc les avantages suivants: 1° économie de cintres; 2° rapidité d'exécution, sans avoir à craindre cependant les accidents qui résultent d'une interruption momentanée dans le travail; 3° facilité d'employer des ouvriers de qualités différentes; car, pour remplir les cellules de blocage, il n'était besoin que de manoeuvres; 4° possibilité de décintrer immédiatement après le remplissage des cellules, et même avant ce remplissage, si l'on tenait à remployer les cintres ailleurs, puisque la croûte composée de briques à plat suffisait et au delà pour recevoir ces remplissages des cellules; 5° élasticité pendant la durée du travail, ce qui permettait d'éviter les ruptures qui se manifestent dans une construction absolument homogène et qu'il faut un certain temps pour compléter; 6° après le remplissage des reins, concrétion parfaite. Dans la construction des très-grandes voûtes, qui, par leur développement même, ne peuvent être fermées en un court espace de temps, il se manifeste souvent des ruptures pendant le travail des ouvriers ou immédiatement après leur fermeture. Ces accidents se produisirent pendant la construction de la coupole de Sainte-Sophie de Constantinople, d'une manière tellement grave, qu'il fallut recommencer l'opération; mais les Romains des bas temps ne savaient plus bâtir comme leurs devanciers. Après la construction de la coupole de Saint-Pierre de Rome des déchirures se manifestèrent. Il est aisé de concevoir comment des surfaces courbes de cette étendue, maçonnées peu à peu, présentent, après l'achèvement du travai, des parties parfaitement sèches et prises, d'autres encore molles, pour ainsi dire, ou tout au moins légèrement compressibles. C'est à cette inégalité dans la prise des mortiers, et par suite dans la compressibilité de ces surfaces, qu'il faut attribuer les désordres que l'on signale dans les grandes voûtes de maçonnerie élevées depuis les belles époques de l'empire. Mais si, au lieu d'élever ces voûtes par assises, par zones, comme on le fait encore de nos jours, on maçonne rapidement une ossature bien entendue suivant la forme même de la voûte et les propriétés de sa courbure, ce qui est facile, on peut prendre tout le temps nécessaire pour remplir les intervalles laissés entre cette ossature; car celle-ci établie, la voûte est faite, elle prend son équilibre, subit ses tassements sans être gênée, sans se déchirer. Cette méthode devait conduire tout naturellement les constructeurs romains à adopter les caissons pour leurs voûtes, et surtout pour les voûtes sphériques. Voici pourquoi. Pour faire une voûte sphérique, il est nécessaire d'établir des cintres rayonnants divisant la demi-sphère par côtes, comme les degrés de longitude divisent la terre; mais les couchis qui vont d'un cintre à l'autre donnant des lignes droites, il en résultait, ou que la voûte était composée d'une suite de plans, ou qu'il eût fallu faire une forme sur ces couchis pour arriver à la courbe sphérique. Cela exigeait beaucoup de bois, était long, et dispendieux par conséquent. Des difficultés plus graves surgissaient si la voûte sphérique avait un très-grand diamètre, comme celle du Panthéon de Rome, par exemple 386. En supposant qu'on eût voulu élever une voûte couvrant une aussi grande surface par la méthode adoptée dans les temps modernes, c'est-à-dire par zones maçonnées successivement sur cintres, on comprend quelle puissance il eût fallu donner à ces cintres, et comme il eût été nécessaire d'assurer leur parfaite immobilité pendant un laps de temps très-considérable; or, les bois à l'air en aussi grande quantité, et vu le nombre de leurs assemblages, travaillent de telle sorte, que, malgré toutes les précautions, un cintrage de cette importance s'affaisserait peut-être de 0m,50 à son sommet au bout de trois ou quatre mois. Il n'en faut pas tant pour compromettre l'exécution d'une coupole de cette dimension. Mais si, sur un cintrage relativement léger, les constructeurs peuvent en très-peu de temps bander une ossature légère, mais assez résistante cependant pour permettre de compléter la structure de l'énorme demi-sphère, sans se presser et sans craindre les tassements ou affaissements partiels, le problème sera résolu, et l'on ne courra aucun risque, car le décintrage de la voûte se réduira à un enlèvement de pièces de bois dont la fonction sera devenue insignifiante; il pourra se faire sans qu'il y ait à prendre ces précautions délicates, faute desquelles il peut survenir une catastrophe. Dans les constructions, il ne faut jamais que l'oubli d'une précaution, une maladresse puissent occasionner un sinistre; les procédés pratiques doivent offrir toute sécurité, et rien ne doit être livré au hasard ou à la chance plus ou moins heureuse. C'était bien évidemment ainsi que les architectes romains entendaient élever leurs bâtisses.
Piranesi a donné une gravure de la construction de la coupole du Panthéon de Rome; mais nous ne savons sur quelle donnée il a fait sa planche, car de son temps, pas plus qu'aujourd'hui, on n'en pouvait reconnaître exactement la structure. Nous pensons que le système qu'il indique est celui de l'extrados de la coupole qu'il aura pu voir pendant qu'on réparait la couverture de plomb; il aura supposé que la combinaison visible à l'extérieur devait se reproduire à l'intérieur; or, cela n'est pas possible, si l'on considère la disposition de cet intérieur et l'épaisseur de la voûte, qui, près de la lunette, n'a pas moins de 1m,50. Les briques que l'on peut voir à l'extrados ne traversent certainement pas l'épaisseur de la voûte; donc la structure, l'ossature visible à l'intérieur peut être différente de celle visible à l'extérieur. Nous irons plus loin, nous dirons que ces deux ossatures doivent être absolument différentes, et nous allons expliquer pourquoi.

Quand les Romains construisaient un arc-doubleau, une tête de berceau portant charge, ou même un arc de décharge, ils avaient le soin de procéder ainsi que l'indique la figure 3 en A: ils maçonnaient, à partir de la naissance, le quart de l'arc environ en rangs de briques liaisonnées, puis les deux quarts restant en rangs de briques extradossées. Comme ils construisaient les arcs de décharge avant les remplissages que ces arcs avaient pour fonction de soulager, il fallait nécessairement cintrer ces arcs. Le système des rangs d'arcs extradossés permettait de ne pas charger outre mesure le cintre de charpente à son point le plus faible, puisqu'on commençait par poser le premier rang de claveaux DE. Ce rang posé, le cintre n'avait plus rien à porter, et l'on pouvait bander les deux autres arcs. Si cependant les constructeurs romains avaient eu seulement l'intention de ne pas charger le cintre de charpente, du moment que le premier arc eût été bandé, ils auraient maçonné le reste de l'épaisseur de l'arc de briques liaisonnées, en se servant du premier arc comme d'un cintre très-suffisamment résistant; mais nous voyons au contraire que, sans exception, les parties supérieures des arcs-doubleaux ou de décharge sont maçonnées en rangs de briques extradossées. Cette méthode était justifiée par l'expérience. Si nous supposons l'arc A (arc de décharge du mur de précinction du Panthéon de Rome) construit entièrement en briques liaisonnées, ainsi qu'il est tracé en B, et qu'il survienne un écartement dans les culées F, G, par suite d'une commotion telle, par exemple, qu'un tremblement de terre, ou un tassement, cet arc se rompra à l'extrados en H, et à l'intrados à la clef, en I; toutes les pressions viendront dès lors agir sur les deux arêtes K et sur l'arête L, lesquelles, si la charge est forte, s'épaufreront de telle sorte, que le segment KK ne portera plus. Mais si cet arc de décharge a été construit ainsi que ceux du Panthéon (voy. en A), et que l'écartement ait lieu dans les culées (voy. en C), les trois arcs extradossés s'infléchiront, s'ouvriront, et les charges se répartiront sur six arêtes d'intrados en M et trois arêtes d'extrados en N, à la clef. Les angles de brisures seront moins allongés et le désordre moins considérable que dans l'exemple B. On comprend donc pourquoi ces arcs de brique sont toujours extradossés dans leur partie supérieure, c'est-à-dire dans la partie qui porte la charge; c'était pour conserver une certaine élasticité que ne pouvaient avoir des arcs homogènes dans leur épaisseur. Ce principe appuyé sur l'observation, si simple d'ailleurs, mais si peu suivi dans l'architecture moderne, était, à plus forte raison, appliqué aux coupoles d'un grand diamètre.
Conformément à la méthode expliquée dans la figure 1 et par les raisons données plus haut, il était nécessaire qu'une coupole comme celle du Panthéon fût rapidement ébauchée, pour ainsi dire, sur ces cintrages, que les Romains tenaient à faire légers et avec des bois courts autant que possible, afin d'éviter les dépenses inutiles, les difficultés de pose et le gaspillage des charpentes. Pour expliquer clairement la méthode des constructeurs romains lorsqu'ils voulaient fermer de grandes coupoles, nous prenons comme type le Panthéon de Rome.

La figure 4 présente une section de cette voûte hémisphérique. Le mur de précinction, avec ses chambres de décharge si habilement combinées, a été élevé jusqu'au niveau N avec le commencement de la voûte, divisée par vingt-huit caissons dans son pourtour et qui laissaient entre eux vingt-huit bandes pleines comme autant de côtes qui se perdent dans la partie unie de la calotte comprise entre le point a et la lunette L. Ces vingt-huit bandes indiquent la place des cintres de charpente C aboutissant à une lanterne de charpente composée de vingt-huit poteaux et de deux fortes enrayures. Nous supposons ces cintres faits de bois courts et suivant la méthode des charpentes romaines reproduites sur les bas-reliefs de la colonne Trajane. Il n'y avait pas à songer, à moins de dépenses prodigieuses, à poser des cintres portant de fond, avec entraits. Ce système de cintrage, qui, du reste, est encore usité à Rome et dans une partie de l'Italie, est solide, mais ne saurait supporter une très-lourde charge. Les vingt-huit demi-fermes de cintres posées, il s'agissait de les réunir par des entretoises et de composer les couchis qui devaient recevoir la voûte de maçonnerie. Si les constructeurs avaient prétendu sur ces charpentes fermer une calotte telle que celle dont nous donnons la section, il est évident que les cintres auraient été déformés par la charge dès que les maçons seraient arrivés au point P, car il n'était pas possible, sur une aussi grande surface, de bander en même temps toute une zone de la coupole. Certains points eussent été accidentellement plus chargés que d'autres, d'où il eût pu s'ensuivre des désordres irrémédiables. On voit en A un huitième du plan horizontal de ce système de cintrage. En coupe, les caissons se profilent de telle sorte que leurs listels sont vus du centre de l'édifice sur le pavé. C'est-à-dire (voyez en R le détail de la section de l'un des caissons de la deuxième zone) que l'oeil du spectateur placé au centre de l'édifice sur le sol aperçoit les listels o dans toute leur largeur, les coupes de leurs épaisseurs tendant à ce point visuel. Le cintrage ainsi disposé, il s'agissait de trouver la méthode la plus expéditive et la plus économique pour maçonner cette énorme calotte hémisphérique. Le détail de cette opération est expliqué dans la figure 5.

En A sont les cintres. Pour relier les courbes et pour poser les entretoises, des liens a ont été cloués latéralement, comme on le ferait pour des plates-bandes. Ces liens portent chacun deux entailles qui reçoivent les entretoises E, lesquelles sont entaillées à mi-bois en e pour recevoir les cerces de doublures C. Des planchettes-couchis p réunissent les deux entretoises et reposent en feuillure. Il reste donc des châssis vides F qu'il s'agit de fermer. Or, l'ossature de la charpente ainsi combinée, parfaitement solide et aussi légère que possible, indiquait le travail incombant aux maçons. Ceux-ci profitant de la membrure de bois pour poser des nerfs de brique, il était inutile de remplir l'intervalle entre ces nerfs par une pleine maçonnerie. C'était le cas de profiter, au contraire, de ces vides F laissés entre la membrure pour alléger cette maçonnerie. Donc, au lieu de fermer ces vides F avec des couchis ordinaires sur le châssis, composé des entretoises et des cerces de doublures, on posa un autre châssis saillant g, sur celui-ci un second châssis également saillant h, puis un troisième i, puis, toujours en retraite, un panneau de planches. En coupe, ces trois châssis et le panneau donnaient le profil indiqué en R dans la figure 4; ainsi se trouvait indiqué en saillie sur le cintrage le moule du caisson. Les maçons pouvaient dès lors exécuter très-rapidement leur travail, comme l'indique le tracé B figure 5. Ils bandaient sur les cintres les nerfs de brique G, réunis au droit des entretoises par les étrésillonnements H, également de brique, légèrement bombés et posés sur une cerce de bois que l'on enlevait sitôt l'étrésillon bandé. Cette membrure de brique, répétant exactement la membrure de bois, laissait visibles les caissons, sur lesquels il n'y avait plus qu'à maçonner un blocage de matériaux légers et mortier (voyez en S). Il est clair qu'au droit des panneaux M, ce blocage était beaucoup plus mince qu'il ne l'était le long des membrures. Ce blocage cellulaire formait alors comme autant de voûtains carrés compris entre les nerfs côtiers, ou longitudes, et les bandes zonales, ou latitudes, de brique. Cette première opération, qui pouvait être rapidement terminée, formait une croûte très-résistante, bien pondérée, légère cependant, et qui rendait dorénavant le cintrage de bois superflu. Celui-ci pouvait se dessécher, jouer dans ses assemblages, sans qu'il pût en résulter le moindre désordre. Mais une voûte hémisphérique de cette étendue, d'une épaisseur de 0m,50 environ, au droit des nerfs, n'eût pu offrir des garanties de durée sérieuses pour des constructeurs qui prétendaient ne rien abandonner aux chances d'accidents, tels qu'un ouragan, une forte pression atmosphérique, une oscillation du sol (et Rome n'en est pas exempte). Il fallait que ce réseau tout composé de nerfs relativement minces fût préservé, enserré, bridé par une enveloppe protectrice. La calotte hémisphérique régularisée à l'extrados par un bétonnage, ou plutôt un enduit grossier, les constructeurs cherchèrent le moyen le plus propre à garantir cette coque légère et fragile. C'est alors qu'ils durent adopter le système entrevu par Piranesi, système qu'explique la figure 6.

De toutes les grandes coupoles connues et encore entières, celle du Panthéon d'Agrippa est la seule qui ne soit pas lézardée. Celle de Sainte-Sophie a dû être restaurée à plusieurs reprises; celle de Saint-Pierre de Rome est fissurée d'une manière assez grave 387. Nous croyons donc que c'est grâce à ce système double que la coupole du Panthéon de Rome doit de s'être conservée intacte, malgré des commotions terrestres qui, à plusieurs reprises, causèrent des accidents à certains édifices de cette ville. Nous n'avons pu vérifier le fait de ce réseau d'arcs doublant la calotte à caissons; seule l'indication de Piranesi peut fournir un renseignement. Mais certaines dispositions du tambour de l'édifice ne nous laissent guère de doutes à cet égard. En effet, si l'on jette les yeux sur la figure 4, on voit que ce tambour (voy. le huitième du plan en A) présente une suite de parties pleines et de vides qui coïncident avec les points d'appui et les niches inférieures formant aujourd'hui chapelles. Sachant que les Romains, dans leurs constructions, ne font jamais rien qui ne soit motivé, on ne pourrait comprendre pourquoi ces contre-forts T ont été ainsi réservés, s'ils ne devaient pas contribuer d'une manière efficace au maintien de la coupole. Ces contre-forts T ne sont pas disposés au droit des nerfs des caissons; ils ont une fonction distincte; fonction expliquée par le réseau d'enveloppe que représente la figure 6. Pour former ce réseau, la calotte à caissons servait de cintrage, et il suffisait de cerces de bois légères pour bander les arcs appuyés sur l'extrados de cette calotte. Ces arcs bandés, il n'y avait plus qu'à garnir les intervalles avec une maçonnerie (blocage) de matériaux légers, ainsi qu'il est indiqué en B sur la figure 6.
L'économie des cintres préoccupait si fort les constructeurs romains, que même lorsqu'ils ont fait des voûtes en pierre appareillées, d'une assez grande largeur (ce qui est rare), comme par exemple dans le monument de Nîmes connu sous le nom des Bains de Diane, ils ont posé des arcs-doubleaux sur cintres, et ces arcs-doubleaux ont eux-mêmes servi de cintres pour poser de grandes dalles entre eux, comme on pose des couchis.

Notre figure 7 explique ce genre de construction de voûtes. Dans ce dernier cas, les constructeurs ont fait l'économie de tous les couchis de bois, puisque les épaisses dalles de pierre reposent chacune de leurs extrémités sur les arcs-doubleaux. Il est évident, donc, que dans la construction de leurs voûtes, les Romains ont économisé, autant que faire se pouvait, la matière et le temps, par conséquent n'ont jamais fait de dépenses inutiles. On cite à peine un ou deux exemples de voûtes d'arête avec coupes appareillées dans tous les édifices de la Rome antique. Par ce même motif d'économie, ont-ils évité les pénétrations, les arrière-voussures, les pendentifs d'appareil, dont nos architectes modernes qui prétendent avoir étudié l'architecture antique pour en tirer un profit, se montrent si prodigues, au grand dommage de nos finances 388.
Nous devions nous étendre quelque peu sur le système de structure des voûtes romaines pour mieux faire saisir certaines analogies entre ce système et celui adopté en France vers le milieu du XIIe siècle. Analogies de principes, comme on va le voir, non de formes; ce qui prouve une fois de plus que des principes vrais, établis sur une observation juste et un raisonnement logique, ne sont point une entrave dans l'art de l'architecture, mais au contraire la seule force productrice.
À la fin de l'empire déjà, ces méthodes employées dans la construction des voûtes s'étaient altérées; les constructeurs négligeaient d'appliquer régulièrement les procédés admis dans les édifices romains jusqu'aux Antonins. À Byzance, les grandes voûtes de l'église de Sainte-Sophie sont grossièrement faites. Il va sans dire que pendant les premiers siècles du moyen âge, les dernières traces de ces traditions de la bonne époque romaine étaient effacées. On cherchait à reproduire sur de petites dimensions les formes apparentes des voûtes romaines, mais on n'en connaissait plus la véritable structure. Ce n'est qu'au commencement du XIIe siècle qu'il se manifeste tout à coup un progrès dans la structure des voûtes, et qu'apparaît l'embryon d'un système nouveau en Occident. Ce phénomène se produisant au moment des premières croisades, il était assez naturel d'attribuer ce brusque développement à une influence orientale; mais les documents que l'on avait pu recueillir jusqu'à ces dernières années ne venaient guère confirmer ces conjectures à priori, lorsque M. le comte Melchior de Vogüé entreprit un voyage dans la Syrie centrale. Accompagné par un jeune architecte, habile dessinateur, M. Duthoit, M. le comte de Vogüé rapporta de ces contrées une masse de documents d'une haute importance pour l'histoire de notre art français, car ils nous donnent l'explication des progrès qui se manifestèrent si rapidement en Occident dès les premières années du XIIe siècle 389. En effet, ces monuments de la Syrie centrale dus à une civilisation gréco-romaine présentent un caractère particulier. Dans leur structure, les éléments grec et romain ne sont pas juxtaposés, comme il arrive dans les édifices de la Rome impériale; ils se mêlent sous l'influence de l'esprit clair et logique du Grec. Nous avons maintes fois fait ressortir cette singulière disposition de l'architecture romaine de l'empire 390, qui ne considérait l'art grec que comme une décoration quasi indépendante de la structure; si bien que, dans tout édifice romain, on peut enlever cette parure empruntée à l'art grec sans affecter l'organisme, pour ainsi dire, de la bâtisse romaine.
Les édifices gréco-romains de la Syrie centrale procèdent tout différemment: les deux structures grecque et romaine se prêtent un mutuel concours: il n'y a plus l'ossature et le vêtement qui la couvre, mais un corps complet dans toutes ses parties. L'arc et la plate-bande ne sont plus réunis en dépit de leurs propriétés, ainsi que cela se voit si fréquemment dans l'architecture de l'empire, mais remplissent leurs véritables fonctions. Ce rationalisme dans l'art exerça évidemment une influence sur les Occidentaux, qui se précipitèrent en masses compactes dans ces contrées à la fin du XIe siècle. Il ne s'agissait plus de suivre de loin les traditions affaiblies de l'art impérial; les croisés trouvaient dans les villes déjà abandonnées, mais encore debout, du Hauran, une architecture nouvelle pour eux, claire dans ses expressions comme une leçon bien faite, fertile en déductions, facile à comprendre et pouvant être appropriée à tous les besoins.
Dans ces édifices, la voûte d'arête n'existe pas, tout étant bâti d'appareil, mais bien le berceau, la coupole et le cul-de-four. Les arcs-doubleaux et archivoltes sont fréquents, et ces arcs-doubleaux qui forment travées portent, ou des plafonds de pierre, ou des charpentes, suivant que les localités possédaient ou ne possédaient pas de bois.
Nous allons rechercher comment ces dispositions ont dû avoir une influence directe sur la construction de nos voûtes occidentales, et firent abandonner le mode de structure des Romains.

Voici (fig. 8) un fragment de la basilique de Chagga 391, dont la construction date du IIe ou du IIIe siècle de notre ère. Les travées de cette basilique sont étroites (2m,50 d'axe en axe des piles, en moyenne) et sont couvertes, entre les arcs-doubleaux, par des dalles épaisses; une couche de terre battue revêtue d'un enduit formait une terrasse étanche sur le dallage supérieur. La construction se compose de piles à section carrée portant des arcs-doubleaux sur la nef principale, contre-butés par d'autres arcs-doubleaux bandés sur les collatéraux, lesquels soutiennent une galerie de premier étage donnant sur cette nef centrale. Le caractère particulier à cette construction, ce sont ces arcs-doubleaux qui composent l'ossature intérieure de l'édifice. Rien de semblable dans les constructions romaines occidentales de l'empire. La voûte romaine maçonnée comme nous venons de le montrer au commencement de cet article, possède rarement des arcs-doubleaux apparents 392, puisque ces arcs sont noyés dans l'épaisseur même de la voûte, ne sont que des nerfs cachés.
Pour les architectes occidentaux, si fort empêchés, à cette époque, lorsqu'ils prétendaient établir des voûtes sur le plan de la basilique romaine (voyez ARCHITECTURE RELIGIEUSE), la vue d'un édifice comme la basilique de Chagga,--et la Syrie centrale en possède encore plusieurs conformes à ces dispositions,--devait leur faire naître la pensée d'appliquer ce mode de structure en remplaçant les dallages, qui ne pouvaient convenir aux climats de l'Occident, ni à la nature des matériaux dont ils disposaient, par une voûte en berceau sur la nef centrale, par des voûtes d'arête sur les nefs basses, et par un demi-berceau sur le triforium pour permettre l'établissement de couvertures inclinées et contre-buter le berceau central. Ces déductions se présentaient naturellement à l'esprit des constructeurs occidentaux, si naïfs qu'on les veuille supposer.

La coupe de la basilique de Chagga (fig. 9) donne le tracé A; deux travées du plan étant projetées en a. Subissant la nécessité de couvrir leurs édifices par des pentes assez roides pour recevoir de la tuile, et ne pouvant par conséquent employer le système de dallages des architectes syriens, les artistes occidentaux, en voulant appliquer le principe si simple de ces basiliques, n'avaient qu'à relever les grands arcs-doubleaux de la nef, comme l'indique en C la coupe B, à réunir ces arcs-doubleaux par un berceau concentrique à leur extrados, à bander un demi-berceau D sur le triforium, entre les arcs-doubleaux E et des voûtes d'arête, suivant le mode byzantin 393, entre les arcs-doubleaux inférieurs F des collatéraux. La substitution des voûtes aux dallages entraînait forcément l'écartement des piles P. Les archivoltes G étaient conservées, mais avec un diamètre égal à celui des arcs-doubleaux F, et d'autres archivoltes I, ou une claire-voie portait le berceau central. Mais les archivoltes G destinées à recevoir les voûtes des collatéraux s'avançaient au ras intérieur des piles P, et alors, pour porter les arcs-doubleaux supérieurs C, il fallait ajouter à ces piles un appendice L sous la forme d'une colonne engagée. D'une construction dans laquelle l'arc et la plate-bande étaient simultanément employés avec un sentiment exquis du vrai, les architectes occidentaux arrivaient à faire, sans trop d'efforts, un monument entièrement voûté. Cependant cette modification, en apparence si simple, suscitait des difficultés de détail qui ne furent résolues que peu à peu. Mais telle est la puissance d'un premier enseignement clair et logique, que tout travail qui en découle se fait sous cette première influence. Les constructeurs occidentaux, en voyant cette architecture grecque de la Syrie, apprenaient à raisonner; aussi, à dater de cette époque, leurs oeuvres si confuses jusque-là, toutes bourrées de traditions mal comprises, reproduisant, en les abâtardissant de plus en plus, les formes de l'antiquité romaine, s'élèvent, progressent en s'appuyant sur le raisonnement, sur ces principes légués par les derniers des Grecs.
Cette coupe B est celle de la plupart de nos églises romanes construites au commencement du XIIe siècle en Auvergne, dans le Languedoc, la Provence et le Lyonnais. On peut aisément constater qu'il y a moins de dissemblance entre la coupe A et la coupe B qu'entre un monument voûté quelconque de Rome et cette coupe B. Cet arc-doubleau plein cintre E du triforium, que l'on retrouve dans les galeries des basiliques romanes de l'Auvergne et du Languedoc, et qui ne peut s'expliquer avec la voûte en demi-berceau (voyez TRIFORIUM), est un vestige persistant de cette influence du monument syrien. Quant aux difficultés de détail dont nous venons de parler, voici en quoi elles consistaient tout d'abord. Les piles de la basilique de Chagga (voy. en a) sont à section carrée, ce qui était naturel, puisque ces piles ne reçoivent que deux arcs-doubleaux, et que l'archivolte qui unit ces piles naît en pénétration au-dessus de la naissance des deux arcs-doubleaux (voy. la figure 8). Mais nous voyons que déjà dans la coupe B les archivoltes G qui réunissent les piles ont leur naissance au niveau des naissances des arcs-doubleaux F (voy. la figure 9). L'extrados de ces archivoltes G ne se dégage donc qu'au-dessus de cette naissance, et, par suite, la naissance de la voûte d'arête ne pouvait s'établir qu'au point relevé de ce dégagement, ce qu'indique le tracé perspectif (fig. 10).

Il y avait là un embarras, une de ces difficultés de détail dans l'art du constructeur, qui contraint bientôt celui-ci, pour peu qu'il raisonne, à trouver une solution satisfaisante; or, tous ceux qui ont pratiqué cet art et qui ne se contentent pas d'à peu près, qui veulent trouver la solution vraie, savent combien ces recherches entraînent à modifier certaines formes qui paraissent consacrées par le temps. Et c'est précisément dans la manière de résoudre ces difficultés à dater des premières années du XIIe siècle, que l'on reconnaît la puissance de cet enseignement logique puisé en Orient par nos maîtres français de cette époque. D'abord ces maîtres raisonnent ainsi: puisqu'il y a deux arcs-doubleaux et deux archivoltes naissant au même niveau, et qu'entre ces arcs-doubleaux et ces archivoltes il faut (sur leur extrados) bander des voûtes d'arête, il est de toute nécessité que la pile donne exactement la section des claveaux de ces arcs, qu'ils trouvent sur elle leur place, par conséquent la section carrée ne peut convenir pour la pile; alors ils tracent la pile H (voyez figure 9). Ainsi les arcs-doubleaux trouveront leur assiette en d, les archivoltes en b, et les arêtes des voûtes naîtront dans les angles rentrants e qui sont les points de rencontre des extrados de ces arcs. Mais bientôt, quand les monuments voûtés prennent plus d'ampleur, ces architectes reconnaissent que les archivoltes qui portent les murs latéraux et la voûte en berceau doivent avoir plus d'épaisseur que les arcs-doubleaux qui n'ont pas de charge, que ces naissances de voûtes d'arête dans les angles demandent, ou un appareil spécial, ou affament la pile en réduisant les tas de charge; alors ils tracent les piles suivant le plan K. Les archivoltes se dégagent en f, l'arc-doubleau des latéraux en g; les angles h reçoivent les naissances des voûtes d'arête; les angles i, les archivoltes de décharge au-dessus de la claire-voie du triforium, et le grand arc-doubleau du berceau central, ayant la largeur mm, porte sur le tailloir d'un chapiteau reposant sur la colonne engagée. Mais les archivoltes f et l'arc-doubleau g ont une épaisseur plus grande que n'est l'espace op, d'où il résulte que l'arête h de la voûte doit s'élever verticalement jusqu'au moment où l'épaisseur rp des claveaux se dégage de cette arête; alors les constructeurs ajoutent encore une colonne engagée au devant des pilastres des archivoltes et de l'arc-doubleau postérieur, afin d'avancer les claveaux de ces arcs de manière à les dégager entièrement dès leur naissance. Ainsi se compose peu à peu, et commandée par les déductions tirées de la construction des voûtes, la pile romane du XIIe siècle.
Tant qu'on n'avait pas sous les yeux ces monuments de la Syrie centrale, il était difficile de se rendre compte des motifs qui avaient fait adopter, pendant la dernière partie de la période romane, ces arcs-doubleaux séparant les travées des édifices voûtée, puisque les Romains ne séparaient pas leurs travées de voûtes par des arcs-doubleaux. Les édifices syriens nous donnent la solution de cette question. Dans ces édifices, les arcs-doubleaux sont, par suite d'un raisonnement très-juste, faits pour franchir des espaces trop larges pour être couverts par des plates-bandes ou par des charpentes, dans un pays où les bois longs étaient rares; ces arcs portent de grandes dalles, comme dans l'exemple précédent, ou des pannes. C'est ce qui nous fait dire que ces artistes syriens avaient su allier, mieux que ne l'avaient fait les Romains, l'arc et la plate-bande. Les architectes occidentaux ont conservé les arcs-doubleaux comme l'ossature naturelle de tout édifice bâti de pierre; seulement, entre ces arcs, ils ont bandé des voûtes suivant la tradition romaine, soit en berceau, soit d'arête.

Mais à Byzance, à Sainte-Sophie, déjà la voûte d'arête romaine s'était modifiée. Sa clef centrale était habituellement alors posée au-dessus du niveau des extrados des clefs d'arcs-doubleaux (voyez figure 11), si toutefois on peut donner le nom d'arcs-doubleaux à des arcs à peine saillants sur le nu interne de la voûte. L'arc A, par exemple, de la figure 11 n'était que le nerf de brique, romain qui, au lieu d'être entièrement noyé dans l'épaisseur de la voûte, ressortait quelque peu. On remarquera d'ailleurs que ces arcs A, B, C sont au nu de la voûte, à sa naissance en D sur les tailloirs carrés des chapiteaux, et ne prononcent leur saillie qu'en se rapprochant de la clef. En un mot, ces arcs ne sont pas concentriques à la voûte, laquelle est une sorte de compromis entre la coupole et la voûte d'arête. Or, c'est ce principe de structure qu'adoptent généralement nos architectes occidentaux dans la construction de leurs voûtes d'arête à la fin du XIe siècle; c'est suivant ce système que sont faites les voûtes de la nef de l'église abbatiale de Vézelay, qui datent des premières années du XIIe siècle, et ce n'était pas sans raison que ce parti avait été adopté. Ces voûtes bombées offraient plus de résistance que les voûtes engendrées par deux cylindres se pénétrant à angle droit. Nous développons tout ce qui touche à cette question dans l'article CONSTRUCTION, il n'est donc pas nécessaire de revenir ici sur ce sujet, d'autant qu'alors, au commencement du XIIe siècle, on n'apportait pas, dans la pratique de la structure, les soins que les Romains avaient su y mettre. On ne fabriquait plus ces belles et grandes briques carrées qui permettaient de noyer des nerfs résistants dans l'épaisseur des voûtes et d'obtenir des arêtiers bien bandés; faits de tuf ou de moellons irréguliers, très-rarement de moellons piqués, les arêtiers n'offraient pas de cohésion et tendaient à se détacher. Plus le constructeur se rapprochait de la coupole, plus il évitait les chances de rupture des arêtiers, puisque ceux-ci formaient à peine un pli saillant à l'intrados jusqu'à la moitié environ de leur développement, pour se perdre dans un ellipsoïde en se rapprochant de la clef. D'ailleurs, pour tracer les cintres diagonaux de charpente, il n'était pas besoin de chercher la courbe de rencontre des deux cylindres, il suffisait de tracer un demi-cercle dont le diamètre était la diagonale du parallélogramme à voûter 394. Sur ces arcs diagonaux et sur l'extrados des arcs-doubleaux et formerets, on posait des couchis, puis on faisait avec de la terre la forme bombée nécessaire sur chacun des triangles, de manière à se rapprocher plus ou moins d'une coupole. On maçonnait alors sur ce moule, sans qu'il fût besoin de prendre des dispositions particulières pour les arêtiers, sensibles seulement au départ et inappréciables à la clef. Ces sortes de voûtes ont intérieurement l'apparence que présente notre figure 12, et toute la surface courbe comprise entre les points A, C, B, D, était, ou un sphéroïde, si la voûte était fermée sur un plan carré, ou un ellipsoïde, si elle était fermée sur un plan barlong.

Mais avant d'entrer dans quelques développements à ce sujet, il est nécessaire de faire connaître les tâtonnements qui précédèrent et provoquèrent la révolution qui se fit dans l'art de construire les voûtes au milieu du XIIe siècle.
Nous avons dit que les Romains évitaient autant que possible les pénétrations de berceaux de voûtes, comme présentant des difficultés et des pertes de temps pour le constructeur. Les Romains, en effet,--et cela ressort de l'étude de leurs monuments,--cherchaient à économiser sur le temps, c'est-à-dire qu'ils prétendaient, tout en bâtissant de manière à assurer une parfaite solidité et une longue durée aux constructions, obtenir un résultat dans le plus court espace de temps. Ils évitaient donc les appareils demandant un tracé compliqué et une taille longue. S'ils avaient un berceau de voûte à faire pénétrer dans une salle voûtée, ils tenaient la clef de ce berceau pénétrant au-dessous de la naissance du berceau qui eût dû être pénétré.

Exemple (fig. 13), soit une galerie A voûtée en berceau: le berceau de la galerie B communiquant à la première était bandé, sa clef C au-dessous de la naissance du berceau D. Le Colisée à Rome, les arènes d'Arles et de Nîmes présentent cette structure à chaque pas. Mais encore les claveaux de ces berceaux, lorsqu'ils sont appareillés en pierre, au lieu d'être reliés, sont juxtaposés, ainsi que le montre notre figure. Ce système d'appareil est visible, non-seulement dans les arènes d'Arles et de Nîmes, mais aussi à l'aqueduc du Gard et dans beaucoup d'autres édifices de l'empire. Il est clair que cette méthode économisait le temps et la dépense; car il n'était besoin que d'un panneau pour les tailleurs de pierre, et à chaque joint, d'un cintre de charpente, au lieu d'une suite de couchis sur cintres. La pose, en ce cas, se fait beaucoup plus rapidement que lorsqu'on veut croiser les joints des claveaux.
Les architectes du moyen âge usèrent parfois de ce procédé, notamment en Provence, où ils avaient sous les yeux les exemples de l'antiquité; mais les plans qu'ils adoptaient pour certaines parties d'édifices, comme les bas côtés pourtournant les sanctuaires des églises, bas côtés sur lesquels s'ouvrent des chapelles, nécessitaient des berceaux annulaires pénétrés normalement par d'autres berceaux. Il y avait là une difficulté réelle pour la solution de laquelle on ne pouvait recourir aux structures romaines, qui ne présentent pas d'exemples de ce genre de voûtes. Les Byzantins avaient essayé de construire des voûtes reposant sur des colonnes et formant des pénétrations de cylindres, de cônes ou d'ellipsoïdes; mais il faut reconnaître que ces tentatives sont grossières, ne procèdent que par tâtonnements, et ne donnent pas comme résultat une méthode géométrique pouvant être formulée. Malgré les difficultés que soulevait la construction des voûtes d'un collatéral pourtournant un sanctuaire reposant sur des colonnes, en partant de la donnée romaine ou byzantine, il est à croire que l'on tenait fort à cette disposition du plan, car les architectes occidentaux ne cessèrent de chercher la solution de ce problème depuis le commencement du XIIe siècle jusqu'à ce qu'ils l'aient résolu d'une manière complète à la fin de ce siècle. Il faut reconnaître même que cette longue suite d'essais ne contribua pas médiocrement à développer le système d'où procède la voûte d'arête du XIIIe siècle; système excellent, puisqu'il permet toutes les combinaisons imaginables en n'employant toujours qu'un même procédé.
Rien n'est tel, pour faire apprécier la marche progressive d'un travail qui demande les efforts de l'intelligence et les combinaisons successives de l'expérience appuyée sur une science positive comme la géométrie, que de suivre pas à pas les solutions approximatives plus ou moins heureuses du problème posé, que de montrer chaque perfectionnement, l'abandon de certaines méthodes qui ne sauraient conduire à la solution définitive. C'est ce que nous allons essayer de faire, à propos de ces voûtes pourtournant les sanctuaires, en passant successivement par les combinaisons qui se présentèrent aux architectes du moyen âge depuis le point de départ qui leur était donné, jusqu'à la complète solution du problème posé par eux-mêmes.
Les Romains avaient bandé des voûtes d'arête sur des piles isolées à section carrée, dès les premiers temps de l'époque impériale et peut-être même sous la république, pour couvrir des citernes, des étages inférieurs. Ces voûtes ne possédaient pas d'arcs-doubleaux; c'étaient des demi-cylindres se croisant à angle droit, conformément au plan (fig. 14).

Lorsque les Byzantins voulaient voûter des galeries circulaires portées d'un côté sur des colonnes isolées, ils bandaient des archivoltes d'une colonne à l'autre, et au-dessus des clefs de ces archivoltes ils construisaient un berceau annulaire, ou bien, du mur de précinction, ils élevaient un demi-berceau qui appuyait sa ligne de clefs sur le mur élevé au-dessus des archivoltes. Ils évitaient ainsi les voûtes d'arête, c'est-à-dire les pénétrations des archivoltes dans le berceau annulaire, et en cela ils suivaient la tradition romaine.
Mais ce mode de structure obligeait les architectes à perdre une hauteur considérable au-dessus des archivoltes, et à élever d'autant les constructions, si l'on voulait trouver au-dessus de ces collatéraux circulaires, soit une galerie de premier étage, soit un fenestrage. On prit donc le parti, à la fin du XIe siècle, en Occident, de faire pénétrer les archivoltes dans le berceau annulaire. Or, en ce cas, voici d'abord la difficulté qui se présente.

Dans un sanctuaire porté par des colonnes (fig. 15), ou, si les tailloirs des chapiteaux sont carrés, comme en A, les archivoltes sont plus larges en ab qu'en cd, ou si l'on veut que les douelles des claveaux de ces archivoltes soient parallèles, les tailloirs des colonnes doivent donner des trapèzes en projection horizontale, comme en B. Dans le premier cas, ces archivoltes sont des portions de cônes; dans le second, elles sont prises dans un cylindre: mais ces tailloirs en forme de trapèzes, si la courbe du sanctuaire n'est pas très-développée, sont d'un effet très-désagréable à l'oeil, et donnent des angles aigus qui résistent mal à la charge. Vus sur la diagonale, ces chapiteaux paraissent plus saillants d'un côté que de l'autre, et semblent mal reposer sur les fûts (voyez en D). On essaya donc de s'en tenir aux tailloirs carrés; mais, au lieu de bander les voûtes normales à la courbe du sanctuaire sur une surface conique, on maintint leurs clefs sur une ligne horizontale, et la courbe ab était en anse de panier, tandis que la courbe cd était plein cintre; ou bien la naissance de l'archivolte était biaise de a en c et de b en d, de manière à avoir en cd comme en ab une courbe plein cintre, et cette dernière donnait alors la section d'un berceau qui pénétrait le berceau annulaire.

C'est ainsi que sont construites les voûtes du collatéral du sanctuaire de l'église de Notre-Dame du Port, à Clermont (fig. 16). Mais (voyez le plan A) si l'on voulait que l'arc ab, tracé le long du mur du collatéral, fût plein cintre, le diamètre ab étant plus grand que le diamètre cd et que le diamètre ef, la naissance de l'arc et devait être placée à un niveau très-supérieur à celui de la naissance de l'arc ab; si bien qu'une élévation faite perpendiculairement à l'axe XO donnait la projection tracée en B.--Toujours en supposant les clefs de niveau--et qu'en coupe faite suivant OX, on obtenait la projection tracée en D, la naissance de l'archivolte suivait sur le sommier S la ligne ponctuée gh. Des voûtes ainsi conçues ne pouvaient être tracées sur l'épure avec rigueur; on ne les obtenait que par des tâtonnements et une méthode empirique. Cependant l'archivolte ef, qui n'était qu'une pénétration et ne se détachait pas de la voûte, devait porter le mur de l'abside et ne pouvait être faite de moellons ou de blocage sur forme, il fallait qu'elle fût construite en pierres appareillées. Dès lors on conçoit les difficultés qui assaillaient les constructeurs. À proprement parler, il n'y a pas d'archivoltes ici, mais des berceaux gauches pénétrant dans un berceau annulaire. On reconnut donc bientôt qu'il y avait avantage à distinguer l'archivolte de la voûte, à la rendre indépendante. Mais alors comment faire porter les sommiers de ces archivoltes sur les tailloirs carrés des chapiteaux? où trouver leur assiette et la naissance des voûtes?

Voici le tailloir tracé (fig. 17) (voyez en A). Les archivoltes sont projetées en DD. Nous traçons les sommiers, ou le premier claveau de ces archivoltes en aa; il ne restera, entre leur extrados, que le tas de charge b, et l'espace cd pour la naissance de la voûte. Mais comme les naissances des archivoltes sont plus élevées que celle de la section de la voûte annulaire, il en résultera que, si l'on veut que les arêtes partent du tailloir, ces arêtes se détacheront des verticales cd et formeront des angles rentrants ecf, gdh, d'un effet maigre et peu rassurant, indiqué dans le trait perspectif A'. S'il y avait de bonnes raisons pour poser des archivoltes indépendantes de la voûte, on en devait trouver de tout aussi bonnes pour bander les arcs-doubleaux partant de la colonne isolée pour aboutir à la colonne engagée du collatéral; arcs-doubleaux qui devaient faciliter la construction des voûtes tournantes en divisant le berceau annulaire primitif par travées. Mais où loger, sur le tailloir carré, le sommier, le premier claveau de cet arc-doubleau? Si (voy. en B, fig. 17) nous prétendons laisser les deux premiers claveaux d'archivoltes et le premier claveau d'arc-doubleau, indépendants, sur le tailloir du chapiteau, il nous faudra, ou donner peu de lit à chacun de ces claveaux, ou augmenter beaucoup la surface supérieure du tailloir, et dans ce cas il restera deux angles de ce tailloir inoccupés; toutes les charges viendront se reporter en M, c'est-à-dire en dehors de l'axe de la colonne et tendront à faire incliner celle-ci. De plus (voyez le tracé perspectif B'), les naissances des archivoltes étant à un niveau supérieur à celui de la naissance de l'arc-doubleau, il restera au-dessus de la naissance de cet arc un triangle T vertical, et l'arête de la voûte ne pourra commencer qu'en i, au point où la courbe de la pénétration P viendra toucher l'extrados de l'arc-doubleau. Il n'est pas besoin d'insister sur le mauvais effet de cette combinaison. Si (voy. en C, fig. 17) de ces trois membres d'arcs nous formons un sommier composé par la pénétration des lits de ces arcs, ceux-ci ne deviendront indépendants que lorsque leur courbure d'extrados se détachera de la verticale; mais comme les naissances de ces arcs ne sont pas au même niveau (voyez le tracé perspectif C'), nous aurons encore en t un triangle vertical qui déportera la naissance de l'arête en s. Pour des artistes qui cherchaient les formes les mieux appropriées à l'objet, ces arêtes déportées, ne naissant pas dans le fond de l'angle rentrant, ayant l'air de reposer sur les reins de l'arc-doubleau, ne pouvaient être une solution satisfaisante. Ces archivoltes et arcs-doubleaux reposant en bec de flûte sur le tailloir ne présentaient pas une structure conforme aux principes de la voûte portée sur des arcs saillants; principes qui veulent que chacun de ces arcs conserve sa forme et sa dimension dans la totalité de son développement. Les maîtres essayèrent donc d'autres combinaisons, D'abord ils pensèrent que l'arc-doubleau, qui ne porte pas charge, pouvait être diminué de largeur, ce qui laissait, en apparence, plus de lit aux premiers claveaux des archivoltes et permettait à la voûte de prendre plus bas sa naissance. Pour quelque temps, ils s'en tinrent à ce dernier parti, en trichant, autant que faire se pouvait, soit en donnant plus de profondeur au tailloir que de largeur, soit en posant le premier claveau un peu en encorbellement sur ce tailloir, de manière à le dégager. Cependant la structure des voûtes elles-mêmes avait suivi ces progrès. Faites d'abord de moellons jetés sur forme, on établit bientôt leur naissance en pierre, puis on essaya de les construire entièrement en moellons taillés, appareillés. Pour des appareilleurs qui n'étaient pas familiers avec l'art du trait,--nous parlons des premières années du XIIe siècle,--il n'était point aisé de tracer l'appareil de voûtes d'arête tournantes; aussi ces premières voûtes appareillées présentent-elles les coupes les plus bizarres, les expédients les plus naïfs. À défaut d'expérience, ces artistes avaient la ténacité, entrevoyaient un but défini, et ce n'est pas un petit enseignement qu'ils nous donnent quand nous voulons suivre pas à pas les étapes qu'ils ont faites dans l'art de la construction, sans abandonner un seul jour la voie tracée dès leurs premiers essais. Leurs déductions s'enchaînent avec une rigueur de logique dont on ne saurait trouver l'équivalent à une autre époque; et c'est dans l'Île-de-France particulièrement que l'on constate la persistance des constructeurs à poursuivre les conséquences d'un principe admis.
Les bas côtés du choeur de l'église collégiale de Poissy étaient élevés de 1125 à 1130. Portées du côté du sanctuaire sur des colonnes monostyles, les voûtes de ce collatéral possèdent déjà des arcs-doubleaux séparatifs et des archivoltes dont les naissances sont au même niveau; il en résulte que les voûtes d'arête naissent dans l'angle rentrant formé par les extrados de ces arcs qui sont à peu près indépendants. Nous disons à peu près, parce que l'architecte a triché afin de dégager, autant que faire se pouvait, les naissances de ces arcs sans charger trop inégalement les colonnes. Pour cela, il a donné un peu plus de saillie extérieurement aux tailloirs des chapiteaux, et ceux-ci ne sont pas carrés, mais leurs côtés normaux à la courbe du chevet (voyez la figure 18, en A).

Ce constructeur a, de plus, doublé ces archivoltes du côté du collatéral, afin de surhausser les voûtes, et de faire que l'extrados de cet arc doublant eût un rayon plus étendu. De a en b, il existe un épais formeret dont le rayon-vu l'écartement des piles engagées P, P--est beaucoup plus grand que ne sont les rayons des archivoltes et arcs-doubleaux. Aussi l'architecte a-t-il placé la naissance de ce formeret au-dessous de celle des autres arcs, ainsi que l'indique la coupe C faite sur l'axe OA. Malgré l'abaissement de cette naissance, la clef du formeret s'élève au-dessus de celle des archivoltes doublées, et la voûte présente une section rampante, qui du reste est favorable à l'introduction de la lumière. Il s'agissait de bander les voûtes qui n'ont point encore d'arcs ogives (diagonaux). Ces voûtes étant construites en moellon piqué, le constructeur a procédé ainsi que l'indique la perspective (fig. 19).

Il a enchevêtré les claveaux à la rencontre des berceaux formant arêtes au moyen de coupes biaises faites sur le tas. On conçoit que cette structure ne pouvait être très-solide, et que ces arêtes ne se soutenaient que parce que les angles qu'elles forment sont très-obtus. L'aspect n'en était pas satisfaisant, aussi on ne tarda guère à parer à ces inconvénients. Mais il nous faut jeter un coup d'oeil sur ce qui se faisait vers la même époque dans d'autres provinces où l'école romane avait jeté un vif éclat.
En Auvergne, dès la fin du XIe siècle, l'école des constructeurs avait apporté, ainsi que nous l'avons vu, dans la structure des voûtes tournantes, des perfectionnements notables, sans toutefois chercher avec autant de ténacité que le faisaient les écoles du Nord la solution des problèmes posés.
Nous trouvons un exemple curieux de ce fait dans l'église Saint-Julien de Brioude, dont le choeur fut entièrement reconstruit en 1140. Avant de passer outre et de suivre la marche rapide des constructeurs du nord de la France, il est nécessaire de nous arrêter un instant devant les voûtes du collatéral absidal de ce monument. Pendant qu'à Saint-Denis en France, Suger faisait reconstruire l'église de son abbaye d'après un système de structure entièrement nouveau, on élevait l'abside de l'église de Brioude. Là le système annulaire, sans arcs-doubleaux, est encore admis; seules les archivoltes donnant sur le sanctuaire se détachent de la voûte, qui se compose d'un berceau annulaire pénétré par des berceaux normaux à la courbe du sanctuaire, et formant, par conséquent, des voûtes d'arête. Au droit des fenêtres qui éclairent le collatéral, entre les chapelles, des berceaux d'un diamètre plus petit que ceux des travées pénètrent le berceau annulaire. Mais ce qui doit faire l'objet d'un examen attentif dans ces voûtes, c'est qu'elles sont complétement appareillées et non plus construites en blocages ou en moellons enduits, ou encore en moellons taillés et enchevêtrés comme dans le collatéral de l'église Saint-Louis de Poissy.

De leur côté, les Auvergnats cherchaient aussi le progrès, mais seulement dans le mode d'exécution, sans rien changer au système roman. Voici (fig. 20) l'appareil d'une de ces voûtes d'arête tournantes. En A est l'archivolte donnant sur le sanctuaire.
On voit que les architectes auvergnats n'avaient pas encore, au milieu du XIIe siècle, admis les arcs-doubleaux séparatifs, et que la voûte de pierre repose directement sur le tailloir du chapiteau. Tout irrégulier qu'il est, l'appareil des arêtes est conforme à la théorie, composé de pierres d'un assez gros volume taillées avec soin.

Entre les chapelles absidales, voici (fig. 21) comment sont disposées les pénétrations des baies qui éclairent le collatéral. Les colonnes engagées portent la voûte elle-même, et non les arcs, qui, dans les provinces du Nord, à cette époque, sont déjà chargés de la soutenir. Cependant, dans la première travée du bas côté du choeur de l'église de Notre-Dame du Port, à Clermont, dont la construction est de plus de cinquante ans antérieure à celle de l'église de Saint-Julien de Brioude, on remarque un arc-doubleau séparatif, très-peu saillant, il est vrai, en partie noyé par conséquent dans la voûte même, mais enfin qui indique déjà la tendance à diviser les voûtes annulaires par travées. Cet exemple ne fut pas suivi dans le collatéral circulaire de Brioude, dont les voûtes sont encore franchement romanes comme combinaison, mais construites avec plus de savoir et de soins. Ayant constaté la tendance de cette province centrale à ne pas abandonner ses traditions romanes, même pour la construction des voûtes tournantes posées sur piles isolées qui exigeaient des combinaisons entièrement neuves, nous allons suivre la marche des perfectionnements rapides introduits dans la structure des voûtes appartenant aux édifices du Nord.
En se reportant aux figures 1, 2, 5 et 8 de cet article, on observera que les voûtes romaines, qui présentent une structure parfaitement homogène, si on ne les considère que superficiellement, se composent en fait, de nerfs et de parties neutres, ou, si l'on préfère cette définition, d'une membrure et de remplissages rendus aussi légers et aussi inertes que possible. Nous avons donné les deux raisons principales qui avaient fait adopter ce parti: la première, l'économie des cintres de charpente; la seconde, l'avantage de bander les voûtes suivant une méthode rapide qui assurait l'homogénéité de leur structure, une égale dessiccation des mortiers, et qui permettait d'obtenir, en même temps qu'une parfaite solidité, la plus grande légèreté possible. Nous avons vu que, dans la construction des voûtes d'arête, les Romains noyaient des arêtiers de brique dans l'épaisseur même de la voûte, comme ils noyaient des arcs-doubleaux dans l'épaisseur des berceaux et des côtes dans l'épaisseur des coupoles. Cette méthode était judicieuse, inattaquable au point de vue de la solidité; l'était-elle autant au point de vue de l'art? Si l'architecture a pour objet de ne dissimuler aucun des procédés de structure qu'elle emploie, mais au contraire de les accuser en leur donnant les formes convenables, il est évident que les Romains ont souvent méconnu ce principe; car, les voûtes enduites, recouvertes intérieurement de stucs et de peintures, suivant des combinaisons indépendantes de la membrure, il était impossible de savoir si ces voûtes possédaient ou non des arcs-doubleaux, des nerfs dans leur contexture. Cette ossature résistante, jugée nécessaire à sa stabilité, n'était pas toujours visible; si elle est en partie accusée dans la coupole du Panthéon, elle ne l'est pas dans les voûtes des thermes d'Antonin Caracalla, dans celles de la basilique de Constantin, dans la grande salle des thermes de Dioclétien. La question est ainsi réduite à ses limites les plus étroites. Toute structure ne doit-elle pas être pour l'architecte le motif d'une disposition compréhensible pour l'oeil. Les Grecs, tant vantés comme artistes, avec raison, et si peu compris, s'il s'agit d'appliquer leurs principes, ont-ils fait autre chose, dans leur architecture, que de considérer la structure comme la raison déterminante de toute forme? En ont-ils jamais dissimulé les moindres membres? Et ces petits édifices de la Syrie centrale, dont nous avons parlé plus haut, ne sont-ils pas la plus vive expression de ce sentiment du Grec, qui le porte, dans les choses d'architecture, à considérer toute structure comme l'élément constitutif de la forme visible, même après qu'il a subi l'influence romaine, influence si contraire aux goûts du Grec.
Mais ces Grecs des bas temps n'ont pas, dans la Syrie centrale, fait des voûtes d'arête sur de grandes dimensions. Ils n'ont accepté, de l'héritage romain, que l'arc, le berceau et la coupole. Cependant ils se sont appropriés ces formes en y ajoutant leurs dispositions rationnelles, et ces tendances sont assez marquées pour que les Occidentaux, qui virent ces monuments à la fin du XIe siècle, aient pu suivre cette voie, mais en allant beaucoup plus loin que n'avaient pu le faire les habitants de ces petites cités semées sur le chemin de la Perse à Byzance.
Or, on peut le demander à tous les gens de bonne foi: admettre le principe de la structure des voûtes romaines, et s'inspirer de l'esprit analytique du Grec, de son goût pour le vrai, de son sentiment inné de la forme, pour, de ces éléments, constituer un système complet, n'est-ce pas un progrès? Et est-on en droit de repousser comme suranné ce système, si d'ailleurs on ne sait que reproduire la forme apparente de la structure romaine, sans y prendre même ce qui en constitue le mérite principal, l'économie des moyens et la simplicité d'exécution? Il suffit, pensons-nous, de poser ces questions, pour que chacun puisse déterminer où s'est arrêté le progrès et où commence la décadence.
Adopter la voûte romaine, mais raisonner ainsi que l'ont fait ces artistes occidentaux du XIIe siècle, est, à nos yeux, une des révolutions les plus complètes, les mieux justifiées qui aient jamais été faites dans le domaine de l'architecture. Que se sont-ils dit ces artistes? «En construisant leurs voûtes, les Romains ont considéré deux objets, une ossature et un remplissage neutre; mais de ces deux objets distincts ils n'ont tiré qu'une forme apparente, une concrétion, confondant ainsi la chose qui soutient, la chose essentielle et la chose soutenue, inerte. Si l'intention est excellente, si le résultat matériel est satisfaisant, le résultat, comme art, est vicieux; car dans l'art de l'architecture, qui est une sorte de création, la fonction réelle de chaque membre doit être accusée par une forme en rapport avec cette fonction. Si une voûte ne peut se soutenir que par un réseau de nerfs, ce réseau n'est pas destiné par l'art à être caché, il doit être apparent, d'autant plus apparent, qu'il est plus utile. Les Grecs ont admis cette loi, sans souffrir d'exceptions...» Que les architectes occidentaux aient fait ce raisonnement en plein XIIe siecle, nous ne l'affirmerons pas; mais leurs monuments le font pour eux, et cela nous suffit. Les architectes romans avaient adopté tout d'abord la voute en berceau comme étant la plus simple et la plus facile à construire. Déjà, vers la fin du XIe siècle, ils avaient nervé ces berceaux, non plus par des arcs plus résistants, comme nature de matériaux, noyés dans l'épaisseur même de la voûte, mais par des arcs-doubleaux saillants 395 donnant une plus grande résistance à ces berceaux au droit des points d'appui. La poussée continue de ce genre de voûtes les fit bientôt abandonner. Restaient donc, pour voûter de grands espaces, des salles, des nefs, la voûte d'arête et la coupole sur pendentifs, parfaitement connue alors en Occident, puisque, depuis plus d'un siècle, des coupoles sur pendentifs avaient été construites dans l'ouest et le centre de la France 396. La voûte d'arête romaine, formée par la pénétration de deux demi-cylindres, donnait, comme courbe de pénétration, une courbe plate qui inquiétait, avec raison, des constructeurs ne possédant plus les excellents mortiers de l'empire 397. La coupole sur pendentifs demandait beaucoup de hauteur et exigeait un cintrage de charpente compliqué et très-dispendieux. Ces maîtres du XIIe siècle cherchèrent donc, comme nous l'avons déjà dit, un moyen terme entre ces deux structures; ils rehaussèrent la voûte d'arête à la clef, ainsi, du reste, que l'avaient fait les Byzantins (voyez fig. 10). Mais,--et c'est alors qu'apparaît la véritable innovation dans l'art du constructeur,--ils firent sortir de la voûte d'arête romaine ou byzantine le nerf noyé dans son épaisseur, le construisirent en matériaux appareillés, résistants, et le posèrent sur le cintre de charpente; puis, au lieu de maçonner la voûte autour, ils la maçonnèrent par-dessus, considérant alors cet arc laissé saillant, en sous-oeuvre, comme un cintre permanent. Dans le porche de l'église abbatiale de Vézelay on voit déjà deux voûtes ainsi construites (1130 environ); mais c'est dans l'église abbatiale de Saint-Denis (1140) que le système est complétement développé. Là les voûtes sont plutôt des coupoles que des voûtes d'arête, mais elles sont toutes, sans exception, nervées parallèlement et diagonalement par des arcs de pierre saillants, et ces arcs sont tous en tiers-point, c'est-à-dire formés d'arcs de cercle brisés à la clef. Les déductions logiques de ce système ne se font pas attendre. Dans la voûte romaine, formée de cellules, comme nous l'avons vu figure 1 et suivantes, le remplissage de ces cellules est maintenu, mais est inerte, n'affecte aucune courbure qui puisse en reporter le poids sur les parois des cellules. Puisque les constructeurs du XIIe siècle détachaient les nerfs de la voûte, qu'ils en faisaient comme un cintrage permanent, il était naturel de voûter les remplissages sur ces nerfs, c'est-à-dire de leur donner en tout sens une courbure qui reportât réellement leur pesanteur sur les arcs. Ainsi la voûte était un composé de plusieurs voûtes, d'autant de voûtains qu'il y avait d'espaces laissés vides entre les arcs. Du système concret romain,--malgré les différents membres qui constituaient la voûte romaine,--les maîtres du XIIe siècle, en séparant ces membres, en leur donnant à chacun leur fonction réelle, arrivaient au système élastique. Bien mieux, ils inauguraient un mode de structure par lequel on évitait toutes les difficultés dont nous avons indiqué plus haut quelques-unes, et qui leur donnait la liberté de voûter, sans embarras, sans dépenses extraordinaires, tous les espaces, si irréguliers qu'ils fussent, en prenant les hauteurs qui leur convenaient, soit pour les naissances des arcs, soit pour les niveaux des clefs.
Les voûtes du porche de Vézelay (1130), dont quelques-unes déjà sont bandées sur des arcs diagonaux, sont maçonnées en moellons irréguliers noyés dans le mortier, mais ce maçonnage ne reporte pas exactement sur les arêtes la charge des triangles maçonnés; celles-ci enlevées, la voûte tiendrait encore, comme se tiennent les voûtes du même édifice dépourvues de ces arcs diagonaux. Ici l'arc diagonal est plutôt un moyen de donner de la résistance à un point faible, de l'accuser, qu'une structure commandée par une nécessité, C'est un expédient, non un principe. Il ne serait donc pas exact de considérer les nerfs saillants, les arcs ogives (pour leur donner leur véritable nom) des voûtes du porche de Vézelay, comme la première tentative d'un principe nouveau; c'est un acheminement vers un principe qui n'est pas encore entrevu. En effet, dans l'art de l'architecture, et surtout dans la pratique de cet art, les principes ne naissent pas tout formés dans le cerveau des constructeurs, il y a toujours comme une intuition des principes avant l'énoncé de ces principes. Remplacer des cintres provisoires de bois par des cintres permanents de pierre, était une idée ingénieuse, déduite de la théorie romaine sur la solidité des voûtes; ce n'était pas un nouveau principe: ce n'est pas un principe nouveau de faire saillir sous la voûte le nerf noyé dans la voûte; c'est une simple déduction logique. Mais considérer ces nerfs, ressortis de la voûte, comme une membrure indépendante, et combiner, sur cette membrure, des successions de voûtes qui ne peuvent se soutenir que parce qu'elles portent sur cette membrure, c'est alors un nouveau principe qui s'établit, qui n'a plus de rapport avec le principe de la structure romaine; c'est une découverte, et une découverte si importante dans l'art de la construction, que nous n'en connaissons pas qui puisse lui être comparée. Les constructeurs s'affranchissaient ainsi de toutes les difficultés qui se présentent lors de l'établissement des voûtes sur des plans irréguliers, et notamment sur des plans curvilignes. Il faut se placer à ce point de vue, si l'on veut se rendre compte de la valeur de cette innovation; ne pas considérer seulement l'apparence des voûtes, mais leur mode de structure. Or, il existe beaucoup de voûtes nervées qui ne sont point des voûtes en arcs d'ogive, c'est-à-dire qui ne sont point construites d'après ce principe ignoré jusqu'alors, consistant en une succession de voûtes portées sur des arcs bandés en tous sens, quelle que soit la configuration du plan à couvrir. Nous avons essayé, dans l'article CONSTRUCTION, de faire ressortir la différence entre le principe de la coupole nervée, et le principe de la voûte en arcs d'ogive, bien qu'en apparence ces deux voûtes aient le même aspect 398, ou peu s'en faut; il semblerait que nos développements à ce sujet ne sont pas assez étendus, puisque de savants critiques n'ont pas paru apprécier toute l'importance de cette différence. Cependant elle est telle, que le système de coupole nervée, successivement amélioré, amplifié, conduit à une structure bornée dans les moyens et qui ne peut aboutir à des résultats étendus, tandis que le système de la voûte en arcs d'ogive se prête à toutes les combinaisons possibles, sans qu'il en résulte jamais pour le constructeur des difficultés d'exécution, soit dans le tracé, soit dans le mode de cintrage, soit dans l'appareil. C'est d'abord dans l'église de l'abbaye de Saint-Denis, bâtie par Suger, qu'apparaît franchement l'application de ce dernier système. Dans des articles dus à notre savant ami F. de Verneilh, trop tôt enlevé aux études archéologiques 399, il est dit que les voûtes du choeur de l'église abbatiale de Saint-Denis sont une déduction, une conséquence de celles qui pourtournent le choeur de l'église collégiale de Poissy, dont nous avons montré la structure (fig. 18 et 19). Nous ne pouvons nous rendre à cette opinion; les voûtes du collatéral circulaire de Poissy n'accusent point l'origine du principe admis dans l'église de Saint-Denis. Ces voûtes de Poissy sont des voûtes romanes qui essayent de s'affranchir des difficultés tenant au mode de structure roman, mais qui ne laissent en rien soupçonner le nouveau système inauguré à Saint-Denis. Nous persistons donc à dire que les embryons de ce système nous font défaut, qu'ils n'existent plus, ou que l'église de Saint-Denis présente tout à coup en 1140 un premier exemple complet de ce mode de structure des voûtes. On va en juger.

La figure 22 présente en A le plan d'une demi-chapelle du tour du choeur de l'église abbatiale de Saint-Denis, avec le double collatéral pourtournant. Ce plan étant donné, que l'on se pose le problème de le voûter à l'aide du système romain ou du système roman, la solution sera impossible.
Par quels artifices de pénétrations pourrait-on voûter les chapelles? Par des coupoles? Peut-être; mais alors il faudrait que ces coupoles reposassent sur des arcs, établir des pendentifs, et alors prendre une hauteur considérable. D'ailleurs ces pendentifs biais, irréguliers, produiraient un très-mauvais effet. En établissant son plan, l'architecte de l'abside de Saint-Denis savait comment il allait le voûter; ou, pour parler plus vrai, c'était le système de voûtes à employer qui lui donnait les dispositions de son plan. D'abord le cercle intérieur qui lui sert à tracer le périmètre de la chapelle rencontre en a le tailloir de la colonne monostyle b, de sorte que les branches d'arcs ogives ac, de, ec, sont égales entre elles. Ayant tracé l'arc-doubleau f et l'archivolte g, il prend le milieu de l'axe gf, en i, et il trace les deux branches d'arcs ogives bi, hi, puis il trace les arcs-doubleaux hb, bi. Il est clair que tous ces arcs sont indépendants; l'architecte est le maître de placer où bon lui semble leur naissance. Mais (et c'est là où apparaissent les conséquences forcées du nouveau système adopté), s'il eût tracé ces arcs en plein cintre, ou il eût fallu que les naissances de ces arcs eussent été à des niveaux très-différents, si l'on eût voulu que leurs clefs fussent élevées à un même niveau, puisque ces arcs sont de diamètres très-différents, et alors surgissaient les difficultés que nous avons signalées plus haut pour fermer les remplissages triangulaires voûtés; ou si les naissances de ces arcs eussent été placées au même niveau, leurs clefs atteignaient des niveaux très-variables. L'architecte emploie donc l'arc en tiers-point ou brisé, qui lui assure toute liberté pour donner aux clefs les niveaux convenables. Ainsi, le rabattement B indique en l'b' l'arc-doubleau lb, en b'h' l'arc-doubleau bh, en c'e' une des branches d'arcs ogives de la chapelle, en ob' l'arc-doubleau bf, en b''i' la branche d'arc ogive bi, et en b''p celle hi. Il résulte de ce tracé que les clefs cfi sont au même niveau, et que les clefs des deux arcs-doubleaux hb, bl, sont aussi sur une même ligne de niveau, inférieure à celle des trois clefs cfi. Reste, sur cette ossature, à bander les triangles voûtés, lesquels reposent sur ces arcs en tiers-point. Les lignes de clefs de ces remplissages aboutissent nécessairement au point culminant de chacun de ces arcs et donnent les projections ponctuées iq, cr, et passent par la ligne d'axe cg. Une petite difficulté se présentait dans la partie pleine de la chapelle.
L'architecte avait dû percer les fenêtres D, non pas au milieu de la courbe ke, mais plus rapprochées de la pile centrale e, afin d'échapper le contre-fort C. Or, l'archivolte de cette fenêtre tenant lieu de formeret, sa clef se trouve en t; la ligne de clefs ct divisait donc très-irrégulièrement le triangle kec; et il restait, de k en s, un espace entre l'extrados de cette archivolte et celui de la branche d'arc kc, qui pouvait embarrasser le maçon chargé de bander la voûte sur le triangle kec. La figure perspective E montre en F comment cette petite difficulté fut résolue. Le remplissage voûté commence comme commencerait une coupole sur une partie circulaire; puis la surface courbe, gauchissant à mesure qu'elle s'élève, va chercher l'extrados de l'archivolte et celui de la branche d'arc ogive. En G, une projection horizontale indique la disposition des rangs de moellons taillés, à la naissance de la surface courbe entre les arcs. Sur le tracé perspectif E on voit que les archivoltes des fenêtres faisant fonction de formerets pénètrent dans la branche d'arc ogive d'axe, à sa naissance. On remarquera aussi que les naissances des arcs ogives de la chapelle sont à un niveau plus bas que les naissances des autres arcs, et que, par suite, les tailloirs des chapiteaux descendent d'une assise (voy. en y). Sauf quelques tâtonnements, quelques points vaguement étudiés, le système est complet, franc; la liberté de l'architecte est acquise, et de ce premier essai il est facile d'arriver aux conséquences les plus étendues. Le tracé perspectif E montre bien que les remplissages triangulaires en moellons taillés reportent leur charge sur les nervures, sont bandés sur leur extrados, et que celles-ci remplissent exactement, à Saint-Denis déjà, l'office de cintres permanents portant la voûte ou plutôt une réunion de voûtes. Par un reste de respect pour la tradition, peut-être aussi par un défaut de confiance absolue en la bonté du système nouveau, les clefs des formerets et arcs-doubleaux latéraux sont tenues plus bas que celles des arcs ogives, afin de laisser encore à la réunion des voûtains triangulaires une forme générale domicale. Ce parti persista jusqu'aux premières années du XIIIe siècle.
Ce qui prouve combien le système de voûtes admis dans la reconstruction de l'église abbatiale de Saint-Denis est radical, est nouveau, ce sont les monuments contemporains de celui-ci ou même un peu postérieurs, dans lesquels on aperçoit encore des hésitations, des restes de traditions romanes dont les architectes n'osent ou ne peuvent s'affranchir. À ce point de vue, les voûtes de la cathédrale de Sens méritent un examen approfondi. M. Challe, au Congrès scientifique d'Auxerre de 1859, a parfaitement établi que la cathédrale de Sens ne pouvait avoir été reconstruite après l'incendie de 1184; mais on ne peut admettre qu'elle ait été commencée par l'archevêque Henri de France dès son intronisation, c'est-à-dire en 1122, dix ans avant le narthex de l'église abbatiale de Vézelay. Les caractères de l'architecture, des profils et de la sculpture ne peuvent faire supposer que la cathédrale de Sens ait été commencée avant 1140, peu avant la mort de l'archevêque Henri. Et en effet, les textes disent qu'il commença cet édifice, mais ils ne disent pas à quel moment de son épiscopat cette fondation eut lieu. Or, c'est en 1137 que l'abbé Suger commence la reconstruction de son église; en trois ans et trois mois il avait achevé le choeur. En admettant que la cathédrale de Sens soit contemporaine de l'église de Saint-Denis, on y travaillait encore en 1170, et son édification était poursuivie avec lenteur.
La cathédrale de Sens ne peut donc passer pour avoir servi de point de départ pour les travaux de Saint-Denis, et les voûtes de Saint-Étienne de Sens accusent une indécision (surtout les voûtes basses), des tâtonnements qui n'apparaissent plus à Saint-Denis.

Examinons (fig. 23) une demi-travée de la nef de la cathédrale de Sens. Les voûtes des collatéraux A possèdent des arcs-doubleaux C qui sont plein cintre (voy. le rabattement C'). Mais les travées de la nef étant doubles, c'est-à-dire alternativement composées de grosses piles P pour porter les arcs-doubleaux et les arcs ogives des hautes voûtes, et de piles intermédiaires S composées de colonnes accouplées destinées à porter seulement les arcs de recoupement de ces voûtes hautes, les arcs ogives des voûtes basses se placent assez gauchement sur ces piles. Les arcs ogives rabattus en D ont leurs deux branches inégales, celle ab étant plus courte que celle bc. En c, le constructeur, n'ayant pas réservé une colonnette pour recevoir cette branche bc, a dû poser un corbeau dans la hauteur du sommier de l'arc-doubleau et de l'arc formeret (voy. le tracé perspectif G); ainsi a-t-il pu diminuer une partie de la différence de longueur entre les deux branches des arcs ogives. Ces branches d'arcs ogives reposent d'autre part sur la saillie du tailloir des chapiteaux des colonnes accouplées S et sur des colonnettes engagées tenant aux grosses piles. Bien que les arcs-doubleaux C soient plein cintre, les archivoltes E de la nef sont en tiers-point (voy. leur rabattement en E'). D'ailleurs les clefs des arcs ogives atteignent un niveau d supérieur au niveau des clefs des arcs-doubleaux et des archivoltes; de sorte que ces voûtes sont fortement bombées et construites en moellons taillés, comme il a été dit ci-dessus. Ce mélange du plein cintre et de l'arc en tiers-point pour les arcs-doubleaux et archivoltes ne se trouve nulle part à Saint-Denis dans les constructions de Suger. À Saint-Denis, les branches d'arcs sont plus adroitement placées. On n'y voit point de ces culs-de-lampe qui paraissent avoir été un expédient à Sens, et que nous retrouvons aussi dans les voûtes basses d'un autre monument de la Champagne, à Notre-Dame de Châlons-sur-Marne. Maintenant, si nous passons aux voûtes hautes, faites quelques années plus tard (d'autant que, comme nous l'avons dit, les travaux à Sens furent conduits avec lenteur), nous trouvons un système de voûtes très-intéressant à étudier, en ce qu'il éclaircit plusieurs questions touchant la construction de ces parties importantes de nos édifices de la fin du XIIe siècle. Ces voûtes hautes sont sur plan carré avec arc-doubleau de recoupement; méthode adoptée, sauf de rares exceptions, pour les nefs de la seconde moitié du XIIe siècle et du commencement du XIIIe 400. À Sens, cette disposition des voûtes hautes est parfaitement accusée par la forme et la dimension des piles. Les arcs ogives (arcs diagonaux) PM sont plein cintre 401 leur rabattement est en pm. L'arc-doubleau de recoupement SM est rabattu en sm. Les arcs-doubleaux PO sont rabattus en ro. Pour les formerets (anciens), ils étaient plein cintre et sont rabattus en nt. On observera que la courbe d'extrados de l'arc ogive (rabattue) vient rencontrer en v le formeret au niveau de l'extrados de sa clef (en projection verticale), de sorte que la ligne des clefs du remplissage triangulaire Mg (en projection horizontale) est donnée par la courbe d'extrados vm. Le demi-triangle Mgh est donc une section de coupole, et pourrait être construit suivant le mode propre à ce genre de voûtes, c'est-à-dire par une suite de rangs de moellons concentriques. C'est là un point qu'il ne faut pas perdre de vue, car il indique clairement que, comme nous prétendons l'établir dans l'article OGIVE, la forme de la coupole préoccupait encore les architectes de la première période dite gothique. Cependant les rangs de moellons de ces remplissages sont posés parallèlement à la ligne Mg des clefs, afin de reporter le poids de ces remplissages en entier sur les arcs-doubleaux et arcs ogives. Mais on pourra objecter que les formerets plein cintre n'existant plus et ayant été remplacés à la fin du XIIIe siècle par d'autres, en tiers-point et beaucoup plus élevés, nous n'établissons notre tracé que sur une hypothèse. Voici donc (fig. 24) la preuve de l'exactitude du tracé précédent.

En A, est le plan horizontal de la naissance de ces grandes voûtes de la cathédrale de Sens. B est l'arc-doubleau; C, l'arc ogive; D, l'arc-doubleau de recoupement. En E, est tracée la coupe, suivant le grand axe, de cette portion de voûte. Les colonnettes c existent encore en place avec leurs chapiteaux, et dans les travées du choeur les branches be d'arcs formerets ont été laissées au-dessous des formerets surélevés à la fin du XIIIe siècle. Ces éléments suffiraient pour indiquer la hauteur et la forme précise des anciens formerets qu XIIe siècle. Mais voici qui vient encore appuyer notre restitution. Tout le long de la nef, la corniche F du XIIe siècle est conservée; au-dessous est une ornementation de petits arcs plein cintre qui reposent sur une arcature qui autrefois s'ouvrait nécessairement au-dessus des voûtes, ainsi que l'indique la coupe G. La corniche F était surélevée pour permettre aux entraits de la charpente de passer au-dessus de l'extrados des voûtes; et cette arcature G donnait du jour et de l'air sous le comble. Dans le choeur de l'église abbatiale de Vézelay, qui date de 1180 à 1190, les formerets sont également plein cintre et ainsi disposés en contre-bas des clefs de la voûte. Les voûtes hautes de l'église Notre-Dame de Châlons-sur-Marne possèdent, dans le choeur, des formerets plein cintre surbaissés. Il n'y a donc rien dans cette disposition qui ne soit conforme à la structure des voûtes des édifices voisins de Sens ou appartenant à la même province. La ligne ponctuée gh indique la place des formerets refaits à la fin du XIIIe siècle, formerets qui enveloppent de grandes fenêtres à meneaux dont les archivoltes viennent aujourd'hui pénétrer les restes de l'arcature autrefois ajourée au-dessus des voûtes.

La figure 25 donne cette arcature à l'extérieur; les traces encore en place et de nombreux fragments permettent de la restituer sans difficultés 402. En perçant les nouvelles fenêtres, les architectes du XIIIe siècle se sont contentés de boucher les baies donnant autrefois sous le comble, et d'entailler les pieds-droits et archivoltes plein cintre suivant la courbe de l'archivolte de ces nouvelles baies. On voit encore en place, sur quelques points, les chapiteaux C, des portions d'archivoltes et toute la partie supérieure B. En A, sont les arrivées des arcs-boutants qui datent de la construction primitive. Cette arcature supérieure donnant au-dessus des voûtes se retrouve dans beaucoup d'églises romanes des provinces rhénanes, et avait pénétré jusque dans les parties orientales de la Champagne. Sa présence à Sens n'en est pas moins un fait assez remarquable.
Il ressort de cette étude que les voûtes hautes de Saint-Étienne de Sens étaient très-bombées, présentaient des triangles concaves fortement inclinés vers l'extérieur; que les constructeurs n'osaient encore s'affranchir de la forme génératrice donnée par la coupole, quant au tracé, bien qu'ils eussent déjà adopté le mode de structure des voûtains triangulaires de remplissages reportant les charges sur les arcs-doubleaux et formerets; du moins cela paraît-il probable, puisque ce mode est adopté pour les voûtes des collatéraux, plus anciennes, et pour les voûtes hautes des choeurs de Vézelay et de Notre-Dame de Châlons-sur-Marne, qui sont du même temps, ou peu s'en faut, que celles hautes de la cathédrale de Sens. Les triangles prenant pour base les formerets, ayant à Sens été refaits à la fin du XIIIe siècle,--quoique les arcs ogives et arcs-doubleaux n'aient point été modifiés,--nous ne pouvons affirmer toutefois que les rangs de moellons de ces triangles aient été posés parallèlement à la ligne des clefs (voy. figure 24). Il serait possible que les rangs de moellons du demi-triangle ilm eussent été posés parallèlement à la ligne des clefs lm, et que les moellons du demi-triangle nlm eussent été posés par rangs horizontaux, puisque la ligne lm n'était qu'un segment de l'arc ogive (extrados), et que, par conséquent, ce demi-triangle nlm était une tranche de sphère pénétrée par le formeret. Cette structure eût été assez étrange et exceptionnelle pour qu'on ne puisse l'admettre. Cependant il y avait alors une telle liberté dans la manière de poser les remplissages des voûtes d'arête, qu'on ne doit repousser absolument aucune conjecture. C'est grâce à cette liberté que les architectes de la seconde moitié du XIIe siècle arrivent à voûter sans difficultés les surfaces irrégulières, et notamment des espaces triangulaires, entre piles, ainsi qu'on le peut voir autour du choeur de la cathédrale de Paris. Le sanctuaire de Notre-Dame de Paris est enveloppé d'un double collatéral (voy. CONSTRUCTION, fig. 44); la seconde zone de piles étant naturellement plus développée que la première, et la troisième que la seconde, l'architecte a multiplié les points d'appui de manière à présenter toujours des arcs d'ouvertures à peu près égales.

La figure 26 donne une travée A du sanctuaire de Notre-Dame de Paris, le premier collatéral B et la seconde précinction C de colonnes monocylindriques. D sont les archivoltes; E, les arcs-doubleaux concentriques; F, les arcs-doubleaux rayonnants; et G les arcs-doubleaux diagonaux. Tous ces arcs sont en tiers-point, de sorte que leur brisure, leur point culminant est en d pour les premiers, en e pour les seconds, en f pour les troisièmes, et en g pour les quatrièmes. Pour voûter ces surfaces triangulaires, le constructeur a réuni les extrados des points culminant des arcs F et G par des courbes ou lignes de clefs bombées fg, gg, gf. Il a voûté en surfaces courbes, par rangs parallèles à ces lignes de clefs, les triangles ggO, gfI, en posant, suivant la méthode ordinaire, chacun de ces rangs de moellons piqués sur les extrados des branches d'arcs Og, Ig, If. Le point culminant des lignes de clefs fg, gg, est en h, et ce point culminant est à un niveau sensiblement supérieur aux points culminants d et e des archivoltes D et arcs-doubleaux E, puisque les arcs-doubleaux rayonnants et diagonaux F et G sont tracés sur un plus grand diamètre, et que leurs clefs se trouvent, par cela même, plus élevées déjà que celles d et e. Ces clefs, aux points culminants dh, eh, ont donc été réunies par une courbe; puis des lignes fictives ont été tirées de l en h, de K en h, de i en h: ces lignes sont des courbes par lesquelles doivent passer les rangs de moellons. Les extrados l, e des arcs-doubleaux ont été divisés en un nombre de divisions égales suivant l'épaisseur des rangs de moellons; un même nombre de divisions égales a été fait sur la courbe lh, par exemple; puis les lignes qui ont réuni ces points ont donné les joints des rangs de moellons, ce que présente la structure tracée en H et en P. Ainsi ces triangles concaves viennent-ils reposer leur poids sur les arcs de pierre qui réunissent les piles. Il est clair que tout autre système de voûtes ne pouvait permettre de résoudre d'une manière aussi simple le problème de construction posé en ce cas, et nous ajouterons même que le système de la voûte gothique seul se prêtait sans difficultés à fermer ces triangles laissés entre des arcs en tiers-point. Voici donc où les architectes en étaient arrivés déjà dans l'Île-de-France en 1165 environ. Cependant, bien des perfectionnements restaient encore à introduire dans le mode de construire ces voûtes, surtout dans la manière de poser les arcs sur les piles.
Ajouter des arêtes à la voûte soit d'arête, soit cellulaire, soit en coupole sphérique ou côtelée, ou plutôt poser sous ces voûtes des cintres permanents de pierre, au lieu de cintres provisoires de charpente, c'était une idée nouvelle; c'était, comme nous l'avons expliqué au commencement de cet article, sortir le squelette englobé dans l'épaisseur de la voûte romaine pour le laisser apparaître sous cette voûte; c'était l'utiliser non plus seulement comme un renfort, mais comme un support, et bientôt l'unique support; c'était enfin rendre ce squelette indépendant de la voûte elle-même et permettre l'emploi de tous les systèmes possibles de voûtage. Toutefois les déductions étendues de ce système ne se présentent que successivement. Ainsi, la voûte d'arête byzantine bombée étant donnée, renforcer les lignes de pénétration de surfaces courbes au moyen d'arêtes de pierre sous-jacentes; extraire de la voûte bombée les arcs noyés dans l'épaisseur des lignes de pénétration, pour les placer sous ces lignes, afin de reposer les triangles de la voûte sur les arcs, c'est évidemment la première idée qui se présente à l'esprit des constructeurs au XIIe siècle; mais cette extraction d'un membre de la voûte byzantine, noyé dans son épaisseur, pour le placer sous cette voûte, ne modifie pas la voûte; celle-ci subsiste, son ossature est visible extérieurement, voilà tout. Or, il faut trouver la place propre à recevoir cette ossature; la présence nouvelle de cette ossature exigera un supplément d'assiette. C'est en effet ce qui arriva.

Soit (fig. 27) un sommier A de voûtes d'arête bombées byzantines, portées sur des piles isolées. Le constructeur a l'idée de sortir les arêtes de brique a, noyées dans l'épaisseur de ces voûtes, pour maçonner la voûte non plus autour de ces nerfs, mais au-dessus. L'opération qui se présente tout d'abord est celle-ci: il écorne les angles du sommier, et pose, non plus en brique, mais en pierres appareillées, les claveaux b en dehors des angles. Il aura de même fait sortir des faces c des arcs-doubleaux d. L'ensemble du sommier ainsi modifié occupera donc une surface fghi, plus étendue que celle occupée par le sommier de la voûte primitive. Il faudra, dès lors, ou que le chapiteau prenne un évasement considérable, ou que la pile soit plus grosse. Mais cependant les architectes, au XIIe siècle, sentaient déjà qu'il était nécessaire de réduire autant que possible les points d'appui dans les intérieurs des édifices. Le nouveau système adopté paraissait donc en contradiction avec cette nécessité admise. On évasa les chapiteaux; mais n'osant pas porter toute la saillie de ces arcs ressortis, en encorbellement sur le nu des piles, on ajouta à celles-ci, non pas une augmentation uniforme de surface, mais des membres portants, ainsi que nous l'avons fait voir dans la figure 9, ce qui permettait d'ailleurs de diminuer le corps principal de la pile.
Ainsi naissent ces faisceaux de colonnes engagées, qui sont une première déduction logique du nouveau mode de voûtage. Puisque les arcs-doubleaux et arcs ogives (diagonaux) étaient extraits de la voûte byzantine pour paraître sous sa surface interne, il était naturel d'extraire du corps de la pile elle-même des membres pour porter ces arcs. L'idée de réduction absolue de l'ensemble ne vient que successivement. On voit même, dans les monuments voûtés suivant la méthode gothique les plus anciens, que les piles, par suite de l'opération que nous venons d'indiquer, occupent une surface supérieure, relativement, à celle occupée par les piles des derniers monuments de la période romane. On croyait nécessaire de trouver en supplément les surfaces propres à recevoir les arcs nouvellement adoptés. Cette disposition est surtout sensible dans les provinces où le travail de transition de la voûte romane à la voûte gothique se fait avec lenteur, avec timidité. Ainsi les piles de la nef (sans collatéraux) de l'église de la Trinité, à Laval, qui date du milieu du XIIe siècle, portent un système complet d'arcs-doubleaux et d'arcs ogives (fig. 28).

Ici l'architecte a cru nécessaire de trouver sur les tailloirs des chapiteaux la place franche, ou à très-peu près, de chacun de ces arcs, qui sont indépendants les uns des autres dès le sommier.
Dans l'Île-de-France cependant, dès 1140, les arcs se pénètrent à leur naissance, ainsi qu'on le voit autour du choeur de l'église abbatiale de Saint-Denis. On signale bien encore des tâtonnements, des embarras, mais le principe de pénétration des arcs au sommier est déjà admis.
À la cathédrale de Senlis, dont la construction est peu postérieure à celle de l'église de Saint-Denis (partie de l'abside), on voit que l'architecte a cherché à faire pénétrer l'arc ogive des chapelles dans l'arc-doubleau d'ouverture.

La figure 29 donne en A la pile d'angle de ces chapelles (peu profondes comme celles de l'église de Saint-Denis). L'arc-doubleau d'entrée est en a et l'arc ogive en b. Cet arc ogive naît sur la colonne destinée à l'arc-doubleau. Le tracé perspectif B montre en a' cet arc-doubleau et en b' l'arc ogive pénétrant. Bien entendu, les sommiers de ces deux arcs ne sont plus indépendants, mais sont pris dans les mêmes assises jusqu'au niveau n. Bientôt ces arcs, à leur naissance, se groupent de plus en plus, se pénètrent, ce qui permet de diminuer d'autant la section des piles qui les portent. Les arcs se resserrant en faisceau, ne sont plus, de fait, un renfort, une ossature pour porter la voûte, mais deviennent la voûte, et les remplissages qui ferment les intervalles entre ces arcs sont de plus en plus réduits à la fonction des voûtains. La preuve, c'est qu'entre les arcs-doubleaux et arcs ogives, dès le XIIIe siècle, on ajoute de nouveaux arcs supplémentaires. Ainsi se développe le principe admis au XIIe siècle, à l'insu, pour ainsi dire, de ceux qui les premiers l'avaient reconnu, par une succession de conséquences rigoureusement enchaînées. Telle est, en effet, la propriété des principes admis en toute chose, qu'ils deviennent une source féconde, nécessaire, fatale de déductions. C'est pourquoi nous répétons sans cesse: Tenez peu de compte des formes, si vous ne les trouvez pas de votre goût, mais adoptez un principe et suivez-le; il vous donnera les formes nécessaires et convenables à l'objet, au temps, aux besoins. Et c'est pourquoi aussi ceux qui n'aiment guère à se soumettre à un principe, parce qu'il oblige l'esprit à raisonner, espèrent donner le change au public en prétendant que les études sur notre architecture française du moyen âge ont pour résultat de faire adopter des formes surannées. En tout ceci il ne s'agit pas de formes, il s'agit d'une méthode; c'est ce que n'admettront jamais, il est vrai, les architectes pour qui toute méthode est considérée comme une entrave au développement de l'imagination, ou, pour parler plus vrai, à la satisfaction de leurs dispendieuses fantaisies.
Dans les grands édifices, les voûtes établies comme le sont les voûtes hautes de la cathédrale de Sens présentent en somme l'apparence de coupoles côtelées. Les constructeurs n'osent pas encore tenir les clefs de ces grandes voûtes,--clefs d'arcs ogives, clefs d'arcs-doubleaux et de formerets,--sur le même niveau. À la cathédrale de Paris cependant, les voûtes hautes du choeur, terminées avant 1190, sont beaucoup moins bombées que celles de Saint-Étienne de Sens. Il est clair que plus les voûtes sont bombées, plus il est nécessaire d'élever les murs latéraux au-dessus des formerets pour porter les entraits de la charpente, lesquels doivent passer francs au-dessus de l'extrados de ces voûtes. Il résulte de cette disposition un emploi inutile de matériaux, une ordonnance lourde qu'il faut occuper par une claire-voie, si l'on prétend l'alléger; mais alors aussi une dépense considérable pour un objet secondaire. En remontant les clefs de tous les arcs au même niveau, il n'y avait plus à poser au-dessus des formerets que la corniche et le bahut propre à recevoir la charpente du comble. C'est donc vers ce résultat pratique que tendent les efforts des constructeurs à partir du commencement du XIIIe siècle. Le nouveau système se prêtait d'ailleurs parfaitement au nivellement des clefs, puisque les voûtains de remplissage reportent toutes les charges sur les arcs ogives et doubleaux, nullement sur les formerets, dont, à la rigueur, on peut se passer 403. Dans la nef de la cathédrale d'Amiens déjà, les clefs des formerets, des arcs-doubleaux et arcs ogives sont à très-peu près au même niveau. Il en est de même à la sainte Chapelle du Palais, à Paris, et dans beaucoup d'autres édifices bâtis de 1230 à 1240. Les voûtains conservent une courbure en tous sens, ils sont concaves, de sorte que leurs rangs de clefs sont courbes.
À l'article CONSTRUCTION, ce mode de structure est suffisamment détaillé pour que nous n'ayons pas à nous étendre ici sur cet objet. Nous constaterons cependant que, malgré la courbure donnée aux surfaces triangulaires des voûtains de remplissage, s'ils étaient d'une très-grande dimension, à mesure que l'on nivelait les clefs des arcs, on craignait le relâchement de ces larges surfaces courbes, et l'on cherchait à les renforcer entre les arcs-doubleaux et les arcs ogives par des arcs, auxquels on donna jusqu'au XVIe siècle le nom de tiercerets ou tiercerons. Ces arcs supplémentaires venaient aboutir à la lierne posée de la clef de l'arc-doubleau à la clef de l'arc ogive. C'est peut-être à la voûte centrale du transsept de la cathédrale d'Amiens que ce système fut appliqué pour la première fois 404. Cette voûte carrée, qui porte 14m,40 en moyenne d'axe en axe des piliers, parut probablement trop large aux constructeurs de cet édifice pour être faite suivant la méthode admise jusqu'alors.

Nous présentons (fig. 30) le plan du quart de cette voûte. Au centre C est une clef en lunette pour le passage des cloches de la flèche. Les liernes sont projetées en ab, les tiercerons en ef. Ces arcs viennent se réunir au milieu des tiercerons. En AB, nous avons tracé le rabattement des arcs-doubleaux; en GE, celui des arcs ogives; en GF, celui des tiercerons, et en HE la projection verticale des liernes. On voit que les clefs de ces arcs atteignent à très-peu près le même niveau. Les liernes ont une courbure, sont bandées pour pouvoir se porter d'elles-mêmes, et reçoivent en F' la tête des tiercerons. Les rangs de moellons des voûtains n'en sont pas moins posés parallèlement aux lignes de clefs, c'est-à-dire aux liernes, et les tiercerons ne sont là qu'un nerf pour renforcer ces rangs de moellons vers le milieu de leur courbure, dont la lierne ab donne la flèche.
En Angleterre, l'adoption de ce système s'était combinée avec une disposition particulière à cette contrée, de rangs de moellons des voûtains (voyez CONSTRUCTION, fig. de 62 à 72); ce qui amena des combinaisons de voûtes tout à fait différentes de celles admises par l'école française.
En Normandie, vers la fin du XIIIe siècle, on voit déjà des voûtes dont les arcs-doubleaux et arcs ogives ont leurs clefs au même niveau, et qui sont réunies par des liernes non plus courbes, mais horizontales. C'est une sorte de système mixte entre le système anglais, sur lequel nous reviendrons tout à l'heure, et le système français. La voûte centrale du transsept de la cathédrale de Bayeux, qui date de cette époque, nous donne un exemple remarquable de ce genre de structure (fig. 31).

En A, est projeté le quart du plan de cette voûte, percée d'un oeil pour le passage des cloches. De a en b sont les liernes horizontales, sans tiercerons. Les arcs-doubleaux sont rabattus en BC, les arcs ogives en DE, les liernes projetées en GE. Ces liernes horizontales ne sont point appareillées en plates-bandes, leur grande longueur et leur faible section ne l'ont pas permis; elles passent à travers les remplissages de moellons, qui viennent ainsi les soutenir comme une ligne de clefs. La section H fait comprendre cet appareil. Dans leur plus grande courbure, c'est-à-dire près de l'arc-doubleau, les rangs de moellons sont inclinés suivant les lignes gh, et, en se rapprochant de la lunette, ces rangs prennent naturellement la courbure beaucoup plus plate ih. La lierne est donc pincée par la butée de ces rangs de moellons, elle charge et affermit leur point de jonction. En pareil cas, les remplissages triangulaires sont plutôt des portions cylindriques que des concavités, comme dans l'exemple précédent. Le tracé M donne la projection de la clef-oeil avec l'arrivée d'un des arcs ogives O et d'une lierne L. Ces arrivées sont renforcées par des redents en manière de goussets, qui donnent de la puissance aux points de rencontre.

Voici (fig. 32) comme sont appareillées ces rencontres d'arcs avec la clef-oeil. La clef-oeil est composée de huit morceaux. Les quatre qui correspondent aux arcs ogives sont naturellement maintenus à leur, place par la coupe normale à l'arc; les quatre qui correspondent aux liernes sont maintenus également par une coupe oblique a, de sorte que le dernier morceau b de la lierne est plus large à l'intrados, de e en f, qu'à l'extrados, de g en h. Mais toutefois ce morceau, pas plus que ceux qui le précèdent, ne peut choir, puisqu'ils sont les uns et les autres pincés et maintenus par les triangles des remplissages, à la queue p. La figure 32 permet d'apprécier l'utilité des redents qui renforcent les arrivées des branches d'arcs et des liernes, et empêchent ainsi les ruptures qui, se produisant au collet, occasionneraient de graves désordres dans l'économie de la voûte. Comme toujours, l'élément pratique, une nécessité d'appareil ou de structure, fournit ici un motif de décoration. Il est nécessaire de nous étendre quelque peu sur le système de voûtes anglo-normand. Cette étude est intéressante, parce qu'elle fait voir comment, en partant d'un même point, d'un même principe, les deux systèmes anglais et français sont arrivés à des résultats très-différents, tout en demeurant rigoureusement fidèles l'un et l'autre à ce principe.
C'est la meilleure réponse que l'on puisse faire à ceux qui considèrent les principes comme une gêne, et qui ne croient pas qu'au contraire, c'est de leurs déductions seulement qu'on peut tirer des formes nouvelles 405.
Dès le XIIIe siècle on reconnaît, dans la structure des voûtes, l'influence du génie anglo-normand ou anglo-saxon, si l'on veut, car nos voisins n'adoptent pas volontiers la qualification d'anglo-normand. Il est donc entendu que nous ne nous brouillerons pas sur un mot.
Nous avons vu qu'en France, ou plutôt dans l'Île-de-France, déjà au milieu du XIIe siècle, les remplissages des voûtes en arcs d'ogive sont fermés au moyen de rangs de moellons piqués, posés perpendiculairement (en projection horizontale) aux formerets, de telle sorte que ces rangs de moellons viennent se joindre parallèlement sur la ligne des clefs, ou ligne faîtière. Pour obtenir ce résultat, nous avons montré (voyez CONSTRUCTION, fig. 55) comment l'appareilleur traçait sur l'extrados de la courbe du formeret et sur l'extrados de la courbe de l'arc ogive un nombre égal de divisions qui formaient les joints des rangs de moellons. Or, comme la courbe de l'arc ogive est toujours plus étendue que ne peut l'être celle du formeret, les divisions sur l'arc ogive, étant en nombre égal à celles faites sur le formeret, sont plus grandes. En Normandie et de l'autre côté de la Manche, jusque vers 1220, on procède exactement de la même manière; mais en Angleterre, particulièrement, dès le commencement du XIIIe siècle, il se manifeste une indécision dans cette façon de tracer les remplissages des voûtes; on cherche évidemment un moyen plus pratique, plus expéditif, et surtout qui puisse être défini d'une façon plus nette. En effet, les remplissages des triangles de la voûte française étant concaves, ces rangs de moellons ne peuvent être géométriquement tracés sur l'épure; ils sont posés par le maçon, qui les taille à mesure, à la demande du cintre-planchette dont nous avons parlé dans l'article CONSTRUCTION et dont nous reparlerons tout à l'heure. Il était nécessaire donc que l'ouvrier chargé de cette besogne fût assez intelligent, eût une dose d'initiative suffisante, pour pouvoir disposer seul, sans le concours du maître appareilleur, ces rangs de moellons concaves à l'intrados et plus épais, par conséquent, au milieu du rang qu'aux deux extrémités. Il y avait dans ce mode de procéder un à peu près, un sentiment, peut-on dire, qui n'entrait pas dans le génie précis et pratique de l'Anglais, lequel prétend ne rien livrer au hasard dans l'ordre des choses qui peuvent être matériellement prévues et définies. Donc, pour en revenir à l'objet qui nous occupe, les constructeurs anglais, ayant, comme les nôtres, adopté les arcs ogives pour la structure des voûtes d'arête, divisent le formeret et l'arc ogive pour bander les rangs de moellons de remplissage, non plus en un nombre égal de divisions, mais en divisions égales.

Ainsi (fig. 33), soit une voûte d'arête sur plan carré; le rabattement du formeret étant ab, et celui de l'arc ogive cd, si chaque rang de moellons donne sur le formeret les divisions ae, ef, fg, etc., on aura reporté ces mêmes divisions sur l'arc ogive de c en l, de l en m, etc. On aura ainsi (ces divisions étant égales) un plus grand nombre de largeurs de rangs de moellons sur l'arc ogive que sur le formeret. Réunissant donc les points e'l', f'm', etc., on aura la direction de ces rangs de moellons qui en o viendront se rencontrer sur la ligne des clefs. Le poseur pourra ainsi n'avoir à placer que des moellons également épais; les lignes de joints s'inclineront vers l'arc ogive, bien que les surfaces triangulaires passent par une succession de lignes droites horizontales. Les triangles pourront être bandés sans cintres ni même sans cintre-planchette, et il suffira d'une lierne de bois posée de V en X pour recevoir provisoirement les rencontres des derniers rangs de moellons. Ce n'est pas du jour au lendemain qu'on arrive en Angleterre à cette solution pratique, on constate des tâtonnements dont il est utile de se rendre compte.

Dans le cloître de l'abbaye de Westminster (fig. 34), ces tâtonnements sont visibles. Plusieurs voûtes sont fermées conformément à la méthode française (voyez en A le triangle B), d'autres présentent pour la combinaison des remplissages la projection C. Cette combinaison est obtenue par le procédé suivant: l'angle aef a été divisé en deux par la ligne ab, les rangs de moellons du triangle opposé ont été bandés perpendiculairement à cette ligne ab: ces rangs de moellons viennent donc se chevaucher sur la ligne des clefs; ou bien, comme on le voit en D, les rangs de moellons coupent à angle droit cette ligne ad'. C'est le cas de l'exemple présenté dans la figure 33. Parfois aussi, dans d'autres voûtes, à Ely notamment, les rangs de moellons piqués sont posés perpendiculairement aux branches d'arcs ogives, comme le montre le triangle G, et se chevauchent toujours sur la ligne des clefs ou se réunissent en sifflets. Les voûtes du transsept de l'église de Westminster, qui datent de 1230 environ, sont faites conformément au tracé indiqué dans le triangle D et dans la figure 33; c'est-à-dire que les divisions sont égales sur la courbe du formeret F (voyez le tracé perspectif P, fig. 34) et sur l'arc ogive O. Cet arc ayant un plus grand développement que le formeret, il y a donc plus de divisions sur l'arc ogive que sur ce formeret, et les rangs de moellons légèrement concaves s'inclinent sur cette branche O d'arc ogive. Il n'y a pas de lierne transversale pour masquer le chevauchage des rangs de moellons sur la ligne des clefs, mais il en existe longitudinalement déjà, comme l'indique la figure, de M en N. La naissance de la courbe des formerets étant en R, c'est-à-dire beaucoup au-dessus de la naissance des arcs ogives, il y a donc en ghi un triangle vertical faisant partie du tas de charge, et de la ligne ih, pour aller prendre le rang de moellons m (le premier qui commence la série des divisions égales), le constructeur a élevé une surface trapézoïdale ihmn, gauche (en aile de moulin). Ce n'est donc qu'à partir de la ligne mn que les divisions égales ont été faites à la fois sur le formeret et sur la branche d'arc ogive.
Il est facile de reconnaître qu'ici le praticien n'a pas eu d'autre idée que de simplifier son travail au moyen de ces divisions égales sur les deux arcs, de poser des rangs de moellons parallèles dans leur étendue, et d'éviter ainsi la taille de ces moellons sur le tas, exigée par le système français. Les conséquences de l'adoption de ce procédé simplificateur ne se firent pas attendre.
Dans la voûte française, les remplissages de moellons sont des voûtains courbes en tous sens, concavités reportant leur poids sur les nerfs de pierre, sur les cintres permanents. Chaque triangle de la voûte française est une cellule indépendante se maintenant d'elle-même. D'après ce qui précède, on voit que les constructeurs anglais ne considèrent pas les triangles de remplissages comme des voûtains, mais, comme des panneaux, ou plutôt encore comme une suite de couchis. En effet, admettons que l'on ait à poser sur des cintres combinés, comme le sont les arcs-doubleaux, formerets et arcs ogives (c'est-à-dire possédant chacun leur courbe propre) des couchis de planches, il est évident que ces couchis, ayant une égale largeur dans toute leur étendue, donneraient exactement la figure que reproduit le tracé P (fig. 34); que ces couchis ne pourraient se réunir parallèlement suivant la ligne des clefs du triangle, mais se chevaucheraient.
Les Anglais ont-ils fait des voûtes originairement composées d'arcs de pierre ou de courbes de bois, sur lesquelles ils auraient posé des madriers, des couchis, en un mot? C'est possible; d'autant qu'il existe encore en Angleterre, dans le cloître de la cathédrale de Lincoln, entre autres exemples, des voûtes ainsi construites et qui datent du XIVe siècle. Il ne faut pas perdre de vue que les constructions de bois ont de tout temps tenu une place importante dans l'architecture anglaise, comme dans l'architecture de toutes les races du Nord.
Le système de voûtains à projection horizontale triangulaire de la voûte française ne peut en aucune façon se prêter à l'emploi de planches ou de madriers, puisqu'il eût fallu tailler chacun d'eux pour lui donner plus de largeur au milieu qu'aux extrémités; tandis que le système anglais primitif indiqué ci-dessus permet la mise en oeuvre du bois; bien plus, il l'indique, il en est une conséquence. Les dérivés des exemples précédents viennent encore accuser cette préoccupation des constructeurs. La voûte anglaise arrive, au XVe siècle, à être une combinaison de charpenterie bien plutôt qu'une combinaison de maçonnerie.
Dès le XIIIe siècle, les liernes apparaissent, puis les tiercerons. Les liernes étaient une conséquence toute naturelle du chevauchement des rangs de moellons sur la ligne des clefs. Les tiercerons--pour les voûtes d'une grande portée du moins--étaient commandés pour empêcher le fléchissement de ces rangs de moellons qui n'ont qu'une flèche inappréciable et qui semblent figurer des couchis. Ces plans courbes dans un sens, mais nullement concaves ou très-peu concaves,--puisque ces rangs de moellons remplissaient l'office de couchis,--avaient besoin d'être maintenus dans le milieu de leur développement, pour ne point se déformer, s'infléchir; les tiercerons furent donc posés pour parer à cette éventualité.
Bientôt les conséquences de ce principe conduisent à des combinaisons d'arcs dont nous ne trouvons pas, en France, les analogies; et c'est toujours un mode simplificateur qui est la cause de ces combinaisons.
Tout ce qui est du ressort de l'architecture du moyen âge est si légèrement apprécié, même, il faut bien l'avouer, par les architectes, qu'on s'en tient à l'apparence, qu'on juge les méthodes adoptées sur cette apparence, et qu'on ne prend pas la peine de rechercher si derrière la forme visible il y a un procédé très-simple qui l'a commandée.
Déjà en 1842, un des hommes les plus distingués en Angleterre parmi les archéologues s'occupant de l'architecture, avec le sens pratique que dans ce pays on apporte à toute chose, M. le professeur Willis, avait publié sur la construction des voûtes anglaises du moyen âge un travail très-étendu et savamment déduit 406. Ce travail est peut-être la première étude sérieuse qui ait été faite sur le système de structure des voûtes anglaises, et certes les observations recueillies depuis n'ont fait que confirmer les aperçus de M. Willis. Toutefois, n'ayant pas un point de comparaison en dehors du système anglais, le savant professeur ne peut en apprécier tout le côté pratique. En nous aidant de son remarquable travail et de nos observations personnelles, nous essayerons de faire comprendre comment ces voûtes, en apparence si compliquées, sont la déduction la plus simple du système dont nous venons d'exposer les principes élémentaires.
Puisque, pour maintenir la flexion des rangs de moellons, considérés comme des couchis, les constructeurs anglais avaient jugé nécessaire d'établir un tierceron dans chaque triangle de voûtes, aboutissant à la lierne de clefs, il était naturel qu'ils en établissent bientôt plusieurs. Ainsi firent-ils (fig. 35).

Les tiercerons venaient aboutir de la naissance au milieu des liernes, en aa'. Ces constructeurs jugèrent que pour les grands triangles, les espaces a'b, a'c étaient trop grands encore pour se passer d'un renfort intermédiaire. Ils établirent donc les contre-tiercerons gh, gi, aboutissant au milieu des demi-liernes, en h et en i. N'oublions pas que chaque arc de la voûte française possède sa courbe particulière, qui est toujours une portion de cercle, sauf de rares exceptions. Si donc, en se conformant à ce principe, le constructeur anglais avait dû adopter pour chacun de ces arcs,--lesquels ont tous une base différente,--une courbe particulière, il lui eût fallu tracer: 1° la courbe du formeret gb; 2° celles des deux tiercerons ga', ga; 3° celle de l'arc ogive gc; 4° celles des deux contre-tiercerons gh, gi; 5° celle de l'arc-doubleau gl: en tout, sept courbes. De plus, en admettant que, comme dans la voûte française, tous ces arcs eussent été des portions de cercle, ou il eût fallu que leurs naissances eussent été placées à des niveaux très-différents, ou que les clefs de ces arcs eussent été elles-mêmes à des niveaux très-différents. Dans le premier cas, il existait, entre le chapiteau de la pile et la naissance de la courbe des arcs ayant la plus faible base, une verticale gênante pour placer les moellons de remplissage suivant le mode admis par les Anglais; la voûte le long du formeret semblait ne plus tenir à la structure, se détacher, comme on peut le voir dans quelques-unes de ces voûtes primitives, notamment dans les choeurs des cathédrales d'Ely et de Lincoln. Pour éviter cet inconvénient, dès la fin du XIIIe siècle, les constructeurs anglais adoptent une courbe composée, de telle sorte que, toutes ces courbes, à partir du niveau du chapiteau des piles, ont le même rayon.
Ainsi (fig. 35) l'arc ogive étant la plus longue courbe, c'est elle qu'on trace au moyen d'un premier arc de cercle g'm, puis d'un second arc de cercle mn; le point n étant fixé comme hauteur de la voûte sous clef. Bien entendu, le centre de cette seconde courbe se trouve sur le prolongement de la ligne passant par le point m et le centre e de l'arc g'm. La courbe du formeret gog' est donnée par le même rayon em. Ceci fait, toutes les courbes des autres arcs sont données. Tous ont une base plus courte que celle de l'arc ogive. Donc, rabattant le contre-tierceron g'h sur la ligne de base g'c, en h'; de ce point h' élevant une perpendiculaire, celle-ci viendra rencontrer en h'' la courbe maîtresse g'n. La courbe de ce contre-tierceron sera donc la courbe g'h''. Rabattant le tierceron g'a', idem en a''; élevant une perpendiculaire de ce point a'', celle-ci rencontrera la courbe maîtresse en a'''. La courbe de ce tierceron sera donc la courbe g'a'''. Rabattant le deuxième contre-tierceron g'i, idem en i'; élevant une perpendiculaire de ce point i', celle-ci rencontrera la courbe maîtresse en i''. La courbe du deuxième contre-tierceron sera donc la courbe g'i''. On procédera de même pour le tierceron g'a du long triangle, tierceron dont la courbe sera donnée de g'en p; de même aussi pour l'arc-doubleau g'l, dont la courbe sera donnée de g' en q.
Ces clefs atteignent toutes des niveaux différents. Pour tracer les liernes transversales cb, il suffira d'élever des perpendiculaires des points ha'ic sur la ligne cb (projection horizontale de cette lierne transversale), et de prendre sur ces perpendiculaires des longueurs égales à h'h'', à a''a''', à i'i'', à cn, qui donneront les points r, s, t, u, points d'intersection des tiercerons avec la lierne cb. Si l'on veut que le formeret ait la même courbe que tous les autres arcs, on procédera comme ci-dessus. Nous rabattrons la ligne g'b sur la base g'c; du point V, nous élèverons une perpendiculaire qui, rencontrant la courbe maîtresse en V'' donnera la courbe g'V'' du formeret. Cette courbe en projection transversale donnera la hauteur bV', tandis que le formeret, rabattu en go, donnera la hauteur bo'. Employant le même système de tracé, nous aurons en uy la projection longitudinale des branches de liernes cl.
Tout ceci n'est que de la géométrie descriptive très-élémentaire, et ne demande pas de grands efforts d'intelligence de la part du traceur, mais les conséquences au point de vue de la structure sont importantes. D'abord, puisque nous n'avons qu'une seule courbe composée pour tous les arcs; ou plutôt, que tous les arcs ne sont qu'un segment plus ou moins étendu d'une même courbe composée, les panneaux d'appareil d'un arc peuvent servir pour tous les arcs; de plus, les arcs, en pivotant autour de la verticale élevée dans l'axe de la pile g, devant nécessairement passer par un même plan courbe, puisqu'ils ont tous la même courbe, donnent à l'extrados une forme conoïde concave en manière de pavillon de trompette, qui simplifie singulièrement la pose des moellons de remplissage.

Si bien (voy. fig. 36) qu'en traçant la projection horizontale de cette voûte, on voit comment se peuvent poser aisément les rangs de ces moellons ne remplissant plus que la fonction de planches ou bardeaux posés entre des nervures de charpenterie. Mais la suite de déductions logiques qui avait amené les constructeurs anglais à considérer ces arcs multipliés comme des nerfs d'une charpente, les conduisait (à cause surtout du peu de courbure de ces arcs dans la partie supérieure de la voûte) à les relier entre eux par des goussets et contre-liernes, ainsi que l'indique la figure 36 407. Les points de rencontre de ces goussets et contre-liernes avec les arcs et les liernes donnent des motifs de clefs qui renforçaient d'autant ces points de jonction. On obtenait ainsi un réseau résistant d'arcs puissamment étrésillonnés, sur lesquels on pouvait poser les moellons de remplissage comme on pose des planches sur une membrure de charpente.

La figure 37 donne le tracé perspectif d'une de ces clefs (celle A de la figure 36). Les contre-liernes et goussets sont tracés suivant un plan vertical, ainsi que l'indique la section B (fig. 37), des feuillures F étant réservées pour poser les moellons de remplissage, et la queue de ces contre-liernes arasant l'extrados de ces moellons. On observera que l'arc C (qui est ici l'arc ogive) possède en D une joue plus large au-dessous de la contre-lierne qu'en d, ce que motive la position verticale de cette contre-lierne, et ce qui est parfaitement conforme aux conditions de résistance de ces arcs, lesquels n'ont plus besoin d'avoir autant de force là où ils participent au réseau qu'au-dessous de ce réseau. Revenant à la figure 36, nous voyons que les clefs A, B, C, sont posées sur un cercle dont le point D est le centre; de sorte que les branches d'arcs DC, DA, DB, sont identiques. Les clefs E, C, F, divisent la branche de liernes transversale en quatre parties égales, comme la clef G divise la branche de liernes longitudinale en deux parties égales. La clef H divise la branche d'arc AO en deux parties égales, et, pour poser la clef I, on a réuni les points BH, AK, par des lignes, ainsi qu'on le voit en M. Ces deux lignes ont coupé le tierceron en deux points a, b; divisant en deux cet espace ab, on a marqué le point P, centre de la clef I.
En multipliant ainsi les arcs des voûtes destinées à maintenir les remplissages, qui ne sont plus que des panneaux de pierre, il était naturel de construire ces arcs eux-mêmes tout autrement que ne le sont les arcs des voûtes françaises.
Les arcs des voûtes françaises sont, avec raison, bandés au moyen de claveaux ayant entre lits peu d'épaisseur. C'est-à-dire que dans un arc de voûte française, le constructeur a multiplié les joints, afin de laisser à cet arc une plus grande élasticité, d'éviter les jarrets et brisures, qui eussent été, pour les voûtains, une cause de dislocation. Quoique ces voûtains conservent eux-mêmes une certaine élasticité, il était important de préserver de déformations sensibles les cintres permanents (arcs) qui les portent. En bandant ces arcs en claveaux peu épais, en multipliant les joints, le constructeur français estimait avec beaucoup de justesse que (en admettant un mouvement, un tassement) la multiplicité de ces joints, toujours épais, permettait à l'arc, de suivre ces mouvements ou tassements sans déformer sa courbure. Mais, dès l'instant que les Anglais remplissaient les voûtains de remplissage par des panneaux de pierre, et qu'ils adoptaient des courbes composées de deux segments de cercle, dont l'un avait un très-grand rayon, il eût été périlleux de bander ces arcs à l'aide de claveaux peu épais. Aussi, quand les voûtes anglaises sont faites conformément aux tracés que nous venons de donner en dernier lieu, les arcs sont composés au contraire de longs morceaux de pierre, comme le seraient des courbes de charpente. Les liernes ou contre-liernes, qui sont des étrésillons, sont taillées souvent dans un seul morceau de pierre d'une clef à l'autre. Cette méthode était conséquente au système de voûtes admis par ces constructeurs dès la fin du XIIIe siècle.
De tout ce qui précède il ressort que les constructeurs anglais, malgré l'apparence compliquée de ces figures, ont adopté au contraire un procédé simplificateur, soit pour le tracé de ces voûtes, soit pour leur structure. Il est intéressant d'observer comment nos voisins, déjà, étaient pénétrés de cet esprit pratique qui tend à faire converger les efforts communs vers un but, en laissant peu de part à l'initiative individuelle. Il est évident que, pour faire une voûte française à la même époque, c'est-à-dire pendant la première moitié du XIVe siècle, il fallait de la part de chaque ouvrier plus d'intelligence et d'initiative qu'il n'en était besoin pour construire une voûte comme celle que nous venons d'analyser. L'épure faite suivant cette dernière méthode, la besogne de l'ouvrier se bornait à un travail quasi mécanique. Il n'en était pas ainsi de nos voûtes, qui demandaient pendant la pose des combinaisons que le maître devait prescrire pas à pas, mais qu'il ne pouvait géométriquement tracer, que le maçon ne pouvait mettre à exécution que par suite d'un effort de son intelligence. Nous croyons qu'il y a plus d'art dans nos voûtes, d'apparence si simple, qu'on n'en saurait trouver dans ce système purement géométrique, très-simple comme procédé pratique, mais d'apparence si compliquée.
Les génies des deux peuples se montrent ainsi de part et d'autre avec leurs qualités et leurs défauts. On n'est point surpris toutefois que les hommes qui déjà possédaient un esprit collectif et simplificateur aussi manifeste fussent également pénétrés de ce sentiment de discipline et d'ordre qui nous fut si funeste aux journées de Crécy et de Poitiers. Tout se tient dans l'histoire d'un peuple, quand on y veut regarder de près, et c'est ce qui fait de l'étude de l'architecture de ces temps, si complétement empreinte du génie des peuples qui la pratiquaient en France et en Angleterre, un sujet inépuisable d'observations intéressantes.
On a vu dans la figure 35 comment les constructeurs anglais, ayant adopté une seule courbe composée pour tous les arcs d'une voûte, appliquaient même parfois cette courbe au formeret, et par suite à l'archivolte de la fenêtre ouverte sous ce formeret. C'est un procédé simplificateur de construction des voûtes, qui n'exigeait qu'une seule épure pour tous les arcs, qui explique pourquoi beaucoup de ces archivoltes des fenêtres appartenant à des édifices voûtés au XIVe siècle sont obtenues au moyen de courbes composées. Il y a, dans cette forme observée par tous, ceux qui ont visité l'Angleterre, non pas un caprice, une question de goût, mais l'application rigoureuse d'un système suivi, comme nous venons de le démontrer, avec un esprit méthodique rigoureux dans ses déductions. Une fois la courbe admise par une nécessité de construction, on s'y habitua et l'on s'en servit dans des circonstances non commandées par le système de structure.
Cependant les constructeurs anglais ne s'en tinrent pas à la voûte que nous venons de donner (fig. 35 et 36); ils prétendirent, vers la même époque, c'est-à-dire au commencement du XIVe siècle, avoir, avec des arcs formés de courbes composées, des liernes sur un plan horizontal et non plus inclinées vers les formerets et arcs-doubleaux.

Voici (fig. 38) comment ils s'y prirent pour arriver à ce résultat. Soit un quart de voûte d'arête ABCD, un tierceron étant tracé en AE. Pour les naissances de tous ces arcs, c'est-à-dire du formeret AB, du tierceron AE, de l'arc ogive AC, de l'arc-doubleau AD, et de tous les autres arcs, s'il plaît d'en tracer d'autres, comme dans le précédent exemple, un seul arc AF a été tracé, le centre de cet arc étant en D. Rabattant les longueurs de chacun de ces arcs sur la ligne AC considérée comme base, et, de ces points de rabattement, élevant des perpendiculaires sur la base, la ligne ab étant considérée comme le niveau auquel doit atteindre chacun de ces arcs, on trace les segments Fa, Fg, en prenant leurs centres en m et n sur la ligne Fo prolongée; le segment Ih, en prenant son centre en r sur la ligne Io prolongée; le segment Kb, en prenant son centre en q sur la ligne Ko prolongée. Les clefs de tous ces arcs sont sur un même plan de niveau, et par conséquent les liernes CD, CB, sont horizontales. Cependant les sommiers des arcs possèdent tous la même courbe, au moins jusqu'au point K, ce qui sauve la difficulté des naissances dont les courbes sont différentes. Une fois ce niveau K échappé, il y a une si faible différence entre les courbures des arcs, que les rangs de moellons de remplissage peuvent toujours être posés conformément à la méthode indiquée précédemment.

Voyons (figure 39) comment ce système de structure des voûtes anglaises incline vers une méthode de plus en plus mécanique. Soient en ABCD un quart de voûte carrée, et en EBFG un quart de voûte barlongue. Dans la première, l'arc ogive est l'arc AD; dans la seconde, l'arc ogive est l'arc EG. Ayant admis, comme le montre la figure 36, que les tiercerons doivent être multipliés, afin de ne plus considérer les remplissages que comme des panneaux, non plus comme des voûtains, il s'ensuit naturellement que ces panneaux doivent, autant que faire se peut, être semblables comme étendue. Pour tracer les tiercerons, ce ne sera donc plus les liernes que nous diviserons en parties égales, comme dans l'exemple 36, mais nous décrirons le quart de cercle BC pour le quart de la voûte carrée, et nous diviserons ce quart de cercle en parties égales. Par les points diviseurs faisant passer des lignes Aa, Ab, Ac, nous aurons la projection horizontale des tiercerons d'un huitième de la voûte. Dès lors les angles DAa (A sommet), aAb, bAc, cAC, seront égaux et les panneaux compris entre leurs côtés semblables. Nous étrésillonnerons ces tiercerons par des contre-liernes e, f, g, h, etc., comme dans l'exemple figure 36, mais ici tracées de telle sorte que leurs points de rencontre se trouvent sur les quarts de cercle BC, ei. Ou nous voulons adopter pour tous ces arcs une seule et même courbe composée, comme dans l'exemple fig. 35, ou nous voulons que les liernes BD, DC, soient de niveau. Dans le premier cas, nous prenons l'arc ogive AD comme étant le plus étendu, nous le rabattons sur la ligne A'D', nous élevons la perpendiculaire D'D" (D" étant la hauteur de la voûte sous clef), et nous traçons, au moyen de deux centres, la courbe composée A'D". Procédant comme il a été dit ci-dessus; prenant les longueurs Aa, Ab, Ac, AC, et les reportant sur la ligne A'D' en A'a', en A'b', en Ac', en A'C', et de ces points, a', b', c', C', élevant des perpendiculaires à la ligne A'D', ces perpendiculaires rencontreront la courbe A'D" en des points qui donneront les hauteurs sous clef de chacun des arcs Aa, Ab, etc., et par suite, pour la lierne DC, la projection verticale C'''D'''. Mais si nous prétendons poser ces liernes de niveau, alors il nous faudra chercher, au moyen du procédé indiqué figure 38, les courbes A'K, A'l, etc., en conservant toujours pour les sommiers la même courbe A'n.
S'il s'agit d'une voûte barlongue, dont le quart est EBFG, nous procédons exactement de la même manière que pour la voûte carrée; seulement l'arc formeret EF et les tiercerons joignant ce formeret étant plus courts que ne l'est le formeret et ne le sont les tiercerons Aa, Ab, Ac de la voûte carrée, les clefs de ces arcs seront (en supposant que nous n'adoptions qu'une seule courbe) plus basses que dans la voûte carrée, c'est-à-dire que les points hauteurs de ces clefs seront en m pour le formeret EF, en o pour le tierceron Eo', en p pour le tierceron Ep', en q pour le tierceron Eq', etc., et que la ligne des liernes FG donnera la projection verticale F'D'''. Mais si nous voulons que les liernes de cette voûte barlongue soient de niveau, alors il faudra chercher les courbes composées comme ci-dessus, et la courbe du formeret EF rabattue en A'I conservera toujours une partie de la courbe primitive inférieure de A' en s, pour les sommiers.
On voit ainsi comment sont donnés, par l'application d'un principe de construction déduit rigoureusement, ces arcs brisés en lancettes A'I, ou surbaissés composés Am, si fréquemment adoptés pour les fenêtres des nefs anglaises voûtées, ces fenêtres étant circonscrites par l'arc formeret. Cependant, à ces courbes engendrées tout naturellement par un procédé de structure, on a voulu trouver les origines les plus saugrenues. Ces courbes prétendaient imiter le bonnet d'un évêque, ou bien elles avaient une signification mystico-symbolique; en se rapprochant de la ligne droite au-dessus d'un certain point, elles devaient indiquer la disposition de l'âme chrétienne, qui devient de plus en plus ferme à mesure qu'elle s'élève vers le ciel!... Mais nous ne rapporterons point ces rêvasseries de tant d'auteurs qui ont écrit sur l'architecture du moyen âge sans avoir à leur service les premiers éléments de la géométrie et de la statique. Il est clair que les artistes que tout raisonnement fatigue, et qui seraient aises qu'il fût interdit de raisonner, même en architecture, par une bonne loi bien faite, et surtout rigoureusement appliquée, s'empressent de répéter ces pauvretés à l'endroit de la structure gothique, et aiment bien mieux voir l'imitation d'un bonnet d'évêque dans une courbe qu'un principe de structure: le bonnet d'évêque, en ce cas, ou l'aspiration de l'âme dispense de toute étude et de toute discussion, et la voûte gothique passe ainsi au compte des niaiseries humaines; ce qui simplifie la question. Lorsqu'une seule courbe sert pour tous les arcs d'une voûte, et si ces arcs pivotent sur la pile support, il est clair que, au-dessus de chaque pile, chaque partie de voûte donne exactement la forme d'un pavillon de trompette 408. Lorsque la portion supérieure de ces courbes composées seule est modifiée, afin de poser toutes les clefs et les liernes, par conséquent, de niveau ou dans un même plan horizontal, la forme en pavillon n'en existe pas moins jusqu'à une certaine hauteur au-dessus des naissances, et la variété des courbes supérieures modifie un peu la forme en pavillon, mais ne saurait la détruire pour l'oeil. Il est clair aussi que les architectes devaient, par suite de l'adoption de ces arcs rayonnants donnant entre eux des angles égaux, quelle que fût la disposition des travées, soit carrées, soit barlongues, abandonner l'arc ogive, et donner à tous ces arcs rayonnants qui remplissent chacun une fonction semblable une section semblable. C'est ce qui arriva. Il était conforme à la marche logique des procédés adoptés par les constructeurs anglais de ne plus poser entre ces arcs des rangs de moellons, mais de les remplacer par de véritables panneaux de pierre, des dalles. Ce parti est adopté de l'autre côté de la Manche dès le XVe siècle, soit sur des arcs disposés en pavillon de trompette, soit sur des arcs formant une suite de pyramides curvilignes avec portion de berceau. C'est ainsi qu'est construite la voûte de la chapelle de Saint-George, à Windsor 409.

La figure 40 montre une de ces pyramides de voûtes à l'extrados; comment sont disposés les arcs portant feuillures A, et comment entrent dans ces feuillures les panneaux B de remplissage. Les arcs tiercerons, compris entre les arcs ogives O, aboutissent à une ligne de niveau DD'. À partir de cette ligne jusqu'à la ligne des clefs CC', la voûte forme un berceau composé de panneaux de pierre clavés, portant en relief, les compartiments simulant alors des pénétrations d'arêtes, de tiercerons, de contre-liernes, etc. La ligne des clefs, ou la lierne qui réunit la clef E du formeret à la ligne DD', est horizontale, de telle sorte que les tiercerons compris entre les arcs ogives O et ces formerets sont taillés sur des courbes différentes; de même pour les tiercerons compris entre les arcs ogives, d'après la méthode indiquée précédemment. Ainsi, dans cette voûte de la chapelle de Windsor, plusieurs systèmes sont mis en pratique: le système des voûtes en portions de pyramides curvilignes, avec arcs pris sur des courbes différentes (sauf pour les sommiers); le système des grands claveaux larges et peu épais, comme des dalles clavées, enchevêtrées, complétant la voûte par un berceau, dans sa partie supérieure. Plus tard encore les arcs sont supprimés, et les voûtes anglaises ne se composent plus que d'un appareil de grandes dalles, avec nerfs saillants à l'intérieur pris dans la masse et figurant encore les arcs de la structure qui n'existent plus de fait. C'est ainsi que sont construites les voûtes les plus récentes de la cathédrale de Peterborough et celles de la chapelle de Henri VII à Westminster.
Ces sortes de voûtes sont très-plates. Ainsi la voûte dont la figure 40 présente l'extrados n'a, comme flèche, qu'un peu plus du quart de son diamètre. Cela seul indique les avantages que l'on pouvait tirer de ce mode de structure.
Nous avons cru nécessaire de nous étendre quelque peu sur les combinaisons qui ont amené les constructeurs anglais aux formes de voûtes en apparence si différentes des nôtres, bien que partant d'un même principe. Cette digression tend à démontrer que, d'un même principe, quand on le suit avec méthode, il peut sortir des déductions très-variées. Il est certain que du principe générateur de la voûte gothique on peut tirer d'autres conséquences encore; que par conséquent il ne peut y avoir aucune bonne raison pour repousser ce principe excellent en lui-même, et laissant à l'architecte la plus grande liberté quant aux applications qu'on en peut faire, en raison des programmes, de la nature des matériaux et de l'économie.
Revenons à la voûte française. Nous l'avons laissée au moment où, étant arrivée à son développement, elle permet de couvrir à l'aide des arcs ou cintres permanents, portant des voûtains de moellon piqué, toutes les surfaces possibles. Ayant atteint au milieu du XIIIe siècle un degré de perfection absolu, conformément au mode admis dès le milieu du XIIe siècle, le système français ne se modifie plus; il procède toujours de l'arc-doubleau, des arcs ogives et formerets avec ou sans tiercerons et liernes. Ce n'est guère que dans les provinces les plus septentrionales, et notamment en Normandie même, que l'application des tiercerons et liernes devient fréquente à dater de la fin du XIIIe siècle. Dans l'Île-de-France, en Champagne, en Bourgogne, les constructeurs s'en tiennent aux arcs ogives et aux arcs-doubleaux jusqu'à la fin du XVe siècle. À ce point de vue, comme procédé de structure, la voûte française ne se modifie pas. Les perfectionnements ou innovations--si l'on peut appeler innovation la conséquence logique d'un système admis toul d'abord--ne portent que sur les naissances de ces voûtes. Nous avons vu qu'en Angleterre, au moyen des courbes composées, on avait évité les difficultés résultant des courbes de rayons différents pour bander les remplissages, puisque, dans ces voûtes anglaises, dès le XIVe siècle, la courbe inférieure est la même pour lous les arcs d'une voûte. En France, sauf de très-rares exceptions, qui appartiennent à une époque relativement récente, la courbe composée n'est pas employée, les formerets, arcs-doubleaux et arcs ogives ont chacun leur courbe, qui est toujours un segment de cercle. Comme on sentait de plus en plus la nécessité de placer les clefs de ces arcs au même niveau, afin de ne pas perdre de place et de pouvoir passer les entraits des charpentes immédiatement au-dessus de l'extrados des voûtes, lorsque ces arcs avaient des ouvertures très-différentes, il fallait, ou que leur brisure donnât des angles très-différents, c'est-à dire que les uns fussent très-aigus, les autres très-obtus, ou que les naissances de ces arcs fussent placées à des niveaux différents 410. C'est ce dernier parti qui prévalut, car les constructeurs cherchaient à donner aux arcs en tiers-point d'un même édifice,--au moins pour les arcs-doubleaux, formerets et archivoltes,--des angles de brisure à la clef qui ne fussent pas trop inégaux. Les naissances de ces divers arcs furent donc une de leurs plus grandes préoccupations.
Le choeur de la cathédrale de Narbonne, commencé à la fin du XIIIe siècle et conçu évidemment par un maître très-habile, présente, sous le rapport de la construction des voûtes, de précieux renseignements 411. Le dernier pilier des travées parallèles à l'axe du choeur, qui commence les travées rayonnantes, est disposé rigoureusement et le plus économiquement possible pour recevoir les arcs qu'il doit porter.

La figure 41 donne la section horizontale de ce pilier sous les voûtes du collatéral. L'archivolte de la partie parallèle à l'axe du choeur occupe toute la largeur ab, et celle de la première travée tournante la même largeur a'b'. Ces archivoltes ont l'épaisseur totale de la pile, à quelques centimètres près. La colonnette C monte jusqu'à la haute voûte, pour porter un seul arc (voyez CATHÉDRALE, fig. 48), puisque nous sommes dans la partie gironnante du choeur; la colonnette D porte à la fois et l'arc-doubleau A et les deux arcs ogives O du collatéral gironnant. Les travées T étant plus étroites que celles parallèles T' au grand axe, il en résulte que le nerf G vertical, qui reçoit le boudin principal G' de l'archivolte, se trouverait, dans la travée T tournante, en retraite du nu H, et qu'il ne paraît point. Ainsi ce sont les arcs qui ont donné rigoureusement la position des nerfs et colonnettes de cette pile cylindrique.

Si nous montrons la voûte du collatéral (fig. 42), avec une des piles de la partie gironnante, nous voyons comment les archivoltes pénètrent dans la pile, et comment les arcs-doubleaux et arcs ogives du collatéral, à cause de leur plus grande ouverture, ont leur naissance placée plus bas que celle de ces archivoltes. Nous voyons aussi comment sont tracés ces arcs ogives, suivant une courbe dans leur plan horizontal.

La figure 43 explique ce tracé. En A, sont les grosses piles du sanctuaire; en B, les piles d'entrée des chapelles. Les clefs C des arcs ogives sont posées au milieu de la ligne ab de clef des voûtains de remplissage, qui réunit le sommet de l'arc-doubleau d'entrée des chapelles au sommet de l'archivolte. Afin de ne pas avoir en e un angle trop aigu, le constructeur a donné, en projection horizontale, une courbure à l'arc ogive eC. Ainsi les remplissages s'établissent-ils plus également dans les deux triangles voisins ayant pour bases l'arc-doubleau du collatéral et l'arc-doubleau d'entrée des chapelles. À la cathédrale de Bourges, les voûtes des collatéraux du choeur (1225 environ) sont déjà tracées suivant ce principe.
Mais nous voyons, dans la perspective figure 42, qu'entre l'arc ogive et l'archivolte, le remplissage est abandonné et pénètre dans la pile même, continuant au-dessus de la bague formant chapiteau. Il y a là un point incomplet, car les voûtains de remplissage doivent toujours reposer sur des extrados d'arcs. Au XIVe siècle, le constructeur de l'église abbatiale de Saint-Ouen de Rouen prend un parti plus franc, plus logique, bien qu'en apparence beaucoup plus compliqué (fig. 44).

Les archivoltes prennent tout l'espace ab, c'est-à-dire exactement la largeur de la pile, moins le nerf C destiné à recevoir l'arc-doubleau et les arcs ogives des voûtes hautes, et le profil de ces archivoltes n'est autre que celui de la pile, ou, pour être plus exact, la section de la pile n'est autre que la section de l'archivolte. L'arc-doubleau du collatéral n'est également que le profil g de la pile, et l'arc ogive le profil h. En élévation, ces arcs se pénètrent ainsi que l'indique le tracé perspectif. Il n'y a plus de chapiteau, puisqu'il n'a plus de raison d'être, et les sommiers, à lits horizontaux, s'élèvent jusqu'au niveau N, c'est-à-dire beaucoup au-dessus des naissances des arcs.
C'est la dernière expression de la combinaison des naissances d'arcs de voûtes en France, et ce parti fut suivi jusqu'à l'époque de la renaissance. Ce sont là des conséquences rigoureuses du principe de la voûte trouvée au XIIe siècle; mais, quant au mode de structure, il ne varie pas, c'est-à-dire que les arcs remplissent toujours les fonctions de cintres permanents recevant des voûtains de remplissage entre leurs branches, voûtains qui ne deviennent jamais des panneaux, mais sont construits par petits claveaux dont les rangs courbés partent toujours de l'arc-doubleau, archivolte ou formeret, pour venir reposer à l'autre extrémité en biais, sur les arcs ogives.
Dans l'article CONSTRUCTION, il est dit comment, à l'aide de ce système de voûtes, on peut couvrir toutes les surfaces, si peu régulières qu'elles soient; comment on peut, sans difficultés d'appareil, faire des voûtes biaises, rampantes, gauches, etc. Ce système français est donc essentiellement pratique; il présentait, sur le système romain, un perfectionnement, et par conséquent il était plus raisonnable de chercher à le perfectionner encore que de l'abandonner pour recourir au mode romain. Mais l'engouement du XVIe siècle pour les arts italiens l'emporta chez nous sur les raisons qui militaient en faveur de notre système de voûtes françaises, dont il était facile de tirer des conséquences de plus en plus étendues. Philibert de l'Orme, dans son Traité d'architecture 412, s'exprime ainsi au sujet de ces voûtes: «Ces façons de voûtes ont été trouvées fort belles, et s'en voit de bien exécutées et mises en oeuvre en divers lieux du royaume, et signamment en ceste ville de Paris, comme aussi en plusieurs autres. Aujourd'huy ceux qui ont quelque cognoissance de la vraye Architecture, ne suivent plus ceste façon de voulte, appellée entre les ouvriers la mode française, laquelle véritablement je ne veux despriser, ains plustot confesser qu'on y a faict et pratiqué de fort bons traicts et difficiles. Mais pour autant que telle façon requiert grande boutée, c'est-à-dire grande force pour servir de poulser et faire les arcs-boutans, afin de tenir l'oeuvre serrée, ainsi qu'on le voit aux grandes églises, pour ce est-il que sur la fin de ce présent chapitre, pour mieux faire entendre et cognoistre mon dire, je descriray une voulte avec sa montée, telle que vous la pourrez voir soubs la forme d'un quarré parfaict, autant large d'un costé que d'autre, ou vous remarquerez la croisée d'ogives, etc.» Ainsi, quoi que puissent prétendre les critiques plus ou moins officiels de notre Académie des beaux-arts, au XVIe siècle encore, ces voûtes étaient considérées comme françaises (par les ouvriers, il est vrai; mais, en fait de traditions, le langage des ouvriers est le plus certain). Or, comme l'architecture du moyen âge dérive en très-grande partie du système de voûtes, il faut en prendre son parti, et admettre que nous avions une architecture française et reconnue comme telle du XIIe au XVe siècle. Mais le texte de Philibert de l'Orme est intéressant à plus d'un titre. Notre auteur admet que ceux qui ont quelque «cognoissance de la vraye «architecture ne suivent plus ceste façon de voulte», et le premier exemple qu'il donne d'une voûte propre à couvrir un vaste vaisseau, après ce préambule, est une voûte gothique en arcs d'ogive sur plan carré, avec liernes et tiercerons. Quant aux exemples qu'il fournit «sur la fin de son chapitre», ce sont des tracés de voûtes sphériques pénétrées par un plan quadrangulaire, voûtes qui ne peuvent être faites sur de grandes dimensions, qui sont d'un appareil difficile, dispendieux, qui sont très-lourdes, et poussent beaucoup plus que ne le font les voûtes gothiques. Et en effet, jusqu'au commencement du XVIIe siècle, les constructeurs français, quelque «cognoissance» qu'ils eussent «de la vraye architecture», continuaient à bâtir des voûtes sur les vaisseaux larges, avec arcs-doubleaux et arcs ogives: l'église de Saint-Eustache, à Paris, en est la preuve, et elle n'est pas le seul exemple. La pratique était en ceci plus forte que les théories sur «la vraye architecture», et, n'ayant point trouvé mieux, on continuait à employer l'ancien mode, jusqu'au moment--et cela sous Louis XIV seulement--où l'on adopta, pour les grands vaisseaux, des berceaux de pierre avec pénétrations, comme à Saint-Roch de Paris, comme à la chapelle de Versailles, comme dans la nef des Invalides, etc.
Or, ce genre de voûtes est un pas en arrière, non un progrès. Les berceaux ont une poussée continue et non répartie sur des points isolés; ils sont très-lourds, s'ils sont de pierre; leur effet n'est pas heureux, et les pénétrations des baies dans leurs reins produisent des courbes très-désagréables, que les Romains, avec juste raison, évitaient autant que faire se pouvait.
On voit donc percer dans le texte naïf du bon Philibert de l'Orme ce sentiment d'exclusion quand même, à l'égard des procédés du moyen âge, qui s'est développé depuis lui avec moins de bonhomie. En effet, en marge du texte que nous venons de citer, il est dit en manière de vedette: «L'auteur approuver la façon moderne (de l'Orme désigne, ainsi les voûtes gothiques) des voûtes, toutes fois ne s'en vouloir ayder.» Pourquoi, puisqu'il les approuve? Il ne nous le dit pas. Quoi qu'il en soit et bien qu'il ne s'en aidât pas, il construisit, comme tous ses confrères, des voûtes en arcs d'ogive, et il eut raison, car la plupart des exemples qu'il donne comme des nouveautés n'ont réellement rien de pratique ni de sérieux, s'il s'agit de fermer de grands espaces. En ceci Philibert de l'Orme prélude à la critique (si l'on peut donner ce nom à un blâme irraisonné) de la structure du moyen âge. Depuis lui, cette critique, quoique moins naïve, ne raisonne pas mieux; mais elle est plus exclusive encore, et ne dirait pas, en parlant de la façon des voûtes du moyen âge, «laquelle véritablement je ne veux despriser, ains plustôt confesser qu'on y a faict et pratiqué de fort bons traicts et difficiles». Ce sont choses qu'on ne confesse plus au XIXe siècle, parce que les esprits logiques de notre temps pourraient répondre: «Si vous confessez que le mode a du bon, pourquoi ne vous en servez-vous pas?» Mieux vaut ne rien dire, ou battre l'eau, que de provoquer de pareilles questions.
La renaissance, quoi qu'en dise Philibert de l'Orme, ne change donc pas de système de voûtes pour les grands vaisseaux, et pour cause; mais elle compliqua ce système. Elle multiplia les membres secondaires plutôt comme un motif de décoration que pour obtenir plus de solidité. Et en effet les voûtes qu'elle construisit sont en assez mauvais état ou mêne sont tombées, tandis que la durée des voûtes des cathédrales de Chartres, de Reims, d'Amiens, défieront encore bien des siècles. Les voûtes hautes de l'église Saint-Eustache de Paris ne furent faites que pendant les dernières années du XVIe siècle, elles ne sont pas très-solides; leurs sommiers ne sont pas combinés avec adresse, les arcs sont bandés en pierres inégales de lit en lit, ce qui, comme nous le disions plus haut, est une cause de déformations. Parmi ces voûtes datant du XVIe siècle, on peut citer, comme remarquables, celles qui fermaient le choeur de l'église Saint-Florentin (Yonne), et qui dataient du milieu de ce siècle 413.

Nous donnons (fig. 45) la projection horizontale de la moitié de ces voûtes, au chevet de l'église. L'arc-doubleau et l'arc ogive composent, comme dans la voûte du moyen âge, l'ossature principale de la structure; mais les tiercerons qui partent de la pile pour se joindre au milieu des liernes n'existent plus ici, et sont remplacés par des intermédiaires ab, qui, s'ils produisent un effet décoratif piquant, ont le tort de reporter une poussée latérale sur les flancs des formerets, ce qui est absolument contraire au principe de la structure des voûtes gothiques, et, qui pis est, au bon sens. Cette poussée est encore augmentée par les arcs ad, qui eux-mêmes contre-butent les liernes de. Aussi ces formerets (rabattus en AA'B) s'étaient-ils inclinés en dehors sous la pression de ces arcs qui viennent les pousser en a'a'', ce qui ne serait point arrivé si, au lieu de ces arcs ab, l'architecte eût posé des tiercerons Ad...; mais on n'aurait pas eu ce compartiment en étoile, et le désir de produire une apparence nouvelle l'emportait sur ce que commandait la raison. On voit donc que déjà se manifestait cette tendance, si développée aujourd'hui en architecture, de sacrifier le vrai, le sage, le raisonné, à une forme issue du caprice de l'artiste. Bien d'autres entorses à la raison se rencontrent dans cette voûte. Ainsi, nous avons rabattu l'arc-doubleau en AC, et l'arc ogive Ae en AF; le grand arc AD contre-butant la clef du chevet, en AG. La rencontre de ce grand arc AD avec l'arc ogive donne la clef H; or, comme cet arc ogive est tracé, le niveau de cette clef H est donné et se trouve en h. Nous reportons ce niveau en h' sur le rabattemtnt de l'arc AD. Le niveau de la clef I est donné; il est le même que celui de la clef H, puisque l'arc ogive AE est tracé. Il faut donc que l'arc KI atteigne ce niveau I; nous le rabattons en KIi, la flèche Ii étant égale à la ligne Ih. Rabattant sur l'arc de cercle Ki la clef O, nous obtenons le point o', et la hauteur Oo' donne, sur la courbe Ki aussi bien que sur celle du grand arc AD, le niveau de la clef O en o' et en o''. Donc il faut que cette grande courbe butante AD passe en G, en h' et en o''. De o'' en G, elle se rapproche évidemment trop de l'horizontale et bute mal l'arrivée des arcs ogives et liernes du chevet; aussi cette branche d'arc o''G s'était-elle tordue et relevée, par suite le grand arc-doubleau KL s'était déformé.
La clef b étant donnée en projection horizontale, son niveau est donné sur le rabattement de l'arc ogive en b'; la rencontre a sur le formeret étant donnée en projection horizontale, son niveau est donné en a'' sur le rabattement du formeret, donc la longueur ab en projection horizontale; l'arc a''b'' est connu. Il en est de même pour l'arc bm, rabattu en b''m', puisque le niveau de la clef m est connu.
Quant aux liernes de, elles sont prises sur un arc de cercle qui réunirait la clef B du formeret à la clef e des arcs ogives. Cet arc de lierne est rabattu de n en e, n donnant le niveau de la clef B du formeret par rapport au niveau de la clef e des arcs ogives. En M sont rabattus les arcs ogives pq du chevet (le niveau de la clef étant celui de l'arc-doubleau), les branches des liernes en rq, et les tiercerons en ps. Tous les arcs, liernes, fausses liernes, faux tiercerons, sont posés dans un plan vertical, quelle que soit leur position par rapport à la courbure des arcs principaux (voyez en P).
Mais les arcs secondaires, pénétrant plus ou moins obliquement les arcs principaux, suivant que ceux-ci se rapprochent ou s'éloignent de la verticale, les joues de ces arcs secondaires, posés dans un plan vertical, se trouvent l'une au-dessus, l'autre au-dessous de l'extrados de l'arc principal; il en résultait une difficulté pour maçonner les voûtains.

Pour sauver cette difficulté, les architectes de la renaissance tracent une clef pendante à ces points de rencontre (fig. 46) 414; clef pendante qui se compose d'un corps cylindrique dans lequel viennent pénétrer les divers arcs 415. Les arcs secondaires étant, comme les arcs principaux, posés dans un plan vertical, l'extrados de la fausse lierne A arrive horizontalement contre le corps cylindrique, tandis que l'extrados de l'arc ogive B le pénétrerait en b du côté de sa naissance, et en c du côté de son sommet; il y aurait donc une différence de niveau entre le point b et le point c. Et de b en c, comment poser les moellons de remplissage? Les constructeurs ont donc augmenté la hauteur des joues de ces arcs principaux en arrivant près de ces clefs, ainsi que l'indique le supplément g, pour araser le point e, et cela en raison du niveau de ces points d'arrivée des liernes, fausses liernes ou faux tiercerons. Il y aurait, par exemple, un décrochement en h à l'arrivée de l'arc ogive B, puisque l'extrados du faux tierceron l n'arriverait pas au niveau de l'extrados de la fausse lierne A. On voit quelles complications de coupes produisaient ces fantaisies des architectes de la renaissance, beaucoup plus préoccupés d'obtenir un effet décoratif que des conditions d'une sage construction. Si nous ajoutons à ces difficultés gratuitement accumulées le manque des connaissances du tracé géométrique, qui déjà se faisait sentir dans les chantiers, nous ne serons pas surpris du peu de durée de ces voûtes du XVIe siècle. Cependant on reconnaît que l'habitude de raisonner sur l'application des formes convenables à l'objet n'est point encore perdue chez les maîtres. Ainsi la forme allongée de ces clefs pendantes, dont l'axe est habituellement vertical, est bien motivée par ces pénétrations d'arcs à des niveaux différents. Ces longues pierres qui semblent à l'oeil des fiches plantées aux rencontres d'arcs, ne sont pas là par un caprice d'artiste, mais une nécessité de structure, et les queues tombantes plus ou moins ornées de sculptures que ces artistes leur donnent en contre-bas des arcs ne font qu'accuser la fonction de ces clefs de rencontre d'arcs.
Au point de vue de la structure, l'art du XVIe siècle était, pour les voûtes comme pour le reste, à l'état d'infériorité sur les arts antérieurs. Les arcs-boutants, par exemple, à cette époque, ne sont plus disposés conformément aux lois de la statique et de l'équilibre des forces (voy. ARC-BOUTANT); les archivoltes ne sont plus régulièrement extradossées, les lits d'assises ne correspondent plus aux membres de l'architecture; les claires-voies, les meneaux, adoptent des formes contraires à la nature et à la résistance des matériaux mis en oeuvre. Il est évident que les architectes, préoccupés avant tout d'appliquer certaines formes appartenant à un autre mode de structure que celui adopté en France en raison des matériaux et de leur emploi judicieux, abandonnent à des mains subalternes le tracé de cet appareil, qui n'est plus d'accord avec ces formes empruntées ailleurs. Les maîtres du XVe siècle étaient meilleurs constructeurs, meilleurs praticiens et traceurs que ceux du XVIe; ceux du XIVe siècle l'emportaient sur les maîtres du XVe, et peut-être ceux du XIIIe l'emportaient-ils encore sur ceux du XIVe. Cependant les appareilleurs du XIIe siècle étaient des génies, si nous les comparons à ceux du XVIIe siècle, car il n'est pas de structure plus grossière et plus mal tracée en France, à moins de remonter aux plus mauvaises époques de l'école romane, que celle de ce XVIIe siècle, que l'on s'efforce d'imiter aujourd'hui.
Les voûtes françaises et anglaises, parties toutes deux du même point au XIIe siècle, étaient arrivées au XVIe, dans l'un et l'autre pays, à des résultats très-différents et qui donnent la mesure exacte des aptitudes des deux peuples. D'après ce que nous avons vu précédemment, on observera qu'en se perfectionnant conformément à la méthode admise dès le XIIIe siècle, les voûtes anglaises, malgré leur apparence compliquée, arrivent de fait, au contraire, à l'emploi d'un procédé très-simple, en ce qu'une courbe peut suffire à tous les arcs d'une voûte, ou que (si ces arcs doivent atteindre à la clef un même niveau) les courbes différentes dans une partie seulement de leur développement, sont tracées par un procédé très-simple; que tous ces arcs restent indépendants, et ne sont reliés que par des entretoises d'un seul morceau, qui n'ont qu'un rôle secondaire et ne peuvent en rien influer sur la courbe principale admise pour les arcs; que les remplissages ne sont plus que des panneaux, aussi faciles à tracer qu'à poser. Dans les voûtes françaises, nous voyons que les constructeurs en viennent à multiplier les arcs; ils les croisent, de telle façon que la courbure de ces arcs doit être distincte pour chacun d'eux; que ces courbures sont commandées par des niveaux donnés par le tracé préalable sur plan horizontal; que ces arcs sont dépendants les uns des autres, et que, par conséquent, ces constructeurs ne sont plus les maîtres, ainsi, de donner à ces courbes les flèches nécessaires en raison de leur fonction, de leur résistance ou de leur action de poussée et de butée; qu'en un mot, ces constructeurs français du XVIe siècle abandonnent un système judicieux et parfaitement entendu (celui du XIIIe siècle), pour se lancer dans des combinaisons indiquées seulement par la fantaisie. Le réseau de la voûte anglaise de la fin du XVe siècle est solide, méthodique: c'est la conséquence d'une longue expérience fidèle au principe posé. Le réseau de la voûte française au XVIe siècle n'est pas solide, parce que les arcs qui s'entrecroisent par suite d'un caprice de l'artiste, sans l'intervention d'une nécessité et de la raison, ont des actions différentes, les unes molles et faibles, les autres actives et puissantes. Au lieu de rendre la voûte française en arc d'ogive plus solide qu'elle ne l'était, par l'adjonction de tous ces arcs secondaires, les architectes français l'altèrent, lui enlèvent ses qualités d'élasticité, de force et de liberté. Aussi ces voûtes du XVIe siècle sont-elles, la plupart, proches de leur ruine, lorsqu'elles ne sont pas déjà tombées.
Alors, au XVIe siècle, nos architectes cherchent, à l'aide d'un savoir médiocre d'ailleurs, à faire des tours de force, et notre Philibert de l'Orme lui-même, malgré son rare mérite, n'est pas exempt de ce travers. Le pédantisme s'introduit dans l'art, et le vrai savoir, le savoir pratique, fait défaut. On veut oublier et l'on oublie les vieilles méthodes, les principes établis sur une longue expérience; méthodes et principes que l'on pouvait perfectionner sans se lancer dans des théories enfantines et très-superficielles. Il n'est pas douteux, rien qu'à examiner les monuments existants, que les maîtres du XIIIe siècle savaient la géométrie et en comprenaient surtout les applications beaucoup mieux que les maîtres du XVIe siècle. Mais les premiers ne s'amusaient pas à la montre, ils se servaient de la science, ainsi que les vrais savants s'en servent, comme d'un moyen, non pour en faire parade. Les architectes de la renaissance prenaient déjà le moyen pour la fin; et, comme il arrive toujours en pareil cas, on possède une classe de théoriciens spéculatifs passablement pédants, et en arrière une masse compacte ignorant les procédés les plus simples. Au XVIe siècle, on faisait des livres dans lesquels on discutait Vitruve tant bien que mal, où l'on donnait les proportions des ordres, où l'on couvrait des pages d'épures destinées à éblouir le vulgaire, mais on inclinait à construire très-mal, très-grossièrement, dans un pays où l'art de la construction avait atteint un développement prodigieux, comme science d'abord, puis comme emploi raisonné des matériaux et de leurs qualités. L'art s'échappait des mains du peuple, de ces corporations d'artisans, pour devenir l'apanage d'une sorte d'aristocratie de moins en moins comprise, parce qu'elle laissait de côté les principes issus du génie même du pays pour une sorte de formulaire empirique, inexpliqué et inexplicable comme une révélation. Il était évident que tout ce qui pouvait tendre à discuter ce formulaire présenté en manière de dogme devait être repoussé par ce corps aristocratique des nouveaux maîtres, dont l'Académie des beaux-arts conserve aujourd'hui encore les doctrines avec plus de rigueur que jamais. C'est pourquoi, de temps à autre, nous voyons, du sein de ce corps et de ses adeptes les plus fervents, s'échapper une protestation contre l'étude de notre art français du moyen âge et les applications étendues qu'on en peut faire. C'est pourquoi aussi nous ne cessons pas et nous ne cesserons pas de tenter de développer cette étude, de faire entrevoir ses applications, bien convaincu de cette vérité affirmée par l'histoire: que les corps ne sont jamais plus exclusifs qu'aux jours où ils sentent leur pouvoir ébranlé.
Note 387: (retour) Il faut dire que ces deux coupoles sont élevées sur pendentifs; mais la nature des lézardes qui se sont produites dans la coupole de Saint-Pierre de Rome n'indique pas que ces désordres soient dus uniquement à des tassements. Il y a eu ruptures dans la calotte même causées par un léger relèvement de la zone des reins de la coupole. Les déchirures causées par des tassements se sont au contraire produites (et cela devait être) à la base même de la demi-sphère, ce qui motiva la pose d'un cercle de fer à cette base; ces lézardes sont suivant les longitudes. Les fissures observées à l'extrados de la zone en contre-bas de la lanterne sont au contraire suivant les latitudes, et produisent une pression à l'intrados qui fit détacher des parties d'enduits et de mosaïques.
Note 388: (retour) Un jeune ingénieur français, M. Choisy, va publier prochainement un travail très-complet sur la structure des voûtes romaines, d'après les monuments. Ce recueil, que nous avons eu entre les mains, donne en détail les divers procédés employés par ces grands constructeurs, et démontre, de la manière la plus évidente, que l'économie dans la dépense était une de leurs principales préoccupations. Nous engageons les architectes qui veulent sérieusement connaître les procédés employés par les Romains dans les constructions à recourir aux travaux de M. Choisy sur cette matière.
Note 392: (retour) L'exemple du temple de Diane de Nîmes est une exception. Il ne faut pas perdre de vue que les monuments romains élevés dans la Province sont, beaucoup plus que ceux d'Italie, pénétrés de l'esprit grec, surtout en se rapprochant de Marseille. Il est intéressant de constater les analogies qui existent entre ces monuments antiques de la Province romaine et ceux de la Syrie centrale.
Note 402: (retour) C'est grâce à l'obligeance de M. Lance, architecte diocésain de Sens, et aux sondages intelligents faits par son inspecteur, M. Lefort, que nous avons pu relever exactement cette arcature, qui présente une disposition si curieuse. Dans notre restitution, la forme des fenêtres est seule douteuse, bien que les pieds-droits de ces fenêtres soient encore accusés à l'extérieur et coïncident avec les pieds-droits de l'arcature du triforium. (Voyez TRIFORIUM.)
Note 404: (retour) La construction de cette voûte paraît dater de la fin du XIIIe siècle, peut-être de 1270. Elle fut réparée en partie plus tard, assez maladroitement, après l'incendie de la première flèche; mais il est certain que les tiercerons et liernes existaient avant cette époque, car les points de départ sont anciens.
Note 406: (retour) Ce travail, inséré dans le premier volume des Transactions de l'Institut des architectes britanniques, a été traduit, en 1843, par M. Daly, dans la Revue d'architecture (t. IV). Le traducteur, dans l'introduction qui précède le texte de M. Willis, ne fait pas ressortir les différences profondes qui séparent la structure des voûtes anglaises de celle des voûtes françaises, et ne semble pas avoir étudié ces dernières; mais en 1843 personne n'était en état de se livrer à un travail critique sur cet objet.
Note 413: (retour) Les arcs-boutants qui contre-butaient ces voûtes étaient mal combinés, comme il arrive à presque tous les arcs-boutants de cette époque; puis les parements extérieurs des contre-forts avaient été sapés à diverses époques; quelques tassements s'étaient produits. Il y a vingt ans, ces voûtes menaçaient ruine, il fallut les refaire. M. Piéplu, architecte du département de l'Yonne, s'acquitta de ce travail avec beaucoup d'adresse, il y a quelques années; mais, par des raisons d'économie, on se contenta de voûtes simples en arcs d'ogive. Nous donnons ici les voûtes anciennes, relevées avant la démolition.

YMAGERIE, s. f.--Voyez SCULPTURE.
YRAIGNE, s. f. (vieux mot). Panneau de fil de fer. Voyez GRILLAGE.
YRE, s. f. (vieux mot). Cour, aire.

ZIGZAG, s. m.--Voyez BATONS ROMPUS.
ZODIAQUE, s. m. Zone de l'éther que le soleil semble parcourir dans l'espace d'une année, et dont l'écliptique est la ligne médiane. Personne n'ignore que la zone zodiacale, divisée en douze parties, une pour chaque mois, dès la plus haute antiquité, porte en chacune de ces parties un signe qu'on appelle les signes du zodiaque. Ces signes sont: le Bélier (mars), le Taureau (avril), les Gémeaux (mai), l'Écrevisse (juin), le Lion (juillet), la Vierge (août), la Balance (septembre), le Scorpion (octobre), le Sagittaire (novembre), le Capricorne (décembre), le Verseau (janvier), et les Poissons (février). Ces figures correspondant aux mois de l'année sont souvent représentées sur nos monuments du moyen âge, et en regard sont figurés les travaux ou occupations de l'homme pendant chacun de ces mois.
Dès le XIe siècle, les portails de nos églises possèdent des zodiaques sculptés sur les archivoltes des portes.
Nos grandes cathédrales des XIIe et XIIIe siècles sont toutes pourvues de ces signes, sculptés toujours d'une manière très-apparente.
À la porte principale de l'église abbatiale de Vézelay (premières années du XIIe siècle), le cordon de médaillons qui entourent le grand tympan représentant le Christ et les douze apôtres, renferme les douze signes du zodiaque entremêlés des travaux mensuels correspondants. Ce zodiaque est un des plus complets que nous connaissions. La porte de droite de la façade de l'église abbatiale de Saint-Denis montre encore sur ses pieds-droits quelques sujets et signes d'un zodiaque qui peut-être était complet, mais qui a été détruit en partie. Dans ce zodiaque, le médaillon qui correspond au premier mois de l'année représente un homme à deux têtes, l'une vieille, l'autre jeune. Du côté de la tête de vieillard, le bras pousse une petite figure barbue dans un édicule dont la porte se ferme: c'est l'année expirée; l'autre main attire une figure imberbe hors d'un édicule dont la porte s'ouvre: c'est l'année qui commence.
À Notre-Dame de Paris, sur les jambages de la porte de la Vierge de la façade occidentale, est sculpté un très-beau zodiaque, dont les sujets et signes sont du meilleur style. Ce zodiaque date de 1220 environ.
Des zodiaques sont fréquemment figurés en peinture, sur les vitraux des roses de nos grandes églises des XIIe et XIIIe siècles.
Des zodiaques étaient également représentés sur des pavages. L'église Saint-Bertin de Saint-Orner, celle de l'abbaye de Saint-Denis, celle de l'abbaye de Westminster, possédaient et possèdent encore en partie des zodiaques en mosaïques ou en incrustations de mastics de couleur dans des dalles gravées. Quelquefois ce sont seulement les travaux ou représentations des occupations de l'année (comme à la chapelle de Saint-Firmin, à Saint-Denis) qui remplacent les signes. C'est un homme qui coupe du bois, un autre qui chasse, un troisième taille sa vigne; puis viennent les mois de la belle saison: un faucheur, un moissonneur, un batteur en grange, un vendangeur, etc. Parfois, dans les édifices d'un caractère civil; comme les châteaux, les hôtels, les maisons mêmes, des plaisirs remplacent les travaux. Certains mois sont réservés aux banquets, aux jeux; des personnages se chauffent devant l'âtre d'une cheminée, des jeunes gens tressent des couronnes. On chasse au faucon ou aux lacs; on pêche, on danse. Il y avait alors comme aujourd'hui, pour les gens de loisirs, une sorte de régularité dans les plaisirs de la ville et de la campagne. Certains zodiaques commencent à Pâques, c'est-à-dire en avril (le Taureau); d'autres, celui de Vézelay, par exemple, commencent en janvier (le Verseau). Mais souvent ces signes, dans nos monuments, ne sont pas à leur place. Étant sculptés sur des morceaux de pierre, avant la pose, claveaux ou assises, les ouvriers ne suivaient pas toujours l'ordre dans lequel ils devaient être placés, et cet ordre était interverti.
FIN DU IXe ET DERNIER VOLUME.


|
Unité |

|
Vantail Vergette Verrière Vertevelle Vertu Vierge (sainte) |
Vitrail Voirie Volet Voussoir Voussure Voûte |

|
Ymagerie Yraigne |
Yre |

|
Zigzag |
Zodiaque |
FIN DE LA TABLE PROVISOIRE DU NEUVIÈME VOLUME.
PARIS.--IMP. E. MARTINET, RUE MIGNON, 2.